Удобное для размещение на полу или вертикально на стене
Преимущество модели в том, что у нее компактные размеры, поэтому она доступна для размещения несколькими способами – на полу или вертикально на стене. В корпусе присутствуют вентиляционные отверстия, которые отвечают за охлаждение устройства.
Передняя панель оснащена панелью индикации. Здесь же размещены переключатель режимов, выход для электроприборов на 220В, 50 Гц. Сзади присутствуют клеммы для подключения аккумуляторной батареи.
Источник бесперебойного питания УБП 300 Ресанта работает в трех режимах:
- сеть – показатель работы прибора. Моргающий индикатор показывает о срабатывании защиты при перегреве;
- режим – если горит зеленый индикатор, значит, прибор работает от сети. Красный показывает, что в сети отсутствует напряжение;
- батарея – при зеленом индикаторе работа идет от аккумуляторов. Красный означает, что прибор заряжается.
Автоматически контролирует количества заряда аккумуляторов
К достоинствам Ресанта УБП 300 относят контроль количества заряда аккумуляторов, защита при полной разрядке, автоматический переход в спящий режим после достижения полного заряда батареи. Серьезным достоинством модели считается высокая скорость переключения режимов – не выше 0,4 сек.
Характеристики:
| Номинальная мощность | 300Вт |
| Напряжение аккумуляторов | 24В |
| Выходное напряжение (в режиме «от батарей») | 220В+-3% |
| Максимальный потребляемый от сети ток | 3А |
| Форма выходного напряжения (в режиме «от батарей») | синусоидальная |
| Частота выходного напряжения | 50Гц |
| Защита | от перегрева; глубокого разряда, перезаряда аккумуляторов |
| Время переключения между режимами | 0.4с |
| Вес нетто | 2,5 кг. |
| Габариты | 210x90x240 мм. |
Основные характеристики
Вес, кг3.0
Размеры (Д/Ш/В), см33.5/22/11
Мощность, кВт0.3
Более 500 пунктов выдачи на территории РФ
Доставка в регионы РФ осуществляется по желанию клиента — курьерской службой или через
наиболее популярные транспортно-экспедиционные компании, при этом осуществляется
бесплатная доставка до терминала ТК в Москве. Условия отправки и стоимость уточняйте у
менеджеров магазина.
Доставка по Москве с центрального склада:
Бесплатная доставка — при сумме заказа более 5 000 руб.
При сумме заказа менее 5 000 рублей — стоимость доставки 290 рублей
Стоимость доставки за пределами МКАД составляет 30 рублей за 1 км.
Наш магазин производит доставку по Москве собственной курьерской службой, доставка
заказов осуществляется пн-пт с 9-00 до 18-00 (кроме сб-вс и праздничных дней). Удобное время
и день доставки вы сможете указать при оформлении заказа.
Самовывоз
Забрать товар самовывозом Вы можете с понедельника по пятницу с 9-00 до 18-00, по адресу: г.
Мытищи, ул. Воронина, строение 16.
Удобное для размещение на полу или вертикально на стене
Преимущество модели в том, что у нее компактные размеры, поэтому она доступна для размещения несколькими способами – на полу или вертикально на стене. В корпусе присутствуют вентиляционные отверстия, которые отвечают за охлаждение устройства.
Передняя панель оснащена панелью индикации. Здесь же размещены переключатель режимов, выход для электроприборов на 220В, 50 Гц. Сзади присутствуют клеммы для подключения аккумуляторной батареи.
Источник бесперебойного питания УБП 300 Ресанта работает в трех режимах:
- сеть – показатель работы прибора. Моргающий индикатор показывает о срабатывании защиты при перегреве;
- режим – если горит зеленый индикатор, значит, прибор работает от сети. Красный показывает, что в сети отсутствует напряжение;
- батарея – при зеленом индикаторе работа идет от аккумуляторов. Красный означает, что прибор заряжается.
Автоматически контролирует количества заряда аккумуляторов
К достоинствам Ресанта УБП 300 относят контроль количества заряда аккумуляторов, защита при полной разрядке, автоматический переход в спящий режим после достижения полного заряда батареи. Серьезным достоинством модели считается высокая скорость переключения режимов – не выше 0,4 сек.
Характеристики:
| Номинальная мощность | 300Вт |
| Напряжение аккумуляторов | 24В |
| Выходное напряжение (в режиме «от батарей») | 220В+-3% |
| Максимальный потребляемый от сети ток | 3А |
| Форма выходного напряжения (в режиме «от батарей») | синусоидальная |
| Частота выходного напряжения | 50Гц |
| Защита | от перегрева; глубокого разряда, перезаряда аккумуляторов |
| Время переключения между режимами | 0.4с |
| Вес нетто | 2,5 кг. |
| Габариты | 210x90x240 мм. |
Основные характеристики
Вес, кг3.0
Размеры (Д/Ш/В), см33.5/22/11
Мощность, кВт0.3
Более 500 пунктов выдачи на территории РФ
Доставка в регионы РФ осуществляется по желанию клиента — курьерской службой или через
наиболее популярные транспортно-экспедиционные компании, при этом осуществляется
бесплатная доставка до терминала ТК в Москве. Условия отправки и стоимость уточняйте у
менеджеров магазина.
Доставка по Москве с центрального склада:
Бесплатная доставка — при сумме заказа более 5 000 руб.
При сумме заказа менее 5 000 рублей — стоимость доставки 290 рублей
Стоимость доставки за пределами МКАД составляет 30 рублей за 1 км.
Наш магазин производит доставку по Москве собственной курьерской службой, доставка
заказов осуществляется пн-пт с 9-00 до 18-00 (кроме сб-вс и праздничных дней). Удобное время
и день доставки вы сможете указать при оформлении заказа.
Самовывоз
Забрать товар самовывозом Вы можете с понедельника по пятницу с 9-00 до 18-00, по адресу: г.
Мытищи, ул. Воронина, строение 16.
Описание:
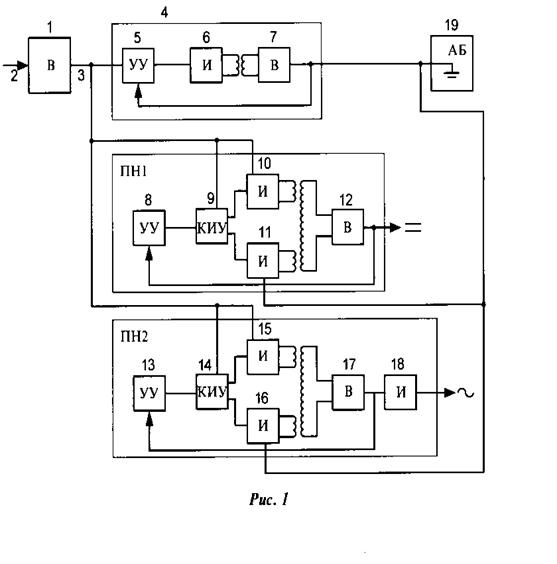
Источник бесперебойного питания Ресанта УБП-300предназначен для обеспечения непрерывного электропитания при аварийном отключении электрической сети. Заряд аккумуляторных батарей легко определить по светодиодному индикатору на передней панели устройства. Прибор удобно хранить и переносить благодаря малым размерам и весу.
Сферы примененияагрегата разнообразны: котельное оборудование, персональные компьютеры и оргтехника, серверные станции, системы освещения, охранные системы.
В конструкции УБП встроен автоматический стабилизатор напряжения. Поэтому данные устройства способны защищать технику при скачках напряжения, не включая при этом резервные аккумуляторные батареи (АКБ). Если же произойдет прекращение подачи электроэнергии, то УБП использует заряд АКБ для резервного обеспечения энергией подключенного оборудования. Устройство имеет встроенное зарядное устройство для АКБ.
Режимы работы
В зависимости от состояния сети и величины нагрузки УБП может работать в различных режимах:
— СЕТЕВОЙ РЕЖИМ— при входном напряжении 140-260В УБП работает от сети. Если (после пропадания питания) в сети питания напряжение более 160В, УБП включается автоматически в сетевой режим;
— АВТОНОМНЫЙ РЕЖИМ— УБП работает от АКБ. При этом УБП издает каждые 12 секунд звуковой сигнал, который учащается по мере разрядки АКБ. При остаточной емкости АКБ менее 20% УБП автоматически выключается (защита от полного разряда АКБ);
— РЕЖИМ ХОЛОСТОГО ХОДА— включение УБП при отсутствии сетевого напряжения (нажатием кнопки «ожидание сети» с выдержкой не менее 3 сек.). Нужно использовать данный режим только в экстренных случаях.
Основные характеристики:
| Бренд | Ресанта |
| Страна бренда | Латвия |
| Страна производства | Китай |
| Тип напряжения | Однофазное (220 В) |
| Мощность, Вт | 300 |
| Время отклика, мс | 4 |
| Класс защиты | IP20 |
Чтобы купить источник бесперебойного питания РЕСАНТА УБП-300 просто добавьте товар в корзину и оформите заказ, выбрав предпочитаемый способ оплаты и доставки. После оформления заказа наш менеджер свяжется с вами для подтверждения.
- Бренд: РЕСАНТА
- Модель: УБП-300
- Частота, Гц: 50
- Мощность, Вт: 300
- Максимальный потребляемый ток, А: 40
- Напряжение аккумулятора, В: 24
- Напряжение сети, В: 220
- Выходное напряжение, В: 220 —
- Рабочая температура, °C: 1 — 40
- Возможности: Защита: от перегрева; глубокого разряда, перезаряда аккумуляторов. Максимальный емкость аккумуляторов 20А*Ч, две внешние 12 В АКБ , с возможностью наращивания ёмкости
- Тип напряжения: Однофазное (220 В)
- Точность стабилизации, %: 3
- Вес без упаковки: 2.5 кг
- Вес в упаковке: 2.9 кг
- Влажность воздуха, %: 80
- Время отклика, мс: 4
- Выходные розетки: 1
- Класс защиты: IP20
- Для газовых котлов: Да
- Габариты, см: 21 х 9 х 24
- Гарантия, мес.: 12
- Комплектация: Устройство бесперебойного питания
Паспорт (инструкция)
Упаковка - Страна бренда: Латвия
- Страна производства: Китай
Ищете положительные и негативные отзывы о Ресанта УБП-300?
Из 11 источников мы собрали 63 отрицательных, негативных и положительных отзывов.
Мы покажем все достоинства и недостатки Ресанта УБП-300 выявленные при использовании пользователями. Мы ничего не скрываем и размещаем все положительные и отрицательные честные отзывы покупателей о Ресанта УБП-300, а также предлагаем альтернативные товары аналоги. А стоит ли покупать — решение только за Вами!
Самые выгодные предложения по Ресанта УБП-300
Информация об отзывах обновлена на 22.04.2023
Написать отзыв
Достоинства:
Компактный, прост в обращении
Недостатки:
Нет
Комментарий:
Пользуюсь около полугода. Пока претензий нет. Использую в дачном поселке для котла обогрева. Были и отключения и перебои с напряжение, но прибор справляется и работает без нареканий. Почитал отзывы и немного расстроился, думаю если что с ним произойдет, то дополнительные отзыв. А пока всем доволен.
Кузнецов Алексей, 18.08.2018
Достоинства:
можно подключать 2 одинаковых автомобильных аккумулятора любой емкости (от этого будет зависеть только автономное время работы)
Недостатки:
нет защиты от перегузки
Комментарий:
очень удачный бесперебойник, предыдущий работал 2 года без замечаний,пока я на него комп не подключил
Ирина, 16.08.2018
Достоинства:
Отличный товар за эти деньги!Купили несколько месяцев назад, прекрасно работает до сих пор, сбоев не было, цена адекватная.
Недостатки:
Не найдено
Комментарий:
Рекомендую. Не греется и работает без нареканий. Перестали беспокоиться о перепадах напряжения
Дроздов Никита, 15.08.2018
Достоинства:
Компактный, тихий, недорогой
Недостатки:
Нет
Комментарий:
Последнее время часто пропадает питание в сети на непродолжительное время. Приобрел для компьютера.
Отличный выбор — доволен.
antondem, 14.08.2018
Достоинства:
Есть наверное, но я не успел найти
Недостатки:
Закипают аккумуляторы при подключении.
Комментарий:
Купил 2 новых аккумулятора по 60А/ч. Подключил по инструкции последовательно, что бы было 24 вольта. Закипели через 30 минут оба… В Интернет об этой модели есть информация, что часто зарядный ток превышает допустимую норму.
vunderk1ng, 14.08.2018
Достоинства:
Невероятно прост в эксплуатации, питает всё что угодно.
Недостатки:
Не обнаружил за всё время использования
Комментарий:
Брал еще зимой, до сих пор верно служит мне.
Работа в автоматическом режиме порадовала как никогда, не нужны проверки. За всё время работы не возникло никаких вопросов ни по обслуживанию аппарата, ни к его завяленным характеристикам. Всё понравилось:)
Евгений, 13.08.2018
Достоинства:
Стабилизатор то что надо. Качественный, надежный и удобный.
Да и цену свою оправдывает. Так же полностью соответствует своим характеристикам.
Недостатки:
Не обнаружил.
Комментарий:
Лучший в своем роде. Дома наблюдались скачки напряжения, поэтому решил купить себе стабилизатор от Ресанты. Не пожалел. Стабилизатор работает бесперебойно. Скачки прекратились. Очень доволен работой, всем советую. 10 из 10.
Оксана Острикова, 11.08.2018
Достоинства:
Цена-качество
Комментарий:
Купили с мужем для дома, для домашнего компьютера, скачки напряжения, и короткие отключения электричества нас теперь не беспокоят. Спасибо данному устройству, рекомендую.
Свиридов Виктор, 11.08.2018
Достоинства:
Компактный, очень простой в обслуживании.
Недостатки:
Не стабилизирует перепады напряжения от сети.
Комментарий:
При работе от батарей выдает чистую синусоиду. можно подключать любое электронное оборудование! У меня стоят две автомобильные батареи по 55А/ч. Хватает на 5 часов работы газового котла. Работает полностью в автоматическом режиме в том числе разряд и заряд батарей. Заявленные в паспорте характеристики в пределах нормы. Считаю недостатком плохую фильтрацию синусоиды при работе от бензинового генератора. Т. е. если генератор выдает не чистую синусоиду то прибор ее не выравнивает. В случае срабатывания защиты от пепрегрузки неудобно вскрывать корпус и выпаивать предохранитель. В целом аппарат очень удобный и надежный.
Demon, 11.08.2018
Достоинства:
Его цена, надежность и компактность.
Не требует особых навыков в обращении
Недостатки:
Время зарядки батареи, как по мне слишком долго. А так других недостатков не обнаружено
Комментарий:
Пользуюсь около года. Использую в дачном поселке. Были и отключения и перебои с напряжением, но прибор справляется и работает без нареканий. Впринципе товар годный. Советую
Роман, 11.08.2018
Достоинства:
Низкая цена, свои функции выполняет на ура.
Недостатки:
Отсутствуют.
Комментарий:
Мой третий бесперебойник. Пока доволен,очень выгодное предложение по соотношению цена-качество. Брал для содержания серверов, и под видеонаблюдение, особенно порадовал низкий уровень шума, брал 17 дней назад, проблем не возникало, Одобряю!)
алексей, 10.08.2018
Достоинства:
Небольшой, в обслуживании не сложен, хорошая цена. Брал для дома — как бывает отключают свет у нас. Работает стабильно.
Недостатки:
Пока не обнаружил
Комментарий:
Мой первый бесперебойник. Пока всем доволен. Лучшее предложение по соотношению цена-качество. Советую.
ilya, 10.08.2018
Достоинства:
Производительность,надёжность,компактность.
Недостатки:
Нет
Комментарий:
Использую несколько месяцев на даче для котла обогрева.Очень понравилось работа данного аппарата.Отмечу стабильную,и самую главное тихую работу.Проблем в работе за несколько месяцов не было замечено.Очень доволен покупкой!
Гость, 10.08.2018
Достоинства:
Заряд батареии и качество УБП
Недостатки:
Недостатков не замечено.
Комментарий:
Очень пад приобритением УБП 300
Alex, 10.08.2018
Достоинства:
Удобный, простой в использовании (основные факторы, т.к. ИБП покупался отцу в дом с проблемной электроэнергией), уровень шума приемлимый. Пользуемся пару месяцев, пока аппарат не подводил, работает без перебоев. Многофункциональный, есть зарядное устройство. Многие пишут про долгую зарядку, но если не разряжать ибп в ноль, то по мне зарядка довольно быстрая.
Недостатки:
Не обнаружил.
Комментарий:
В частных домах/с перебоями электричества данный ибп справляется со своей задачей. очень простой и удобный аппарат.
Никита Ерофеев, 08.08.2018
Достоинства:
небольшой, хорошая стоимость, время работы
Недостатки:
побольше бы аккумулятор
Комментарий:
Приобрел для компьютера, в вечернее время частенько бывают кратковременный провалы в сети от 10 сек. до 2 мин.
Сейчас все отлично, теперь я спокоен за свой компьютер.
Максим, 08.08.2018
Достоинства:
мне очень понравилась работа этого оборудования подключил один автомобильный аккумулятор и когда было отключение света все хорошо работало а подключал к настенному котлу
Недостатки:
не обнаружил
Комментарий:
советую
buharin, 07.08.2018
Достоинства:
цена и качество.
Недостатки:
пока не выявил
Комментарий:
мне очень понравились его габариты.стабилизатор и бесперебойник мне очень нужен, был так что этим я очень доволен.поломок не было,шума не издает.всем советую и проверяйте сразу что бы не было проблем потом.
max, 07.08.2018
Достоинства:
Качество отличное, не шумит, не дорогой , батареи хватает надолго, качественно держит напряжение.
Недостатки:
Не обнаружил.
Комментарий:
Живу в новом районе, часто бывает отключение света, поэтому купил себе ИБП. Это мой первый ИБП, работает стабильно, всем доволен. Дома стоит небольшое серверное оборудование, с ИБП все работет отлично,всем доволен. Лучшее предложение по соотношению цена-качество.
Zadon101, 07.08.2018
Достоинства:
Ставил газовый котел и установщики порекомендовали взять Ресанту эту, вообщем то ни каких проблем с прибором нет, работает свои функции выполняет, считаю что деньги потрачены с пользой.
Недостатки:
пока не выявил
Комментарий:
Особо сравнить не с чем, но меня устраивает, поставил, работает и мозги не крутит.
Ермохин Константин, 06.08.2018
Достоинства:
надежность
Недостатки:
не найдено
Комментарий:
Купил в квартиру,часто бывают скачки напрежения и отключение света.Из за этого уже приходилось отдавать телевизор в ремонт,около двух месяцев назад купил этот бесперебойник,два раза отключали свет,но пока все супер!очень доволен!
Сергей, 06.08.2018
Достоинства:
Ценакачество — как сладкая конфетка! Очень хорош среди своих аналогичных моделей. Описание соответствует действительности, в частном доме незаменимая штука, т.к. часто летом отключают электричество.
Недостатки:
В общем-то недостатков как таковых нет. Поживем — увидим.
Комментарий:
Отключение-то я переживаю, но вот мой кабельный интернет с компьютером — не особо. Кинул провода и забыл о проблеме. В общем, пробуйте сами, по мне так шикарно)
vcc df, 06.08.2018
Достоинства:
Работает как танк), в моем районе частенько перебои с электричеством, а сервер должен постоянно работать, отлично вытягивает 2 сервака.
Недостатки:
дороговото, но того стоит
darkseyler, 03.08.2018
Достоинства:
Компактный,универсальный,низкая цена и хорошая производительность, хватает для удержания 2 серверов с головой.
Недостатки:
Пока не обнаружено,все устраивает,шума нет.
Комментарий:
Как писал выше,покупал для серверов,что бы не было перебоев,электролиния у меня в районе не очень,и бывают падения под вечер,вот по этому его и взял.
Кузнецов, 02.08.2018
Достоинства:
Цена, небольшой уровень шума
Недостатки:
Не слишком быстрая зарядка после полного разряда
Комментарий:
Если аккумулятор не выйдет из строя через год-полтора (как было с некоторыми другими ИБП некоторых других фирм, которые я пробовал), то может будет считать удачной покупкой. Сейчас пока рано о чём-то говорить.
saha, 01.08.2018
Достоинства:
Все как положено, выдает 300вт. Качественный ибп, пользуюсь уже год, все устраивает, советую всем, покупал под видеонаблюдения, никогда не подводил. Этот продукт идеально решение для любых задач в принципе.
Недостатки:
Нету
Комментарий:
лучшее соотношение/цена, нигде не найти лучше, чем этот ибп
tttyne, 01.08.2018
Достоинства:
Хорошая цена, маленький
Недостатки:
Обнаружено не было
Комментарий:
Мой первый товар такого типа. Всем доволен, проблем с ним не возникает. Пользуюсь уже несколько месяцев, менять не хочу. Доволен, что выбрал именно этот, т.к цена за данный товар просто отличная!
Жека Константинов, 01.08.2018
Достоинства:
По соотношению Цена-Качество сказка,если сравнивать с ближайшими аналогами.
По качеству так же полностью устраивает,живу в частном доме ИПБ просто необходим,так как свет отключают регулярно.
Недостатки:
Занимает значительную часть пространства.
Комментарий:
Рекомендую,лучшее что есть из подобной техники за свою цену.
Шишкина Александра, 01.08.2018
Достоинства:
надежный, работает исправно.
Недостатки:
нет
Комментарий:
Купила УБП-300 в дачный дом, котел электрический и чтобы не остаться без тепла в самый неподходящий момент, позаботилась и приобрела данное оборудование.Вещь на первый взгляд не первой необходимости,однако как хорошо что есть, питается от аккумулятора,работает исправно,без сбоев. у кого двухконтурный котел как у меня- рекомендую.
Александр, 01.08.2018
Достоинства:
К плюсам данной модели, несомненно, стоит отнести контроль заряда аккумулятора, предотвращение полного разряда и автоматический переход в режим ожидания после завершения цикла зарядки. Если напряжение в сети по какой-либо причине исчезает, устройства начинают питаться от батареи.
Недостатки:
Не обнаружил пока.
Комментарий:
Советую приобрести.Отличное соотношение качества и цены. Данный товар является лучшим из представленных на рынке
За срок службы пока ещё не подвёл.
Устройство бесперебойного питания Ресанта УБП-300 используется для полной и безостановочной подачи электропитания в условиях аварийного отключения электро сети. Чтоб определить степень готовности устройства к поддержанию питания, достаточно контролировать светодиодный индикатор.
- Красный — заряжается (нуждается в заряде)
- Зеленый — заряжен (готов к работе)
Благодаря небольшому весу и размеру, устройство очень легко транспортировать и удобно хранить.
Подробнее про Ресанта УБП-300
Дом, офис или здание промышленного/социального назначения в наши дни невозможно представить без подключения к электроэнергии. Стабильное функционирование энергосистемы является критически выжным моментом в любом случае. Отсутствие электроэнергии, как минимум, вызывает у современного человека дискомфорт. Устройство бесперебойного питания станет тем самым необходимым прибором, который позволит решить все вопросы потребителя в плане защиты оборудования от перепадов напряжения.
«Ресанта» — один из лидеров по производству электрического оборудования в нашей стране. Уже более 15 лет оборудование этой торговой марки известно на просторах России и стран СНГ. Во множестве домов стабилизаторы «Ресанта» обеспечивают стабильную работу сетей электроснабжения. Но, как и все остальные приборы, стабилизаторы требуют правильных условий эксплуатации или ремонта после длительного срока службы. Эта статья посвящена возможным поломкам стабилизаторов «Ресанта», ремонту поврежденных элементов и правильным условиям эксплуатации.
Для начала разберем принцип работы и устройства стабилизаторов данной марки. Основные элементы стабилизаторов «Ресанта»: электронный блок, вольтметр, автоматический трансформатор, блок подключения/отключения обмоток.
Принцип стабилизации напряжения стабилизаторов «Ресанта» — это управление всех стабилизаторов посредством электронного блока. Электронный блок считывает информацию с вольтметра и получает данные о входном напряжении. Далее происходит сравнение нормированного напряжения и действительного и только после этого электронный блок определяет, какие обмотки стабилизатора включить или отключить и, соответственно, сколько вольт прибавить или отнять.
Обмотки включаются и отключаются с помощью реле или сервопривода. В результате, на выходе из стабилизатора мы получаем нормальное напряжение. Это принцип работы, по которому работают все стабилизаторы «Ресанта», отличаются они только процессом стабилизации напряжения из-за различного подключения или отключения обмоток.
Рассмотрим каждый тип оборудования. Компания «Ресанта» выпускает стабилизаторы электромеханические и релейные.
Электромеханический тип стабилизаторов «Ресанта»
Отличительной особенностью данных моделей является наличие сервопривода. Этот элемент осуществляет переключение обмоток трансформатора. Переключение происходит плавно и без резких скачков, поэтому данные модели стабилизаторов отличаются точной регулировкой напряжения на выходе.
Сервопривод представляет собой конструкцию из двигателя и щетки. Когда происходит вращение якоря двигателя, начинается вращение щетки и контакта с обмоткой трансформатора. Щетка имеет ширину, позволяющую контактировать двум обмоткам одновременно для исключения потери фазы. Нормализатор создает напряжение ошибки, которое пропорционально величине и является разницей между входным напряжением и напряжением, заданным по параметрам. Сигнал ошибки может иметь две полярности, каждая из которых заставляет ось двигателя крутиться в определенном направлении. Соответствующее направление получает и щетка.
Исходя из этих особенностей работы, приведем возможные поломки и неисправности электромеханических стабилизаторов. В качестве практического примера возьмем одну из самых востребованных моделей стабилизатора Ресанта АСН-10000/1-ЭМ.
Основные неисправности электромеханических стабилизаторов:
1. Чем чаще изменения тока в сети, тем чаще происходит вращение якоря двигателя и щетки(сервопривода). Этот элемент при трении о витки обмотки чрезмерно нагревается и происходит загрязнение проводов и износ щетки, а также может стать причиной выхода из строя двигателя.
2. Поломка двигателя автоматически выводит из строя каскад управления двигателем, который собран на основе транзисторов Q2 ТIР41С и Q1ТIР42С.
3. После сгорания транзисторов Q2 ТIР41С и Q1ТIР42С автоматическому выходу из строя подвергаются резисторы R45 и R46.
Итак, при выходе из строя двигателя, будьте готовы к замене всех вышеперечисленных элементов. Сам двигатель можно заменить на новый, а можно подвергнуть самостоятельной реставрации, но только в том случае если вы имеете определенные навыки.
Для восстановления самого двигателя:
- произведите его отключение от общей схемы.
- подключите к источнику питания с постоянным напряжением в 5 Вольт. Сила тока тоже должна соответствовать определенным параметрам, от 90-160мА. При подаче такого тока щетки двигателя автоматически очищаются от частиц мусора, методом выгорания. При подаче тока поменяйте полярность несколько раз, это позволит улучшить результат.
- подключите двигатель в стабилизатор придерживаясь схемы. После такой процедуры ваш стабилизатор вернется в рабочее состояние.
Релейные стабилизаторы «Ресанта»
Основные неисправности релейных стабилизаторов «Ресанта» значительно отличаются от неисправности электромеханических, соответственно и ремонт имеет отличительные черты.
Релейные модели отличаются скачкообразным выравниваем напряжения. Принцип работы: одно реле отключает/включает определенное количество витков обмотки или поочередно подключает витки и останавливает на нужном. В моделях релейного типа витки поделены на группы и каждая имеет свой вывод, который и подает ток при включении. Релейные стабилизаторы «Ресанта» состоят из четырех реле (исключение — модели СПН, имеющие пять реле) и, соответственно, количество выводов тоже четыре. Когда происходит отключение и включение каждого из реле, скачок напряжения на выходе порой составляет до 20Вольт.
Основные неисправности релейных стабилизаторов:
1. Основным рабочим узлом релейных стабилизаторов является реле, именно эта деталь нормализует ток. Соответственно, чем чаще происходят скачки напряжения, тем большему износу оно подвергается. Этот компонент при выходе из строя может сгореть или залипнуть.
2. При выходе из строя контактов реле последующей поломкой буду транзисторные ключи, которые полностью подлежат замене. Они различаются в зависимости от моделей стабилизатора. К примеру, стабилизатор Ресанта АСН-5000/1-Ц содержит транзисторы D882Р. Все транзисторы стабилизаторов «Ресанта» можно купить в большинстве магазинов, только необходимо изучить модификацию по схеме стабилизатора. Можно отреставрировать контакты реле самостоятельно — снимаем крышку реле, освобождаем подвижный контакт от пружины и снимаем его, очищаем контакт от нагара с помощью наждачной бумаги (нулевки), эту же процедуру проводим и с верхним и нижним контактом, после очистки обрабатываем все детали очищенным бензином и производим сборку, согласно схеме.
Диагностика стабилизаторов
После проведения всех ремонтных работ для любой из моделей стабилизаторов необходимо произвести проверку. Для этой цели лучше всего использовать автотрансформатор или ЛАТР.
Подключаем к этому прибору диагностируемый стабилизатор и изменяем напряжение. В качестве нагрузки используем лампу накаливания. При изменении напряжения будет видна работа стабилизатора. И только после проверки стабилизатора на корректную работу производим его подключение к сети электропитания.
Все модели стабилизаторов могут выходить из строя из-за неправильных условий эксплуатации. Чтобы этого не произошло, необходимо соблюдать правила, которые помогут вам надолго сохранить прибор в рабочем состоянии:
1. Не допускайте работу стабилизатора длительное время при пониженном напряжении, меньше 160В. Если напряжение падает до критической точки следует ограничить потребляемую мощность(нагрузку), перераспределив нагрузку и не используя мощные приборы, без которых можно обойтись. Если у вас очень часто наблюдается пониженное входное напряжение, сократите нагрузку на 50%. Например, у вас стоит стабилизатор напряжения Ресанта Доминго ДЕС- 12000/1-Ц, его мощность 12кВт, на время критических снижений напряжения снизьте потребляемую мощность до 6кВт. Есть и другой способ выйти из ситуации при постоянных пиковых снижениях напряжения — приобрести стабилизатор «Ресанта» из линейки стабилизаторов для пониженного напряжения. Эти модели стабилизаторов способны работать при критически низком напряжении в 90В!
2. Мощность стабилизатора должна быть на 10% больше, чем суммарная мощность всех потребителей, работающих одновременно. Недопустимо допускать работу прибора при полной нагрузке. Более подробные расчеты мощности для стабилизатора в нашей статье «Необходимость покупки стабилизатора»
Каждая единица оборудования в нашей компании имеет идентификационные данные, они регистрируются на всех этапах: при производстве, продаже и даже ремонте в СЦ.
Покупая у нас продукцию Ресанта, Huter и Вихрь, Вы можете быть уверены в её 100% подлинности!
Даем гарантию на все агрегаты и оборудование на этом сайте!
Покупая у нас Вы можете быть уверены в том что получите 100% оригинальный товар, гарантию и обслуживание в нашем Сервисном центре
* Бонус-баллы могут быть использованы только в офисе магазина, физическими лицами в момент покупки товара за наличный расчет или по карте.
Баллы можно использовать в качестве частичной или полной оплаты за любые дополнительные товары интернет магазина.
** Акция — Маска «Хамелеон» в подарок распространяется, только на физических лиц при покупке сврочного аппарата со стикером за наличный расчет или по карте в офисе магазина.




Инструкции и файлы
| Файл | Страниц | Формат | Размер | Действие |
![]() |
12pdf381.73KB
Чтобы ознакомиться с инструкцией выберите файл в списке, который вы хотите скачать, нажмите на кнопку «Загрузить» и вы перейдете на страницу, где необходимо будет ввести код с картинки. При правильном ответе на месте картинки появится кнопка для получения файла.
Если в поле с файлом есть кнопка «Просмотр», это значит, что можно просмотреть инструкцию онлайн, без необходимости скачивать ее на компьютер.
В случае если материал по вашему не полный или нужна дополнительная информация по этому устройству, например драйвер, дополнительные файлы например, прошивка или микропрограмма, то вы можете задать вопрос модераторм и участникам нашего сообщества, которые постараются оперативно отреагировать на ваш вопрос.
Также вы можете просмотривать инструкции на своем устройстве Android
Описание:
Источник бесперебойного питания Ресанта УБП-300предназначен для обеспечения непрерывного электропитания при аварийном отключении электрической сети. Заряд аккумуляторных батарей легко определить по светодиодному индикатору на передней панели устройства. Прибор удобно хранить и переносить благодаря малым размерам и весу.
Сферы примененияагрегата разнообразны: котельное оборудование, персональные компьютеры и оргтехника, серверные станции, системы освещения, охранные системы.
В конструкции УБП встроен автоматический стабилизатор напряжения. Поэтому данные устройства способны защищать технику при скачках напряжения, не включая при этом резервные аккумуляторные батареи (АКБ). Если же произойдет прекращение подачи электроэнергии, то УБП использует заряд АКБ для резервного обеспечения энергией подключенного оборудования. Устройство имеет встроенное зарядное устройство для АКБ.
Режимы работы
В зависимости от состояния сети и величины нагрузки УБП может работать в различных режимах:
— СЕТЕВОЙ РЕЖИМ— при входном напряжении 140-260В УБП работает от сети. Если (после пропадания питания) в сети питания напряжение более 160В, УБП включается автоматически в сетевой режим;
— АВТОНОМНЫЙ РЕЖИМ— УБП работает от АКБ. При этом УБП издает каждые 12 секунд звуковой сигнал, который учащается по мере разрядки АКБ. При остаточной емкости АКБ менее 20% УБП автоматически выключается (защита от полного разряда АКБ);
— РЕЖИМ ХОЛОСТОГО ХОДА— включение УБП при отсутствии сетевого напряжения (нажатием кнопки «ожидание сети» с выдержкой не менее 3 сек.). Нужно использовать данный режим только в экстренных случаях.
Основные характеристики:
| Бренд | Ресанта |
| Страна бренда | Латвия |
| Страна производства | Китай |
| Тип напряжения | Однофазное (220 В) |
| Мощность, Вт | 300 |
| Время отклика, мс | 4 |
| Класс защиты | IP20 |
Чтобы купить источник бесперебойного питания РЕСАНТА УБП-300 просто добавьте товар в корзину и оформите заказ, выбрав предпочитаемый способ оплаты и доставки. После оформления заказа наш менеджер свяжется с вами для подтверждения.
- Бренд: РЕСАНТА
- Модель: УБП-300
- Частота, Гц: 50
- Мощность, Вт: 300
- Максимальный потребляемый ток, А: 40
- Напряжение аккумулятора, В: 24
- Напряжение сети, В: 220
- Выходное напряжение, В: 220 —
- Рабочая температура, °C: 1 — 40
- Возможности: Защита: от перегрева; глубокого разряда, перезаряда аккумуляторов. Максимальный емкость аккумуляторов 20А*Ч, две внешние 12 В АКБ , с возможностью наращивания ёмкости
- Тип напряжения: Однофазное (220 В)
- Точность стабилизации, %: 3
- Вес без упаковки: 2.5 кг
- Вес в упаковке: 2.9 кг
- Влажность воздуха, %: 80
- Время отклика, мс: 4
- Выходные розетки: 1
- Класс защиты: IP20
- Для газовых котлов: Да
- Габариты, см: 21 х 9 х 24
- Гарантия, мес.: 12
- Комплектация: Устройство бесперебойного питания
Паспорт (инструкция)
Упаковка - Страна бренда: Латвия
- Страна производства: Китай
Фотобанк StylishBag
МЕНЮ
Обновлено: 24.09.2023
Читайте также:
- Картина семейной жизни островский
- История фото для презентации
- Проект природа родного края
Ключевые моменты
Вес 2.5 кг
Глубина 240 мм
Высота 90 мм
Защита от короткого замыкания Нет
Защита от перегрузки Нет
Выходное напряжение 1-фазное
Цены на РЕСАНТА УБП-300

Лучшие технические характеристики и функции
- Высота
- Время переключения на батарею
- Форма выходного сигнала
- Выходная мощность (активная)
- Выходная мощность (полная)
Основные характеристики
РЕСАНТА УБП-300:
15
Лучший показатель:
Стабилизация
РЕСАНТА УБП-300:
19
Лучший показатель:
Функции и интерфейсы
РЕСАНТА УБП-300:
52
Лучший показатель:
Высота
РЕСАНТА УБП-300:
90 мм
Лучший показатель:
2033 мм
Время переключения на батарею
РЕСАНТА УБП-300:
0.4
Лучший показатель:
0.4
Почему РЕСАНТА УБП-300 лучше, чем другие
- Время переключения на батарею 0.4 . Данный параметр ниже, чем у 35% товаров
- Высота 90 мм. Данный параметр ниже, чем у 75% товаров
- Выходная мощность (активная) 300 . Данный параметр ниже, чем у 94% товаров
- Выходная мощность (полная) 500 . Данный параметр ниже, чем у 96% товаров
- Количество выходных разъемов питания (общее) 1 . Данный параметр ниже, чем у 95% товаров
- Защита от высоковольтных импульсов
Обзор РЕСАНТА УБП-300
Обзор РЕСАНТА УБП-300: основные моменты
Вес
2.5 кг
Среднее знач.: 30.7 кг
Глубина
240 мм
Среднее знач.: 435 мм
Высота
90 мм
Среднее знач.: 262.5 мм
90 мм
Среднее знач.: 262.5 мм
Высота
90 мм
Среднее знач.: 262.5 мм
90 мм
Среднее знач.: 262.5 мм
Ширина
210 мм
Среднее знач.: 261.2 мм
Возможность установки в стойку
Нет
Высота
90 мм
Среднее знач.: 262.5 мм
90 мм
Среднее знач.: 262.5 мм
Высота
90 мм
Среднее знач.: 262.5 мм
90 мм
Среднее знач.: 262.5 мм
Защита от короткого замыкания
Нет
Выходное напряжение
1-фазное
Входное напряжение
1-фазное
Форма выходного сигнала
синусоида
Выходная мощность (активная)
300
Среднее знач.: 2180.1
Выходная мощность (полная)
500
Среднее знач.: 2725.7
Подключение дополнительных батарей
Есть
Отображение информации
светодиодные индикаторы
Слот для дополнительных интерфейсов
Нет
Интерфейс Ethernet 10/100
Нет
Количество выходных разъемов питания (общее)
Время переключения на батарею
Защита от высоковольтных импульсов
Нет
Возможность замены батарей
Есть

































































