Система технического обслуживания и текущего ремонта железнодорожных транспортеров
Срок эксплуатации транспортеров не должен превышать нормативный срок службы согласно «Положение о системе технического обслуживания и ремонта грузовых вагонов, допущенных в обращение на железнодорожные пути общего пользования в международном сообщении», Утверждено Советом по железнодорожному транспорту государств — участников Содружества протокол от «16-17» октября 2012 г №57.
Техническое обслуживание №1 (ТО-1) – выполнение комплекса работ по поддержанию работоспособности транспортеров в пути следования – производится при контроле технического состояния транспортеров во время приема – передачи по межгосударственным передаточным железнодорожным станциям и при подготовке в рейс ближайшего вагонного депо.
После выгрузки производится контроль технического состояния транспортеров на ПТО.
Техническое обслуживание №2 (ТО-2) – выполнение комплекса работ по восстановлению работоспособности узлов и ремонту оборудования транспортёров перед погрузкой транспортёрам сочленённого и сцепного типа грузоподъёмностью 120-500 т в специализированных вагонных депо, а других типов транспортёров – на ПТО вагонных депо.
Техническое обслуживание №3 (ТО-3) – единая техническая ревизия и ремонт специального оборудования — производится только транспортёрам сочленённого типа грузоподъёмностью 120-500 т, выполняется один раз в год в специализированном вагонном депо или предприятии, которое имеет на то разрешение железнодорожной администрации.
Техническое обслуживание транспортеров сочлененного типа (далее ТСЧ) в пути следования производится работниками ПТО при участии работников обслуживающих бригад, сопровождающих транспортеры, под руководством начальника вагонов- транспортеров.
Технический осмотр ТСЧ с проверкой состояния крепления груза, состояния деталей и узлов транспортеров производится работниками эксплуатационного вагонного депо. На железнодорожных станциях, где отсутствуют ПТО, технический осмотр производится механиками обслуживающих бригад, сопровождающих транспортеры.
Технический осмотр транспортеров при подготовке их под погрузку производится только в порожнем состоянии.
При выявлении неисправностей и для выполнения работ по техническому обслуживанию транспортеров в объеме ТО-2 и ТР на ремонтных путях руководитель смены (старший осмотрщик) оформляет уведомление формы ВУ-23М. Первый экземпляр ВУ-23М (ВУ-23 ЭТД) передает дежурному по станции и оператору ПТО, второй экземпляр до окончания работ хранится на ПТО (ПОТ), а по окончании работ вместе с уведомлением формы ВУ-36М (ВУ-36 ЭТД) передается оператору вагонного депо. На каждый отремонтированный вагон передаются сообщения 1353 и 1354 в ИВЦ железнодорожных администраций.
Предъявление транспортёров к техническому обслуживанию производится дежурным по станции с записью в книгу предъявления вагонов грузового парка к техническому обслуживанию формы ВУ-14М (ВУ-14 ЭТД).
На транспортёры с повреждёнными, неисправными или отсутствующими узлами и деталями оформляется акт формы ВУ-25М.
Транспортеры должны иметь четко нанесенную единую восьмизначную нумерацию и обозначения, код государства-собственника, и использоваться в период их нормативного срока службы, установленных межремонтных сроков и полностью отвечать единым положениям Правил технической эксплуатации железных дорог, а также требованиям нормативных актов и нормативно-технической документации.
При проведении работ по техническому обслуживанию ходовой части, тормозного оборудования, колесных пар и автосцепного оборудования железнодорожных транспортеров осмотрщик-ремонтник должен руководствоваться требованиями «Инструкции по техническому обслуживанию вагонов в эксплуатации» утв. Советом по железнодорожному транспорту Государств – участников Содружества Протокол от 21-22 мая 2009 г. № 50.
Техническое обслуживание и текущий ремонт гидросистем и электрооборудования железнодорожных транспортеров производится обслуживающей бригадой или работниками специализированных вагонных депо.
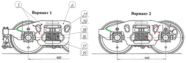
Тележки
При техническом обслуживании транспортеров осмотр тележек транспортеров модели 18-100, 18-101, 18-102, 18-126, «Sumitomo» (конструктивно подобны тележке модели 18-100, но отличаются более короткой базой(1700 мм) и устройством рессорного подвешивания, содержащего не по семь, а по пять комплектов винтовых пружин), 18-6052, 18-6052-01 и 18-6053, КВЗ-1М, производить в соответствии с требованиями «Инструкции по техническому обслуживанию вагонов в эксплуатации (инструкция осмотрщика вагонов)». Узлы и детали тележек, с просроченным сроком службы, должны быть заменены.
Запрещается постановка в поезда и следование в них транспортёров, в тележках которых имеется хотя бы одна из следующих неисправностей:
- трещина в боковой раме и/или надрессорной балке;
- трещина в балансире, соединительной или шкворневой балке трёхосной тележки;
- трещины в консолях соединительной балки четырёхосных тележек; трещина в подпятнике, пятнике в видимой зоне для осмотрщика вагонов;
- трещина в верхнем скользуне, отсутствие или излом колпака скользуна тележки или планки скользуна трёхосных тележек; отсутствие болта крепления колпака скользуна, завышение или отсутствие зазоров в скользунах;
- обрыв заклёпки фрикционной планки, излом или трещина в клине амортизатора, вышедшая на наружную поверхность клина в видимой при осмотре зоне, излом упорного бурта клина амортизатора;
- обрыв (отсутствие) хотя бы одного болта, соединяющего шкворневую балку с поперечными или надрессорными балками трёхосных тележек;
- отсутствие хотя бы одного из валиков, соединяющих балансиры с хоботами боковин трёхосных тележек или подкладок боковин;
- трещина в корпусе фрикционного гасителя колебаний тележек;
- обрыв одной заклёпки или болта, укрепляющих пятник вагона, трещина в верхнем или нижнем поясах и в зоне крайних пятников соединительной балки тележки, концевых балках, в кронштейнах тормозного оборудования;
- свободные (ненагруженные) подклиновые пружины и клинья в порожних вагонах и завышение хотя бы одного клина относительно нижней опорной поверхности надрессорной балки более 8 мм;
- излом, смыкание, сдвиг пружины;
- трещина, излом фрикционного клина.
Узлы и детали, имеющие дефекты, должны быть заменены на новые или отремонтированные, отвечающие требованиям нормативной действующей документации.
Суммарные зазоры между скользунами тележек и рамы вагона на всех 4-осных сцепных транспортерах на тележках модели 18-100 должны быть в пределах 4- 20 мм. Допускается отсутствие зазоров между скользунами одной стороны тележек, отсутствие зазоров по диагонали не допускается.
Суммарные зазоры между скользунами соединительной и шкворневой балок с обеих сторон одного конца вагона на всех 8-осных сцепных транспортерах на тележках модели 18-101 должны быть в пределах 4-15 мм, между соединительной и надрессорной балками с обеих сторон двухосной тележки в пределах 4-20 мм. Не допускается отсутствие зазоров: в двух любых скользунах одной четырехосной тележке с одной стороны вагона, по диагонали вагона между скользунами соединительной и шкворневой балок, по диагонали четырехосной тележки между скользунами надрессорной и соединительной балок.
Суммарный зазор между скользунами тележки и рамы вагона с обеих сторон конца вагона на 3-х осных тележках КВЗ-1М должен быть в пределах 10-16 мм, при этом с одной стороны тележки зазор одного скользуна должен быть в пределах 4-12 мм. На всех остальных типах транспортеров зазор между скользунами тележки и концевой балкой в сумме с обеих сторон должен быть в пределах от 3 до 7 мм, зазор между скользунами концевой и несущей балкой в пределах 4-12 мм.
Неисправности тележек
Основные неисправности тележек железнодорожных транспортеров изложены на рисунке 33 и в таблице 1
а) Тележка модели 18-6053
Рисунок 33 – Основные неисправности тележек транспортеров железнодорожных
- 0— трещины в элементах конструкции и сварных швах
- 0— изломы
Примечание: Все дефекты показаны условно. При осмотре выявляются дефекты только в местах доступных для визуального осмотра
б) Тележка модели 18-6052 и 18-6052-01
Рисунок 33 – Основные неисправности тележек транспортеров железнодорожных
- 0— трещины в элементах конструкции и сварных швах
- 0— изломы
Примечание: Все дефекты показаны условно. При осмотре выявляются дефекты только в местах доступных для визуального осмотра
в) Тележка модели 18-100
Рисунок 33 – Основные неисправности тележек транспортеров железнодорожных
- 0— трещины в элементах конструкции и сварных швах
- 0— изломы
Примечание: Все дефекты показаны условно. При осмотре выявляются дефекты только в местах доступных для визуального осмотра
г) Тележка Sumitomo
Рисунок 33 – Основные неисправности тележек транспортеров железнодорожных
- 0— трещины в элементах конструкции и сварных швах
- 0— изломы
Примечание: Все дефекты показаны условно. При осмотре выявляются дефекты только в местах доступных для визуального осмотра
д) Тележка модели КВЗ-1М
Рисунок 33 – Основные неисправности тележек транспортеров железнодорожных
- 0— трещины в элементах конструкции и сварных швах
- 0— изломы
Примечание: Все дефекты показаны условно. При осмотре выявляются дефекты только в местах доступных для визуального осмотра
д) Тележка модели 18-101
Рисунок 33 – Основные неисправности тележек транспортеров железнодорожных
- 0— трещины в элементах конструкции и сварных швах
- 0— изломы
Примечание: Все дефекты показаны условно. При осмотре выявляются дефекты только в местах доступных для визуального осмотра
е) Тележка модели 18-102

Рисунок 33 – Основные неисправности тележек транспортеров железнодорожных
- 0— трещины в элементах конструкции и сварных швах
- 0— изломы
Примечание: Все дефекты показаны условно. При осмотре выявляются дефекты только в местах доступных для визуального осмотра
Таблица 1 – Перечень возможных неисправностей тележек железнодорожных транспортеров
| Наименование дефекта | Технические требования | Методы выявления дефекта | Заключение при несоответствии техническим требованиям |
| Дефект 1 – трещины опор скользунов (в видимой для осмотрщика зоне) |
Не допускается | Внешний осмотр | Отцепить в ремонт |
| Дефект 2 – Отсутствие или излом колпака скользуна (в видимой зоне) |
Не допускается | Внешний осмотр | Отцепить в ремонт |
| Дефект 3 – Откол направляющего буртика в боковой раме (в видимой зоне) |
Не допускается | Внешний осмотр | Отцепить в ремонт |
| Дефект 4 – Откол ушков в местах крепления фрикционных планок (в видимой зоне) | Не допускается | Внешний осмотр | Отцепить в ремонт |
| Дефект 5 – Трещины в боковой раме тележки (в видимой зоне) |
Не допускается | Внешний осмотр, Лупа 10-х увеличения | Отцепить в ремонт |
| Дефект 6 – Отсутствие или повреждение кода государства — собственника |
Не допускается | Внешний осмотр | Отцепить в ремонт |
| Дефект 7 – Суммарный зазор между скользунами тележки и рамой вагона не соответствует норме |
Не допускается | Щуп Т914.21.000 | Отцепить в ремонт |
| Дефект 8 – Трещина, излом фрикционного клина (в видимой зоне) | Не допускается | Внешний осмотр, Лупа 10-х увеличения | Отцепить в ремонт |
| Дефект 9 – Завышение/занижение фрикционного клина относительно опорной поверхности надрессорной балки у порожнего вагона |
Не допускается | Шаблон Т914.19.000СБ | Отцепить в ремонт |
| Дефект 10 – Трещина в пятнике (в видимой зоне) | Не допускается | Внешний осмотр, Лупа 10-х увеличения | Отцепить в ремонт |
| Дефект 11 – Продольные или поперечные трещины верхнего и нижнего пояса в надрессорной балке (в видимой зоне) | Не допускается | Внешний осмотр, Лупа 10-х увеличения | Отцепить в ремонт |
| Дефект 12 – Несоответствие зазоров между скользунами шкворневой и и соединительной балки | Не допускается | Внешний осмотр | Отцепить в ремонт |
| Дефект 13 – Несоответствие зазоров в скользунах соединительной и надрессорной балками | Не допускается | Внешний осмотр | Отцепить в ремонт |
| Дефект 14 – Вертикальная поверхность клина не прилегает к фрикционной планке | Не допускается | Внешний осмотр | Отцепить в ремонт |
| Дефект 15 – Трещина, излом полиуретановой накладки наклонной поверхности фрикционного клина (в видимой зоне) | Не допускается | Внешний осмотр | Отцепить в ремонт |
| Дефект 16 – Изломы, отколы пружины (в видимой зоне) | Не допускается | Внешний осмотр | Отцепить в ремонт |
| Дефект 17 – Трещины витков пружины (в видимой зоне), отсутствие хотя бы одной пружины | Не допускается | Внешний осмотр, Лупа 10-х увеличения | Отцепить в ремонт |
| Дефект 18 – Протертости, коррозийные повреждения более 10% площади сечения | Не допускается | Внешний осмотр | Отцепить в ремонт |
| Дефект 19 – Смыкание витков пружин (в видимой зоне) | Не допускается | Внешний осмотр | Отцепить в ремонт |
| Дефект 20 – Обрыв (отсутствие) заклепок (1 и более) фрикционной планки, излом или трещина в клине амортизатора, излом упорного борта планки амотризатора | Не допускается | Внешний осмотр | Отцепить в ремонт |
| Дефект 21 – смещение опорных витков ( в видимой зоне) | Не допускается | Внешний осмотр | Отцепить в ремонт |
| Дефект 22 – трещины, изломы, отсутствие предохранительных и поддерживающих скоб | Не допускается | Внешний осмотр | Отцепить в ремонт |
| Дефект 23 – нетиповое, неисправное крепление деталей тормозной рычажной передачи- траверс, триангелей, рычагов, тяг, башмаков, трещины и изломы в деталях, откол проушин колодки, нетиповые детали и шплинты в узлах | Не допускается | Ключ гаечный ГОСТ 2841-80 | Заменить |
| Дефект 24 – Излом, отсутствие шкворня | Не допускается | Внешний осмотр | Отцепить в ремонт |
| Дефект 25 – Отсутствие или ослабление крепительных болтов | Не допускается | Молоток слесарный 7850- 0116 ГОСТ 2310- 77 | Отцепить в ремонт |
| Дефект 26 – Свободные (ненагруженные) подклиновые пружины и фрикционные клинья в порожних грузовых вагонах | Не допускается | Внешний осмотр | Отцепить в ремонт |
Тормозное оборудование
Техническое обслуживание и ремонт тормозного оборудования железнодорожных транспортеров производить в соответствии с требованиями «Правил технического обслуживания тормозного оборудования и управления тормозами железнодорожного подвижного состава» Утв. Советом по железнодорожному транспорту государств- участников Содружества (протокол от «6-7» мая 2014 г. № 60) и «Общим руководством по ремонту тормозного оборудования вагонов» 732-ЦВ-ЦЛ утв. 54 Советом по железнодорожному транспорту Государств-участников Содружества (протокол от 18-19 мая 2011 г.);
Не допускается постановка в поезда а также отправление со станций вагонов, у которых тормозное оборудование имеет хотя бы одну из следующих неисправностей:
- неисправное тормозное оборудование: воздухораспределитель, авторежим, концевой или разобщительный кран, выпускной клапан, тормозной цилиндр, резервуары, рабочая камера;
- повреждение воздухопроводов — трещины, прорывы, протертости и расслоение соединительных рукавов, трещины, надломы и вмятины на воздухопроводах, неплотность их соединений, ослабление трубопровода, в местах крепления;
- неисправность, нетиповое крепление деталей механической части — траверс, триангелей, рычагов, тяг, подвесок, авторегулятора рычажной передачи, башмаков; трещины или изломы в деталях, откол проушин колодки; неправильное крепление колодки в башмаке, неисправные или отсутствующие предохранительные устройства и балки авторежимов, нетиповые детали и шплинты в узлах;
- неисправный ручной тормоз;
- ослабление крепления деталей;
- не отрегулированная рычажная передача;
- толщина колодок менее :
- чугунных 12 мм;
- композиционных с металлической спинкой -14 мм, с сетчатопроволочным каркасом (определяется по заполненному фрикционной массой ушку) 10 мм.
Запрещается устанавливать композиционные колодки на вагоны, рычажная передача которых переставлена под чугунные колодки (т.е. валики затяжки горизонтальных рычагов находятся в отверстиях, расположенных дальше от тормозного цилиндра), и наоборот, не допускается устанавливать чугунные колодки на вагоны, рычажная передача которых переставлена под композиционные колодки.
При техническом обслуживании транспортеров осматривается:
- состояние и положение концевого крана, соединительного рукава, крепление магистральной трубы;
- рычаги тормозной рычажной передачи, валиков, шплинтов, шайб, распорной тяги, триангеля, подвесок тормозных башмаков, предохранителей валиков подвесок тормозных башмаков, износ тормозных колодок, состояние башмака;
- тормозные тяги, наличие и исправность крепежных деталей и предохранительных (поддерживающих) устройств тормозного цилиндра, горизонтальных рычагов, контроль соответствия установки затяжки горизонтальных рычагов типу колодок;
- состояние запасного резервуара, воздухораспределителя и их крепления на раме вагона, контроль состояния подводящих труб наличие и исправность крепежных деталей и предохранительных (поддерживающих) устройств магистрального воздухопровода, контроль соответствия включения режимов торможения и отпуска загрузке вагона;
- состояние подводящих труб, авторежима (при наличии), наличие и исправность крепежных деталей и предохранительных (поддерживающих) устройств.
Балки, турникеты и консоли
Рама, главные, несущие, концевые соединительные балки, консоли осматриваются визуально. При обнаружении дефектов в главных балках и консолях, в несущих балках железнодорожные транспортёры должны направляться в специализированное вагонное депо для производства ремонтных работ.
М И Н И С Т Е Р С Т В О О Б О Р О Н Ы С С С Р
У Т В Е Р Ж Д Е Н О
Врио начальникаЦАВТУ МО
13 июня 1970 г.
ТЕХНИЧЕСКОЕОБСЛУЖИВАНИЕ
ЛЕГКОГО МНОГОЦЕЛЕВОГОГУСЕНИЧНОГО
ТРАНСПОРТЕРА-ТЯГАЧАМТ-ЛБ (МТ-Л)
Р У К О В О Д С Т В О
Ордена Трудового Красного ЗнамениВОЕННОЕ ИЗДАТЕЛЬСТВО
МИНИСТЕРСТВА ОБОРОНЫ СССРМ О С К В А — 1 9 7 1
1
В Руководстве изложены периодичность и объем работ по техническому обслуживанию легкого многоцелевого гусеничного транспортера-тягача МТ-ЛБ (МТ-Л).
Руководство предназначено для механиков-водителей, личного состава пунктов технического обслуживания и офицеров автотракторной службы.
При обнаружении на обслуживаемом транспортере-тягаче конструктивных отличий от транспортеров-тягачей выпуска до июня 1969 г., вызывающих изменение отдельных регулировок и операций технического обслуживания, руководствоваться данными инструкции завода-изготовителя.
Руководство составлено на основе опытной эксплуатации и рекомендаций завода-изготовителя доцентом кандидатом технических наук инженер-подполковником К о т л о в ы м Г . И . , инженер-подполковником Р ы б и н ы м Н . М , инженер-майором И л ь и н ы м Ю . Н .
2
ВВЕДЕНИЕ
Настоящее Руководство предназначено для правильной организации и проведения технического обслуживания легких многоцелевых гусеничных транспортеров-тягачей МТ-ЛБ (МТ-Л)1 и составлено в соответствии с единой двухномерной системой технического обслуживания автотракторной техники Советской Армии, введенной Наставлением по автотракторной службе Вооруженных Сил Союза ССР.
Техническое обслуживание транспортеров-тягачей (рис. 1 и 2) включает следующие виды:
— контрольный осмотр перед выходом из парка;— контрольный осмотр в пути (на привалах и остановках);— ежедневное техническое обслуживание;— техническое обслуживание № 1 (ТО-1) через 800—1000 км пробега;— техническое обслуживание № 2 (ТО-2) через 2400—3000 км
пробега.Кроме контрольных осмотров и технических обслуживании №№ 1 и 2
проводятся дополнительные работы по уходу и сбережению транспортеров-тягачей:
один раз в месяц в парковые дни; при переводе транспортеров-тягачей на сезонную эксплуатацию; при содержании транспортеров-тягачей в консервации.
В Руководстве предусмотрены дополнительные операции по техническому обслуживанию при эксплуатации транспортеров-тягачей в районах Крайнего Севера, в пустынно-песчаных и горных районах, а также в период распутицы.
Руководство содержит: перечень операций по каждому виду осмотра и технического
обслуживания; указания о составе исполнителей, объеме трудовых затрат и
времени простоя транспортеров-тягачей при проведении осмотров и обслуживании;
перечень операций по консервации транспортеров-тягачей и техническому обслуживанию их в консервации;
1 В дальнейшем для краткости именуются «транспортеры-тягочи»3
технологические карты на наиболее сложные операции по техническому обслуживанию.
В табл. 1 и 2 даны трудовые затраты и время простоя транспортеров-тягачей при контрольных осмотрах и техническом обслуживании. Верхние
Рис. 1. Транспортер-тягач МТ-ЛБ
Рис. 2. Транспортер-тягач МТ-Л
пределы трудозатрат и времени простоя относятся к выполнению технического обслуживания с полным объемом регулировочных работ, в знаменателе — то же, но при эксплуатации транспортеров-тягачей в тяжелых дорожных условиях (периоды весенней и осенней распутицы, работы после форсирования водных преград).
4
Т а б л и ц а 1Трудозатраты на контрольные осмотры и техническое обслуживание
транспортеров-тягачей
Вид осмотра илиобслуживания
Трудозатраты, чел.-часмеханика-водителя механика электрика слесаря общие
Контрольный осмотр перед выходом из парка
27 — 40 мин 27 40 мин
Контрольный осмотр в пути
20 — 30 мин 20 — 30 мин
Ежедневное техническое обслуживание
Техническое обслуживание № 1
Техническое обслуживание № 2
Подготовка транспортера-тягача к летнему периоду эксплуатации (дополнительно к техническому обслуживанию №№ 1 или 2)
2 — 2,2 0,5 1 3,5 — 3,7
Подготовка транспортера-тягача к зимнему периоду эксплуатации (дополнительно к техническому обслуживанию №№ 1 или 2)
4,6 — 4,9 0,5 0,5 2,1 7,7 8
П р и м е ч а н и я : 1. В трудозатраты на контрольный осмотр перед выходом из парка не включено время на пуск и прогрев двигателя при низких температурах воздуха.
2. Трудоемкость работ по ежедневному обслуживанию приведена без учета времени на уборочно-моечные работы, которое для транспортеров-тягачей различной загрязненности составляет 1,5—3 чел.-час.
Т а б л и ц а 2Простой транспортера-тягача при техническом обслуживании и при подготовке его к
эксплуатации в летний и зимний периоды, ч
Ежедневноеобслуживание
Техническоеобслуживание
Техническоеобслуживание
Подготовка к периоду эксплуатации
5
№ 1 № 2 летнему зимнему
1,2—2,7 3,8-9,4 10,2—17,6 . 3,7 8
При определении времени на техническое обслуживание заместитель командира по технической части (начальник автотракторной службы) должен учитывать техническое состояние и потребность в проведении регулировок тех или иных агрегатов и механизмов транспортеров-тягачей.
При техническом обслуживании отдельные исполнители выполняют следующие работы:
механик-водитель транспортера-тягача — мойку и чистку транспортера-тягача, подтяжку креплений и смазку агрегатов, узлов и механизмов, отдельные регулировки механизмов (совместно с механиком), перевод агрегатов на сезонные (зимние и летние) сорта горючего, смазки и охлаждающей жидкости, подготовку средств подогрева двигателя, обогрева, утепления и вентиляции транспортера-тягача;
механик — проверку работы, регулировку и устранение неисправностей агрегатов и механизмов транспортера-тягача, промывку систем смазки и охлаждения двигателя, проверку работы на ходу после технического обслуживания и устранения замеченных недостатков;
электрик — проверку состояния электрооборудования и его крепление, устранение неисправностей в работе электрооборудования;
слесарь — подтяжку креплений агрегатов и механизмов, операции по смазке (совместно с механиком-водителем и его помощником).
Для выполнения работ по ежедневному обслуживанию в помощь механику-водителю выделяются 1—2 чел.
Операции по техническому обслуживанию транспортеров-тягачей выполняются с помощью индивидуальных (возимых) комплектов ЗИП и дополнительного инструмента и приспособлений, необходимых для работ по ТО-1 и ТО-2, входящих в комплекты Пункта технического обслуживания.
Техническое обслуживание транспортеров-тягачей в период обкатки выполняется в соответствии с инструкциями ЦАВТУ МО и заводов-изготовителей.
6
ТЕХНИЧЕСКОЕ ОБСЛУЖИВАНИЕ
КОНТРОЛЬНЫЙ ОСМОТР ТРАНСПОРТЕРА-ТЯГАЧА ПЕРЕД ВЫХОДОМ ИЗ ПАРКА
Содержание работ и технические условия
П о т р а н с п о р т е р у — т я г а ч у
1. Осмотреть транспортер-тягач, при необходимости удалить пыль, влагу, снег.
2. Установить аккумуляторные батареи, если они были сняты.3. Проверить наличие и затяжку крышек люков в корпусе и на
днище (после длительного перерыва в эксплуатации).
П о д в и г а т е л ю и е г о с и с т е м а м
4. Проверить: уровень масла в картере двигателя (уровень масла должен быть
по метке В на щупе); уровень топлива в баках по топливомерной трубке,
расположенной за сиденьем механика-водителя справа (у транспортера-тягача МТ-Л — по электрическому топливомеру, указатель которого расположен на левом щитке приборов);
уровень охлаждающей жидкости (при заправке водой уровень должен быть до половины объема расширительного бачка, а при заправке низкозамерзающей жидкостью — по нижнюю кромку расширительного бачка);
нет ли подтекания охлаждающей жидкости, топлива или масла из радиаторов, баков, в местах соединений со шлангами, через сливные краники, в местах соединения трубопроводов и из фильтров (проверять после прогрева двигателя до температуры охлаждающей жидкости 50°С); обнаруженные подтекания устранить, а подтеки вытереть насухо;
уровень масла в топливном насосе и регуляторе, для чего вывернуть масляный щупг тщательно протереть его и установить во втулку до упора в резьбу.
7
5. Пустить двигатель, на минимальных оборотах холостого хода (450—550 об/мин) поработать 1—2 мин, увеличивая обороты, прогреть двигатель до температуры не ниже +40°С, прослушать его работу на разных оборотах коленчатого вала:
дымления и посторонних шумов не должно быть;6. Проверить показания контрольно-измерительных приборов
(масляных манометров системы смазки двигателя и главной передачи, манометра пневмосистемы и вольтамперметра).
Показания должны быть: давление Тдасла в системе смазки двигателя на минимальных
оборотах коленчатого вала не менее 1 кгс/см2, при номинальных 4—7 кгс/см2;
давление масла в главной передаче при эксплуатационных оборотах не менее 1,5 кгс/см2;
давление воздуха в пневмосистеме б—7 кгс/см2; величина зарядного тока (по амперметру) при номинальных
оборотах коленчатого вала от 5 до 35 а (в зависимости от заряженности аккумуляторных батарей).
П о а г р е г а т а м , м е х а н и з м а м , с и с т е м а м
7. Проверить: исправность .фар, приборов освещения и светосигнального
устройства, звукового сигнала, сигнала «Стоп»; исправность стеклоочистителя; состояние и действие жалюзей радиатора; нет ли утечки воздуха в пневмосистеме; работу приводов управления и механизмов при переключении
передач и поворотах транспортера-тягача (на ходу).
П о о б о р у д о в а н и ю и п р и н а д л е ж н о с т я м
8. Проверить: — крепление тента (МТ-Л), шанцевого инструмента, ЗИП и огнетушителей;
состояние тягово-сцепного прибора; плотность соединения соединительной головки со шлангом
тормозной системы прицепа при полностью открытом разобщительном кране (при эксплуатации без прицепа кран должен быть закрыт).
Д о п о л н и т е л ь н ы е р а б о т ы , п р о в о д и м ы епри эксплуатации транспортера-тягача з и м о й
и в р а й о н а х К р а й н е г о С е в е р а
1. Поставить аккумуляторные батареи.2. Перед прогревом двигателя проверить, не застыла ли
низкозамерзающая жидкость. Подогревать двигатель в строгом соответствии с заводской инструкцией.
8
3. При температуре воздуха ниже минус 25° С в главной передаче, бортовых передачах, ступицах опорных катков и направляющих колес применять масло МТ-14п.
4. Перед маршем по снежной целине и безлесной местности проверить исправность приспособлений для самовытаскивания и буксирных приспособлений.
5. Уложить бревно на транспортер-тягач.
Д о п о л н и т е л ь н ы е р а б о т ы , п р о в о д и м ы епри эксплуатации транспортера-тягача в г о р н ы х
р а й о н а х
Проверить наличие и исправность горных приспособлений (дополнительные грунтозацепы и др.).
КОНТРОЛЬНЫЙ ОСМОТР ТРАНСПОРТЕРА-ТЯГАЧАВ ПУТИ
(на привалах и остановках)
Содержание работ и технические условия
П о д в и г а т е л ю и е г о с и с т е м а м
1. Проверить: уровень масла в картере двигателя, топлива в баках и
охлаждающей жидкости в расширительном бачке; при необходимости дозаправить;
нет ли подтеканий охлаждающей жидкости, топлива, масла; обнаруженную течь устранить, а вытекшую смазку вытереть насухо.
П о с и л о в о й п е р е д а ч е , х о д о в о й ч а с т ии м е х а н и з м а м у п р а в л е н и я
2. Проверить: нагрев картеров бортовых передач, ступиц направляющих колес и
опорных катков; нагрев считается нормальным, если не вызывает ощущения ожога ладони руки;
состояние траков и пальцев гусеничных цепей; траки, имеющие трещины, опасные для дальнейшей работы, и поломанные пальцы должны быть заменены;
натяжение гусеничных цепей; при необходимости отрегулировать, их натяжение (см. технологическую карту № 25).
П о о б о р у д о в а н и ю и п р и н а д л е ж н о с т я м
3. Проверить:
9
надежность сцепки с прицепом, исправность тягово-сцепного прибора и плотность соединения соединительной головки со шлангом тормозной системы;
состояние и крепление груза в кузове и на прицепе; крепление ЗИП, шанцевого инструмента и огнетушителей; состояние ходовой части прицепа.
Д о п о л н и т е л ь н ы е р а б о т ы , п р о в о д и м ы епри эксплуатации транспортера-тягача з и м о й
и в р а й о н а х К р а й н е г о С е в е р а
1. Во время стоянки транспортера-тягача и особенно при сильном морозе периодически пускать и прогревать двигатель.
2. Сбить снег или лед, намерзший на беговых дорожках гусениц.
ЕЖЕДНЕВНОЕ ТЕХНИЧЕСКОЕ ОБСЛУЖИВАНИЕ
Содержание работ и технические условия
П о т р а н с п о р т е р у — т я г а ч у
1. Сразу после пробега (при наличии в раме топлива, масла и воды) поставить транспортер-тягач на уклон с креном на корму или нос, открыть кингстоны для слива скопившегося топлива, масла, воды.
2. Осмотреть нет ли подтекания масла из агрегатов силовой передачи и ходовой части и проверить степень их нагрева.
3. Заправить транспортер-тягач топливом.4. Проверить уровень масла и охлаждающей жидкости и при
необходимости дозаправить.5. Очистить и вымыть транспортер-тягач снаружи, убрать в кабине
и кузове, вытереть насухо все узлы, стекла кабины, фар, прожектора, задних фонарей и мастику аккумуляторных батарей; протереть днище рамы и закрыть кингстоны.
6. Проверить состояние днища (нет ли деформаций и пробоин), наличие и затяжку крышек люков.
7. Устранить неисправности, обнаруженные в пути и при обслуживании.
П о д в и г а т е л ю и е г о — с и с т е м а м
8. Проверить не подтекает ли охлаждающая жидкость из радиатора в местах соединений со шлангами и из сливных краников; не подтекает ли топливо и масло в местах соединений трубопроводов, из фильтров. Обнаруженные подтекания устранить, а подтеки вытереть насухо.
10
9. Спустить 0,1 л топлива из фильтров грубой очистки и тонкой очистки. После этого дать двигателю поработать 3—4 мин для удаления воздушных пробок.
10. Проверить состояние и натяжение ремней приводов генератора, водяного насоса, компрессора и вентилятора. При необходимости отрегулировать (см. технологические карты №№ 8, 9, 10 и 11).
При нажатии большим пальцем руки с усилием 3—4 кгс прогиб должен быть, мм:
на короткой ветви ремней привода генератора 10—12; на середине ветви ремня привода водяного насоса 10—15; на середине ветви ремня привода компрессора 5—8; на верхней ветви ремней привода вентилятора 8—14.
11. Проверить уровень масла в регуляторе числа оборотов и в топливном насосе. Уровень масла должен быть по верхнюю метку на щупе. При необходимости дозаправить.
П о э л е к т р о о б о р у д о в а н и ю
12. Проверить крепление и, работу фар, поворотной фары-искателя, задних фонарей и звукового сигнала, включив выключатель массы. Ослабление крепежных деталей не допускается.
13. Через каждые 15 дней, а в жаркое время через 5—6 дней, проверить уровень и плотность электролита в батареях, крепление аккумуляторных батарей и прочистить вентиляционные отверстия в них. Через каждые 30—35 дней независимо от степени заряженности аккумуляторные, батареи заряжать на зарядной станции. Уровень электролита должен быть выше предохранительного щитка на 8—10 мм.
Плотность электролита полностью заряженных батарей для различных климатических условий эксплуатации должна быть:
Районы эксплуатации Минимальная окружающая температура, °С
Плотность электролитазаряженных батарей при его
температуре плюс 15°СЮжные До минус 20 1,25Центральные До минус 30 1,27Северные До минус 40 1,29С резко континентальным климатом:зимой Ниже минус 40 1,31летом 1,27
Примечания: 1. Степень разряженности батарей при эксплуатации зимой допускается не более 25 %, а летом — не более 50 %.
2. Понижение плотности электролита на 0,01 соответствует разрядке батареи примерно на 5 — 6,25 %
П о с и л о в о й п е р е д а ч е , х о д о в о й ч а с т и
11
и м е х а н и з м а м у п р а в л е н и я
14. Провернуть на два-три оборота рукоятку оси масляного фильтра главной передачи.
15. Проверить: состояние торсионов, траков и пальцев гусениц; натяжение гусениц; правильность натяжения определяется по
положению верхней ветви. Она должна лежать на четырех опорных катках, не касаясь первого и шестого катков. При необходимости отрегулировать (см. технологическую карту № 25);
состояние резиновых бандажей опорных катков; крепление гидравлических амортизаторов; нет ли утечки воздуха из пневмосистемы.
П о о б о р у д о в а н и ю и п р и н а д л е ж н о с т я м
16. После возвращения из рейса, открыть кран отбора воздуха и слить конденсат из баллонов пневмосистемы.
17. Проверить: состояние и крепление тягово-сцепного прибора; крепление дуг тента и тента (МТ-Л); состояние вооружения (в соответствии с наставлением по
вооружению) и укладку боеприпасов (МТ-ЛБ); состояние смотровых приборов (МТ-ЛБ) и при необходимости
очистить их; укладку и крепление ЗИП; крепление огнетушителей.
П о с л е р а б о т ы ‘ т я г о в о й л е б е д к о й (МТ-Л): при необходимости проверить и подтянуть крепежные детали,
устранить обнаруженные неисправности; через каждые .30 подтягиваний очистить отдельные лебедки от
пыли и грязи, обратив особое внимание на состояние крестовин карданных валов, реверс-редуктора и предохранительного устройства отключения привода.
П о с м а з к е
18. Смазать агрегаты и механизмы транспортера-тягача согласно таблице смазки.
Д о п о л н и т е л ь н ы е р а б о т ы , п р о в о д и м ы епри эксплуатации транспортера-тягача з и м о й
и в р а й о н а х К р а й н е г о С е в е р а
1. Если предвидится длительный перерыв в эксплуатации транспортера-тягача при хранении его на открытом воздухе или в неотапливаемом помещении при температуре наружного воздуха ниже минус
12
15° С, снять аккумуляторные батареи и поставить их в отапливаемое помещение.
2. Проверить исправность средств подогрева.3. Открыть нижнюю пробку камеры горения отопительно-
вентиляционной установкой. ОВ-65 и слить конденсат. Проверить, нет ли воды во впускных и выпускных патрубках.
Д о п о л н и т е л ь н ы е р а б о т ы , п р о в о д и м ы епри эксплуатации транспортера-тягача в р а й о н а х
п е с ч а н о — п у с т ы н н о й и н а с и л ь н о з а п ы л е н н о йм е с т н о с т и
1. Очистить поверхность радиатора от песка и пыли.2. Через 4—5 дней проверить работу паровоздушного клапана
пробки расширительного бачка.3. Через 25—30 ч работы двигателя очистить и промыть
фильтрующий элемент, бункер и циклоны воздухоочистителя (см. технологическую карту № 7).
4. Очистить и промыть атмосферные фильтры в пробках заливных горловин.
Д о п о л н и т е л ь н ы е р а б о т ы , п р о в о д и м ы епри эксплуатации транспортера-тягача в г о р н ы х
р а й о н а х
1. Если ожидается понижение температуры воздуха ниже нуля, слить воду из системы охлаждения (чтобы меньше было накипи эту же воду целесообразно вновь использовать для заправки системы охлаждения).
2. Один раз в три дня проверять уровень электролита в батареях (см. раздел «Ежедневное техническое обслуживание», п. 13).
Д о п о л н и т е л ь н ы е р а б о т ы , п р о в о д и м ы еп о с л е п р е о д о л е н и я б р о д о в ( в о д н ы х п р е г р а д )
1. Смазать подшипники механизма выключения фрикционов механизмов поворота.
2. Проверить наличие воды, в масле бортовых передач, главной передаче, опорных катков и направляющих колес. При обнаружении следов воды (масло имеет серый цвет, повышенный уровень масла, наличие воздушных пузырьков) масло заменить.
3. При необходимости промыть систему водооткачивания заливкой воды через водовыбрасывающий патрубок, слив воды — через кингстоны, не включая водооткачивающий насос.
Д о п о л н и т е л ь н ы е р а б о т ы , п р о в о д и м ы епри эксплуатации транспортера-тягача в у с л о в и я х
г р я з н ы х д о р о г и р а с п у т и ц ы
13
1. По окончании периода интенсивной ежедневной эксплуатации, но не более чем через 500 км пробега, проверить уровень масла в картерах бортовых передач и при обнаружении воды или грязи в масле, сменить его.
2. В случае повышенного нагрева охлаждающей жидкости системы охлаждения двигателя — снять жалюзи, очистить и промыть водой поверхность радиатора от грязи.
ТЕХНИЧЕСКОЕ ОБСЛУЖИВАНИЕ № 1
И с п о л н и т е л и : механик, механик-водитель, электрик и слесарь.
Содержание работ и технические условия
Выполнить все операции, указанные для ежедневного технического обслуживания. Дополнительно провести следующие работы:
П о д в и г а т е л ю и е г о с и с т е м а м
1. Проверить крепление: опор двигателя, топливных баков, натяжного ролика, масляного и
водяного насосов, топливного насоса высокого давления, радиатора и других приборов систем питания, смазки, охлаждения. Ослабление креплений не допускается. При необходимости подтянуть.
2. Проверить: состояние и герметичность трубопроводов, агрегатов и приборов
систем смазки, питания и охлаждения; при необходимости неисправности устранить:
регулировку привода управления топливным насосом; работу механизма останова двигателя; состояние паровоздушного клапана расширительного бачка
(загрязнение и легкость хода штока клапана); в случае заедания промыть клапан горячей водой;
плотность низкозамерзающей жидкости (в зимнее время).Плотность жидкости «40» должна быть 1,068—1,073, а жидкости
«65»— 1,085—1,090.3. Промыть фильтр центробежной очистки масла (см.
технологическую карту № 5).Промыть фильтр грубой очистки масла (через одно ТО-1), (см.
технологическую карту № 4), очистить и промыть через 50 ч работы двигателя фильтрующий элемент, бункер и циклоны воздухоочистителя (см. технологическую карту № 7).
4. При работе в пыльных условиях очистить сердцевину радиатора системы охлаждения от пыли и грязи. Промыть и продуть сжатым воздухом сапун топливного насоса высокого давления.
П о э л е к т р о о б о р у д о в а н и ю
14
5. Проверить и при необходимости очистить зажимы аккумуляторных батарей от окиси, затянуть и слегка смазать,
6. Проверить: крепление генератора, стартёра, реле-регулятора и при
необходимости подтянуть; состояние всех контактов электроприборов, при необходимости
зачистить и затянуть крепления.,
П о с и л о в о й п е р е д а ч е и х о д о в о й ч а с т и
7. Проверить: крепление венцов ведущих колес, карданного вала
промежуточного редуктора, гаек балансиров, колпаков опорных катков, направляющих и ведущих колес, корончатых гаек коленчатых осей и ободьев направляющих колес, конических пружин упоров, приспособлений для снегоочистителя, механизмов и приводов управления транспортера-тягача, при необходимости подтянуть крепления и зашплинтовать;
крепление тормозного крана и пневмокамер тормозов, открыв люк главной передачи (у транспортера-тягача МТ-Л — полики в кабине);
регулировку механизмов поворота и остановочных тормозов, при необходимости отрегулировать (см. технологические карты №№ 23 и 19);
исправность предохранительного клапана пневмосистемы; при повышении давления больше 7,5 кгс/см2 клапан снять, промыть и отрегулировать;
шплинтовку шарнирных соединений приводов управления транспортера-тягача.
8. Слить отстой из масляного фильтра главной передачи (сразу после возвращения из рейса в парк).
9. Проверить и при необходимости отрегулировать полный и свободный ход педали главного фрикциона (см. технологическую карту № 18).
П о о б о р у д о в а н и ю и п р и н а д л е ж н о с т я м
10. Проверить состояние огнетушителей путем взвешивания, при необходимости подзарядить (минимально допустимый вес заряда огнетушителей ОУ-2 1,25 кг).
11. Проверить герметичность корпуса (у транспортера-тягача МТ-Л — полики в кабине).
П о а г р е г а т а м и м е х а н и з м а м
12. Проверить работу механизмов управления при переключении передач и на поворотах (на ходу транспортера-тягача); при необходимости отрегулировать их (см. технологические карты №№ 19, 20, 21, 22, 23 и 24).
15
П о с м а з к е13. Смазать агрегаты и механизмы транспортера-тягача согласно
таблице смазки.
Д о п о л н и т е л ь н ы е р а б о т ы , п р о в о д и м ы епри эксплуатации транспортера-тягача в п е с ч а н о —
п у с т ы н н ы х р а й о н а х и н а с и л ь н о з а п ы л е н н о йм е с т н о с т и
1. Очистить и смазать посадочные места коленчатых осей направляющих колес и гнезда кронштейнов (при затрудненном проворачивании коленчатых осей).
2. После 25—30 ч работы двигателя очистить фильтрующие элементы воздухоочистителя (промыть в дизельном топливе) от пыли, грязи и промаслить .фильтрующие элементы в масле МТ-16п, смазать войлочные уплотнители и прокладки.
ТЕХНИЧЕСКОЕ ОБСЛУЖИВАНИЕ № 2
И с п о л н и т е л и : механик, механик-водитель, электрик и слесарь.
Содержание работ и технические условия
Выполнить все операции, указанные для технического обслуживания № 1.
Дополнительно провести следующие работы:
П о д в и г а т е л ю и е г о с и с т е м а м
1. Проверить: угол опережения впрыска топлива, при необходимости (через
одно ТО-2) отрегулировать (см. технологическую карту № 13); зазоры клапанного механизма, при необходимости
отрегулировать; (зазоры у впускного и выпускного клапанов должны быть 0,25—0,30 мм, см. технологическую карту № 12);
положение педали подачи топлива, при необходимости отрегулировать; при минимальной подаче топлива педаль должна находиться в верхнем крайнем положении (рычажок регулятора двигателя должен касаться переднего регулировочного болта), а при максимальной подаче — в нижнем крайнем положении при упоре в регулировочный болт (рычажок регулятора устанавливается в крайнее заднее положение, зазор до упора должен быть от 0 до 1,2 мм — он регулируется тягой регулятора или упорным болтом, см. технологическую карту № 16).
2. Заменить элементы фильтров грубой и тонкой очистки топлива и промыть корпусы фильтров (см. технологические карты №№ 1 и 2).
16
3. Подтянуть гайки крепления головок цилиндров, момент затяжки должен быть 22—24 кГм.
4. Снять форсунки с двигателя и проверить их работу на стенде (см. технологическую карту № 15).
5. Снять и проверить топливный насос высокого давления, при необходимости (через 2000 ч работы двигателя, а на новом двигателе первый раз через 1200 ч) отрегулировать (см. технологическую карту № 14).
6. Снять и промыть (через одно ТО-2) топливные баки (см.технологическую карту № 3).
7. Снять и промыть (через одно ТО-2) в профильтрованном дизельном топливе сапун двигателя путем многократного погружения его в топливо, после чего продуть сжатым воздухом.
П о э л е к т р о о б о р у д о в а н и ю
8. Проверить: состояние (после истечения гарантийного срока) коллектора,
щеток, щеткодержателей генератора и стартера, продуть генератор и стартер сжатым воздухом, при необходимости зачистить поверхность коллекторов от нагара;
крепление выключателя массы, блока предохранителей, контрольных приборов;
установку фар и при необходимости отрегулировать; контакты пускового реле стартера и в случае подгорания
зачистить; изоляцию проводов.9. Снять аккумуляторные батареи, проверить и при необходимости
зарядить.
П о с и л о в о й п е р е д а ч е и х о д о в о й ч а с т и
10. Проверить: крепление главной передачи, бортовых передач, ведущих колес,
зубчатых муфт и тормозных барабанов. Гайки и болты должны быть затянуты до отказа.
11. Проверить и при необходимости отрегулировать: величину полного хода педали остановочного тормоза —
определяется перемещением тяги тормозного крана (см. технологическую карту № 18);
регулировку привода коробки передач (см. технологическую карту № 17);
выставку рычагов управления (см. технологическую карту № 20); свободный ход хвостовиков поводковых коробок
механизмовповорота (см. технологическую карту № 21).
17
П о о б о р у д о в а н и ю и п р и н а д л е ж н о с т я м12. Проверить крепление: контрольных приборов и проводов на щитке водителя; лебедки (МТ-Л), реверса редуктора, карданных шарниров и
датчика предохранительного устройства отключения привода лебедки; гайки и болты должны быть затянуты до упора;
котла подогревателя, а в зимний период и его работу.13. Снять и промыть (через одно ТО-2) заборники водооткачивающей
системы.14. Проверить работу установки ТКБ-01 и переговорного устройства
в соответствии с действующими инструкциями. 15. Проверить наличие, состояние и крепление ЗИП.
П о с м а з к е
16. Смазать агрегаты и механизмы транспортера-тягача согласно таблице смазки.
П р о в е р к а к о н т р о л ь н ы м п р о б е г о м
17. Контрольным пробегом на расстояние 1 — 1,5 км проверить работу агрегатов и механизмов транспортера-тягача после технического обслуживания № 2. При этом транспортер-тягач должен удовлетворять следующим требованиям:
двигатель должен развивать достаточную мощность. Путь разгона на IV — й передаче в коробке передач на ровном твердом грунте со скорости 12 км/ч до скорости 25 км/ч не должен превышать 50 м;
при изменении положения педали или ручного привода подачи топлива двигатель должен соответственно увеличивать или уменьшать обороты коленчатого вала, но не останавливаться;
при перемещении любого рычага управления в среднее положение транспортер-тягач должен плавно поворачиваться в со ответствующую сторону. При перемещении рычага в крайнее зад нее положение на 1-й передаче в коробке передач транспортер-тягач должен разворачиваться с минимальным радиусом поворота, при возвращении рычагов в исходное положение — должен двигаться в прямом направлении;
при включении главного фрикциона не должны прослушиваться стуки и шумы, свидетельствующие о неисправности подшипника выключения фрикциона;
переключение передач должно быть бесшумным и не должно требовать применения больших усилий;
при нажатии на тормозную педаль или при оттягивании рычагов управления в заднее крайнее положение должно происходить надежное торможение;
18
показания контрольных приборов должны соответствовать требованиям заводской инструкции;
сразу после остановки температура ступиц направляющих колес и опорных катков не должна превышать 60—70° С (ладонь руки, приложенная к ступице, не должна испытывать ощущения ожога).
Дополнительные работы, проводимые один раз в месяц(в парковые дни)
И с п о л н и т е л ь : механик-водитель.
1. Очистить транспортер-тягач снаружи от пыли и грязи.2. Проверить: — нет ли подтекания топлива, масла и охлаждающей
жидкости: уровень и плотность электролита в аккумуляторных батареях,
протереть их поверхность, прочистить вентиляционные отверстия, а также крепление батарей;
состояние и работу приборов освещения, светомаскировочных устройств, светосигнального устройства и сигнала «Стоп».
3. Устранить обнаруженные при обслуживании неисправности.4. Проверить: — наличие, исправность и укладку ЗИП; состояние лакокрасочных покрытий и при необходимости
подкрасить транспортер-тягач; состояние и надежность крепления брезентов и тентов, при
необходимости отремонтировать.
Дополнительные работы, проводимые при переводетранспортеров-тягачей на сезонную эксплуатацию
И с п о л н и т е л и : механик-водитель, механик, электрик и слесарь.
Содержание работ и технические условия
Выполнить в зависимости от пробега все операции по техническому обслуживанию № 1 или № 2 и дополнительно провести следующие операции:
При подготовке транспортера-тягача к летнему периодуэксплуатации
П о д в и г а т е л ю и е г о с и с т е м а м
1. Слить низкозамерзающую жидкость из системы охлаждения в чистую посуду и сдать на склад. ‘Промыть систему охлаждения, удалить накипь из водяной рубашки двигателя и заправить ее водой.
19
2. Промыть топливные баки и заполнить их летним сортом топлива. Промывать без снятия баков, путем заливки и слива 15—20 л топлива.
П о э л е к т р о о б о р у д о в а н и ю
3. Проверить степень заряженности аккумуляторных батарей и довести плотность электролита до нормы (см. раздел «Ежедневное техническое обслуживание», п. 13).
П о о б о р у д о в а н и ю и п р и н а д л е ж н о с т я м
4. После длительной работы разобрать отопительно-вентиляционную установку ОВ-65, проверить состояние щеток коллектора электродвигателя, состояние датчиков и очистить..камеры сгорания и трубопроводы от нагара.
П о с м а з к е
5. Перевести все агрегаты и механизмы на летние сорта смазки, с предварительной промывкой картеров.
П о т р а н с п о р т е р у — т я г а ч у
6. При необходимости подкрасить или полностью окрасить транспортер-тягач.
При подготовке транспортера-тягача к зимнемупериоду эксплуатации
П о д в и г а т е л ю и . е г о с и с т е м а м
1. Заполнить систему охлаждения низкозамерзающей жидкостью.2. Снять и проверить исправность термостатов. Для этого термостат
очистить от накипи и опустить в сосуд с водой, нагретой до 90—100° С. По мере остывания воды следить за температурой начала и полного закрытия клапана термостата. Начало закрытия должно быть при 80—83° С, полное закрытие — при 70° С. Неисправный термостат заменить новым.
3. Слить воду из бачка устройства для обмыва стекол кабины.4. Промыть систему смазки двигателя и заправить зимним сор том
дизельного масла (см. технологическую карту № 6).5. Промыть топливные баки и топливные фильтры, заправить их
зимним сортом топлива. Не допускать разбавления дизельного топлива бензином, так как это может вызвать перебои в работе топливной аппаратуры из-за образования газовых пробок (см. технологические карты №№ 1, 2 и 3).
20
П о э л е к т р о о б о р у д о в а н и ю
6. Проверить степень заряженности аккумуляторных батарей и довести плотность электролита до нормы.
П о о б о р у д о в а н и ю и п р и н а д л е ж н о с т я м
7. Проверить исправность системы подогрева, для чего: проверить и при необходимости очистить от нагара внутренние
поверхности котла, кожуха поддона двигателя и газоотводящих труб; проверить состояние уплотнений газоотводящих труб; проверить подтяжку соединительных гаек, состояние топливных
трубок и исправность форсунки; если сорвана пломба, проверить поступление топлива к
топливному насосу редуктора и производительность насоса при полной подаче (за 65 оборотов рукоятки ручного привода стенда количество подаваемого топлива должно быть 70—80 см3).
8. Проверить работу системы обогрева транспортера-тягача (отопительно-вентиляционной установки ОВ-65) и произвести обслуживание:
продуть сжатым воздухом установку через штуцер, сняв пробку, которая устанавливается в верхней части кожуха;
проверить и при необходимости очистить свечу накаливания {
фильтр-отстойник, топливные и дренажные трубки; после длительной работы (500—600 ч) при заметном снижении
качества работы установку разобрать и очистить от нагара и грязи.
П о с м а з к е
9. Перевести все агрегаты и механизмы на зимние сорта смазки согласно таблице смазки. В агрегатах, смазываемых маслом МТ-16п, масло не заменять.
П о т р а н с п о р т е р у — т я г а ч у
10. При необходимости подкрасить или полностью окрасить транспортер-тягач.
21
КОНСЕРВАЦИЯ ТРАНСПОРТЕРА-ТЯГАЧА
ОБЩИЕ ПОЛОЖЕНИЯ
Порядок постановки транспортера-тягача на консервацию, последовательность и организация работ, выполняемых при подготовке и содержании транспортера-Тягача на консервации, а также порядок снятия его с консервации определяется Наставлением по автотракторной службе Вооруженных Сил Союза ССР и Инструкцией по консервации и хранению автотракторной техники и имущества в воинских частях, на базах и складах Советской Армии и Военно-Морского флота.
Постановке на консервацию подлежат все транспортеры-тягачи, эксплуатация которых не планируется на срок более трех месяцев, а в особых климатических условиях — более одного месяца.
В зависимости от срока хранения консервация транспортера-тягача может быть кратковременной — на срок до одного года и длительный — на срок более одного года.
Транспортер-тягач, подлежащий кратковременной консервации, подвергается очередному номерному техническому обслуживанию (ТО-1 или ТО-2), при проведении которого выполняется ряд специальных дополнительных операций по подготовке его деталей, механизмов и агрегатов к консервации.
Транспортер-тягач, подлежащий длительной консервации, подвергается техническому обслуживанию № 2, при проведении которого необходимо выполнить все работы, предусмотренные через одно ТО-2 и при сезонном обслуживании. Одновременно с техническим обслуживанием выполняются дополнительные работы по подготовке транспортера-тягача к консервации.
Контроль за состоянием транспортеров-тягачей, находящихся на консервации, и их техническое обслуживание проводятся в следующие сроки:
— один раз в месяц (в парковые дни);— один раз в шесть месяцев (при подготовке транспортеров-тягачей
к летнему и зимнему периодам эксплуатации);
22
— один раз в год (в сухую, без осадков, погоду).
23
Т а б л и ц а 3
Трудозатраты на подготовку транспортера-тягача к консервации
Вид трудозатратТрудозатраты при подготовке транспортера-тягача
к консервации, чел.-час
кратковременной длительной
Без учета трудозатрат на ТО-1 и ТО-2 13,5 18,2
С учетом трудозатрат на ТО-1 приподготовке к кратковременнойконсервации и ТО-2 к длительной:
без регулировочных работ 20,5—26,5 40,2—54,5с регулировочными работами 23,1—28,5 44,9—57,2
Кроме этого, ежегодно опробуется 50% транспортеров-тягачей, находящихся на длительной консервации, из них: 30% проверяется с пуском двигателя и прокручиванием механизмов силовой передачи на месте; 20% — контрольным пробегом на 15 км, с последующей полной переконсервацией.
Таким образом за 5 лет хранения каждый транспортер-тягач должен подвергаться контрольному пробегу.
В первый год постановки транспортера-тягача на длительную консервацию опробование его с запуском двигателя не производится.
Т а б л и ц а 4
Трудозатраты на техническое обслуживание и опробованиетранспортера-тягача, находящегося в консервации
Периодичность техническогообслуживания
Трудозатраты при консервации, чел.-час
кратковременной длительной
Один раз в месяц 0,9—1 0,9—1Один раз в шесть месяцев 3,8—4 3,8—4Один раз в год — 4,6—5Опробование транспортера тягача:
с пуском двигателя и прокручиванием силовой передачи на месте — 19—19,5контрольным пробегом — 20,8-21,3
П р и м е ч а н и е . Трудозатраты на опробование транспортера-тягача даны с учетом работ на снятие с консервации, опробования и постановку на консервацию.
Работы по обслуживанию и опробованию транспортеров-тягачей, находящихся на длительной консервации, должны проводиться в
24
соответствии с календарным планом-графиком, разрабатываемым в каждой части на 5 лет.
Техническое обслуживание, проведенное один раз в шесть месяцев и один раз в год, а также опробование транспортера-тягача записываются в специальном вкладыше его паспорта.
Быстрое приведение транспортера-тягача, находящегося на консервации, в боевую готовность обеспечивается:
точностью выполнения всех операций по его подготовке к консервации и по снятию с консервации согласно рекомендуемой технологии;
знанием и правильным выбором наиболее эффективных способов пуска и прогрева двигателя;
выбором рационального способа хранения аккумуляторных батарей и четкой организацией работ, обеспечивающих приведение батарей в рабочее состояние с минимальными затратами времени;
выполнение строго ограниченного перечня работ первой очереди, позволяющих пустить двигатель и вывести транспортер-тягач из парка с таким расчетом, чтобы работы второй очереди выполнить при первой возможности в пути (в районе сосредоточения, на привалах и остановках).
Т а б л и ц а 5
Средняя продолжительность работ при снятия транспортера-тягачас консервации
Вид работПродолжительность работ при
расконсервации, минкратковременной длительной
Работы первой очереди:летом 15 20зимой 30 35
Работы второй очереди 20 20Общее время:
летом 35 40зимой 50 55
П р и м е ч а н и е . Средняя продолжительность работ дана при условии хранения аккумуляторных батарей в рабочем состоянии: летом — на транспортерах-тягачах, зимой — в аккумуляторной (без учета времени на доставку их к машине).
ПОДГОТОВКА ТРАНСПОРТЕРА-ТЯГАЧАК КРАТКОВРЕМЕННОЙ КОНСЕРВАЦИИ
Содержание работ и технические условия
25
1. Тщательно очистить от грязи и вымыть транспортер-тягач, слить воду из корпуса, протереть насухо наружные поверхности агрегатов и узлов, из труднодоступных мест воду удалить сжатым воздухом,
При проведении уборочно-моечных работ следить, чтобы не попадала вода в впускную и выпускную системы двигателя, котел и редуктор подогревателя и на приборы электрооборудования.
Выполнить очередное номерное техническое обслуживание (ТО-1 или ТО-2).
2. Промыть, протереть и осмотреть дюритовые шланги. Шланги, имеющие расслоения с торцов, вздутия и широкие (до 1 мм) трещины на поверхности, заменить.
Очистить и окрасить стяжные хомуты шлангов. Резьбовую часть стяжных болтов смазать консервационной смазкой СХК или ПВК.
3. Заправить систему охлаждения: летом — водой с трехкомпонентной присадкой (по. 0,05% весовых нитрита натрия, тринатрия фосфата и двухромокислого калия); зимой — низкозамерзающей охлаждающей жидкостью (антифризом) с этой же присадкой.
4. Внутреннюю поверхность пробки расширительного бачка радиатора после очистки от коррозии смазать консервационной смазкой СХК или ПВК. Закрыть жалюзи радиатора.
5. Установить транспортер-тягач против лежней на расстоянии 1 м от них. Лежни должны быть на 1 м длиннее опорной поверхности гусениц.
Очистить гусеницы от грязи, разъединить их и проверить состояние траков и пальцев, негодные — заменить.
Подготовить к окраске и окрасить лаком № 177 свободные ветви гусениц и необрезиненные ободы опорных катков, не допуская при этом окраски их резиновых бандажей и попадание лака в проушины звеньев гусениц.
П р и м е ч а н и е . При отсутствии лака № 177 допускается применение смеси из 60% битума и 40% бензина.
6. Очистить от коррозии все детали ходовой части (направляющие и ведущие колеса, опорные катки, балансиры, кривошипы и др.), частично или полностью загрунтовать и окрасить их нитроэмалью.
7. Очистить и вымыть ^ резиновые бандажи опорных катков и соединить гусеницы.
Пустить и прогреть двигатель на режиме 1300—1500 об/мин.Удалить воду из бачка устройства для смыва грязи с ветровых стекол
кабины путем полной ее выработки. Остаток воды с осадком слить через сливную пробку, продуть бачок и трубопроводы сжатым воздухом пневмосистемы транспортера-тягача.
Установить транспортер-тягач на лежни, поставить рычаг переключения передач в нейтральное положение и остановить двигатель, перекрыв подачу топлива.
26
Отрегулировать натяжение гусениц, подготовить и окрасить неокрашенные ее участки.
8. Слить отстой топлива в количестве 5—6 л из каждой группы топливных баков и дозаправить их до нормы. Заменять дизельное топливо толь
ко в том случае, если оно не соответствует времени года9. Произвести консервацию зеркальных поверхностей цилиндров
двигателя, для чего: снять форсунки, провернуть стартером коленчатый вал двигателя (два —три включения стартера на 5—6 сек, с интервалом между включениями 10—15 сек), установить поршень 1-го цилиндра в положение НМТ и последовательно, начиная с 1-го цилиндра, залить через отверстие стакана форсунки по 90—100 см3 разогретого до 70—80° С рабоче-консервационного масла во все цилиндры.
Одновременно масло можно заливать: в 1-й и 6-й; 3-й и 5-й; 4-й и 7-й; 2-й и 8-й цилиндры. Провернуть стартером коленчатый вал двигателя (два —три включения по 5—6 сек, с интервалом 10—15 сек), установить на место форсунки.
П р и м е ч а н и е . Рабоче-консервационное масло приготовляется непосредственно в воинских частях путем добавления к моторному или трансмиссионному маслу 10% ‘присадки АКОР-1, подогретой до 60—70° С, с последующим тщательным перемешиванием.
10. Выполнить консервацию топливного насоса высокого давления и регулятора числа оборотов путем заливки нагретого до 70—80° С рабоче-консервационного масла через отверстие для указателя уровня масла (заливное отверстие) картера топливного насоса и заливное отверстие картера регулятора оборотов при рычаге ручной подачи топлива в положении выключенной подачи.
После заполнения маслом картеров полностью, переместить несколько раз педаль управления или рычаг ручной подачи топлива. Затем слить масло до уровня меток на контрольных щупах: в картере регулятора — через сливное отверстие для масла; в топливном насосе — путем отсоса через отверстие под маслоизмерительный щуп.
11. Выполнить работы по консервации зеркальных поверхностей цилиндров компрессора: вывернуть пробки клапанов, вынуть пружины и клапаны, залить 20 см3 рабоче-консервационного масла через отверстия клапанов, прокрутить шкив компрессора вручную и поставить на место клапаны, пружины и пробки клапанов.
12. Загерметизировать тканью ТТ и замазкой ЗЗК-3У крышку воздухоотвода, трубку забора воздуха воздухофильтра, отверстие под маслоизмерительный щуп, шахту выпуска, жалюзи радиатора, маслозаливную горловину двигателя и заливную горловину масляного бака главной передачи.
13. Заполнить с помощью топливоподкачивающего насоса топливоподводящие магистрали топливом, удалив из них полностью воздух.
27
14. Осмотреть электропровода, при необходимости удалить с их изоляции и оплетки нефтепродукты (промыть бензином Б-70 и протереть насухо).
Очистить наружные поверхности генератора и стартера, при необходимости подкрасить их.
28
Проверить затяжку всех зажимов электропроводки и покрыть их поверхности тонким слоем лака № 177.
15. Проверить состояние осветительных и светосигнальных приборов, сняв наружные ободки и рассеиватели; очистить поверхность от пыли, грязи и продуктов коррозии; промыть рассеиватели с обеих сторон и протереть насухо.
При обнаружении на отражательной поверхности оптических элементов фар коррозии, пыли или влаги разобрать их и протереть чистой замшей или фланелью.
Заменить неисправные рассеиватели и уплотнительные прокладки во всех приборах исправными.
При необходимости подкрасить внутренние и наружные поверхности корпусов приборов и наружных ободков.
Крышки СМУ фар опустить.
П р и м е ч а н и е . Оптические элементы фар без надобности не разбирать. При заметных повреждениях зеркальной поверхности оптические элементы заменить новыми. При сборке осветительных приборов винты крепления наружных ободков затягивать равномерно со всех сторон.
16. Снять аккумуляторные батареи, очистить их от грязи, протереть, проверить и при необходимости отправить в аккумуляторную для обслуживания и подзарядки.
Неисправные наконечники и клеммы стартерных проводов заменить исправными, после чего смазать их консервационной смазкой СХК.
Поставить аккумуляторные батареи на место.17. Снять ремни привода вентилятора, генератора и компрессора;
очистить рабочие поверхности приводных шкивов от продуктов коррозии и окрасить.
Надеть ремни и установить нормальное натяжение приводных ремней.18. Прочистить и загерметизировать сапуны картеров агрегатов
силовой передачи, топливного насоса высокого давления, регулятора числа оборотов и редуктора привода вентилятора.
19. Восстановить поврежденную окраску на наружных поверхностях агрегатов и узлов транспортера-тягача, при необходимости полностью его окрасить.
20. Смазать консервационной смазкой СХК или ПВК шарнирные соединения механизма запирания амбразур, механизма запирания заливных горловин, крышки люка отсека силовой передачи задних дверей кузова, петли и замки дверей кабины (МТ-Л), неокрашенные поверхности тягово-сцепного прибора и шаровые опоры амбразур.
21. Свернуть и уложить на сиденья коврики пола кабины, предварительно вымыв и высушив их. Пол тщательно очистить от продуктов коррозии и при необходимости подкрасить.
Рычаги и педали управления очистить, окрасить и поставить в нейтральное положение.
29
22. Проверить по комплектовочной ведомости, очистить, смазать рабочие поверхности консервационной смазкой СХК или ПВК и при необходимости окрасить инструмент механика-водителя, возимый комплект запасных частей, шанцевый инструмент и уложить их на место.
Проверить вес заряда углекислоты в огнетушителе и при не обходимости зарядить его.
23. При необходимости очистить тент (МТ-Л) и брезент от пыли и грязи, выполнить работы по обработке (перепропитке) их химическим составом ПХС-55.
Укрыть транспортер-тягач брезентом. Для предохранения брезента от потертостей и разрывов на острые углы транспортера-тягача установить деревянные или войлочные подкладки.
Брезент должен быть закреплен так, чтобы он не соприкасался с землей, не раздувался ветром; на поверхности брезента нежелательно скопление снега и влаги. Можно транспортер-тягач укрыть чехлом-полотнищем, а тент и брезент сдать на склад.
24. На транспортере-тягаче МТ-Л Б закрыть смотровые окна, амбразуры и заливные горловины внутренними запорами, а люки трансмиссионного отделения, водителя, задние корпуса, крыши корпуса и двигателя закрыть внешними запорами и опломбировать.
На транспортере-тягаче МТ-Л закрыть люки кабины и правую дверь кабины внутренними запорами, закрыть задний клапан тента и закрепить застежками.
Закрыть задние двери кузова, левую дверь кабины внешними запорами и опломбировать. Опломбировать также верхний клапан тента и заливные горловины.
ПОДГОТОВКА ТРАНСПОРТЕРА-ТЯГАЧАК ДЛИТЕЛЬНОЙ КОНСЕРВАЦИИ
Содержание работ и технические условия
1. Тщательно очистить от грязи и вымыть транспортер-тягач, слить воду из корпуса, протереть насухо наружные поверхности агрегатов и узлов, из труднодоступных мест воду удалить сжатым воздухом.
При проведении уборочно-моечных работ следить, чтобы не попадала вода в впускную и выпускную системы двигателя, котел и редуктор подогревателя и на приборы электрооборудования.
Выполнить техническое обслуживание № 2 и дополнительные работы, предусмотренные через одно ТО-2 при сезонном обслуживании,
2. Приготовить рабоче-консервационное масло путем добавления к моторному маслу 10% присадки АКОР-1, подогретой до 60—70°С, с последующим тщательным перемешиванием.
30
Пустить двигатель, прогреть и слить масло из картера двигателя. Залить приготовленное рабоче-консервационное масло в картер двигателя до нормы.
П р и м е ч а н и е . Для приготовления рабоче-консервационного масла использовать только штатные зимние сорта моторных масел.
3. Промыть, протереть и осмотреть дюритовые шланги. Шланги, имеющие расслоение с торцов, вздутия и широкие (до 1 мм) трещины на поверхности, заменить.
Очистить и окрасить стяжные хомуты шлангов. Резьбовую часть стяжных болтов смазать консервационной смазкой СХК или ПВК.
4. Заправить системы охлаждения двигателя водой или низкозамерзающей жидкостью (антифризом) с трехкомпоиентной присадкой (по 0,05% весовых нитрита натрия, тринатрия фосфата и двухромокислого натрия), подогретыми зимой до 50°С.
5. Очистить от коррозии внутреннюю поверхность пробки расширительного бачка, после очистки смазать консервационной смазкой СХК или ПВК. Закрыть жалюзи радиатора.
6. Снять генератор с двигателя и очистить наружные поверхности; снять защитные ленты; осмотреть состояние щеток и коллектора, обдуть их сжатым воздухом.
При подгорании (окислении) коллектора зачистить его стеклянной шкуркой № 00, после чего обдуть сжатым воздухом и протереть чистой ветошью, смоченной бензином Б-70.
Установить генератор на двигатель, предварительно при необходимости подкрасить наружные поверхности.
7. Приготовить рабоче-консервационное масло путем добавления к маслу МТ-14п или МТ-16п присадки АКОР-1, подогретой до 60—70° С, с последующим тщательным перемешиванием.
Заправить все агрегаты силовой передачи рабоче-консервационным маслом до нормы.
8. На транспортере-тягаче МТ-Л законсервировать лебедку: размотать трос на всю его длину, очистить от грязи и продуктов коррозии редуктор, механизм отключения, привод лебедки, барабан и трос; восстановить поврежденную окраску на поверхности деталей, смазать консервационной смазкой СХК и ПВК неокрашиваемые поверхности, смазать графитной смазкой УСА трос лебедки (оцинкованный трос не смазывать).
Пустить двигатель, включить промежуточный редуктор и реверс на наматывание, включить барабан лебедки и под нагрузкой намотать трос на барабан; установить рычаги управления лебедкой в выключенное положение.
9. Установить транспортер-тягач против лежней на расстоянии 1 м от них. Лежни должны быть на 1 м длиннее опорной поверхности гусениц.
31
Очистить гусеницы от грязи, разъединить их и проверить состояние траков и пальцев, негодные — заменить.
Подготовить к окраске и окрасить лаком № 177 свободные ветви гусениц и необрезиненные ободы опорных катков, не допуская при этом окраски их резиновых бандажей и попадание лака в проушины звеньев гусениц.
П р и м е ч а н и е . При отсутствии лака № 177 допускается применение смеси из 60% битума и 40% бензина.
10. Очистить от коррозии все детали ходовой части (направляющие и ведущие колеса, опорные катки, балансиры, кривошипы и др.).
Снять выборочно по одному опорному катку с каждой стороны и осмотреть ступицы, подшипники и уплотнения. При обнаружении следов коррозии на деталях осматриваемых катков снять все катки, проверить их состояние и при необходимости очистить детали катков от продуктов коррозии. Если дефекты обнаружены не будут, то можно ограничиться удалением старой смазки при снятых колпаках катков, промывкой дизельным топливом и заполнением ступиц опорных катков рабоче-консервационным маслом.
Удалить старую смазку из картеров бортовых передач, направляющих колес и залить рабоче-консервационное масло до уровня контрольных отверстий.
Частично или полностью окрасить детали ходовой части нитроэмалью, а на резиновые бандажи опорных катков нанести защитное покрытие СПО-46 (ПС-40 или алюминиевую краску).
11. Соединить гусеницы, пустить и прогреть двигатель на режиме 1300—1500 об/мин.
Удалить воду из бачка устройства для смыва грязи с ветровых стекол кабины путем полной ее выработки. Остаток воды с осадком слить через сливную пробку, продуть бачок и трубопроводы сжатым воздухом пневмосистемы транспортера-тягача.
Установить транспортер-тягач на лежни, поставить рычаг переключения передач в нейтральное положение и остановить двигатель, перекрыв подачу топлива. Выключить выключатель массы.
Отрегулировать натяжение гусениц, подготовить и окрасить неокрашенные ее участки.
П р и м е ч а н и е . Если консервация проводится без передвижения (транспортер-тягач установлен на лежни до консервации), то для создания масляной защитной пленки на рабочих поверхностях деталей, не соединяя гусениц, пустить двигатель, поработать в течение 3—5 мин на режиме 1300—1500 об/мин, затем прокрутить агрегаты силовой передачи и выполнить оставшиеся операции, предусмотренные в п. 11.
32
12. Слить топливо из топливных баков, при загрязнении топливные баки тщательно промыть; извлечь и промыть фильтры грубой и тонкой очистки, а также заливных горловин топливных баков, промыть сапунныеотверстия в пробках и продуть сжатым воздухом, установить фильтры на место.
Осмотреть топливопроводы и проверить качество крепежных деталей, продуть топливопроводы сжатым воздухом; при необходимости частично или полностью окрасить все приборы топливной системы; топливные баки заправить зимним дизельным топливом (в северных районах—.арктическим дизельным топливом), заполнить топливную систему топливом с помощью топливоподкачивающего насоса, удалив из нее полностью воздух.
13. Слить охлаждающую жидкость с раствором трехкомпонентной присадки из системы охлаждения двигателя. Слитую низкозамерзающую жидкость (антифриз) хранить в соответствии с действующим положением о хранении ядовитых технических жидкостей.
Сливные краники вывернуть, очистить от осадков и коррозии, внутренние и наружные поверхности смазать консервационной смазкой СХК или ПВК и поставить на место. Закрыть жалюзи радиатора.
14. Произвести консервацию зеркальных поверхностей цилиндров двигателя, для чего: снять форсунки, провернуть стартером коленчатый вал двигателя (два-три включения стартера по. 5—6 сек, с интервалом между включениями 10—15 сек), установить поршень 1-го цилиндра в положение НМТ и последовательно, начиная с 1-го цилиндра, залить через отверстие стакана форсунки по 90—100 см3 разогретого до 70—80°С рабоче-консервационного масла во все цилиндры.
Одновременно масло можно заливать в 1-й и 6-й; 3-й и 5-й; 4-й и 7-й; 2-й и 8-й цилиндры. Провернуть стартером коленчатый вал двигателя (два-три включения по 5—6 сек, с интервалом 10—15 сек) и установить на место форсунки.
15. Выполнить консервацию топливного насоса высокого давления и регулятора числа оборотов путем заливки нагретого до 70—80° С рабоче-консервационного масла через отверстие для указателя уровня масла (заливное отверстие) картера топливного насоса и заливное отверстие картера регулятора оборотов при выключенном рычаге ручной подачи топлива.
После заполнения маслом картеров полностью, переместить несколько раз педаль управления или рычаг ручной подачи топлива. Затем слить масло из картеров до уровня меток на контрольных щупах: в картере регулятора — через сливное отверстие для масла; в топливном насосе — путем отсоса через отверстие под маслоизмерительный щуп.
16. Выполнить работы по консервации зеркальных поверхностей цилиндров компрессора: вывернуть пробки клапанов, вынуть пружины и
33
клапаны, залить по 20 см3 рабоче-консервационного масла через отверстия клапанов, прокрутить шкив компрессора вручную и поставить на место, клапаны, пружины и пробки клапанов.
17. Загерметизировать тканью ТТ и замазкой ЗЗК-ЗУ крышку воздухоотвода, трубку забора воздуха воздухофильтра, отверстие под маслоизмерительный щуп, шахту выпуска, жалюзи радиатора, маслозаливную горловину двигателя и заливную горловину масляного бака главной передачи. .
18. Заполнить с помощью топливоподкачивающего насоса топливоподводящие магистрали топливом, удалив из них полностью воздух.
19. Проверить подогреватель системы охлаждения двигателя, вывернуть форсунку и свечу накаливания и смазать сопло форсунки и спираль свечи консервационной смазкой СХК или ПВК.
Очистить при необходимости котел подогревателя от сажи и продуктов коррозии. Окрасить снаружи частично или полностью.
20. Осмотреть электропровода, при необходимости удалить с их изоляции и оплетки нефтепродукты (промыть бензином Б-70 и протереть насухо).
Очистить наружные поверхности генератора и стартера, при необходимости подкрасить их.
Проверить затяжку всех зажимов электропроводки и покрыть их поверхности тонким слоем лака № 177.
21. Проверить состояние осветительных и светосигнальных приборов, сняв наружные ободки и рассеиватели; очистить поверхности от пыли, грязи и продуктов коррозии; промыть рассеиватели с обеих сторон и протереть насухо.
При обнаружении на отражательной поверхности оптических элементов фар коррозии, пыли или влаги разобрать их и протереть чистой замшей или фланелью.
Заменить неисправные рассеиватели и уплотнительные прокладки во всех приборах исправными. При необходимости подкрасить внутренние и наружные поверхности корпусов приборов и наружных ободков. Крышки СМУ фар опустить.
П р и м е ч а н и е . Оптические элементы фар без надобности не разбирать. При заметных повреждениях зеркальной поверхности оптические элементы заменить новыми. При сборке осветительных приборов винты крепления наружных ободков затягивать равномерно со всех сторон.
22. Снять аккумуляторные батареи, очистить их от грязи, протереть, проверить и при необходимости отправить в аккумуляторную для обслуживания и подзарядки.
34
Неисправные наконечники и клеммы стартерных проводов заменить исправными, после чего смазать их консервационной смазкой СХК. Поставить аккумуляторные батареи на место.
23. Снять ремни привода вентилятора, генератора и компрессора; очистить рабочие поверхности приводных шкивов от продуктов коррозии и окрасить. Надеть ремни и установить нормальное натяжение приводных ремней.
24. Прочистить и загерметизировать сапуны картеров агрегатов силовой передачи, топливного насоса высокого давления, регулятора числа оборотов и редуктора привода вентилятора.
25. Восстановить поврежденную окраску на наружных поверхностях агрегатов и узлов транспортера-тягача, при необходимости полностью его окрасить.
26. Смазать консервационной смазкой СХК или ПВК шарнирные соединения механизма запирания амбразур, механизма запирания заливных горловин, крышки люка отсека силовой передачи, задних дверей кузова, петли и замки дверей кабины (МТ-Л), неокрашенные поверхности тягово-сцепного прибора и шаровые опоры амбразур.
27. Свернуть и уложить на сиденья коврики пола кабины, предварительно вымыв и высушив их.
Пол тщательно очистить от продуктов ‘коррозии и при необходимости подкрасить.
Рычаги и педали управления очистить, окрасить и поставить в нейтральное положение.
28. Проверить по комплектовочной ведомости, очистить и смазать рабочие поверхности инструмента консервационной смазкой СХК или ПВК и при необходимости окрасить инструмент механика-водителя, возимый комплект запасных частей, шанцевый инструмент и уложить их на место.
Проверить вес заряда углекислоты в огнетушителе и при необходимости зарядить его.
29. При необходимости очистить тент (МТ-Л) и брезент от пыли и грязи, выполнить работы по обработке (перепропитке) их химическим составом ПХС-55.
Укрыть транспортер-тягач брезентом. Для предохранения брезента от потертостей и разрывов на острые углы транспортера-тягача установить деревянные или войлочные подкладки.
Брезент должен быть закреплен так, чтобы он не соприкасался с землей, не раздувался ветром; на поверхности брезента нежелательно скопление снега и влаги. Можно транспортер-тягач укрыть чехлом — полотнищем, а тент и брезент сдать на склад.
30. На транспортере-тягаче МТ-ЛБ закрыть смотровые окна, амбразуры и заливные горловины внутренними запорами, а люки отсека
35
силовой передачи, водителя, задние корпуса, крышки корпуса и двигателя закрыть внешними запорами и опломбировать.
На транспортере-тягаче МТ-Л закрыть люки кабины и правую дверь кабины внутренними запорами, закрыть задний клапан тента и закрепить застежками.
Закрыть задние двери кузова, левую дверь кабины внешними запорами и опломбировать.
Опломбировать также верхний клапан тента и заливные горловины.
ОБСЛУЖИВАНИЕ ТРАНСПОРТЕРА-ТЯГАЧА,НАХОДЯЩЕГОСЯ В КОНСЕРВАЦИИ, ПРОВОДИМОЕ
ОДИН РАЗ В МЕСЯЦ
Содержание работ и технические условия
1. Проверить целостность всех пломб.2. Убрать место стоянки транспортера-тягача и очистить защитный
(укрывочный) брезент от пыли и осадков.3. Проверить положение транспортера-тягача на лежнях и устранить
обнаруженные недостатки.4. Проверить состояние и надежность крепления брезента и тента
(МТ-Л), при необходимости их отремонтировать.
П р и м е ч а н и е . В зависимости от погоды (обильные дожди, снегопады, ветры с пылью) и условий хранения транспортера-тягача может быть назначена внеочередная уборка с определением необходимого объема работ.
ОБСЛУЖИВАНИЕ ТРАНСПОРТЕРА-ТЯГАЧА,НАХОДЯЩЕГОСЯ В КОНСЕРВАЦИИ, ПРОВОДИМОЕ
ОДИН РАЗ В ШЕСТЬ МЕСЯЦЕВ
Содержание работ и технические условия
1. Выполнить на транспортере-тягаче работы, проводимые один раз в месяц.
2. Снять защитный брезент.3. Распломбировать и открыть (в сухую без осадков погоду) люки,
двери кабины (МТ-Л) и кузова для проветривания; просушить брезент, тент (МТ-Л) и коврики.
4. Проверить состояние наружных поверхностей агрегатов и механизмов; места, подвергшиеся коррозии, очистить, окрасить и смазать консервационной смазкой СХК или ПВК.
5. Проверить, не подтекает ли топливо, масло, охлаждающая и амортизаторная жидкости; обнаруженные неисправности устранить.
36
6. Проверить и при необходимости восстановить герметизирующие оклейки на узлах и агрегатах.
7. Заменить в агрегатах и механизмах транспортеров-тягачей, находящихся на кратковременной консервации, масло и топливо сортами, соответствующими предстоящему периоду эксплуатации.
8. Проверить вес заряда в углекислотном огнетушителе и при необходимости зарядить.
9. Закрыть и опломбировать вскрытые при обслуживании люки, двери кабины (МТ-Л) и кузова.
10. Укрыть транспортер-тягач защитным брезентом.
ОБСЛУЖИВАНИЕ ТРАНСПОРТЕРА-ТЯГАЧА,НАХОДЯЩЕГОСЯ В КОНСЕРВАЦИИ, ПРОВОДИМОЕ
ОДИН РАЗ В ГОД
Содержание работ и технические условия
1. Выполнить на транспортере-тягаче работы, проводимые один раз в шесть месяцев.
2. Слить отстой дизельного топлива в количестве 5—6 л из каждой группы топливных баков.
Кроме этого, в процессе хранения при очередных годовых обслуживаниях на всех транспортерах-тягачах длительной консервации один раз в пять лет выполнить следующие работы:
1. Заменить масло в картерах двигателя, топливного насоса высокого давления, регулятора числа оборотов и редуктора привода вентилятора.
2. Заменить масло в агрегатах силовой передачи.3. Заменить дизельное топливо в топливных баках.4. Заменить амортизаторную жидкость в амортизаторах.5. Заменить масло в опорных катках и направляющих колесах.6. Проверить состояние и при необходимости заменить дюритовые
шланги, электропроводку и резино-технические изделия.
СНЯТИЕ ТРАНСПОРТЕРА-ТЯГАЧА С КОНСЕРВАЦИИ
Содержание работ и технические условия
Р а б о т ы п е р в о й о ч е р е д и , выполняемые при ускоренном снятии с консервации.
1. Снять защитный брезент.2. Распломбировать люки, двери кабины (МТ-Л) и кузова.3. Установить аккумуляторные батареи (если они были сняты) в
гнезда, протереть клеммы и зажимы проводов ветошью, смоченной бензином Б-70, закрепить батареи, присоединить к ним провода, смазать клеммы пресс-солидолом и проверить наличие тока в электрических цепях.
37
4. Подготовить двигатель к пуску. Проверить уровень масла в картере и наличие топлива в баках. На машинах длительной консервации, а в зимнее время и на машинах кратковременной консервации — заправить систему охлаждения водой или низкозамерзающей жидкостью (зимой — низкозамерзающей жидкостью или горячей водой, с использованием подогревателя двигателя).
5. Разгерметизировать воздухоочиститель двигателя, выпускную шахту и жалюзи радиатора.
6. Провернуть коленчатый вал двигателя на 10—15 оборотов.7. Пустить двигатель, прогреть его и проверить работу на всех
режимах.8. Проверить работу контрольно-измерительных приборов.9. Вывести транспортер-тягач с лежней.
Р а б о т ы в т о р о й о ч е р е д и , выполняемые после снятия с консервации в районах сосредоточения, на привалах или остановках.
1. Свернуть, уложить на место и закрепить защитный брезент.2. Разгерметизировать сапуны картеров агрегатов силовой передачи,
топливного насоса высокого давления, регулятора числа оборотов и редуктора привода вентилятора.
3. Уложить коврики на пол кабины (МТ-Л) и кузова (МТ-ЛБ) транспортера-тягача.
4. Очистить инструмент от слоя консервационной смазки и уложить его на место.
38
ТЕХНОЛОГИЧЕСКИЕ КАРТЫ
Т Е Х Н О Л О Г И Ч Е С К А Я К А Р Т А № 1ПРОМЫВКА ТОПЛИВНОГО ФИЛЬТРА ГРУБОЙ
(предварительной) ОЧИСТКИИ с п о л н и т е л ь : — .механик водитель И н с т р у м е н т и п р и с п о с о б л е н и я : ключи гаечные 12, 17, 19, 22 и
24 мм; плоскогубцы, отвертка, кружка для слива топлива, ванна, кисть волосяная.
Н о р м а в р е м е н и : 17 мин.Содержание работ и технические условия
1. Поставить топливораспределительный кран в положение выключения топливных баков.
2. Открыть надмоторный люк и зафиксировать его крышку в открытом положении стопором (на транспортере МТ-Л снять переднюю и заднюю верхние панели ограждения двигателя).
3. Открыть пробки 9 (рис. 3) заливного и 1 сливного отверстий и слить топливо из корпуса 3 фильтра. Завернуть пробку 1 сливного отверстия.
4. Отвернуть четыре болта 8 крепления корпуса 3 к крышке 6, снять корпус и вынуть из него фильтрующий элемент 4.
5. Промыть дизельным топливом внутренние поверхности .корпуса 3, крышки 6 и фильтрующий элемент 4.
6. Вставить в корпус 3 фильтрующий элемент 4, присоединить корпус к крышке 6 и закрепить болтами 8.
Рис. 3. Фильтр грубой очистки топлива:1 и 9 — пробки; 2 и 7 — шайбы; 3 — корпус фильтра;4 — фильтрующий элемент; 5 — прокладка крышки;
6 — крышка; 8 — болт; 10 — прокладка
39
7. Залить в фильтр чистое топливо и завернуть пробку 9 заливного отверстия. Топливораспределительный кран поставить в положение включения топливных баков.
8. Пустить двигатель и проверить его работу. При перебоях в работе, подсасывании воздуха подтянуть болты крепления фильтра, прокачать систему насосом РНМ-1А.
9. Закрыть надмоторный люк, освободив крышку от стопора (на транспортере-тягаче МТ-Л установить переднюю и заднюю верхние панели ограждения двигателя на место).
Т Е Х Н О Л О Г И Ч Е С К А Я К А Р Т А № 2
ПРОМЫВКА ТОПЛИВНОГО ФИЛЬТРА ТОНКОЙОЧИСТКИ
И с п о л н и т е л ь : механик-водитель.И н с т р у м е н т и п р и с п о с о б л е н и я : ключи гаечные 17, 19 и 24 мм;
отвертки, кружка для слива топлива, ванна для промывки деталей, кисть волосяная, воронка малая.
Н о р м а в р е м е н и : 15 мин.
Содержание работ и технические условия
1. Открыть надмоторный люк и зафиксировать его крышку в открытом положении стопором, открыть заднюю панель ограждения двигателя (на транспортере-тягаче МТ-Л снять верхнюю заднюю и заднюю панели ограждения двигателя).
2. Отвернуть сливную 18 (рис. 4) и коническую 3 пробки и слить топливо из корпуса 16 фильтра, после чего пробку 18 завернуть.
3. Отвернуть болт 6 крепления корпуса 16 фильтра к крышке 2, снять корпус, вынуть из него старый фильтрующий элемент 12 и пружину 15.
4. Промыть бензином или дизельным топливом внутренние поверхности корпуса фильтра, крышки и фильтрующий элемент. Если фильтрующий элемент стал мягким, заменить его новым.
5. Поставить в корпус 16 пружину 15, шайбу 14, резиновую прокладку 13 и фильтрующий элемент 12 (металлическим фланцем вниз), на верхний фланец элемента установить резиновую прокладку 1.
6. Поставить шайбу 7 болта 6 крепления и прокладку корпуса, установить корпус с фильтрующим элементом на место и тщательно затянуть болт 6.
7. Залить в фильтр чистое топливо и завернуть коническую пробку 3 заливного отверстия.
8. Пустить двигатель и проверить, не подтекает ли топливо в соединениях фильтра.. При необходимости подтянуть болт 6 крепления корпуса.
40
9. Закрыть надмоторный люк, освободив крышку от стопора, и панели ограждения двигателя.
Рис. 4. Фильтр тонкой очистки топлива:1, 4, 11, 13 и 17 — прокладки; 2 — крышка фильтра; 3 и 8 —•
пробки; 5 —жиклер; 6 и 10 — болты; 7, 9 и 14 — шайбы;8 — гайка; 12 — фильтрующий элемент; 15 — пружина;
16 — корпус фильтра
Т Е Х Н О Л О Г И Ч Е С К А Я К А Р Т А № 3
ПРОМЫВКА ТОПЛИВНЫХ БАКОВ
а ) П р о м ы в к а т о п л и в н ы х б а к о в б е з с н я т и яс т р а н с п о р т е р а — т я г а ч а
Содержание работ и технические условия
И с п о л н и т е л ь : механик-водитель.И н с т р у м е н т и п р и с п о с о б л е н и я : ключи гаечные 12 и 32 мм,
ключ 12X12 мм к пробкам картера бортовых передач и к сливным пробкам
41
топливных баков; малогабаритный заправочный агрегат МЗА-3, шланг для слива топлива из топливных баков.
Н о р м а в р е м е н и : 90 мин.
Рис. 5. Днище рамы с люками (с наружной стороны):1 — люк для слива масла из главной передачи; 2 — люк для слива масла из картера
промежуточного редуктора; 3—люк для слива масла из масляного бака главной передачи; 4 — люк для слива масла из картера двигателя; 5, 6, 7 и 9 — люки для слива топлива из
топливныхбаков; 8 и 12 —кингстоны; 10 — люк для слива масла из картера лебедки;
11 — люк для слива масла из реверс-редуктора
Рис. 6. Установка ключа и шланга для слива топлива из топливных баков:1 — прокладка; 2 — болт; 3 — крышка лючка; 4— сливная пробка; 5 — ключ;
6 — штуцер шланга; 7—корпус сливной пробки
42
Рис. 7. Малогабаритный заправочный агрегат МЗА-3:
1 — насос с электродвигателем; 2 — электрокабель; 3 — раздаточный шланг; 4 — раздаточный кран;5 — удлинитель;
6— емкость с топливом или маслом
1. Отвернуть пробки заливных горловин топливных баков, предварительно протерев их от грязи, и вынуть сетчатые фильтры из заливных горловин.
2. Отвернуть болты крепления крышек люков к. днищу корпуса и снять крышки люков под каждой группой топливных баков (рис. 5).
3. Ввернуть штуцер 6 (рис. 6) со шлангом в корпус 7 сливной пробки 4, отвернуть ее на два-три оборота и слить топливо в подставленную тару.
4. Промыть каждую группу баков с помощью малогабаритного заправочного агрегата МЗА-3 (рис. 7). Для этого вставить раздаточный кран 4 в заливную горловину промываемой группы баков, и в течение 0,5 мин нагнетать топливо в группу баков при максимальной производительности насоса (60 л/мин).
5. Затянуть сливные пробки топливных баков после полного слива топлива из них. Установить крышки люков под топливными баками и прикрепить их болтами к днищу корпуса транспортера-тягача.
6. Заправить топливные баки соответствующим сортом топлива.
7. Установить сетчатые фильтры в заливные горловины и ввернуть пробки в заливные горловины.
б ) С н я т и е т о п л и в н ы х б а к о вс т р а н с п о р т е р а — т я г а ч а М Т — Л Б ,
п р о м ы в к а и у с т а н о в к а и х
И с п о л н и т е л и : механик-водитель и слесарь.И н с т р у м е н т и п р и с п о с о б л е н и я : ключи гаечные 10, 12, 14, 17,
19, 27 и 32 мм, ключ 12X12 мм к пробкам картера бортовых передач и сливным пробкам топливных баков; отвертка, плоскогубцы, шланг для слива топлива из топливных баков.
Н о р м а в р е м е н и : для механика-водителя 240 мин, для слесаря 60 мин.
43
1. Отвернуть болты крепления крышек люков к днищу корпуса.2. Снять крышки люков под каждой группой топливных баков
(рис. 5).3. Ввернуть штуцер 6 (рис. б) со шлангом в корпус 7 сливной
пробки 4, отвернуть ее на два-три оборота и слить топливо в подставленную тару.
4. Снять сиденья и спинки сидений с нижних топливных баков.5. Отвернуть пробку и винты крепления заливной горловины.6. Отсоединить стяжные ленты, крепящие верхний топливный бак.7. Отсоединить трубки подвода топлива и соединительные трубки
между баками.8. Снять верхний бак, сохранив прокладки постелей и хомутов бака.9. Отсоединить трубки подвода и отвода топлива от нижнего
топливного бака.10. Отсоединить три верхних и два нижних прижима нижнего бака
(расшплинтовать и отвернуть болты крепления прижимов топливного бака).11. Снять нижний топливный бак.12. Залить в каждый топливный бак по 15—20 л топлива и промыть
топливные баки путем взбалтывания.13. Установить топливные баки в обратной последовательности.
в ) С н я т и е т о п л и в н ы х б а к о вс т р а н с п о р т е р а — т я г а ч а М Т — Л ,
п р о м ы в к а и у с т а н о в к а и х
И с п о л н и т е л и : механик-водитель и слесарь.И н с т р у м е н т и п р и с п о с о б л е н и я : ключи гаечные 12, 14, 17, 19,
27 и 32 мм, ключ 12X12 мм к пробкам картера бортовых передач и к сливным пробкам топливных баков; отвертка, плоскогубцы, шланг для слива топлива из топливных баков.
Н о р м а в р е м е н и : для механика-водителя 240 мин, для слесаря 60 мин.
1. Отвернуть болты крепления крышек люков к днищу корпуса и снять крышки люков под каждой группой топливных баков (рис. 5).
2. Ввернуть штуцер 6 (рис. 6) со шлангом в корпус 7 сливной пробки 4, отвернуть ее на два-три оборота и слить топливо в подставленную тару.
3. Ослабить болты прижимов крепления поликов грузовой платформы, сдвинуть их до выхода из зацепления и снять полики.
4. Отсоединить подводящие и отводящие топливопроводы от топливных баков, а также провода датчиков топливомеров.
5. Отвернуть гайки шпилек хомута.
44
6. Расшплинтовать, снять пальцы и стяжные ленты крепления топливных баков.
7. Снять топливные баки, сохранив прокладки.8. Залить в каждый бак по 15—20 л топлива и промыть баки
взбалтыванием.9. Установить топливные баки в обратной последовательности.
Т Е Х Н О Л О Г И Ч Е С К А Я К А Р Т А № 4
ПРОМЫВКА ФИЛЬТРА ГРУБОЙ ОЧИСТКИ МАСЛА
И с п о л н и т е л ь : механик-водитель.И н с т р у м е н т и п р и с п о с о б л е н и я : ключи гаечные 19, 24 и 27 мм;
отвертка.Н о р м а в р е м е н и : 215 мин
Содержание работ и технические условия
1. Снять боковую панель ограждения двигателя.
Рис. 8. Фильтр грубой очистки масла:а – вывертывание сливной пробки фильтра грубой очистки масла;
б – отвертывание гайки 5 колпака фильтра; 1- стержень фильтра; 2 и
45
3 – внутренняя и наружная секции фильтра; 4 – колпак фильтра;5 – гайка крепления колпака
2. Вывернуть сливную пробку и слить масло из фильтра в подставленную тару, после чего пробку завернуть.
3. Отвернуть гайку 5 (рис. 
4. Поместить на 3 часа (не менее) секции в ванну с растворителем (бензином или четыреххлористым углеродом).
Внимание! Четыреххлористый углерод ядовит, поэтому при обращении с ним необходимо соблюдать осторожность.
5. Промыть элементы мягкой волосяной щеткой в ванне с растворителем.
6. Поместить элементы в ванну с чистым бензином или четыреххлористым углеродом, прополоскать каждый элемент и затем продуть сжатым воздухом.
Фильтрующие элементы можно также прокипятить в 10% водном растворе каустической соды, затем промыть в дизельном топливе и продуть сжатым воздухом. Время кипячения — от 30 мин до 6 часов зависимости от степени их загрязнения.
7. Промыть в дизельном топливе колпак 4 фильтра.8. Собрать фильтр, для чего надеть на стержень 1 секции 2 и 3
фильтрующих элементов, затем колпак 4 и тщательно затянуть гайку 5.9. Поставить на место боковую панель ограждения двигателя.
Т Е Х Н О Л О Г И Ч Е С К А Я К А Р Т А № 5
ПРОМЫВКА ФИЛЬТРА ЦЕНТРОБЕЖНОЙ (ТОНКОЙ)ОЧИСТКИ МАСЛА
И с п о л н и т е л ь : механик-водитель.И н с т р у м е н т и п р и с п о с о б л е н и я :
ключи гаечные 17, 19 и 24 мм; отвертка.Н о р м а в р е м е н и : 25 мин.
Содержание работ и технические условия
1. Открыть надмоторный люк и зафиксировать его крышку в открытом положении стопором (на транспортере-тягаче МТ-Л снять верхнюю заднюю панель ограждения двигателя).
2. Отвернуть гайку 13 (рис. 9) колпака фильтра и снять колпак 11.
46
Рис. 9. Фильтр центробежной (тонкой) очистки масла:
1 – корпус фильтра; 2 – прокладка; 3 – чека; 4 – сопло ротора; 5 – ротор; 6 – сетка ротора; 7 – колпак ротора; 8 и 12 – шайбы; 9 и 13 – гайки; 10 – упорная
шайба; 11 – колпак фильтра
3. Снять упорную шайбу 10 и ротор в сборе и разобрать его, сняв гайку 9, шайбу 8, колпак 7 ротора.
4. Удалить с колпака 7 и ротора 5 осадок, промыв их в дизельном топливе.
5. Собрать фильтр в обратной последовательности, проверив состояние прокладки 2, сопел 4, ротора 5, упорной шайбы 10 и положение сетки 6.При необходимости прокладку 2 заменить, сетку 6 поставить в нормальное положение, а сопла 4 ротора прочистить.
6. Закрыть надмоторный люк, освободив крышку от стопора (на транспортере-тягаче МТ-Л поставить на место верхнюю заднюю панель ограждения двигателя).
Т Е Х Н О Л О Г И Ч Е С К А Я К А Р Т А № 6
ЗАМЕНА МАСЛА И ПРОМЫВКА СИСТЕМЫ СМАЗКИДВИГАТЕЛЯ
И с п о л н и т е л ь : механик-водитель.И н с т р у м е н т и п р и с п о с о б л е н и я : ключи гаечные 12, 19, 24 и 36
мм; отвертка.Н о р м а в р е м е н и : 20 мин.
Содержание работ и технические условия
1. Пустить двигатель и прогреть его до температуры охлаждающей ЖИДКОСТИ 70° С.
2. Снять боковую панель ограждения, двигателя, открыть надмоторный люк и зафиксировать его крышку в открытом положении стопором (на транспортере-тягаче МТ-Л снять верхнюю заднюю и боковую панели ограждения двигателя).
3. Отвернуть болты крепления и снять крышку подмоторного люка.4. Снять крышку головки заливной горловины, отвернуть сливную
пробку в поддоне двигателя, слить из поддона отработанное масло и завернуть сливную пробку.
5. Выполнить операции, предусмотренные Технологическими картами №.№ 4 и 5.
6. Залить в систему смазки двигателя смесь из 10 л дизельного топлива и 6 л дизельного масла, запустить двигатель и поработать 4—5 мин на минимальных оборотах холостого хода, после чего слить промывочную смесь.
Повторно промыть фильтры (см. Технологические карты №№ 4 и 5).7. Залить в систему свежее масло до отметки В на масломерном
щупе, закрыть крышкой головку заливной горловины.
47
8. Поставить крышку подмоторного люка на место и закрепить ее болтами.
9. Закрыть надмоторный люк, освободив крышку от стопора, поставить на место боковую панель ограждения двигателя (на транспортере-тягаче МТ-Л поставить на место боковую и верхнюю заднюю панели ограждения двигателя).
Т Е Х Н О Л О Г И Ч Е С К А Я К А Р Т А № 7
ОЧИСТКА И ПРОМЫВКА ВОЗДУХООЧИСТИТЕЛЯ
И с п о л н и т е л ь : механик-водитель.И н с т р у м е н т и п р и с п о с о б л е н и я : ключи гаечные 10, 17, 19 и 24
мм; отвертка, противень, скребок, шетка.Н о р м а в р е м е н и : 30 мин (с промывкой циклонов и бункера
воздухоочистителя 50 мин).
Содержание работ и технические условия
1. Открыть надмоторный люк и зафиксировать его крышку в открытом положении стопором (на транспортере-тягаче МТ-Л снять с верхней передней панели 6 (рис. 10) два ящика с приборами ПНВ-57, запасный бидон на 20 л, отвернуть на панели два барашка крепления трубы забора воздуха и, сдвинув трубку забора воздуха вверх, снять верхнюю переднюю панель ограждения двигателя).
2. Отвернуть барашки 27 крепления крышки 28 корпуса 15 воздухоочистителя, снять крышку и вынуть фильтрующий элемент (кассеты 14) и войлочные прокладки.
3. Тщательно промыть в чистом дизельном топливе все кассеты 14 и дать стечь топливу до прекращения каплепадения.
4. После прекращения стекания топлива из кассет пропитать две верхние кассеты маслом МТ-16п и дать маслу стечь до прекращения каплепадения.
Для ускорения стекания масла рекомендуется пропитывать кассеты маслом, нагретым до 60—90° С и устанавливать под углом 45—60°.
Категорически запрещается встряхивание кассет с целью ускорения стекания масла.
В случае необходимости промывки циклонов 22 и бункера 23 воздухоочистителя следует:
1. Снять переднюю панель ограждения двигателя.2. Отвернуть гайки шпилек крепления корпуса 15
воздухоочистителя к картеру маховика.3. Ослабить хомутики крепления шлангов к патрубкам корпуса 15 и
бункера 23 воздухоочистителя, снять корпус 15, вынуть войлочную прокладку, а соединительный патрубок 16 впускных коллекторов закрыть деревянной заглушкой.
48
4. Тщательно промыть бункер 23 и циклоны 22 воздухоочистителя чистым дизельным топливом или бензином и просушить.
5. Установить корпус 15 воздухоочистителя на место и собрать фильтр. Перед установкой войлочных прокладок в корпус и между кассетами 14 смазать их смазкой 1 — 13 (ГОСТ 1631—61).
6.З
а кры ть
надмоторный люк, освободив крышку от стопора (на транспортере-тягаче МТ-Л установить на хместо верхнюю переднюю панель 6 ограждения двигателя, закрепить трубу забора воздуха, установить на место запасный бидон, два ящика с приборами ПВН-57 и закрепить их шнурами).
Т Е Х Н О Л О Г И Ч Е С К А Я К А Р Т А № 849
Рис. 10. Воздухоочиститель1 — защитный колпак; 2 и 21 — воздухозаборные патрубки; 3 и 26 — уплотнения;
4 и 27 — барашки; 5 —прижим; 6 — верхняя передняя панель ограждения двигателя; 7 — уплотнитель; 8 — пружина; 9 — палец; 10 — фланец; 11 —
шплинт; 12 — винт упора; 13 — патрубок отвода чистого воздуха; 14 — кассета фильтрующего элемента; 15 — корпус воздухоочистителя; 16 — патрубок; 17 — пружина оттяжная; 18 — тяга; 19 — рычаг; 20 — трубка циклона; 22 — циклон;
23 — бункер; 24 — патрубок отсоса пыли; 25 — крышка платформы; 28 — крышка воздухоочистителя; 29— заслонка; 30 — ось; 31 — крышка; 32 — трос;
33 — фиксатор
Рис. 11. Регулировка натяжения ремней привода генератора:’1 — гайка крепления оси натяжного ролика; 2 — стопорная шайба;
3 — контргайка; 4 — регулировочный болт
ПРОВЕРКА И РЕГУЛИРОВКА НАТЯЖЕНИЯ РЕМНЕЙПРИВОДА ГЕНЕРАТОРА
И с п о л н и т е л ь : механик-водитель (механик).И н с т р у м е н т и п р и с п о с о б л е н и я : ключи гаечные 17, 19 и 32 мм;
линейка металлическая.Н о р м а в р е м е н и : 10 мин.
Содержание работ и технические условия
1. Снять заднюю панель ограждения двигателя.2. Проверить натяжение ремней привода генератора. При
нормальном натяжении ремней прогиб их при нажатии с усилием 3 кгс в середине короткой ветви должен быть 10—12 мм.
3. Для
регулировки натяжения ремней отпустить гайку 1 (рис. 11) крепления оси натяжного ролика, предварительно выпрямив загнутые края стопорной шайбы 2, и отпустить контргайку 3 регулировочного болта 4.
4. Отрегулировать натяжение ремня привода генератора, вращая регулировочный болт 4, пока прогиб не будет составлять требуемой величины.
5. Затянуть гайку 1 крепления оси натяжного ролика, загнуть края стопорной шайбы 2 и затянуть контргайку 3 регулировочного болта 4.
50
6. Поставить на место и закрепить заднюю панель ограждения двигателя.
Т Е Х Н О Л О Г И Ч Е С К А Я К А Р Т А № 9
ПРОВЕРКА И РЕГУЛИРОВКА НАТЯЖЕНИЯРЕМНЯ ПРИВОДА ВОДЯНОГО НАСОСА
И с п о л н и т е л ь : механик-водитель (механик).И н с т р у м е н т и п р и с п о с о б л е н и я : ключи гаечные 11 и 27 мм;
линейка металлическая.Н о р м а в р е м е н и : 15 мин.
Содержание работ и технические условия
1. Снять заднюю панель ограждения двигателя.2. Проверить натяжение ремня привода водяного насоса. При
нормальном натяжении ремня прогиб в середине ветви при усилии 3 кгс должен быть 10 — 15 мм.
Рис. 12. Регулировка натяжения ремня водяного насоса:1 — боковина; 2 — шкив; 3 — регулировочные прокладки
3. Для натяжения ремня отвернуть гайки крепления боковины 1 (рис. 12) шкива 2 и снять одну-две регулировочные прокладки 3.
4. Поставить их на наружную сторону боковины и завернуть гайки, проворачивая шкив после затяжки каждой гайки.
Проверить, нормально ли натянут ремень.51
Рис. 13. Регулировка натяжения ремня компрессора:а —проверка натяжения ремня компрессора; б — отвертывание гайки
крепления оси шкива; в — отвертывание гайки натяжного болта;г — регулировка натяжного ремня компрессора
П р и м е ч а н и е . Регулировочные прокладки со шкива не снимать, так как при замене старого ремня новым все прокладки .нужно поставить между ступицей и съемной боковиной шкива.
5. Поставить и закрепить заднюю панель ограждения двигателя.
Т Е Х Н О Л О Г И Ч Е С К А Я К А Р Т А № 1 0
ПРОВЕРКА И РЕГУЛИРОВКА НАТЯЖЕНИЯРЕМНЯ ПРИВОДА КОМПРЕССОРА
И с п о л н и т е л ь : механик-водитель (механик).И н с т р у м е н т и п р и с п о с о б л е н и я : ключи гаечные 17х19, и
27х32 мм; линейка металлическая.Н о р м а в р е м е н и : 15 мин.
Содержание работ и технические условия
1. Поднять крышку люка моторного отделения и зафиксировать ее в открытом положении стопором, снять заднюю панель ограждения двигателя
(на транспортере-тягаче МТ-Л снять верхнюю и заднюю панель ограждения двигателя).
52
Рис. 14. Натяжной механизм привода вентилятора:1 – натяжной ролик; 2 – ремень;
3 – контргайка; 4 – гайка; 5 – стержень;6 – пружина; 7 – кронштейн; 8 — рычаг
2. Проверить натяжение ремня привода компрессора. Нормальный прогиб ремня на середине короткой ветви при нажатии с усилием 3 кгс должен быть-5—8 мм (рис. 13).
3. Для регулировки натяжения ремня ослабить гайку крепления оси шкива натяжного устройства и гайку болта-натяжителя.
4. Вращая болт-натяжитель по ходу часовой стрелки, отрегулировать натяжение ремня.
5. Затянуть гайки крепления оси шкива и болта-натяжителя.6. Поставить заднюю панель ограждения двигателя, закрыть
крышку люка, освободив крышку от стопора (на транспортере-тягаче МТ-Л поставить заднюю и верхнюю панели ограждения двигателя.
Т Е Х Н О Л О Г И Ч Е С К А Я К А Р Т А № 1 1
ПРОВЕРКА И РЕГУЛИРОВКА НАТЯЖЕНИЯРЕМНЕЙ ПРИВОДА ВЕНТИЛЯТОРА
И с п о л н и т е л ь : механик-водитель (механик).И н с т р у м е н т и п р и с п о с о б л е н и я : ключи гаечные 17х19 мм;
отвертка большая, линейка.Н о р м а в р е м е н и : 10 мин.
Содержание работ и технические условия
1. Снять заднюю панель ограждения двигателя. 2. Проверить натяжение ремней привода вентилятора.При нормальном
натяжении прогиб ремня в средней части верхней ветви при нажатии большого пальца руки с усилием 4 кгс должен быть в пределах 8—14 мм.
3. Натяжение ремня 2 (рис. 14) осуществляется сжатием пружины 6 натяжного ролика 1.
4. Для регулировки натяжения ремней отвернуть на три-четыре оборота контргайку 3 стержня 5 и гайкой 4, сжимая или отпуская пружину 6, отрегулировать натяжение ремней.
5. Завернуть контргайку 3.
6. Поставить на место заднюю панель ограждения двигателя.53
Т Е Х Н О Л О Г И Ч Е С К А Я К А Р Т А № 1 2
РЕГУЛИРОВКА КЛАПАННОГОМЕХАНИЗМА ТРАНСПОРТЕРА-ТЯГАЧА МТ-ЛБ
И с п о л н и т е л ь : механик-водитель и механик.И н с т р у м е н т и п р и с п о с о б л е н и я : ключи гаечные 14, 19 и 32 мм,
головка на 32 мм; вороток, отвертка, щуп, динамометр, специальный ключ для проворачивания коленчатого вала.
Н о р м а в р е м е н и : для механика-водителя — 20 мин, для механика — 60 мин.
Содержание работ и технические условия
1. Поднять крышку люка моторного отделения и зафиксировать ее в открытом положении стопором.
2. Снять заднюю и боковую панели ограждения двигателя.3. Отсоединить дренажную трубку от маслозаливной горловины
крышки головки левого ряда цилиндров.4. Выключить подачу топлива скобой регулятора.5. Отвернуть барашки крепления крышек головок цилиндров и
снять крышки.6. Проверить момент затяжки болтов крепления осей коромысел,
который должен быть 12—16 кгсм.7. Проворачивая коленчатый вал по ходу часовой стрелки (если
смотреть со стороны вентилятора) ключом за болт крепления шкива, установить клапан 1-го цилиндра на момент полного закрытия (момент полного поднятия), после чего провернуть коленчатый вал дополнительно на 1/3 оборота.
8. Проверить щупом зазор между торцом клапана и носком коромысла у впускного и выпускного клапанов первого цилиндра и при необходимости отрегулировать.
9. Для регулирования зазоров — ослабить контргайку 1 (рис. 15) регулировочного винта 2, вставить в зазор щуп и, вращая винт отверткой, установить зазор 0,25—0,3 мм.
Придерживая винт отверткой, затянуть контргайку и проверить величину зазора.
П р и м е ч а н и я : 1. Щуп толщиной 0,25 мм должен входить в зазор с легким нажимом, толщиной 0,3 мм — с усилием.
2. Регулировать на холодном двигателе по истечении 30 мин после его остановки.
10. В порядке работы цилиндров двигателя 1—5—4—2—6—3—7—8 проверить и при необходимости отрегулировать клапанные зазоры в соответствии с пп. 7, 8 и 9.
11. Пустить двигатель и прослушать его работу. При появлении стука клапанов-двигатель остановить и вновь проверить зазоры.
54
Рис. 15. Регулировка зазоров клапанного механизма транспортера-тягача МТ-ЛБ:
1 — контргайка; 2 — регулировочный винт
12. Поставить и закрепить крышки головок цилиндров, подсоединить и поставить снятые детали.
13.Пост
авит ь на
место боковую и заднюю панели ограждения двигателя.14. Закрыть крышку люка, освободив от стопора.
Т Е Х Н О Л О Г И Ч Е С К А Я К А Р Т А № 1 3
ПРОВЕРКА И РЕГУЛИРОВКА УГЛА ОПЕРЕЖЕНИЯВПРЫСКА ТОПЛИВА
И с п о л н и т е л ь : механик, механик-водитель.И н с т р у м е н т и п р и с п о с о б л е н и я : ключи 10, 17 и 19 мм,
специальный ключ для проворачивания коленчатого вала; моментоскоп, плоскогубцы.
Н о р м а в р е м е н и : для механика— 20 мин, для механика-водителя — 15 мин.
Содержание работ и технические условия
1. Поднять крышку люка моторного отделения и зафиксировать ее в открытом положении стопором, снять заднюю панель ограждения двигателя
55
Рис. 16. Совмещение меток:1 — автоматическая муфта опере-жения впрыска топлива; 2 — веду-
щая полумуфта валика привода топливного насоса
(на транспортере-тягаче МТ-Л снять верхние и заднюю панели ограждения двигателя). Снять крышку люка для слива масла из картера двигателя.
2. Убедиться в правильном взаимном расположении меток на муфте 1 (рис. 16) опережения впрыска топлива и ведущей полумуфте 2 валика привода топливного насоса. Метки должны быть совмещены.
3. Отсоединить трубку высокого давления от штуцера (рис. 17) первой секции топливного насоса.
4. Установить моментоскоп (рис. 18) на штуцер первой секции.
5. Включить подачу топлива скобой регулятора.
6. Прокачать топливом систему питания двигателя ручным топливоподкачивающим насосом, предварительно ослабив одну из пробок для выпуска воздуха из корпуса топливного насоса высокого давления.
Прокачивать до тех пор, пока в вы-текающем топливе не исчезнут пузырьки воздуха, затем надежно затянуть пробку.7. Вращать коленчатый вал двигателя по ходу часовой стрелки (если смотреть со стороны вентилятора) до появления
топлива в стеклянной трубке 1 моментоскопа. Вылить излишки топлива из стеклянной трубки легким встряхиванием ее.
8. Провернуть коленчатый вал против хода примерно на 1/8 оборота. Медленно проворачивая по часовой стрелке коленчатый вал двигателя, внимательно следить за уровнем топлива в стеклянной трубке 1. В момент начала движения топлива в трубке 1 прекратить вращение вала и проверить взаимное расположение меток.
Риска на шкиве коленчатого вала должна находиться против риски с цифрой на крышке шестерен распределения или риска с цифрой на маховике должна совпадать с указателем 1 (рис. 19) картера маховика.
Цифра у риски должна соответствовать цифре, выбитой на торце муфты (рис. 16).
9. Если к моменту начала движения уровня топлива в трубке указанного совмещения не произошло, необходимо расшплинтовать и ослабить болты крепления муфты валика привода топливного насоса, повернуть полумуфту.
56
Рис. 17. Отвертывание гайки трубки высокого
давления
Рис. 18. Установка моментоскопана штуцер первой секции:
1 — стеклянная трубка; 2 — переходная трубка; 3 — отрезок топливопровода высокого давления; 4 — шайба; 5 — накидная гайка; 6 — штуцер первой
секции
Рис. 19. Совмещение рисок на маховикес указателем картера маховика:
1 — указатель картера маховика; 2 — маховик; 3 – картер маховика
57
валика привода на ее фланце против направления вращения, затянуть болты крепления и вновь повторить установку угла опережения впрыска топлива. При проходе рисками совмещенного положения — полумуфту валика при-вода следует повернуть на фланце по направлению ее вращения.
Несовпадение рисок должно быть не больше одного градуса (одно деление).
Смещение полумуфты относительно ее фланца на одно деление соответствует четырем делениям на маховике или крышке шестерен распределения.
10. После окончания регулировки угла опережения затянуть и зашплинтовать болты крепления муфты и заметить взаимное расположение рисок на муфте валика привода и на ее фланце.
11. Снять моментоскоп, присоединить трубку высокого давления к штуцеру первой секции топливного насоса.
12. Поставить заднюю панель ограждения двигателя, опустить крышку люка моторного отделения, освободив от стопора (на транспортере-тягаче МТ-Л поставить заднюю и верхние панели ограждения двигателя). Поставить крышку люка для слива масла из картера двигателя.
Т Е Х Н О Л О Г И Ч Е С К А Я К А Р Т А № 1 4
СНЯТИЕ И УСТАНОВКА ТОПЛИВНОГО НАСОСАВЫСОКОГО ДАВЛЕНИЯ НА ДВИГАТЕЛЬ
И с п о л н и т е л ь : механик, механик-водитель.И н с т р у м е н т и п р и с п о с о б л е н и я : ключи гаечные 12, 14, 17 и
19 мм, специальный ключ для проворачивания коленчатого вала; плоскогубцы, отвертка, моментоскоп, щуп пластинчатый.
Н о р м а в р е м е н и : для механика— 30 мин, для механика-водителя — 60 мин.
Содержание работ и технические условия
1. Поднять крышку люка моторного отделения и зафиксировать в открытом положении стопором, снять заднюю панель ограждения двигателя (на транспортере-тягаче МТ-Л снять верхние переднюю и заднюю панели ограждения двигателя).
2. Отсоединить трубку высокого давления от штуцера первой секции топливного насоса, установить моментоскоп на штуцер; проворачивая коленчатый вал, установить начало подачи топлива первой секцией топливного насоса, снять моментоскоп.
3. Ослабить хомуты крепления воздушного шланга к компрессору, отсоединить шланг от переходника впускных трубопроводов.
4. Отвернуть болты крепления переходника впускных трубопроводов, ослабить хомуты крепления патрубка переходника и
58
воздухоочистителя, снять переходник с двигателя, закрыть впускные окна коллекторов деревянными пробками.
5. Отсоединить топливные трубки высокого давления от штуцеров секций топливного насоса высокого давления.
6. Отсоединить топливопроводы от насоса высокого давления и топливоподкачивающего насоса к фильтру тонкой очистки топлива.
7. Отсоединить от топливоподкачивающего насоса сливную трубку и топливопровод к фильтру грубой очистки топлива.
8. Отсоединить тяги от рычага управления регулятором и скобы кулисы.
9. Расшплинтовать и отвернуть соединительные болты ведущей полумуфты привода и муфты опережения впрыска топлива, снять болты, разъединить муфту опережения впрыска топлива с ведущей полумуфтой привода.
10. Отвернуть болты крепления насоса и снять насос высокого давления с двигателя (проверять и регулировать насос на специальном стенде в мастерской).
11. При установке нового насоса, отремонтированного или отрегулированного на стенде, обратить внимание на совмещение меток муфты опережения впрыска и ведущей полумуфты привода в момент начала подачи топлива первой секцией насоса высокого давления, а также на наличие масла в муфте опережения впрыска.
12. Закрепить насос высокого давления болтами в развале блока цилиндров.
13. Соединить муфту опережения впрыска с ведущей полумуфтой привода насоса, проверить и установить торцевой зазор в приводе топливного насоса высокого давления. Торцевой зазор регулируется осевым перемещением полумуфты по ведущему валу привода топливного насоса при отпущенной гайке болта клеммового соединения полумуфты. По окончании регулировки гайку болта клеммового соединения надежно затянуть и зашплинтовать.
Зазор между торцами кулачков ведущей полумуфты и передним концом муфты опережения, так же как и зазор между кулачками муфты опережения и задним торцом ведущей полумуфты должен быть не менее 0,3 мм. Проверка обязательна для всех четырех кулачков.
14. Подсоединить тяги к рычагу управления регулятором и скобе кулисы.
15. Подсоединить к топливоподкачивающему насосу сливную трубку и топливопроводы от фильтров тонкой и грубой очистки топлива.
16. Подсоединить топливопроводы от фильтра тонкой очистки к насосу высокого давления.
17. Подсоединить топливные трубки высокого давления к штуцерам секций топливного насоса за исключением первой.
18. Установить моментоскоп на штуцер первой секции топливного насоса высокого давления, проверить и в случае необходимости
59
отрегулировать угол опережения впрыска топлива (см. технологическую карту № 13).
19. Поставить и закрепить переходник на двигатель, предварительно удалив деревянные пробки из впускных окон коллекторов, соединить его с воздухоочистителем, закрепить воздушный шланг компрессора к переходнику.
20. Поставить заднюю панель ограждения двигателя и закрыть крышку люка моторного отделения, освободив от стопора (на транспортере-тягаче МТЛ поставить верхнюю заднюю и переднюю панели ограждения двигателя).
Т Е Х Н О Л О Г И Ч Е С К А Я К А Р Т А № 1 5
СНЯТИЕ И УСТАНОВКА ФОРСУНОК НА ДВИГАТЕЛЬ
И с п о л н и т е л ь : механик-водитель.И н с т р у м е н т и п р и с п о с о б л е н и е : ключи гаечные 14, 17 и
19 мм, ключ накидной 19 мм; вилка для снятия форсунок.Н о р м а в р е м е н и : 20 мин.
Содержание работ и технические условия
1. Поднять крышку люка моторного отделения и зафиксировать в открытом положении стопором, снять боковую панель ограждения двигателя (на транспортере-тягаче МТ-Л снять верхние и боковую панели ограждения двигателя).
2. Отвернуть барашки крепления крышки головки блока и снять ее.3. Отвернуть трубки отвода избыточного топлива от форсунок.4. Отвернуть накидную гайку топливной трубки форсунки,
навернуть колпачки на штуцер форсунки и ниппель топливной трубки.5. Отвернуть гайку скобы крепления форсунки (рис. 20), снять
скобу, снять форсунку (рис. 21), закрыть деревянной пробкой гнездо форсунки.
Снятые форсунки пронумеровать в соответствии с цилиндрами двигателя с целью обеспечения установки их в те же цилиндры после обслуживания.
6. Перед установкой проверенной и отрегулированной или новой форсунки вынуть деревянную пробку из гнезда форсунки, тщательно протереть гнездо и коническую часть форсунки, проверить наличие медной прокладки в стакане; установить на место форсунку и скобу крепления, затянуть гайку.
7. Снять защитные колпачки со штуцера форсунки и ниппеля топливной трубки, установить топливную трубку на место и соединить ее накидной гайкой со штуцером форсунки.
60
Рис. 20. Отвертывание гайки скобы форсунки
8. Установить на место и закрепить трубки отвода избыточного топлива от форсунок.
9. Поставить на место и закрепить болтами крышку головки блока цилиндров.
10. Поставить на место боковую панель ограждения двигателя, опустить крышку люка моторного отделения, освободив от стопора (на транспортере-тягаче МТ-Л поставить на место боковую и верхние панели ограждения двигателя).
Т Е Х Н О Л О Г И Ч Е С К А Я К А Р Т А № 1 6
РЕГУЛИРОВКА ПРИВОДА УПРАВЛЕНИЯ ДВИГАТЕЛЕМ
Содержание работ и технические условия
а ) Р е г у л и р о в к а ( э к с п л у а т а ц и о н н а я )п р и в о д а у п р а в л е н и я
д в и г а т е л е м т р а н с п о р т е р а — т я г а ч а М Т — Л Б
И с п о л н и т е л ь : механик-водитель.И н с т р у м е н т и п р и с п о с о б л е н и е : ключ 14 мм, щуп.Н о р м а в р е м е н и : 8 мин.
1. Поднять крышку надмоторного люка и закрепить ее в открытом положении стопором.
2. Нажать на педаль 2 (рис. 22) подачи топлива до упора в опорный болт 1 (максимальная подача топлива). При этом зазор между штифтом рычага 14 и болтрм 15 ограничения оборотов должен быть 0—1,2 мм.
3. При увеличении зазора более 1,2 мм болт 1 ввинтить до обеспечения заданного зазора 0—1,2 мм.
61
Рис. 21. Снятие форсунки
4. При уменьшении зазора до 0 болт 1 вывернуть до упора его в педаль.
62
63
Рис.
22.
Схе
ма р
егул
иров
ки п
риво
да у
прав
лени
я дв
игат
елем
тра
нспо
ртер
а-тя
гача
МТ-
ЛБ:
1 –
болт
упо
рны
й; 2
– п
едал
ь по
дачи
топ
лива
; 3 –
ры
чаг
педа
ли; 4
– т
яга
педа
ли; 5
– р
укоя
тка
ручн
ой п
одач
и то
плив
а; 6
и 7
— ры
чаги
пр
омеж
уточ
ного
вал
ика;
8 –
вер
тика
льна
я тя
га; 9
– р
ыча
г уп
равл
ения
ост
анов
ки; 1
0 –
рыча
г уп
равл
ения
рег
улят
ором
; 11
– тя
га
регу
лято
ра; 1
2 –
тяга
ост
анов
а; 1
3 –
болт
огр
анич
ения
мин
имал
ьны
х об
орот
ов; 1
4 –
рыча
г ре
гуля
тора
; 15
– ры
чаг
огра
ниче
ния
макс
имал
ьны
х об
орот
ов; 1
6 –
скоб
а ус
тано
ва д
вига
теля
; 17
– пр
омеж
уточ
ный
рыча
г; а
– р
укоя
тка
при
макс
имал
ьной
под
аче;
б –
ру
коят
ка п
ри о
стан
овке
дви
гате
ля
5. Закрыть надмоторный люк, освободив его от стопора.
П р и м е ч а н и е . На транспортере-тягаче МТ-Л порядок эксплуатационной регулировки привода двигателей аналогичен.
б ) Р е г у л и р о в к а ( м о н т а ж н а я ) п р и в о д а у п р а в л е н и яд в и г а т е л е м т р а н с п о р т е р а — т я г а ч а М Т — Л Б
И с п о л н и т е л и : механик и механик-водитель.И н с т р у м е н т и п р и с п о с о б л е н и я : ключи гаечные . 12, 14-, 17 и
19 мм; отвертка, плоскогубцы, линейка, щуп.Н о р м а в р е м е н и : для механика —15 мин, для механика-водителя —
25мин.
1. Поднять крышку надмоторного люка и закрепить ее в открытом положении стопором. Снять переднюю панель ограждения двигателя.
2. Отсоединить тяги 11 регулятора и 12 останова от их рычагов 10 и 9.
3. Установить рычаг 10 так, чтобы ось его пальца находилась на расстоянии 39 мм от вертикальной линии, проходящей через ось вращения этого рычага.
4. Установить рычаг 14 регулятора в положение, соответствующее минимальной подаче (рычаг 14 регулятора должен упираться в болт 13 ограждения числа оборотов) и, отрегулировав длину тяги 11, соединить ее с рычагом 10, установив палец отверстием под шплинт влево.
5. Подвести рычаг 17 до упора усиком в рычаг 10.6. Медленно перемещать тягу 12 вперед и в момент увеличения
усилия на перемещение тяги соединить ее с рычагом 9, который должен быть подведен к другому усику рычага 17. Палец установить отверстием под шплинт вправо.
7. .После регулировки положение рычагов должно быть: рычаг 14 штифтом упирается в болт 13; рычаг 10 упирается в один усик, а рычаг 9 — в другой усик рычага 17; рычаги 9, 17 и 10 находятся в одной плоскости и наклонены вперед на 39 мм.
П р и м е ч а н и е . На рис. 22 рычаги 9 я 10 условно смещены относительно друг друга.
8. При положении рычагов 9, 10, 14 и 17 как указано в п. 7, изменением длины тяги 8 установить рычаг 7 так, чтобы ось его пальца была отклонена на 25 мм вперед от оси вращения рычага, а изменением длины тяги 4 установить педаль 2 так, чтобы конец ее был на расстоянии 246 мм от днища.
64
9. В положении максимальной подачи педаль 2 .должна упираться в опорный болт 1, при этом зазор между штифтом рычага 14 и болтом 15 ограничения максимальных оборотов должен быть не более 1,2 мм.
10. Отрегулировав привод управления двигателем, затянуть контргайки тяг и развести шплинты на соединительных пальцах.
11. Закрыть крышку надмоторного люка и поставить панель ограждения двигателя.
в ) Р е г у л и р о в к а ( м о н т а ж н а я ) п р и в о д ау п р а в л е н и я д в и г а т е л е м
т я г а ч а — т р а н с п о р т е р а М Т — Л
И с п о л н и т е л и : механик и механик-водитель.И н с т р у м е н т и п р и с п о с о б л е н и я : ключи гаечные 12, 14 и 17 мм;
плоскогубцы, линейка.Н о р м а в р е м е н и : для механика — 15 мин, для механика-водителя —
35 мин.1. Снять правую крышку люка ограждения двигателя, левое сиденье
заднего ряда, левую чашку сиденья заднего ряда, сиденье водителя, полик водителя.
2. Отсоединить тяги 15 (рис. 23) регулятора и 14 останова от их рычагов 13 и 12.
3. Установить рычаг 13 так, чтобы ось его пальца находилась на расстоянии 39 мм от вертикальной линии, проходящей через ось вращения этого рычага.
4. Установить рычаг 17 регулятора в положение, соответствующее минимальной подаче (рычаг 17 регулятора должен упираться в болт 16 ограничения числа оборотов) и, отрегулировав длину тяги 15, соединить ее с рычагом 13, установив палец отверстием под шплинт влево.
5. Подвести рычаг 20 до упора усиком в рычаг 13.6. Медленно перемещать тягу 14 вперед и в момент увеличения
усилия на перемещение тяги соединить ее с рычагом 12, который должен быть подведен к другому усику рычага 20. Палец установить отверстием под шплинт вправо.
7. После регулировки положения рычагов рычаг 17 должен упираться штифтом в болт 16; рычаг 13 — в один усик, а рычаг 12 — в другой усик рычага 20; рычаги 12, 13 и 20 должны быть в одной плоскости и наклонены вперед на 39 мм.
П р и м е ч а н и е . На рис. 23 рычаги 12 и 13 условно смещены относительно друг друга.
8. При положении рычагов 12, 13, 17 и 20 как указано в п. 7 изменением длины тяги 11 установить рычаг 10 так, чтобы ось его пальца была на 7 мм выше оси вращения рычага.
Изменением длины тяги 9 установить рычаг 8 так, чтобы ось его пальца была смещена на 17 мм назад от оси вращения рычага.
65
Изменением длины тяги 7 установить педаль 5 так, чтобы ее конец был на расстоянии 250 мм от полика.
9. Установить рукоятку 1 ручной подачи топлива так, чтобы конец рукоятки находился на 104 мм выше оси ее вращения.
66
67
Рис.
23.
Мон
таж
ная
схем
а ре
гули
ровк
и пр
ивод
а уп
равл
ения
дви
гате
лем
тран
спор
тера
-тяг
ача
МТ-
Л:
1 –
руко
ятка
руч
ной
пода
чи т
опли
ва; 2
– р
ыча
г ру
чной
под
ачи
топл
ива;
3 –
тяг
а ры
чага
руч
ной
пода
чи; 4
– б
олт
опор
ный;
5 –
пед
аль
пода
чи т
опли
ва; 6
– р
ыча
г пе
дали
; 7 –
тяг
а пе
дали
; 8 –
ры
чаг
пром
ежут
очно
го в
алик
а; 9
– т
яга
пром
ежут
очна
я; 1
0 –
рыча
г ва
лика
; 11
– тя
га в
ерти
каль
ная;
12
– ры
чаг
упра
влен
ия о
стан
овом
; 13
– ры
чаг
упра
влен
ия р
егул
ятор
ом; 1
4 –
тяга
ост
анов
а; 1
5 –
тяга
рег
улят
ора;
16
– бо
лт о
гран
ичен
ия м
иним
альн
ых
обор
отов
; 17
– ры
чаг
регу
лято
ра; 1
8 –
болт
огр
анич
ения
мак
сима
льны
х об
орот
ов; 1
9 –
скоб
а ос
тано
ва
двиг
ател
я; а
– р
укоя
тка
при
макс
имал
ьной
под
аче;
б –
рук
оятк
а пр
и ос
тано
вке
двиг
ател
я
Удерживая педаль 5 в положении как указано в п. 8 и подав тягу 3 вниз до упора усика рычага 2 в штифт, отрегулировать длину тяги и соединить ее с рычагом 6 педали.
10. В положении максимальной подачи топлива педаль 5 должна упираться в упорный болт 4, при этом зазор между штифтом рычага 17 регулятора и торцом болта 18 ограничения максимальных оборотов должен быть не более 1,2 мм.
11. Отрегулировав привод управления двигателем, затянуть контргайки и развести шплинты на соединительных пальцах.
12. Установить правую крышку люка ограждения двигателя, левое сиденье заднего ряда, левую чашку сиденья заднего ряда, сиденье водителя и полик водителя.
Т Е Х Н О Л О Г И Ч Е С К А Я К А Р Т А № 1 7
РЕГУЛИРОВКА ПРИВОДА УПРАВЛЕНИЯКОРОБКОЙ ПЕРЕДАЧ
И с п о л н и т е л и : механик и механик-водитель.И н с т р у м е н т и п р и с п о с о б л е н и я : ключи гаечные 19 и 24 мм;
плоскогубцы, стержень, выставки рычагов и поводковН о р м а в р е м е н и : для механика — 25 мин, для механика-водителя —
25 мин.
Содержание работ и технические условия
1. Открыть люк отсека силовой передачи и зафиксировать его в поднятом положении (на транспортере МТ-Л снять сиденье водителя, полик водителя и правый передний пол кабины).
Д л я в с е х п е р е д а ч
2. Установить рычаг 2 (рис. 24) переключения в нейтральное положение, совместить метки 12 на рычаге валика блокировки и корпусе колонки 1.
3. Расшплинтовать необходимые соединительные пальцы 7.4. Заменить соединительный палец 7 у рычага соответствующей
регулируемой передачи .стержнем 11 выставки рычагов и поводков.5. Проверить положение заостренного конца стержня 11 выставки
рычагов и поводков относительно углубления с отметкой Н (нейтральное положение) на крышке картера главной передачи.
6. Ввинчивая или вывинчивая регулировочную вилку 5, подобрать длину регулируемой тяги 4 так, чтобы заостренный конец стержня 11 входил в углубление с отметкой Н на крышке картера главной передачи.
68
Рис.
24.
Схе
ма р
егул
иров
ки п
риво
да у
прав
лени
я ко
робк
ой п
еред
ач:
1 –
коло
нка;
2 –
ры
чаг
пере
клю
чени
я; 3
– п
овод
ки; 4
– р
егул
иров
очны
е тя
ги; 5
– в
илки
рег
улир
овоч
ные;
6 –
ры
чаги
I-II
пер
едач
и
пере
дачи
задн
его
хода
; 7 –
сое
дини
тель
ные
паль
цы; 8
– р
ыча
г II
I-IV
пер
едач
; 9 –
ры
чаг
V-V
I пер
едач
; 10
– ре
зьбо
вые
нако
нечн
ики
рыча
гов;
11
– ст
ерж
ень
выст
авки
ры
чаго
в и
пово
дков
; 12
– ме
тки
на р
ыча
ге в
алик
а бл
окир
овки
и к
орпу
се к
олон
киД л я I I I , I V , V и V I п е р е д а ч
1.
Проверить положение стержня 11
69
выставки рычагов, и поводков относительно отметок включенного положения передач на крышке картера главной передачи при включенном положении рычага 2 переключения.
2. При несовпадении заостренного конца стержня 11 с отметками и при самовыключении передач ввинчиванием резьбовых наконечников 10 рычагов 8 и 9 добиться полного включения муфт регулируемых передач и совпадения меток с заостренным концом стержня 11.
3. Отрегулировав привод, необходимо окончательно проверить правильность регулировки, после чего заменить стержень 11 соединительным пальцем, затянуть контргайки, а соединительные пальцы 7 зашплинтовать.Отрегулированный привод при прокрутке силовой передачи должен обеспечивать:
легкое, с равномерным усилием переключение передач; свободное, без заеданий в прорезях поводков 3 и колонки 1,
перемещение рычага переключения передач; свободный проход соединительного пальца 7 в отверстия вилок и
рычагов от усилия руки при нейтральном и включенном положениях рычага 2 переключения.
4. Закрыть люк отсека силовой передачи, предварительно освободив от стопора (на транспортере-тягаче МТ-Л установить на место правый, передний пол кабины, полик водителя, сиденье водителя).
5. Окончательно работа привода проверяется контрольным пробегом.
Т Е Х Н О Л О Г И Ч Е С К А Я К А Р Т А № 1 8
РЕГУЛИРОВКА ПЕДАЛИ ГЛАВНОГО ФРИКЦИОНАИ ПЕДАЛИ ОСТАНОВОЧНОГО ТОРМОЗА
Д л я п е д а л и г л а в н о г о ф р и к ц и о н а : установка исходного положения; регулировка свободного хода; регулировка полного хода; регулировка усилия сервопружины.
Д л я п е д а л и о с т а н о в о ч н о г о т о р м о з а : установка исходного положения; регулировка полного хода.
Содержание работ и технические условия
а ) Т р а н с п о р т е р — т я г а ч М Т — Л Б
И с п о л н и т е л и : механик и механик-водитель.И н с т р у м е н т и п р и с п о с о б л е н и я : ключи гаечные 12, 14, 17 и 19
мм; плоскогубцы, отвертка.
70
Н о р м а в р е м е н и : для механика — 20 мин, для механика-водителя — 25 мин.
1. Снять панель двигателя над карданом.2. Открыть и поставить на упор люк отсека силовой передачи.3. Для установки исходного положения педали главного фрикциона
необходимо: отсоединить тяги 2 (рис. 25) и 5 от двуплечего рычага вала
педалей; отрегулировать исходное положение педали главного фрикциона
регулировочным болтом 4 так, чтобы расстояние от передней кромки подбашмачника педали со стороны водителя до балки было 72-78 мм;
подсоединить тяги 2 и 5 к двуплечему рычагу вала педалей, предварительно отрегулировав их; тягу 2 отрегулировать так, чтобы расстояние от горизонтальной оси качания рычага 14 блокировки кулисы до оси отверстия под палец было 27-31 мм или при наличии меток совместить метку на рычаге блокировки кулисы с меткой на корпусе колонки переключения передач; тягу 5 отрегулировать так, чтобы расстояние от вертикальной оси качания рычага 6 до оси отверстия под палец было 18-22 мм в сторону кормы транспортера-тягача. В выполнении этой операции заключается регулировка блокировки коробки передач.
4. Свободный ход педали регулируется изменением длины тяги 13 так, чтобы ее перемещение было в пределах 6,5-8 мм.
5. Полный ход педали регулируется регулировочным болтом 3 так, чтобы при выжиме педали до упора в болт перемещение тяги 13 составляло 36-39 мм.
6. Под действием сервопружины 11 педаль после снятия ноги должна самостоятельно возвращаться в исходное положение. Для этого регулируют положение кронштейна 15 сервопружины и усилие сервопружины 11.Предварительное положение кронштейна 15 сервопружины от регулировать так, чтобы при выборе свободного хода педали длинное плечо двуплечего рычага 7 и стержень 16 сервопружины составляли одну прямую.
Если после этого педаль будет зависать в положении выбранного свободного хода, то необходимо кронштейн 15 сервопружины сместить от его первоначального положения к корме транспортера-тягача до исключения зависания педали.
Усилие сервопружины и регулировать следующим образом: выжать педаль главного фрикциона до упора в регулировочный
болт 3 и сжать сервопружину 11 с помощью гайки 9 так, чтобы педаль удерживалась пружиной в этом положении;
отпустить на несколько оборотов гайки сервопружины, чтобы педаль плавно возвращалась в исходное положение.
7. Исходное положение педали остановочного тормоза устанавливается после отсоединения тяги 1 аналогичного установке
71
исходного положе-
72
Рис.
25.
Схе
ма р
егул
иров
ки п
едал
и гл
авно
го ф
рикц
иона
и п
едал
и ос
тано
вочн
ого
торм
оза
тран
спор
тера
-тяг
ача
МТ-
ЛБ:
1 –
тяга
тор
мозн
ого
кран
а; 2
– т
яга
блок
иров
ки; 3
и 4
– б
олты
рег
улир
овоч
ные;
5 –
тяг
а пе
дали
; 6 –
ры
чаг
пере
ходн
ой;
7 и
12 –
ры
чаги
дву
плеч
ие; 8
– р
ыча
г пе
дали
; 9 –
гай
ка р
егул
иров
очна
я; 1
0 –
тяга
глав
ного
фри
кцио
на к
орот
кая;
11
– се
рвоп
руж
ина;
13
– тя
га гл
авно
го ф
рикц
иона
; 14
– ры
чаг
блок
иров
ки; 1
5 –
крон
ште
йн с
ерво
пруж
ины
; 16
– ст
ерж
ень
серв
опру
жин
ы
73
ния педали главного фрикциона. Взаимное смещение поверхностей подбашмачников допускается не более 4 мм.
8. Полный ход педали остановочного тормоза определяется регулировочным болтом 3 так, чтобы при выжиме педали до упора в болт перемещение тяги 1 тормозного крана было 35—43 мм. После снятия ноги педаль должна возвращаться в исходное положение.
9. Закрыть люк отсека силовой передачи, освободив от стопора, поставить на место панель двигателя над карданом.
б ) Т р а н с п о р т е р — т я г а ч М Т — Л
И с п о л н и т е л и : механик и механик-водитель.И н с т р у м е н т и п р и с п о с о б л е н и я : ключи гаечные 12, 14, 17 и
19 мм; линейка, плоскогубцы.Н о р м а в р е м е н и : для механика — 20 мин, для механика-водителя — 35
мин.
1. Снять сиденье водителя, полик водителя, левый полик заднего ряда сидений, левое сиденье заднего ряда, левую чашку сиденья заднего ряда, правую крышку люка ограждения двигателя.
2. Для установки педали главного фрикциона в исходное положение необходимо:
— отсоединить тягу 8 (рис. 26) управления главным фрикционом от двуплечего рычага 9 вала блокировки;
отрегулировать исходное положение педали 7 упорным болтом 6 так, чтобы расстояние от кромки педали со стороны водителя до вертикальной оси вала педали было 210—215 мм, а рычаг 5 сервопружины 4 упирался в головку болта 6;
соединить тягу 8 управления фрикционом с двуплечим рычагом 9, предварительно отрегулировав ее длину так, чтобы длинное плечо рычага 9 вала блокировки было горизонтально и направлено в сторону кормы транспортера-тягача или (при наличии меток) совместить метку на рычаге блокировки кулисы с меткой на корпусе колонки переключения передач. В выполнении этой операции заключается регулировка блокировки коробки передач.
3. Изменением длины тяги 10 установить рычаг 12 так, чтобы вертикальная ось пальца короткого плеча была смещена к корме на 20 мм относительно оси вращения рычага 12. Свободный ход педали регулируется изменением длины тяги 11 управления фрикционом так, чтобы ее перемещение составляло 6,5—8 мм.
4. Полный ход педали регулируется упорным болтом 3 (верхним) так, чтобы при выжиме педали 7 до упора в болт 3 перемещение тяги 11 было 36—39 мм.
5. Под действием сервопружины 4 педаль 7 после выключения главного фрикциона должна самостоятельно возвращаться в исходное положение до упора рычага 5 сервопружины 4 в упорный болт 6. Для этого
74
регулировке подлежат положение кронштейна 2 сервопружины и усилие сервопружины 4.
75
Рис.
26.
Схе
ма р
егул
иров
ки п
едал
и гл
авно
го ф
рикц
иона
и п
едал
и ос
тано
вочн
ого
торм
оза
тран
спор
тера
-тяг
ача
МТ-
Л:
1 и
7 –
педа
ли; 2
– к
ронш
тейн
сер
вопр
ужин
ы; 3
и 6
– б
олты
упо
рны
е; 4
– с
ерво
пруж
ина;
5 и
12
– ры
чаги
;8,
10,
11
и 13
– т
яга;
9 –
дву
плеч
ий р
ыча
г; 1
4 –
стер
жен
ь се
рвоп
руж
ины
; 15
– га
йка
Предварительно кронштейн 2 сервопружины устанавливается так, чтобы при выборе свободного хода педали 7 рычаг 5 и стержень 14 сервопружины составляли одну прямую.
Если после этого педаль будет зависать в положении выбранного свободного хода, то необходимо кронштейн 2 сервопружины сместить по пазу влево к носу транспортера-тягача от его предварительного положения до исключения зависания педали.
Натяжение сервопружины регулировать следующим образом:— выжать педаль 7 до упора в упорный болт 3 (верхний) и сжать
сервопружину 4 с помощью гайки 15 так, чтобы педаль удерживалась сервопружиной 4 в этом положении;
— отпустить на несколько оборотов гайку 15, чтобы педаль 7 плавно возвращалась в исходное положение.
6. Для установки педали 1 остановочного тормоза в исходное положение необходимо отрегулировать длину тяги 13 тормозного крана так, чтобы расстояние от верхней кромки педали до основания кронштейна педали было 245—250 мм.
7. Полный ход педали 1 остановочного тормоза регулируется упорным болтом 3 (нижним) так, чтобы при выжиме педали 1 остановочного тормоза до упора в упорный болт перемещение тяги тормозного крана было 35—43 мм.
После снятия ноги педаль остановочного тормоза должна возвращаться в исходное положение.
8. Поставить на место правую крышку люка ограждения двигателя, левую чашку сиденья заднего ряда, левое сиденье заднего ряда, левый полик заднего ряда сидений.
Т Е Х Н О Л О Г И Ч Е С К А Я К А Р Т А № 1 9
РЕГУЛИРОВКА ОСТАНОВОЧНЫХ ТОРМОЗОВ
И с п о л н и т е л ь : механик-водитель.И н с т р у м е н т и п р и с п о с о б л е н и я : ключи гаечные 14 и 17 мм;
щуп.Н о р м а в р е м е н и : 16 мин.
Содержание работ и технические условия
1. Открыть крышку люка отсека силовой передачи (на транспортере-тягаче МТ-Л снять сиденье водителя, лючок полика водителя, правый передний пол кабины).
2. Отпустить контргайки регулировочных болтов 3 (рис. 27) остановочного тормоза.
3. Удерживая рычаг 1 тормоза в крайнем нижнем положении, при помощи регулировочной гайки 2, установить зазор между тормозным барабаном и колодками тормозной ленты 1,5—2,5 мм. Равномерный зазор устанавливается регулировочными болтами 3. Допускается местный зазор не менее 0,5 мм в двух-трех местах.
76
Рис. 27 Схема регулировки остановочных тормозов:1 – рычаг тормоза; 2 – гайка рещулировочная; 3 – болты регулировочные
4. Затянуть контргайки регулировочных болтов 3 остановочного тормоза до плотного упора.
5. Закрыть крышку люка отсека силовой передачи (на транспортере-тягаче МТ-Л поставить на место правый передний пол кабины, лючок полика водителя и сиденье водителя).
Т Е Х Н О Л О Г И Ч Е С К А Я К А Р Т А № 2 0
РЕГУЛИРОВКА (ЭКСПЛУАТАЦИОННАЯ) РЫЧАГОВ УПРАВЛЕНИЯ
Содержание работ и технические условия
а ) Т р а н с п о р т е р — т я г а ч М Т — Л Б
И с п о л н и т е л ь : механик-водитель.И н с т р у м е н т и п р и с п о с о б л е н и я : ключи гаечные 14, 17 и 19 мм;
плоскогубцы, линейка.Н о р м а в р е м е н и : 30 мин.
1. Отсоединить тягу 1 (рис. 28) от промежуточного рычага.2. Установить регулировочные болты 2 так, чтобы при упоре в них
выступов рычагов 3 управления рукоятки рычагов отстояли от балки на 90—100 мм. При этом взаимное смещение положения рукояток рычагов 3 управления допускается не более 3 мм.
77
Рис. 29 Схема регулировки рычагов управлениятранспортера-тягача МТ-Л:
1 – валик педали главного фрикциона; 2 – рычаги управления; 3 – тяга правого рычага
управления; 4 – тяга левого рычага управления; 5 – регулировочный болт; 6 – тяга левого
остановочного тормоза
Рис. 28 Схема регулировкирычагов управления транспортера-
тягача МТ-ЛБ:1 – переходная тяга; 2 —
регулировочный болт; 3 – рычаг управления
3. Отрегулировать длину тяги 1 и соединить ее с промежуточным рычагом. При этом ролики рычагов тормозов механизма поворота должны находиться в соответствующих лунках на профильной поверхности кулаков,
как указано на рис. 28.
б ) Т р а н с п о р т е р — т я г а ч М Т — Л
И с п о л н и т е л ь : механик-водитель.И н с т р у м е н т и п р и с п о с о б л е н и я : ключи гаечные 14, 17 и 19 мм;
плоскогубцы, линейка.Н о р м а в р е м е н и : 40 мин.
1. Снять сиденье и полик водителя.2. Отсоединить тяги 3 (рис. 29), 4 и 6 от рычагов управления.3. Установить регулировочные болты 5 так, чтобы при упоре в них
выступов рычагов 2 управления рукоятки рычагов отстояли от вертикальной оси вала 1 педалей на 213 — 223 мм. При этом взаимное смещение положения рукояток рычагов 2 допускается не более 3 мм.
4. Отрегулировать длины тяг 3, 4 и 6 рычагов управления, соединить их с соответствующими рычагами. При этом ролики рычагов тормозов механизма поворота должны находиться в соответствующих лунках на профильной поверхности кулаков как указано на рис. 28.
78
Рис. 30. Схема регулировки свободного хода поводковой коробки фрикциона механизма поворота:
1 — поводковая коробка; 2 – соединительный палец; 3 – шарнирная тяга; 4 и 6- рычаги тормоза; 5 – регулировочная тяга; 7 – кулак; 8 – рычаг фрикциона; 9 –
регулировочный болт
5. Поставить на место полик и сиденье водителя.
Т Е Х Н О Л О Г И Ч Е С К А Я К А Р Т А № 2 1
РЕГУЛИРОВКА (ЭКСПЛУАТАЦИОННАЯ)СВОБОДНОГО ХОДА ХВОСТОВИКА ПОВОДКОВОЙКОРОБКИ ФРИКЦИОНА МЕХАНИЗМА ПОВОРОТА
И с п о л н и т е л ь : механик.И н с т р у м е н т и п р и с п о с о б л е н и я : ключи гаечные 17 и 19 мм;
плоскогубцы, линейка.Н о р м а в р е м е н и для транспортеров-тягачей: МТ-ЛБ — 15 мин,
МТ — Л — 25 мин.
Содержание работ и технические условия
1. Открыть люк отсека силовой передачи (на транспортере-тягаче МТ-Л снять сиденье водителя, полик водителя, лючок правого полика кабины).
2. Установить рычаги управления в переднее крайнее положение; при этом ролики рычагов тормозов механизмов поворота должны находиться в соответствующих лунках на профильной поверхности кулаков.
3. Проверить свободный ход поводковой коробки, для чего: шарнирную тягу 3 (рис. 30) фрикциона механизма поворота с хвостовиком поводковой коробки 1 подать до отказа назад, а затем вперед и по
79
перемещению соединительного пальца 2 замерить величину свободного хода. Свободный ход должен быть в пределах 7 — 9 мм.
4. Если свободный ход поводковой коробки 1 больше или меньше указанных величин, то отрегулировать в такой последовательности:
— отпустить контргайки шарнирной тяги 3 и, вращая тягу, добиться указанного свободного хода (7 — 9 мм);
— проверить правильность регулировки, как указано в п. 3; — затянуть контргайки шарнирной тяги 3.5. Закрыть люк отсека силовой передачи (на транспортере-тягаче
МТ-Л поставить на место лючок правого полика кабины, полик водителя, сиденье водителя).
Т Е Х Н О Л О Г И Ч Е С К А Я К А Р Т А № 2 2
РЕГУЛИРОВКА (МОНТАЖНАЯ) ФРИКЦИОНОВМЕХАНИЗМА ПОВОРОТА
И с п о л н и т е л ь : механик.И н с т р у м е н т и п р и с п о с о б л е н и я : ключи гаечные 12, 17, 19 и
46 мм; плоскогубцы, отвертка, линейка.Н о р м а в р е м е н и : 50 мин.
Содержание работ и технические условия
1. Открыть люк отсека силовой передачи (на транспортере-тягачеМТ–Л снять сиденье водителя, полик водителя, лючок правого полика кабины).
2. Отогнуть замковую шайбу 7 (рис. 31), отвернуть гайку 8 и снять ведущий барабан 6.
3. Отогнуть лапки замковых шайб 10 и отвернуть шесть гаек 9 на пальцах 2 отжимного диска 3.
4. Сиять нажимной диск 1. 5. Снять с каждого пальца 2 несколько регулировочных прокладок 11,
12 и 13 (суммарная толщина снятых с каждого пальца прокладок должна быть одинаковой).
6. Надеть нажимной диск 1 на пальцы 2 и закрепить его.7. Проверить величину свободного хода поводковой коробки 5. Он
должен быть 14 — 18 мм, после чего затянуть гайки 9 и зашплинтовать их шайбами.
8. Надеть ведущий барабан 6 на хвостовик вала 4 фрикциона главной передачи, закрепить его гайкой 8 и отогнуть шайбу 7.
80
Рис. 31. Регулировка фрикционов механизма поворота:1 – нажимной диск; 2 – палец; 3 – отжимной диск; 4 – вал фрикциона; 5 —
поводковая коробка; 6 – ведущий барабан; 7 и 10 – шайбы; 8 и 9 – гайки; 11, 12 и 13 – регулировочные прокладки
9. Присоединить тягу поводковой коробки 5 к хвостовику поводковой коробки, проверить свободный ход поводковой коробки, при необходимости отрегулировать (см. технологическую карту 21).
10.З
акрыть люк отсека силовой передачи (на транспортере-тягачеМТ-Л поставить на место лючок правого полика кабины, полик водителя, сиденье водителя).
Т Е Х Н О Л О Г И Ч Е С К А Я К А Р Т А № 2 3
РЕГУЛИРОВКА ЗАЗОРА МЕЖДУ РОЛИКОМРЫЧАГА ТОРМОЗА МЕХАНИЗМА ПОВОРОТА
И ВПАДИНОЙ КУЛАКА
И с п о л н и т е л ь : механик-водитель.И н с т р у м е н т и п р и с п о с о б л е н и я : ключи гаечные 14 и
17 мм, щуп.Н о р м а в р е м е н и для транспортеров-тягачей: МТ-ЛБ — 12 мин,
МТ-Л — 20 мин.
81
Содержание работ и технические условия
1. Открыть люк отсека силовой передачи (на транспортере-тягаче МТ-Л снять сиденье водителя, полик водителя, лючок правого полика кабины).
2. Поставить рычаги управления в первое положение.
3.П
р ов ер ит ь щупом наличие зазора а между роликом рычага 4 (рис. 32) тормрза механизма поворота и впадиной кулака. Зазор а должен быть 2 — 3 мм.
4. Регулировать зазор а изменением зазора между тормозным барабаном и колодками лент тормоза механизма поворота:
— если зазор а мал, регулировочную гайку 2 навинтить на один-два оборота на серьгу 1 ленты тормоза механизма поворота;
— если зазор а велик, регулировочную гайку 2 свинтить на один-два оборота с серьги 1 ленты тормоза механизма поворота.
5. Закрыть люк отсека силовой передачи (на транспортере-тягаче МТ-Л поставить на место полик водителя, лючок правого полика кабины, сиденье водителя).
П р и м е ч а н и е . В результате регулировки зазора между роликом рычага тормоза механизма поворота и впадиной кулака — зазор между тормозными барабанами механизма поворота и колодками лент устанавливается автоматически
Т Е Х Н О Л О Г И Ч Е С К А Я К А Р Т А № 2 4
82
Рис. 32. Схема регулировки зазора между роликом рычага тормозамеханизма поворота левого и впадиной кулака
1 – серьга ленты тормоза; 2 – палец; 3 – отжимной диск; 4 – вал фрикциона;5 — поводковая коробка; 6 – ведущий барабан; 7 и 10 – шайбы; 8 и 9 – гайки;
11, 12 и 13 – регулировочные прокладки
Рис. 33. Схема регулировки привода остановочных тормозов транспортера-тягача МТ-ЛБ:
1 – рычаг остановочного тормоза; 2 – вилка тяги рычага управления; 3 и 5 – пальцы; 4 – вилка тяги тормозной камеры; 6 и 7 – рычаги со скосами
РЕГУЛИРОВКА ПРИВОДОВ ОСТАНОВОЧНЫХ ТОРМОЗОВ
Содержание работ и технические условия
а ) Т р а н с п о р т е р — т я г а ч М Т — Л Б
И с п о л н и т е л ь : механик.И н с т р у м е н т и п р и с п о с о б л е н и я : ключи гаечные 12 и 14 мм; плоскогубцы.
Н о р м а в р е м е н и : 20 мин.
1. Открыть люк отсека силовой передачи.2. Отрегулировать положение вилки 4 (рис. 33), свинчивая ее или
навинчивая на шток тормозной камеры, так, чтобы палец 5 упирался в верхний торец прорези вилки. При этом рычаг 1 остановочного тормоза должен находиться в горизонтальном положении.
3. Поставить рычаги управления в первое положение. При этом рычаг 6 должен касаться своим верхним скосом соответствующего скоса рычага 7 по всей плоскости. Палец 3 рычага должен упираться в переднюю прорезь вилки 2.
83
Рис. 34. Схема регулировки привода остановочных тормозов
транспортера-тягача МТ-Л:1 – рычаг тормоза; 2 и 3 – рычаги
со скосами; 4 и 7 – пальцы; 5 – вилка тяги тормозной камеры; 6 –
тяга рычага управления
4. Закрыть люк отсека силовой передачи Правильность регулировок приводов управления транспортером-тягачом проверяется контрольным пробегом.
б ) Т р а н с п о р т е р — т я г а ч М Т — Л
И с п о л н и т е л ь : механик.И н с т р у м е н т и
п р и с п о с о б л е н и я : ключи гаечные 12 и 14 мм; плоскогубцы.
Н о р м а в р е м е н и : 30 мин.
1. Снять сиденье водителя, полик водителя и полик заднего ряда сидений.
2. Отрегулировать положение вилки 5 (рис. 34) тяги тормозной камеры, свинчивая ее или навинчивая на тягу так, чтобы палец 4 упирался в верхний торец прорези вилки. При этом рычаг 1 остановочного тормоза должен находиться в горизонтальном положении.
3. Поставить рычаги управления в первое положение. При этом рычаг 3 должен касаться своим скосом соответствующего скоса рычага 2 по всей плоскости, а палец 7 рычага должен упираться в торец А прорези тяги 6.
4. Поставить на место полик заднего ряда сидений, полик водителя и сиденье водителя.
Т Е Х Н О Л О Г И Ч Е С К А Я К А Р Т А № 2 5
РЕГУЛИРОВКА НАТЯЖЕНИЯ ГУСЕНИЦЫ,ЗАМЕНА ТРАКА И НАДЕВАНИЕ ГУСЕНИЦЫ
И с п о л н и т е л ь : механик-водитель, слесарь.И н с т р у м е н т и п р и с п о с о б л е н и я : ключ гаечный 19 мм; ключ
специальный; выколотки пальцев короткая и длинная, кувалда, молоток, наставка специальная для расклепки пальцев.
Н о р м а в р е м е н и : для механика-водителя — 25 мин, для слесаря — 15 мин.
84
Содержание работ и технические условия
1. Поставить транспортер-тягач на ровную площадку.2. Затормозить одну из гусениц, поставив рычаг управления во
второе положение.3. Выключить главный фрикцион, пустить двигатель, включить
передачу заднего хода и на малых оборотах плавным включением главного
фрикциона выбрать провисание гусеницы на участке между первым опорным катком и ведущим колесом незаторможенной стороны гусеницы.
По расположению верхней ветви гусеницы определить правильность ее натяжения (верхняя ветвь должна лежать на четырех опорных катках, не касаясь первого и шестого катков).
4. Если гусеница натянута недостаточно, следует открыть люк на кормовом листе, снять стопор 1 (рис. 35) натяжного винта 2 и ключом вращать винт 2 по ходу часовой стрелки до нормального натяжения гусеницы. Для ослабления натяжения вращать винт 2 в противоположную сторону.
5. Если винт натяжного устройства завинчен до отказа, а гусеница не натянута, необходимо удалить один трак.
П р и м е ч а н и е . За период эксплуатации допускается удалять не более 10 траков. Гусеницы, имеющие 98 траков в каждой, подлежат замене. Удаляемые из гусеницы траки используются как запасные для замены дефектных.
85
Рис. 35. Регулировка натяжения гусеницы транспортера-тягачаМТ-ЛБ (МТ-Л):
1 – стопор; 2 – натяжной винт
Заменять дефектные траки новыми, не бывшими в эксплуатации, не рекомендуется, так как вследствие разности шага новых и бывших в эксплуатации траков возможно нарушение зацепления.
Заменять трак следует на участке между ведущим колесом и первым опорным катком в нижней ветви в следующем порядке:
— ослабить натяжение гусеницы (см. п. 4);— перемещением транспортера-тягача вывести трак, подлежащий
удалению, на наклонную нижнюю ветвь между ведущим колесом и первым опорным катком;
— затормозить вторую гусеницу;— на первой передаче кратковременным включением главного
фрикциона натянуть верхнюю ветвь гусеницы с траком, подлежащим удалению (замене), и заглушить двигатель;
— выбить пальцы и удалить (заменить) трак, после чего расклепать пальцы;
— проверить натяжение гусеницы, при необходимости отрегу-лировать (см. пп. 3 и 4).
6. При разрыве (замене) гусеница надевается в такой последо-вательности (при этом вторая гусеница должна быть надета):
— разостлать гусеницу так, чтобы траки были направлены шестью проушинами вперед (по ходу транспортера-тягача);
— своим ходом (с помощью второй гусеницы) наехать на разостланную гусеницу так, чтобы впереди переднего катка оставалось два-три трака;»
— пользуясь натяжным устройством, поставить направляющее колесо в крайнее переднее положение;
— надеть верхнюю ветвь гусеницы на направляющее колесо, опорные катки и ведущее колесо (при надевании верхней ветви гусеницы на ведущее колесо или при снятии ее с ведущего колеса необходимо поддерживать крайний трак гусеницы, чтобы не повредить кожух гидроамортизатора);
— выключить главный фрикцион, пустить двигатель, включить первую передачу, затормозить соединенную гусеницу, поставив рычаг управления во второе положение;
— плавным включением главного фрикциона на малых оборотах натянуть верхнюю ветвь несоединенной гусеницы и в таком положении затормозить ее;
— соединить пальцем концы гусеницы так, чтобы головка пальца находилась с наружной стороны гусеницы;
— проверить правильность и при необходимости отрегулировать натяжение гусеницы, как указано в п. 4.
86
ПРИЛОЖЕНИЕ 1
ВЕДОМОСТЬ УКЛАДКИ ИНДИВИДУАЛЬНОГО (ВОЗИМОГО) КОМПЛЕКТА ЗАПАСНЫХ ЧАСТЕЙ, ИНСТРУМЕНТА И ПРИНАДЛЕЖНОСТЕЙ
№ детали, узла Наименование Коли-чество
Место крепления или укладки
I. Инструмент, принадлежности и запасные части,укладываемые в транспортере-тягаче
5.61.033 Огнетушитель ОУ-2 1 Справа на кожухе кардана
6.61.032 Рукоятка редуктора подогревателя
1 На панели за сиденьем водителя
6.61.024 Укрывочный брезент 1 На моторном люке5.61.199 Веревка 1 Заправлена в отверстии
укрывочного брезента5.61.037-2 Пенал для укладки ЗИП
электрооборудования1 Отсек трансмиссии
6.61.019 Ящик для инструмента 1 То же5.61.271 Табличка предупредительная 1 Карман спинки водителя5.61.272 То же 1 То же5.61.273 То же 1 То же- Щетки стеклоочистителя 2 На окнах6.61.101 Ключ запора 1 Карман спинки сиденья
водителя6.61.017-1 Щиток гидродинамический
правый1 На крышке корпуса
6.61.016-1 Щиток гидродинамический левый
1 То же
6.61.018 Щиток дополнительный 2 »6.61.025 Ограждение радиатора 1 »6.61.060 Ремень крепления
гидродинамических щитков2 На месте укладки
гидродинамических щитков
6.61.055 Чехол в сборе 1 На стволе ПКТ6.61.030 Ремень крепления ограждения
радиатора2 На месте укладки
ограждения радиатора8.61.038 Шнур резиновый крепления
бидона 10-л и антенны3 В отсеке трансмиссии
6.61.034 Шнур резиновый крепления питьевого бачка
1 На панели ограждения главной передачи
6.61.035 Шнур резиновый крепления коробки ПКТ
1 В кабине на правом борту
87
Продолжение
№ детали, узла Наименование Коли-чество
Место крепления или укладки
8.61.037 Шнур резиновый крепления ящика с ЗИП ДП-3
1 На правом подкрылке
6.61.063 Шнур резиновый крепления сумки для документов и нагнетателя
1 На передней панели двигателя
8.61.036 Шнур резиновый крепления сумки для документов
1 В отсеке трансмиссии
8.61.035 Шнур резиновый крепления прибора ТВН-2Б
2 На панели двигателя в проходе
6.61.033 Шнур резиновый крепления ведра, коробки ПКТ и шлемофонов
5 1 – на люке трансмиссионного отсека;1 – в кабине перед сиденьем командира;1 – на левом подкрылке;1 – на правом подкрылке;1 – на перегородке в кузове
236-1307170 Ремень привода водяного насоса
1 Установлен на двигателе
6.61.062 Сумка для укладки документов, в которой уложено:
1 На передней панели двигателя
6-В37-67 ведомость укладки одиночного комплекта ЗИП
1
инструкция по эксплуатации машины
1
техническое описание машины
1
236-3902150А двигатели ЯМЗ-236, ЯМЗ-238 инструкция по эксплуатации
1 В папке для техдокументов
236-3902050 паспорт на двигатель 1214Т-3902059 пакет для технической
документации1
формуляр машины 1 краткие правила эксплуатации и ухода за аккумуляторными батареями 12-СТ-70
1
паспорт-инструкция на огнетушитель ОУ-2
1
88
Продолжение
№ детали, узла Наименование Коли-чество
Место крепления или укладки
запасная мембрана огнетушителя ОУ-2
1 Заклеена в паспорте огнетушителя
отопительно — вентиляционная установка ОВ-65 инструкции по эксплуатации
1
паспорт переговорного устройства типа Р-124
1
техническое описание и инструкция по эксплуатации ТПУ типа Р-124
1
паспорт ПП-61Б 1 описание ПП-61Б 1 формуляр ПКТ 1 памятка по обращению с ПКТ
1
формуляр на изделие ТКБ-01
1
краткое описание установки ТКБ-01
1
II. Инструмент, принадлежности и запасные части,укладываемые в ящике № 37УС
236-390155262 Сумма инструментальная в сборе, в которой уложено:
1 Инструментальный ящик в носовой части
И7Д-3901000 отвертка В175х0,7мм 1ИП-3901026В ключ гаечный
двухсторонний 10х12 мм1
ИП-3901033В ключ гаечный двухсторонний 14х17 мм
1
236-3901520 ключ гаечный двухсторонний 24х27 мм
1
236-3901510 ключ торцовый 10 мм 1ИП-3901049Г ключ гаечный
двухсторонний 32х36 мм1
М204А-3901506 ключ гаечный односторонний 32 мм
1
236-3901050 головка торцового ключа 1200-39015785 ключ торцовый 24 мм 1200-3901550А2 щуп для проверки
зазоров1
Ф-079-А плоскогубцы автомобильные
1
236-3901569 ломик для проворачивания
1
89
коленчатого валаПродолжение
№ детали, узла Наименование Коли-чество
Место крепления или укладки
236-3901508 ключ торцовый 12 мм 1236-3901588 вороток 1236-3901494 ключ накидной 19 мм 18.61.190 щуп для замера зазоров
между роликом и кулаком1
5.61.201 щуп для замера зазоров между лентами и тормозными барабанами
1
236-3901210 Съемник форсунки в сборе 18.61.060 Сумка для инструмента, в
которой уложено:1 Инструментальный ящик в
отсеке трансмиссииА5-61.275 вороток 1В.61.175 стержень выставки
рычагов и поводков1
А5-61.420 насадка к шприцу для смазки карданов
1
А5-61.422 ключ торцовый 19х22 мм
1
ИТ-022 пассатижи 1ИТ-003А ключ специальный
разводной1
ИТ-004 зубило 1ИТ-005 бородок 1ИТ-006А отвертка специальная
большая1
ИТ-122А ключ гаечный двухсторонний 12х14 мм
1
ИТ-106А ключ гаечный двухсторонний 17х19 мм
1
ИТ-109А ключ гаечный двухсторонний 22х24 мм
1
ИТ-111А ключ гаечный двухсторонний 27х30 мм
1
ИТ-120А ключ гаечный двухсторонний 8х10 мм
1
ИТ-141 ключ торцовый 14х17 мм
1
5.61.312-1 ключ торцовый 12 мм 18.61.110 Наставка для расклепки
пальцев гусеницы1 Инструментальный ящик на
кормовом люке8.61.118 Стержень для выбивания
пальцев гусеницы1 То же
8.61.022 Выколотка пальцев гусеницы
1 »
8.61.107 Ключ торцовый гайки радиатора
1 »
8.61.111 Ключ крышки торсионов 1 »
90
Продолжение
№ детали, узла Наименование Коли-чество
Место крепления или укладки
6.61.101 Ключ запора 2 Инструментальный ящик под карданом
ИТ-148 Ключ торцовый 32 мм 1 Инструментальный ящик в трансмиссионном отсеке
А49-32 Ручка гаечных ключей 1 Инструментальный ящик на кормовом люке
5.61.086-1 Ключ к пробкам картера бортовой передачи и топливных баков
1 То же
5.61.090 Напильник с ручкой 1 Инструментальный ящик в трансмиссионном отсеке
5.61.202 Линейка стальная 300 мм обвернутая в промасленную бумагу
1 Инструментальный ящик под карданом
5.61.310 Вороток 1 Инструментальный ящик на кормовом люке
А9.61.295-1 Ключ торцовый к гайке оси направляющего колеса
1 То же
6.61.129 Ключ паровоздушного клапана
1 »
746-99-380 Ключ к гайке катка и ленивца
1 Инструментальный ящик на кормовом люке
ИТ-001 Молоток слесарный 1 Инструментальный ящик под карданом
75.49.111 Шприц рычажно-плунжерный для смазки в сборе
1 Инструментальный ящик на кормовом люке
ИТ-115А Ключ гаечный двухсторонний 41х46 мм
1 То же
ИТ-145 Ключ торцовый 24 мм 1 »ИТ-147 Ключ торцовый 27 мм 1 »5.61.107 Коврик-подстилка 1 Между правым топливным
баком и бортом5.50.162-1 Лампа переносная 1 Ящик в Каракасе сиденья
водителя5.61.027-1 Ведро 8-л, в которое
уложено (для транспортировки):
1 На крышке трансмиссионного люка
5.61.067 шланг для заправки топлива
1 В ведре
А5.61-028-1 воронка для заправки топлива
1 То же
5.61.029 воронка вставная с сеткой
1 »
А5.61.410 насадок воронки 1 »Трубка поливинилхлоридная, маслобензостойкая диаметром 12 мм
2 Инструментальный ящик в носовой части
91
Продолжение
№ детали, узла Наименование Коли-чество
Место крепления или укладки
6.61.037 Тяга для крепления прибора ТВН-2Б
2 Уложены в ящик ТВН-2Б на месте эксплуатации
6.61.038 Наставка для крепления прибора ТВН-2Б
1 То же
201-1306010Б2(ТС6-1306010-А)
Термостат системы охлаждения
2 »
6.47.051 Рамка в сборе 2 »5.61.026 Бачок питьевой, в который
уложено (для транспортировки):
1 На панели ограждения главной передачи
5.61.352 пломба штампованная 6 Пенал электрооборудования лента изоляционная 100 г То же нитки № 1 или № 3 30 г »
14.23.149 центробежная направляющая
1 »
14.23.150 сопло 1 »А5.50.030-2А свеча накала 1 »А5.50.174-1 лампа А24-1 8 »А5.50.316-1 лампа А24-21 4 »А5.50.317.1 лампа А24-3 9 »А5.50.328-1 лампа А24-60+40 3 »8.50.322 лампа А24-32+4 3 »8.50.067 вставка плавкая150А 4 Пенал электрооборудования8.50.283 предохранитель на 5А 2 »8.05.111 сальник вала водяного
насоса1 »
8.05.112 Пружина сальника водяного насоса
1 Установлена на сальнике
ЗИП Р-124, в комплект которого входят:
Пенал электрооборудования
ВП-1-1-05а предохранители 324-2904142 колпачок пресмасленки 25.61.026 Бачок питьевой, в который
уложено (для транспортировки):
1 На правом подкрылке
РСЛ-Э5.10М1Б шкурка шлифовальная 200х200 мм
1 Инструментальный ящик в носовой части
РСЛ-Э5.25М1Б шкурка шлифовальная 200х200мм
1 То же
А5.61.405 салфетка 2 Карман спинки водителяЗИП ОВ-65, в комплект которого входит:
1 компле
ктОВ65-0825 свеча накаливания СР-65 2ОВ65-2009 контрольная спираль 3ОВ65-235 щетки электрического
двигателя МЭ-651
комплект
ОВ65-0323 штуцер отводящий 192
Продолжение
№ детали, узла Наименование Коли-чество
Место крепления или укладки
ОВ65-0324 прокладка штуцера отводящего
2
ОВ65-0322 прокладка штуцера отводящего
2
ОВ65-0340 трубка топливного насоса
1
ОВ65-1101 конус муфты ведущий в сборе
1
ОБ65-0104 шнур асбестовый диаметром 3 мм ГОСТ 1779-55
0,5 м
66-13105 винт М4х6, 5 мм 10240817-1151 шуруп по металлу 10ОВ65-2610-Б контрольная лампа
СМЗО-288, 0,17 а; 1
цоколь 1ш-9 15.61.044-1 Сумка для нормалей и
фильтрующего полотна в которой уложено:
1 Инструментальный ящик в носовой части
8.02.173Р серьга 18.03.158 болт поворотного
угольника1
8.03.159 То же 18.07.170 шайба 28.10.706-1 болт М12х1,25 мм 108.12.303-1 болт М14 48.21.121 палец 108.22.147 палец стопорный 28.23.101 палец длинный 28.23.165 палец соединительный 28.32.166 шплинт диаметром 4 мм,
длиной 90 мм5
6.47.111 болт М14х1,5 мм 46.47.117 болт 25.11.155 пробка заправочных
отверстий картера бортовой передачи
2
5.23.133 пружина для оттяжки тормозных лент
2
14.18.145 шайба 116.006 То же 216_173А прокладка 98.40.225 болт М14 2БНП-М6х12Ц9Хр болт 20БНП-М6 х16Ц9Хр То же 4БНП-М8 х12Ц9Хр » 5БНП-М8 х16Ц9Хр » 4БНП-М8 х20Ц9Хр » 10БНП-М8 х25Ц9Хр » 8БНП-М10 х16Ц9Хр » 4БНП-М10 х20Ц9Хр » 5БНП-М10 х25Ц9Хр » 4
93
Продолжение
№ детали, узла Наименование Коли-чество
Место крепления или укладки
БНП-М10 х30Ц9Хр » 2БНП-М10 х35Ц9Хр » 5БНП-М10 х45Ц9Хр » 2ВУ-М12 х35Ц9Хр винт установочный 5Г-М4Ц12Хр гайка 20ГПШ-М6Ц12Хр гайка 4ГПШ-М8Ц12Хр » 5ГПШ-М8М12 » 10ГПШ-М10Ц12Хр » 5ГПШ-М10М12 » 10ГПШ-М12Ц12Хр » 10ГПШ-М14Ц12Хр » 5ГПШ-М16Ц12Хр » 2ШШ-9 шайба штамповочная 5ШГН-6 шайба пружинная 5ШГН-8 То же 5ШГН-10 » 5ШГТ-12 » 5ШГТ-14 » 6ШГТ-16 » 2Ш-1,5х12 Хим.Окс. шплинт 6Ш-2,5х15 Хим.Окс. » 10Ш-3х20 Хим.Окс. » 15Ш-4х30 Хим.Окс. » 5М1-А1 масленка 2МП-А-45 или МШ-А1-45
» 2
МП-А О или МШ-А1-90
» 2
МШ-А1-90312557-П2
шайба замковая диаметром 16 мм шатунного болта
4
258027-П29С шплинт диаметром 2,2 мм, длиной 20 мм Н369-54
10
312471-П шайба форсунки уплотнительная
8
561044-1 Сумка для нормалей и фильтрующего полотна, в которой уложено:
1 Инструментальный ящик в носовой части
201-1012083 прокладка колпака масляного фильтра предварительной очистки
1
236-1017246 кольцо уплотнительное колпака ротора фильтра центробежной очистки масла
1
236-1307035 кольцо упорное сальника водяного насоса
1
94
Продолжение
№ детали, узла Наименование Коли-чество
Место крепления или укладки
8.02.163 кольцо уплотнительное 28.02.196 прокладка 18.03.169 прокладка фибровая 108.03.170 прокладка фибровая 68.32.117 диафрагма опорного
катка1
8.03.180-А прокладка 18.04.126 прокладка асбостальная 28.04.128 прокладка асбостальная 55.61.102-А полотно для фильтрации
топлива1 В кармане
8.05.187 б/ч шнур асбестовый диаметром 5х2000 (ГОСТ 1779-55)
1 То же
5.61.044-1 Сумка для нормалей и фильтрующего полотна, в которой уложено:
1 Инструментальный ящик в носовой части
8.02.189 шланг диаметром 51мм, длиной 70мм
1
8.02.190 шланг диаметром 10мм, длиной 60мм
2
8.03.113 шланг диаметром 42х5,5мм, длиной 75мм
1
8.03.114 шланг диаметром 14х4мм, длиной 65мм
1
8.03.261 шланг диаметром 12х3,5мм, длиной 65мм
2
А5.04.138 шланг диаметром 27х14,5мм, длиной 75мм
1
5.03.155 шланг диаметром 32х7,5мм, длиной 66мм
2
5.04.130-А шланг диаметром 18х4,5мм, длиной 70мм
2
ХС-18 хомутик 5ХСВ-26 хомутик винтовой 6ХСВ-35 То же 2ХСВ-43 » 6ХСВ-52 » 58.02.158 Ремень привода
вентилятора2 Инструментальный ящик в
носовой части8.24.153 Ремень привода
компрессора1 То же
8.84.121-1 Ремень 1-11х10х950 привода генератора
2 »
ПЖ-16х4000 Проволока 1 »ПЖ-2х1000 » 1 »74.45.088 Зеркало заднего вида 1 На кронштейне6.24.240 Шланг диаметром 14х5мм,
длиной 65мм1 Инструментальный ящик в
носовой части236-1104308-Б Трубка топливная насоса
высокого давления в сборе3 То же
95
Продолжение
№ детали, узла Наименование Коли-чество
Место крепления или укладки
238НБ-1307170 Ремень привода компрессора
1 Инструментальный ящик в носовой части
238-3906018 Детали эксплуатационного комплекта запасных частей топливной аппаратуры
1 компле
кт236-1112010 Форсунка в сборе 2
ЗИП ПКТ 1 компле
кт
Инструментальный ящик под карданом
ЗИП ПП-61Б 1 компле
кт
В сумке ЗИП ПКТ
Комплект деталей и крепежа для установки спецоборудования
Завернуто в промасленную бумагу и уложено в сумку для нормалей
6.52.125 провод 1БНП-М6х25Ц9Хр болт 6БНП-М8х20Ц9Хр болт 7ШГН-8 шайба 7В2-М5х30Ц9Хр винт 6
III. Инструмент, принадлежности и запасные части,укладываемые в ящик № 38УС
5.61.084-1 Пила поперечная 1 На крышке трансмиссионного люка
5.61.087 Лопата саперная 1 То же5.61.089 Топор 1 На крышке
трансмиссионного люка5.61.304 Лом ЛО-28 (ГОСТ 1405-65) 1 На правом борту
платформы8.61.021 Трос буксирный 2 По бортам машины8.61.020 Приспособление для
самовытаскивания2 В правом углу кормы
5.61.031 Серьга соединительная 1 В корме5.61.032 Серьга промежуточная 1 То же5.61.088 Кувалда 1 На левом кормовом люке8.34.201 Звено гусеницы 2 Слева на крыше корпуса8.34.205 Палец звена гусеницы 10 2 – на крыше корпуса; 8 – в
инструментальном ящике на кормовом люке
238-10032108 Прокладка головки цилиндров
2 (Закреплены на крышке ящика)
8.61.063 Рукоятка к стержню для выбивания пальцев гусеницы
1 Инструментальный ящик в носовой части
96
Продолжение
№ детали, узла Наименование Коли-чество
Место крепления или укладки
IV. Инструмент, принадлежности и запасные части, укладываемыев ящик № 40УС
6.61.011-1 Удлинитель трубы 1 Трансмиссионный отсек
6.82.020 Перископический прибор ТНПО-170
1 На правом подкрылке
6.82.022 Перископический прибор 54.36.5. сб. Б.М.
1 На наклонном листе справа
6.61.179 Шлемофон 3 1 – на правом подкрылке;
1 – на левом подкрылке;
1 – на перегородке в кузове
6.61.187 (ЖФЗ.602.026)
Переключатель нагрудный 3 По одному в каждом шлемофоне
6.61.061 Насадок газоотводящей трубы
1
6.61.193-А Прокладка 1 Применяется для обвертывания узлов 6.82.020 и 6.82.022
8.60.124 Добавочный почвозацеп 24Инструментальный ящик на
кормовом люкеГПШ-М16Ц12Хр Гайка 24
ШГТ-16 Шайба пружинная 24
V. Инструмент, принадлежности и запасные части, укладываемыев ящик № 48УС
54.49.023-А Нагнетатель для масла 1 Трансмиссионный отсек
А5.61.080-1 Бидон запасной 10-л (ГОСТ 5105-66)
1 То же
А5.61.098 Бидон запасной на 20-л (ГОСТ 5105-66)
1 Между шахтой выпуска и нижним левым баком
54.49.047-А Футляр санитарной аптечки 1 На панели кулисы
8.61.012 Ремень крепления бидона 20-л, ИДК-1 и укрывочного брезента
3 1 – на месте установки бидона;
20-л и ИДК;
2 – на месте укладки брезента
А5.61.373 Веревка для увязки ящиков 2 На спинке левого сиденья
97
Продолжение
№ детали, узла Наименование Коли-чество
Место крепления или укладки
VI. Комплект деталей и крепежа для установки дизометрического прибораи ТВН-2Б
6.50.204 Скоба 2 Детали и крепеж обвернуты промасленной бумагой и уложены в инструментальном ящике в носовой части
8.61.153 Планка 2БНП-М6х12Ц9Хр Болт 2БНП-М6х16Ц9Хр » 32-М5-12Ц9Хр Винт 4ГПШ-М5Ц12Хр Гайка 4ГПШ-М6Ц12Хр » 3ШГН-5 Шайба 4ШГН-6 » 5ШШ-5 Хим. Окс. » 45.24.220 Скоба 2 Обвернуты промасленной
бумагой и уложены в сумку для нормалей
98
ПРИЛОЖЕНИЕ 2
ОСНОВНЫЕ ДАННЫЕ ДЛЯ РЕГУЛИРОВКИ И КОНТРОЛЯ, мм
Зазор между клапанами и коромыслами толкателей на холодномдвигателе…………………………………………………………………………………………………………….0,25 – 0,3Прогиб ремней привода:вентилятора, от нажатия на верхней ветви с усилием 4 кгс……………………………………8 – 14водяного насоса, от нажатия с усилием 3 кгс ……………………………………………………….10 – 15генератора, от нажатия на короткой ветви с усилием 3 кгс …………………………………..10 – 12компрессора, от нажатия на середине ветви с усилием 3 кгс ………………………………..5 – 8Зазор между штифтом рычага регулятора топливного насосаи торцом болта ограничения максимальных оборотов…………………………………………..0 – 1,2Ход педали сцепления (по перемещению тяги сцепления):свободный …………………………………………………………………………………………………………..6,5 – 8полный ……………………………………………………………………………………………………………….36 – 39Полный ход педали остановочного тормоза (по перемещению тягитормоза) ……………………………………………………………………………………………………………..35 – 43Зазор между тормозными колодками и тормозными барабанами механизмаповорота ……………………………………………………………………………………………………………..1,5 – 2Зазор между тормозными колодками и барабанами остановочныхтормозов ……………………………………………………………………………………………………………..1,5 – 2,5Зазор между кулаком мостика управления и роликом рычагатормоза при затянутом тормозе механизма поворота ……………………………………………2 – 3Свободный ход поводков выключения фрикционов механизмовповорота при подключенной тяге…………………………………………………………………………7 — 9
99
100
101
Рис.
36
Схе
ма с
мазк
и тр
ансп
орте
ра-т
ягач
а М
Т-Л
Б
102
Рис.
37
Схе
ма с
мазк
и тр
ансп
орте
ра-т
ягач
а М
Т-Л
103
104
105
106
107
108
109
110
111
112
113
ПРИЛОЖЕНИЕ 4
ЕМКОСТНЫЕ ДАННЫЕ
Транспортер-тягачМТ-ЛБ МТ-Л
Топливная система 520 550Правая группа баков 260 272Левая группа баков 260 278Система смазки двигателя 32Система охлаждения 55Бачок топливной системы подогрева 5Бидон запасной с маслом (канистра) 10Главная передача 10Масляный бак главной передачи 11Лебедка (картер) — 7,6Бортовая передача (две) 1,7 каждаяСтупицы направляющих колес (две) 0,5 каждаяСтупицы опорных катков (двенадцать) 0,55 каждаяГидроамортизатор (черыре) 0,9 каждыйПромежуточный редуктор 0,6Реверс-редуктор лебедки — 1,1Редуктор подогревателя 0,10Редуктор вентилятора 0,20Топливный насос 0,20Картер регулятора топливного насоса 0,15
114
СОДЕРЖАНИЕСтр.
Введение …………………………………………………………………………………………………. 3Техническое обслуживание……………………………………………………………………. 7
Контрольный осмотр транспортера-тягача перед выходом из парка…………………………………………………………………………………………………
Контрольный осмотр транспортера-тягача в пути (на привалах и остановках)……………………………………………………………………………………………. 9
Ежедневное техническое обслуживание……………………………………………10Техническое обслуживание № 1……………………………………………………….14Техническое обслуживание № 2……………………………………………………….16Дополнительные работы, проводимые один раз в месяц (в
парковые дни)…………………………………………………………………………………………..19Дополнительные работы, проводимые при переводе
транспортеров- тягачей .на сезонную эксплуатацию………………………………….Консервация транспортера-тягача…………………………………………………………22
Общие положения……………………………………………………………………………Подготовка транспортера-тягача к кратковременной
консервации……………………………………………………………………………………………..24Подготовка транспортера-тягача к длительной консервации……………..28Обслуживание транспортера-тягача, находящегося в
консервации, проводимое один раз в месяц………………………………………………34Обслуживание транспортера-тягача, находящегося в
консервации, проводимое один раз в шесть месяцев………………………………….Обслуживание транспортера-тягача, находящегося в
консервации, проводимое один раз в год……………………………………………………35Снятие транспортера-тягача с консервации………………………………………
Технологические карты………………………………………………………………………….37Технологическая карта № 1. Промывка топливного фильтра
грубой (предварительной) очистки……………………………………………………………Технологическая карта № 2. Промывка топливного фильтра
тонкой очистки…………………………………………………………………………………………38Технологическая карта № 3. Промывка топливных баков………………….39Технологическая карта № 4. Промывка фильтра грубой
очистки масла…………………………………………………………………………………………..43Технологическая карта № 5, Промывка фильтра
центробежной (тон кой) очистки масла……………………………………………………..44Технологическая карта № 6. Замена масла и промывка
системы смазки двигателя…………………………………………………………………………45Технологическая карта № 7, Очистка и промывка
воздухоочистителя……………………………………………………………………………………46Технологическая карта № 8. Проверка и регулировка
натяжения ремней привода генератора………………………………………………………48
115
Технологическая карта № 9. Проверка и регулировка натяжения ремня привода водяного насоса………………………………………………..49
Технологическая карта № 10. Проверка и регулировка натяжения ремня привода компрессора…………………………………………………….. 50
Технологическая карта № 11. Проверка и регулировка натяжения ремней привода вентилятора…………………………………………………… 51
Технологическая карта № 12. Регулировка зазоров клапанного механизма транспортера-тягача МТ-ЛБ…………………………………………………….. 52
Технологическая карта № 13. Проверка и регулировка угла опережения впрыска топлива……………………………………………………………………. 53
Технологическая карта № 14. Снятие и установка топливного насоса высокого давления на двигатель……………………………………………………. 56
Технологическая карта № 15. Снятие и установка форсунок на двигатель…………………………………………………………………………………………………. 58
Технологическая карта № 16. Регулировка привода управления двигателем…………………………………………………………………………….. 59
Технологическая карта № 17. Регулировка привода управления коробкой передач…………………………………………………………………… 64
Технологическая карта № 18. Регулировка педали главного фрикциона и педали остановочного тормоза…………………………………………….. 66
Технологическая карта № 19. Регулировка остановочных тормозов………………………………………………………………………………………………….. 71
Технологическая карта № 20. Регулировка рычагов управления………………………………………………………………………………………………. 72
Технологическая карта № 21. Регулировка свободного хода хвостовика поводковой коробки фрикциона механизма поворота……………… 74
Технологическая карта № 22. Регулировка фрикционов механизма поворота…………………………………………………………………………………. 75
Технологическая карта № 23. Регулировка зазора между роликом рычага тормоза механизма поворота и впадиной кулака……………… 76
Технологическая карта № 24. Регулировка приводов остановочных тормозов …………………………………………………………………………… 78
Технологическая карта № 25. Регулировка натяжения гусениц………… 79
П р и л о ж е н и я :1. Ведомость укладки индивидуального (возимого) комплекта
запасных частей, инструмента и принадлежностей……………………………………. 822. Основные данные для регулировки и контроля…………………………….. 943. Таблица смазки транспортера тягача МТ-ЛБ (МТ-Л)……………………. 954. Емкостные данные……………………………………………………………………….109
116
Под наблюдением редактора Голощапова И.М.Технический редактор Соколова Г.Ф.Корректор Кобрина Н.Г.
Г-80654 Сдано в набор 29.1.71 Подписано к печати 28.4.71
Формат бумаги 60х90 1/16 Печ. л. 7 (усл. печ. л. 7)
Изд. № 5/4582 Бесплатно Зак. 379
Ордена Трудового ЗнамениВоенное издательство Министерства обороны СССР
Москва, К-1602-я типография Воениздата
Ленинград, Д-65, Дворцовая пл., 10.117
Бесплатно
МИНИСТЕРСТВО ОБОРОНЫ СССР ЛЕГКИЙ МНОГОЦЕЛЕВОЙ ГУСЕНИЧНЫЙ ТРАНСПОРТЕР-ТЯГАЧ МТ-ЛБ ТЕХНИЧЕСКОЕ ОПИСАНИЕ И ИНСТРУКЦИЯ ПО ЭКСПЛУАТАЦИИ
МИНИСТЕРСТВО ОБОРОНЫ СССР ГЛАВНОЕ АВТОМОБИЛЬНОЕ УПРАВЛЕНИЕ Suvorov AV 63-64@mail.ru для http://www.russianajsms.ru ЛЕГКИЙ МНОГОЦЕЛЕВОЙ ГУСЕНИЧНЫЙ ТРАНСПОРТЕР-ТЯГАЧ МТ-ЛБ ТЕХНИЧЕСКОЕ ОПИСАНИЕ И ИНСТРУКЦИЯ ПО ЭКСПЛУАТАЦИИ 6.00.001ТО 4-е издание, дополненное МОСКВА ВОЕННОЕ ИЗДАТЕЛЬСТВО 1985
Настоящие Техническое описание и Инструкция по эксплуатации легкого многоцелевого гусеничного транспортера-тягача МТ-ЛБ и его модификаций разработаны заводом-нзготовнтелем по состоянию технической документации на август 1984 г. В тексте могут отсутствовать указания на конструктивные изменения, не влияющие на эксплуатационные характеристики транспортеров-тягачей.
ВВЕДЕНИЕ Настоящие Техническое описание и Инструкция по эксплуатации предназначены для личного состава и служат руководством при эксплуатации легкого многоцелевого гусеничного транспортера-тягача МТ-ЛБ* и его модификаций—МТ-ЛБВ, МТ-ЛБ с оборудованием для самоокапывания, МТ-ЛБВМ, модификаций 32, 35 и 49. Они содержат описание конструкции и работы механизмов перечисленных транспортеров и модификаций, правила хранения и эксплуатации, виды технического обслуживания и методы его проведения, перечень характерных неисправностей и методы их устранения, а также указания по применению специальных приспособлений при техническом обслуживании и ремонте. Правильная эксплуатация транспортеров зависит от степени знания личным составом материальной части, правил технического обслуживания и хранения, а также от степени усвоения водителями правил и техники вождения. Правильное и своевременное техническое обслуживание транспортеров обеспечивает их постоянную готовность, безотказную и длительную работу без ремонта при минимальных расходах горючего, смазочных и других эксплуатационных материалов. Правильная организация хранения обеспечивает длительную сохранность и постоянную готовность транспортеров к использованию. При изучении конструкции и правил эксплуатации помимо настоящих Технического описания и Инструкции по эксплуатации следует пользоваться эксплуатационной документацией, прикладываемой к каждому транспортеру и его модификации согласно Ведомости эксплуатационных документов. В тексте настоящего издания приняты следующие условные сокращения: ФВУ — фильтровентиляционная установка ТНВД — топливный насос высокого давления » МП — механизм поворота ПМП — планетарный механизм поворота * Далее в тексте будет именоваться сокращенно «транспортер».
КО — контрольный осмотр ЕТО — ежедневное техническое обслуживание ТО-1—техническое обслуживание № 1 ТО-2 — » * » № 2 СО — сезонное техническое обслуживание ЗИП — запасные части, инструмент и принадлежности Закр. — закрыто Откр. — открыто Вкл. — включено Выкл. — выключено Откл. — отключено
ТЕХНИЧЕСКОЕ ОПИСАНИЕ 1. ОБЩЕЕ ОПИСАНИЕ ТРАНСПОРТЕРОВ Основной конструкцией является транспортер МТ-ЛБ, а модификации созданы на базе этого унифицированного шестикаткового шасси с максимальным использованием узлов’силовой установки, трансмиссии, ходовой части и оборудования. Основные части транспортера: корпус, силовая установка, трансмиссия, ходовая часть и оборудование. Силовая установка состоит из двигателя и его систем охлаждения, подогрева, смазки, питания топливом, питания воздухом и выпуска отработавших газов. Трансмиссия состоит из сцепления, промежуточного редуктора, центрального карданного вала, главной передачи и бортовых передач. Ходовая часть состоит из двух ведущих колес, двух направляющих колес с натяжными устройствами, двух гусениц, двенадцати опорных катков и четырех гидроамортизаторов. К особенностям компоновки шестикатковых шасси относятся переднее расположение ведущих колес и узлов трансмиссии, продольное расположение двигателя в средней части корпуса и заднее расположение грузовой платформы. Особенности конструкции отдельных модификаций приведены в соответствующих разделах данного Технического описания.
2. НАЗНАЧЕНИЕ И ОБЩЕЕ ОПИСАНИЕ ЛЕГКОГО МНОГОЦЕЛЕВОГО ГУСЕНИЧНОГО ТРАНСПОРТЕРА МТ-ЛБ Транспортер МТ-ЛБ предназначен для буксирования систем и прицепов общей массой до 6,5 т, перевозки людей и грузов, монтажа различного оборудования и обеспечения других транспортных потребностей. Рассчитан на эксплуатацию и хранение на открытых площадках при температуре окружающего воздуха от плюс 45 до минус 45° С, в горных условиях на высоте не более 2000 м над уровнем моря, в брызгонесущей среде (дождь, снег) и при влажности воздуха 98% при' температуре плюс !5...25°С. В передней части корпуса размещены агрегаты трансмиссии, отделение управления и башенная установка ТКБ-01 1. Отделение управления отделено от трансмиссионного отделения перегородкой. В отделении управления установлены механизмы управления и два сиденья. Сиденье механика водителя расположено между главной передачей и двигателем с левой стороны от центрального карданного вала. Сиденье механика-водителя мягкое, регулируется по длине, высоте и наклону спинки. В средней части корпуса в специальном отделении размещен двигатель со всеми его агрегатами и системами. Вся остальная часть корпуса используется для размещения людей и груза. Отделение двигателя отделено от отделения управления и грузовой платформы теплошумоизоляционными перегородками. В отделении грузовой платформы установлено четыре топливных бака: два — на днище и два — в боковых полостях корпуса. Баки, расположенные на днище, имеют размеры и конфигурацию, позволяющие использовать их как сиденья (каждый па четыре человека). Для этого на баки укладываются поролоновые подушки. При перевозке грузов спинки сидений откидываются на баки и образуют опоры для груза. Для сообщения отделения управления с грузовой платформой с правой стороны от двигателя имеется проход, в котором размещены два откидных сиденья.
На транспортере устанавливаются отопитслыю-вептнляци-оппая установка, фильгровентиляционная установка, переговор- Рис. 1. Общин вид транспортера-тягача МТ-ЛБ ное устройство Р-124 и предусмотрены места для установки радиостанции Р-123М, приборов ТВН-2Б и ДП-ЗБ. Общий вид транспортера МТ-ЛБ показан на рис. 1.
3. ТАКТИКО-ТЕХНИЧЕСКАЯ ХАРАКТЕРИСТИКА ТРАНСПОРТЕРА МТ-ЛБ Основные технические данные Тип...................................... Быстроходный гусеничный, плавающий при номинальной Масса в рабочем" состоянии (без груза на платформе и экипажа, но с комплектом ЗИП и полной заправкой горючим и эксплуатационными материалами), кг Масса размещаемого оборудования и груза (грузоподъемность), кг: номинальная, при буксировке прицепов максимальная, при перевозке груза без прицепа................................... Масса буксируемого прицепа, кг, не более Количество посадочных мест, включая во- загрузке 9700 ±240 2000 2500 6500 дителя: в кабине .................................. 2 на платформе...................... Н Габаритные размеры, мм: длина . . .................................. 6399-6509 ширина по торцам звеньев гусениц: с открытым шарниром.................. 2820—2865 с закрытым » 2820—2860 высота............................ 1835—1890 Колея (расстояние между серединами гусениц), мм........................... 2500 База (расстояние между осями крайних опорных катков), мм..................... 3700 Дорожный просвет, мм................... 395—415 Координаты центра тяжести, мм: без водителя и груза на платформе: продольная (от оси ведущего колеса к корме)...................... 2270—2290
поперечная (от продольной оси транспортера влево).............. 1 —11 с водителем и грузом па платформе 2000 кг: продольная (от осп ведущего колеса к корме)......................... 2550—2600 поперечная (от продольной осп транспортера) ................... 0± 10 Среднее удельное давление с поминальным грузом на платформе па грунт (без учета погружения гусеницы), кгс/см2 0,45 Минимальный радиус поворота транспортера без прицепа (теоретический, по гусенице), м: на нейтрали............................... 1.25 на I передаче............................ 2,5 на II передаче............................ 7.5 на III передаче..................... 13 на IV передаче........................... 21,35 на V передаче........................... 29,3 на VI передаче........................... 38,6 на передаче заднего хода................... 3,9 Расчетное тяговое усилие на крюке по сцеплению (при коэффициенте сцепления гусениц с грунтом 0,8 и коэффициенте сопротивления движению 0,04), кге: -без груза на платформе................... 7448 с грузом па платформе..................... 8968 Скорости движения Расчетные скорости движения при 2100 об/мин коленчатого вала двигате- ля, км/ч: нормальная: на I передаче....................... 4 на II передаче...................... 12 на III передаче........................... 20,7 на IV передаче........................... 34,1 на V передаче............................. 16,8 на VI передаче............................ 61,5 на передаче заднего хода................... 6,3 замедленная: па II передаче...................... 8 на III передаче........................... 16,7 па IV передаче........................... 30,1 на V переделе.............. , . . . 42,8
па VI передаче..................... 57,5 па передаче заднего хода (ускоренной) 10,3 Максимальная скорость движения без прицепа при поминальной грузоподъемности, км/ч, не менее................... 60 Максимальная скорость при движении с прицепом на шоссе, км/ч, нс менее . . 45 Скорость движения на плаву с поминальной загрузкой, км/ч................... 5 6 Средняя скорость движения по сухой грунтовой дороге среднего качества с грузом па платформе и с прицепом, км/ч 26—32 Эксплуатационные данные (при движении по грунтовой дороге среднего качества) Средний расход топлива на 100 км пути, кг.................................... 90—110 Расход масла в системе смазки двигателя от расхода топлива, %, не более ... 2 Запас хода по топливу, км.............. 5С0 Преодолеваемые препятствия Максимальный угол подъема при движении по сухому задсрнспному грунту, град: с номинальным грузом па платформе и прицепом............................. 25 с номинальным грузом на платформе без прицепа........................ 35 Максимальный угол крена па сухом задер-ненпом грунте, град................... 25 Водные преграды: глубиной не более 1,2 м с твердым (не вязким) грунтом дна................. Вброд глубиной более 1,2 м с загрузкой, не превышающей номинальной грузоподъемности ........................ На плаву Угол входа в воду, град................ 20 Угол выхода из воды, град.............. *15 Высота волны при преодолении водной преграды, м. нс более: вброд .................................... 0,15 на плаву........................... 0,5 Время подготовки к плаву, мин, не более 20
Силовая установка Двигатель Модель, тип.......................... ЯМЗ-238В, четырехтактный с воспламенением от сжатия Число цилиндров............................. 8 Номинальная мощность, л. с................ 240 Номинальная частота вращения, об/мин 2100 Максимальный крутящий момент, кге-м 90 Частота вращения при максимальном крутящем моменте, об/мин, не более . . . 1500 Частота вращения коленчатого вала двигателя на холостом ходу, об/мин: минимальная.......................... 550—650 максимальная, не более........... 2275 Системы питания топливом и воздухом Топливные баки , .....................Четыре бака общей вместимостью 520 л Топливораспределительпый кран......... Трехштуцериый ' Ручной подкачивающий насос.........РНА-1Т крыльчато- го типа, двойного действия Воздушный фильтр......................Смешанного тина, состоит из двух ступеней очистки: первая ступень — сухая инерционная с автоматическим удалением пыли; вторая ступень — кассеты с проволочной набивкой, смоченной маслом Система смазки Тип .................................Под давлением и разбрызгиванием Давление в масляной системе: при номинальной частоте вращения коленчатого вала двигателя, кгс/см2 4—7 при минимальной частоте вращения коленчатого вала двигателя на холостом ходу, кгс/см2, не менее .... 1
Масляные фильтры......................Два, один — грубой очистки с фильтрующим элементом из металлической сетки; другой — тонкой очистки центробежный с реактивным приводом Масляный радиатор..................... Пластинчато- трубчатый Заправочная вместимость масляной системы, л.................................' 28 Указатель уровня масла................Стальная лента с метками; установлена в крышке шестерен распределения справа Система охлаждения Тип .................................. Водяной насос ........................ Вентилятор ........................... Закрытая, жидкостная, с принудительной циркуляцией Центробежный с клиноременным при-водОхМ от коленчатого вала Центробежный, расположен слева от двигателя Радиатор ................................ Пластинчато' трубчатый Температура охлаждающей жидкости в двигателе, °C: нормальная ....................... 75—98 максимально допустимая ........... 105 Заправочная вместимость системы охлаждения, л.............................1 55 Система подогрева Подогреватель............................. Типа ПЖД-44Л, жидкостный Тепловая производительность, ккал/ч . . 32000 Котел подогревателя.....................Сварной конструк- ции
Насосный агрегат......................Включает вентиля- тор, водяной и топливный насосы и электродвигатель Подача топлива ....................... Из топливного бач- ка к топливному насосу самотеком, затем под давлением к форсунке, расположенной в горелке котла Топливный бачок подогревателя............. Емкостью 3 л Расход топлива, кг/ч.................. 5—6 Воспламенение топлива.................Свечой накаливания Форсунка .............................ПЖД 30 1015610-17, центробежного типа Время прогрева двигателя до пусковых температур (температуры охлаждающей жидкости плюс 50—60°С) при температуре окружающего воздуха до минус 45°С, мин.......................... н 30 Трансмиссия Сцепление и промежуточный редуктор Тип сцепления ...... \ ...... Двухдисковое сухое, постоянно замкнутое Соединение с коленчатым валом двигателя ..................................... Жесткое Механизм выключения сцепления .... Упорный выжимной подшипник Привод’управтения сцеплением..........Механический, ры- чажный Промежуточный редуктор................Конический одно- ступенчатый с приводом отбора мощности на три потребителя Отбор мощности на водооткачивающий насос и другое дополнительное оборудование . .......................Через промежуточ- ный редуктор, установленный на одном валу со сцеплением Механизм включения отбора мощности Механический, рычажный
Главная передача Тип .................................Двухпоточная, объе- диняющая в одном агрегате коническую пару шестерен, ше-стискоростпую коробку передач и-пла-нстарпо-фрикцнон-ные механизмы поворота Коробка передач Число передач: нормальных ..........................Шесть передач впе- ред и одна назад замедленных.......................Пять передач вперед (II, III, IV, V, VI), передача заднего хода — ускоренная Управление коробкой передач..........Механическое, ры- чажное Система смазки главной передачи .... Под давлением и разбрызгиванием Давление в масляной системе, кгс/см2: при номинальной частоте вращения коленчатого зала двигателя .... 1,5—4,5 при минимальной частоте на холостом ходу, не менее................... 0,5 Масляный фильтр................ . . . Грубой очистки с металлическим пластинчатым фильтрующим элементом Масляный радиатор................- . . Пластинчато-труб- чатый Заправочная вместимость системы смазки главной передачи, л......................... 21 Механизм поворота Тип.................................. Планетарные передачи ................ Число сателлитов..................... Фрикционы ........................... Планетарно-фрикционный Две, одноступенчатые 3 Постоянно включенные, многодисковые, сухого трепня
Механизм выключения.................. Шариковый Тормоза механизма поворота...........Два. Плавающего типа, ленточные Диаметр тормозного барабана механизма поворота, мм......................... 250 Тормоза остановочные.................Два. Плавающего типа, ленточные Диаметр тормозного барабана остановочного тормоза, мм..................... 330 Привод управления остановочными тормозами ................................Механический — ры- чагами управления для поворота и торможения на стоянке, пневматический — от ножной педали для торможения машины и прицепа в движении Бортовые передачи Тип................................... Одноступенчатые •планетарные редукторы Передаточное число .................. 6 Ходовая часть Двйжитель Тип . -.................................. Гусеничный Тип зацепления............................. Цевочное Ведущие колеса: расположение ведущих колес .... Переднее число зубчатых венцов на ведущем ко- лесе ........................... .2 число зубьев па венце............. 15 Направляющие колеса: тип ..................................Неподрессоренные расположение .....................Заднее, на кривоши- пах радиус кривошипа, мм.............. 60 наружный диаметр колеса, мм ... . 510 уплотнение подшипников колеса . . . Торцовое и лабиринтное
Количество опорных катков ........... Опорный каток........................ По шесть па каждом борту Из алюминиевого сплава, сварной с обрезиненным обо- дом Наружный диаметр опорного катка, мм 670 Ширина обода катка, мм.................. 140 Уплотнение подшипников катка ..... Торцовое и лабиринтное Гусеницы: ' тип ................................ Мелкозвенчатые соединение траков...................Шарнирное, с по- мощью пальца грунтозацепы . . _....................Шевронного типа ширина трака, мм......................... 350 шаг трака, мм............................ 111 число траков в каждой новой гусенице 108 способ натяжения.....................Поворотом криво- шипа натяжным винтом Подвеска Гип..................................Независимая, торси- онная Амортизаторы подвесок................Четыре. Гидравли- ческие, двустороннего действия, телескопического типа; расположены по одному на балансирах передних и задних катков Ограничители хода катков.............Четыре. Упоры из спиральных пружин, по одному для балансиров передних н задних катков Число торсионных валов...................... 12 Корпус (рама, кабина, грузовая платформа) Корпус................................. Несущей конструк- ции, цельносварной из стальных листов. Герметизированный
Грузовая платформа.................. Закрытого типа Внутренние размеры грузовой платформы, мм.................................. 2605x1948x1150 Электрооборудование Система проводки .................... Напряжение в сети, В................. Однопроводная 24+,':f Источники электрической энергии Suvorov AV 63-64@mail.ru для http://www.russianarms.ru Аккумуляторные батареи ...............Две. Стартерные, 6СТ-140Р. Соединение батарей последовательное Генераторная установка Генератор .............................. Г-290В-О мощностью 3,75 кВт. Привод генератора клиноременный РР390-Б Реле-регулятор.......................... Потребители электрической энергии Электрический стартер ..................... Типа 25.3708 Электродвигатель подогревателя .... МЭ-252 Свеча накаливания подогревателя .... СН65-00-00 Электродвигатель отопителя................... МЭ-65В Свеча накаливания отопителя.................. СР-65А Электродвигатель вентилятора кабины . . МЭ-205 Электродвигатель нагнетателя........... ЭД-25 Электрический сигнал...................С-314Г, электромаг- нитный герметизированный Фары ..................................Две, ФГ-122Н с гер- метичным оптиче- ским элементом Светильники передние.................. Два, ГСТ-64-ЖЛ Светильники задние....................Четыре, ГСТ-64-КЛ Фара-прожектор ....................... ФГ-1611 Плафоны ..............................• Грп, ПК-201А Стеклоочистители...................... Два, СЛ-231Б Клапан электромагнитный с форсункой и электронагревателем топлива...........ПЖД-30-1015500-07
Обогревные стекла.................... Два, 6.000 Обогревные смотровые приборы............ТНПО-170А, три для водителя Переговорное устройство..............Р-124 на три точки Электрообогревиое стеклб башни .... СЭ 1.000 Вспомогательные приборы Выключатель батарей........................ ВБ-404 Выключатель звукового сигнала.............. ВК-322 Розетки ............................. Три, ШР-51 Штепсельный разъем прицепа................. ПС-300 Выключатель стартера....................... ВК-322 Выключатели плафонов и светильника КЛСТ-64......................... В-45 Выключатель свечи накаливания отопителя ВН-45М Переключатель режимов отопителя . . . П-300 Контактор включения стартера. ТКС-Ю1ДОД Центральный переключатель света .... П-38 Ножной переключатель света........ П-53 Переключатель указателей поворота . . . П-118 Розетка внешнего пуска......ШТепсельная, двух- клеммовая Выключатель свечи накаливания подогревателя ............................... BK3I7 Выключатель электромагнитного клапана В45-М Переключатель режимов работы подогревателя .............................. ППН-45 Выключатель нагревателя топлива подогревателя ............................ 11.3704.000 Измерительные приборы Вольтамперметр ......................ВА-340, магнито- электрический Термометр............................ ТУЭ-48-Т Манометр ............................ Два, ТЭМ-15 Манометр ............................ ЭДМУ-6Н Спидометр..............................! СП 135 Дифманометр-тягонапоромер ........... ДТНМП-100-125 Пневмосистема Тип ................................. . Однопроводная Рабочее давление в системе, кгс/см2 . . . 6—7,9 Компрессор .......................... Непрямоточный, двухцилиндровый, одноступенчатый, водяного охлаждения
Регулятор ...........................API 1-3512010 с ша- риковыми клапанами Воздушные баллоны....................Два, общей расчет- ной вместимостью 43 л Тормозной кран.......................Диафрагменного типа, двухсекционный: одна—для управления приводом тормозов транспортера, другая — для управления приводом тормозов прицепа Тормозные камеры...................... Диафрагменного типа Соединительная головка .............. С обратным клапа- ном Разобщительный кран..................Расположен в зад- ней левой части грузовой платформы Оборудование Тягово-сцепное устройство Тип.....................................С двусторонним амортизационно-поглощающим устройством Высота оси устройства от грунта, мм . . 655—685 Рабочий подрессоренный ход тягового крюка, мм: вперед . . . . .............. 30 назад ............... 55 Водооткачивающий насос Тип .................................. Вихревой, двухсек- ционный Производительность двух секций, л/мин 400—450 Система обогрева Отопительное устройство ........... Отопительно-вен- тиляционная установка ОВ-65Г
Фильтровентиляционная установка (ФВУ) Тип нагнетателя ......................... Фильтр-поглотитель . . ............. ВНСЦ-200, центробежный с инерционной очисткой пыли ФПТ-200М Башенная установка ТКБ-01-1 Тип установки ........................ Пулемет............................... Калибр, мм............................ Прицел ............................... Спускное устройство .................. Механизмы управления ................. Боекомплект .......................... Закрытая, вращающаяся пкт 7,62 ПП-61Б, перископический Электроспуск Ручные 1500 патронов
4. УСТРОЙСТВО И РАБОТА СОСТАВНЫХ ЧАСТЕЙ ТРАНСПОРТЕРА МТ-ЛБ 4.1. СИЛОВАЯ УСТАНОВКА Силовая установка состоит из двигателя и обслуживающих его систем: питания топливом и воздухом, смазки, охлаждения, подогрева и пуска. 4.1.1. ДВИГАТЕЛЬ Особенности конструкции двигателя На транспортеры устанавливается двигатель ЯМЗ-238В — восьмицилиндровый четырехтактный дизель с воспламенением от сжатия. Расположение цилиндров V-образное, с углом развала 90°. Подробное описание устройства двигателя дано в специальной инструкции по эксплуатации — «Двигатели ЯМЗ-236, ЯМЗ-238». На двигателе ЯМЗ-238В, устанавливаемом на транспортеры, в отличие от двигателя ЯМЗ-238 заменены вентилятор и привод к нему, воздухоочиститель и генератор. Двигатель со всеми агрегатами и системами установлен в средней части транспортера маховиком вперед. На картере маховика расположен воздухоочиститель, в развале между рядами цилиндров — генератор и агрегаты топливной аппаратуры (насос высокого давления, подкачивающий насос, регулятор и автоматическая муфта опережения впрыска). Слева к блоку цилиндров прикреплен электрический стартер. В крышке левого ряда цилиндров расположена маслозаливпая горловина. Сзади в верхней части двигателя установлены фильтр тонкой очистки топлива, фильтры грубой и тонкой очистки масла и компрессор, на заднем торце двигателя слева внизу — водяной насос, с правой стороны в крышке шестерен распределения — указатель уровня масла в поддоне. Остальные агрегаты систем двигателя установлены в различных местах на транспортере. Их расположение приведено в описании систем двигателя.
Установка и крепление двигателя Двигатель со всеми агрегатами и системами установлен в средней части транспортера. Ось коленчатого вала смещена ог осн транспортера влево на 60 мм и расположена иод углом 3 30' к горизонтали. Двигатель крепится к подмоториой раме. Опорами двигателя служат три кронштейна — два спереди и один сзади. Передние кронштейны 1 (рис. 2) устанавливаются в опоры 3 с крышками 10 и закрепляются с помощью шпилек 8 и гаек 9. Амортизаторами передних опор служат резиновые втулки 2. Кронштейном 4 задней опоры двигатель опирается на балку 7 через резиновые подушки 6 и крепится двумя болтами 5. Балка крепится к подмоторной раме болтами 11, опора 3 — болтами 12. А-А Рис. 2. Установка / — передний кронштейн; 2 —втулка; 3 —опора; 4 — кронштейн зад 7 — балка двигателя; 8 — шпилька;
4.1.2. СИСТЕМА ОХЛАЖДЕНИЯ Устройство системы охлаждения Система охлаждения двигателя жидкостная, принудительная, закрытого типа. Опа обеспечивает нормальный температурный режим работы двигателя как при низких, так и при высоких температурах окружающего воздуха (от +45 до —45° С). Система охлаждения состоит из водяного насоса, водяного радиатора, расширительного бачка с паровоздушным клапаном, двух термостатов, центробежного вентилятора, редуктора вентилятора, трубопроводов, жалюзи, клиповых ремней и натяжного устройства ремней. Водяной насос центробежного типа расположен па заднем торце двигателя слева внизу. Он имеет ременный привод от шкива коленчатого вала. Всасывающая полость насоса соединяется трубами 26 и 27 (рис. 3) с радиатором 1, заливной трубой 8 — с расширительным бачком 10, перепускной трубой 13— с соединительной трубой термостатов. двигателя: "сП опори; 5. II 12 — болты; 6 — подушка крепления двигателя; 4 — ганка: 10 — крышка опоры
7, е \ \ 2Б 25' 27 охлаж- 5 — Про- Bud A Рис. 3. Система дения: / — радиатор; 2. кладки; 3 — патрубок; 4 — стяжная лента; 6. 7 —пароотводящие трубки; 8 — заливная труба; 9 — патрубок; 10 — расширительный бачок; 11 — пробка с паровоздушным клапаном; 12 — отводящая труба; 13 — перепускная труба; 14 — ремень; 15 — натяжной ро лик; 16 — серьга; 17 — гайка; 18 — шайба; 19 — пружина; 20—кронштейн; 2/-тяга; 22 — двуплечий рычаг: 23 — крышка; 24— вен тилятор; 25— редуктор вентилятора, 26, 27 — трубы: 28 . 29 — сливные трубки; 30 — пружина; 3/— рычаг с кронштейном; 32 — скоба; 33 — трос; 34 — забелка
зз
Нагнетательный патрубок насоса соединен с блоком цилиндров. Радиатор 1 пластинчато-трубчатый, расположен в средней части транспортера слева от двигателя. Он устанавливается на двух резиновых прокладках 2 п 5, приклеенных к опорам радиатора, и крепится с помощью стяжных лент 4. Трубки радиатора латунные, овального сечения, расположены в шесть рядов в шахматном порядке. Между коллекторами впаяны перегородки, расположенные так, что охлаждающая жидкость при прохождении через радиатор совершает восемь ходов. К нижним коллекторам радиатора подсоединяются патрубки 3 для подвода и отвода охлаждающей жидкости, а также трубки 29 и 28 для слива охлаждающей жидкости из нижней части радиатора. К верхнему коллектору подсоединяется пароотводящая трубка 6. Пар отводится в расширительный бачок. Расширительный бачок 10 обеспечивает возможность увеличения объема емкости для охлаждающей жидкости при се нагреве и служит паросборником, в котором конденсируется отведенный из системы охлаждения пар. Расширительный бачок устанавливается над двигателем в задней части слева и крепится на компрессоре. В днище расширительного бачка приварен патрубок для подсоединения заливной трубы 8 системы охлаждения. В крышке бачка расположена заливная горловина. Через заливную горловину система заправляется охлаждающей жидкостью. В заливной горловине расширительного бачка установлена пробка И с паровоздушным клапаном. Паровой клапан служит для выпуска пара, открывается он при повышении давления в системе на 0,5—0,7 кгс/см2 выше атмосферного. Для устранения разрежения в системе при охлаждении жидкости в пробке имеется обратный клапан, который открывается при снижении давления в системе на 0,04—0,08 кгс/см2 ниже атмосферного. Слева в расширительный бачок вварены два патрубка для подсоединения пароотводящей трубки 7 и патрубка 9 отводящей трубы 12. В передней части расширительного бачка приварен патрубок для подсоединения отводящей трубы системы охлаждения компрессора. Термостаты установлены в водосборных трубах левого и правого блоков цилиндров и служат для поддержания температуры охлаждающей жидкости в системе охлаждения не ниже 80°С путем изменения величины открытия клапана, пропускающего жидкость через радиатор. Центробежный вентилятор 24 служит для создания потока воздуха через водяной-п масляный радиаторы. Вентилятор установлен слева от двигателя в специальном изолированном от моторного отсека кожухе.
Вентилятор получает вращение от коленчатого вала двигателя. Привод вентитятора состоит из конического редуктора 25 и ременной передачи, включающей два ремня 14. Шкив привода редуктора вентилятора устанавливается непосредственно на носок коленчатого вала двигателя. Натяжное устроиство ремней состоит из натяжного ролика /5Гдвуплечего рычага 22, серьги 16, тяги 21, пружины 19, гайки 17, шайбы 18 н кронштейна 20. Величина натяжения ремней обеспечивается за счет сжатия пружины 19 с помощью гайки 17, при сильной вытяжке ремней— перестановкой кронштейна рычага ролика 15 или заменой серьги 16 на серьгу, находящуюся в одиночном комплекте ЗИП. В кожухе вентилятора со стороны грузовой платформы имеется люк для проверки состояния крыльчатки. В нижней части кожуха вентилятора имеется люк, закрываемый крышкой 23, который служит для слива воды, попавшей в кожух при работе на плаву, в брызгонесущей среде или при длительной стоянке на открытом воздухе. Скапливание воды в кожухе вентилятора может привести к поломке вентилятора. Крышка 23 открывается с места водителя приводом, который состоит из рычага 31 с кронштейном, троса 33, скобы 32 и защелки 34. В закрытом положении крышка плотно прижимается к патрубку люка пружиной 30. Защелка расположена на борту слева от сиденья водителя. Жалюзи установлены на левом борту корпуса над радиаторами и служат для регулирования температурного режима двигателя путем изменения количества воздуха, проходящего через радиатор, и для защиты радиаторов от повреждения. Жалюзи состоят из рамки 5 (рис. 4), створок 7, рейки 6 и пружины 9. Створки крепятся своими петлями к планкам рамки жалюзи, а поводками — к рейке с помощью пальцев и шплинтов. Оттяжная пружина 9 одним концом соединяется с зацепом рейки, а другим—с зацепом рамки и служит для возвращения створок в закрытое положение. Привод управления жалюзи состоит из рукоятки 1, сектора 3 и тяги 4. Рукоятка расположена на левой боковой стенке в отделении управления. Тяга 4 своими наконечниками с одной стороны соединяется с рейкой 6, а с другой — с рукояткой 1 с помощью шаровых пальцев 8. С помощью защелки 2 с пружиной и фиксатора можно зафиксировать необходимое открытое положение створок жалюзи. Работа системы охлаждения Во время работы двигателя циркуляция охлаждающей жидкости в системе охлаждения создается центробежным насосом. Из нагнетательного патрубка насоса через каналы в
крышке шестерен распределения жидкость под давлением по ступает в водяные рубашки левого и правого рядов блока цилиндров, затем в головки цилиндров и собирается в водосборных трубопроводах. Условные обозначения: —ехПодеод воздуха в котел —€3 Отвод газов из котла подогревателя —Направление циркуляции жидкости после открытия термостатов Направление циркуляции жидкости —Ав при работе подогревателя (термостаты закрыты) -^^Направление циркуляции жидкости до открытия термостатов (малое кольцо) ->—о Слив жидкости из системы' —«« Подвод топлива к форсунке котла подогревателя Циркуляции холодного воздуха через водяной радиатор —о-о- Отвод пара —о-х Заправка системы жидкостью Рис. 5 Схема систем подогрева и охлаждения двигателя; 1 термомегр 2 — термостаты 3 — раенп рительный бачок; 4 — паровоздушный клапан; 5 — вентилятор; S— водяной радиатор: 7 — масляный радиатор; 8 — жалюзи; 9 — клапан- /0 — котел подогревателя; II — свеча накаливания 72 — электромагнитный клапан с форсункой и электронагревателем топлива; Н — кран, 14 — топливный насос; 7S — электродвигатель: 16 — вентилятор (нагнетатель воздуха); 77 — водяной насос подогревателя. 18 — сильфон; 19 — сливной кран; 20 — водяной насос; 2/ — двигатель Из водосборных трубопроводов нагретая жидкость через термостаты и отводящую трубу 12 (рис. 3) поступает в радиатор. где отдает тепло потоку воздуха, создаваемому вентиля-
SB 7 В S 10 Рис. 6. Система подогрева: / — труба отвода воды; 2— патрубок; 3 — запорный кран; 4 — водяной насос; 5, 7 — кронштейны насосного агрегата: 5 — вентилятор; « — электродвигатель; 9 — топливный насос; 10 — труба топливного крана; // — газоотводящая трубка с фланцем, 12 — обводная трубка со штуцером; 13 — воздуховод; 14 — труба слива с краном; /5 —стяжная лента; 16 — котел подогревателя; 11 — кран слива; 18, 20 —сливные трубки; 19—масляный бак; 2/— газоотводящая труба с сильфоном: 22 — кожух поддона; 23, 24 — прокладки котла; 25 — трубка форсунки; 26— электромагнитный клапан с форсункой и электронагревателем топлива
тором, после чего снова возвращается к водяному насосу. Когда температура охлаждающей жидкости опускается ниже 80°С, клапаны термостатов автоматически закрываются и весь ее поток направляется непосредственно к водяному насосу, минуя радиатор. Схема систем подогр,ева и охлаждения двигателя показана на рис. 5. 4.1.3. СИСТЕМА ПОДОГРЕВА Устройство системы подогрева Система подогрева служит для обеспечения пуска двигателя при зимней эксплуатации и для поддержания двигателя прогретым без его пуска. Опа обеспечивает подогрев жидкости в системе охлаждения, масла в картере двигателя и масляном баке главной передачи. Система подогрева .состоит из котла 16 подогревателя (рис. 6), насосного агрегата, трубопроводов и шлангов. Рис. 7. Котсл подогревателя: / — свеча накаливания; 2 — прокладка; 3 — завихритель; 4 — электромагнитный клапан с форсункой и электронагревателем топлива; 5 — прокладка; 6 — труба подвода воздуха; 7 — труба котла; 8 — трубка пароотводящая; 9 — водяная рубашка наружная; 10 — водяная рубашка внутренняя; 11— камера сгорания; 12—газоход; 13—патрубок; И — дренажная трубка; /5 —наружный цилиндр горелки; 16 — внутренний цилиндр горелки Котел подогревателя состоит из теплообменника и горелки. Теплообменник цельносварной, состоит из цилиндрической камеры сгорания 11 (рис. 7), газохода 12 и двух соединенных между собой жидкостных рубашек 9 и 10. В наружной рубашке9 внизу имеется патрубок 13 для подвода, а вверху — труба 7 для отвода горячей жидкости. Горелка цельносварная, состоит из наружного 15 и внутреннего 16 цилиндров, завихрителя 3, 32
2-641
крышки и трубы 6, которая служит для нагнетания воздуха, необходимого для сгорания топлива. К крышке горелки прикреплен электромагнитный клапан 4 с форсункой центробежного типа и электронагревателем топлива. Воспламенение топлива обеспечивается свечой / накаливания. Котел подогревателя установлен слева от двигателя на специальных постелях и крепится стяжными лентами 15 (рис. 6). Насосный агрегат включйет вентилятор 6 (нагнетатель воздуха), водяной насос 4 и топливный насос 9, приводимые в действие электродвигателем 8. УВ ПУСК ) запрещается пуск подогревал ТЕЛЯ БЕЗ АНТИФРИЗА, ТОПЛИВА И РАБОТА БЕЗ ВОДЬ1 БОЛЕЕ ЗОСЕК Рис. 9. Щиток подогревателя: / — переключатель электродвигателя; 2— выключатель электромагнитного клапана; 3—« индикатор; 4 — выключатель свечи, . 5 — кнопка предохранителя в цепи электродвигателя; 6 — выключатель нагревателя топлива Z Крыльчатка 6 (рис. 8) вентилятора и рабочее колесо 3 водяного насоса смонтированы в одном общем корпусе /. Вентилятор и водяной насос крепятся к корпусу электродвигателя 8 со стороны длинного выходного конца вала, а шестеренный топливный насос — со стороны коллектора. В корпусе-топливного насоса имеется резьбовое дренажное отверстие 18. Расход топлива регулируется винтом 20 редукционного клапана. Насосный агрегат установлен слева от двигателя и крепится с помощью съемных кронштейнов 7 и 5 (рис. 6) к кожуху вентилятора системы охлаждения двигателя. Управление системой подогрева ручное, дистанционное, обеспечивается электроприборами, установленными на щитке подогревателя (рис. 9), расположенном в отделении управления. 34
Работа системы подогрева Шестеренчатый топливный насос 9 (рис. 6), вращаемый электродвигателем 8, засасывает топливо из топливного бачка и через запорный кран 3 по трубке 25 подает его через электронагреватель, включаемый выключателем 6 (рис. 9), к электромагнитному клапану 26 (рис. 6). Оттуда при открытом клапане (выключатель электромагнитного клапана должен быть в положении «Работа») топливо через форсунку под давлением поступает в камеру сгорания, где. смешивается с воздухом, нагнетаемым вентилятором 6 по воздуховоду 13, и в момент розжига воспламеняется от свечи накаливания. После того как в камере установится устойчивое горение, свечу выключают и дальнейшее горение происходит от ранее зажженного пламени. Последовательно со свечой накаливания включен индикатор 3 (рис. 9), по его накалу можно судить о работе свечи. Тепло, выделяемое при сгорании топлива, нагревает стенки теплообменника, через которые оно передается охлаждающей жидкости, поступающей в котел 16 (рис. 6) по трубе 14 от водяного насоса 4. Нагретая жидкость через трубу 1, патрубки 2 с клапаном и обводную трубку 12 поступает в водяные рубашки двигателя и через его водяной насос снова возвращается в котел подогревателя. Горячие газы, проходя через газоход масляного бака 19 главной передачи, газоотводящую трубу 21 и кожух 22 поддона двигателя, нагревают масло в баке главной передачи и поддоне двигателя и по газоотводящей трубке 11 выбрасываются в атмосферу. Заправляется система подогрева охлаждающей жидкостью через расширительный бачок 10 (рис. 3) системы охлаждения. Для выпуска жидкости из системы охлаждения и подогрева служат сливные трубки 18 (рис. 6), 20 и сливной кран 17. В патрубки 2 вмонтирован обратный клапан, который открывается давлением охлаждающей жидкости, создаваемым насосным агрегатом подогревателя. При работающем двигателе клапан удерживается в закрытом положении давлением жидкости, создаваемым водяным насосом двигателя. Циркуляция охлаждающей жидкости через подогреватель при этом прекращается. 4.1.4. СИСТЕМА ПИТАНИЯ ТОПЛИВОМ Устройство системы питания топливом Систему питания двигателя топливом составляют четыре топливных бака 13 (рис. 10), 15, 17 и 19, топливораспределительный кран 24, фильтры грубой 9 и тонкой 3 очистки топлива,
ручной подкачивающий насос 23, топливный насос 11 высокого давления с регулятором 10 п топлнвоподкачпвающпм насосом, форсунки, тон-ливомер 6, топливопроводы высокого и низкого давления. Баки объединены в две группы. Левые баки 17 и 19 составляют одну группу, правые — 13 и 15 — другую. Заливные горловины 4 установлены в верхних баках 13 и 19. Верхние баки соединены с нижними переливными трубками 18 и трубками сапуна 14. Путь топлива и воздуха при заправке системы питания топливом, прокачке перед пуском двигателя и работе двигателя можно проследить по схеме, показанной на рис. 11. Левый 19 (рис. 10) и правый 13 верхние баки соединены между собой блокирующей трубкой 16. Левый конец этой трубки соединяется со сливной трубкой 20 от форсунок и сливной трубкой 21 топливного бачка 22 подогревателя и отопительно-вентиляционной установки. Блокирующая трубка 16 служит для слива излишков топлива из топливного насоса высокого давления и форсунок в правую группу баков.
aq
о Топливо и воздух во время прокачки Топливо < К о излишки топлива после ТВИД *—о—о воздух во время замера уровня топлива в бачках - ч—<-< Воздух во время заправки Воздух во время работы двигателя '•<----- Топливо, пробившееся через зазоры в форсунках Рис. 11. Схема топливной системы: /, J, 6, 7, В, 11. 13, 15. 18, 20, 22, 26, 28. 29 — топливопроводы; 3, 4 — баки; 5 — пробки слива; 9, 30 — краны; 10 — толливораспределнтельный кран; 12 — топливомер; 14 — ручной подкачивающий насос; 16 — жиклер; 17 — фильтр грубой очистки; 19 — подкачивающий насос; 21 — фильтр тонкой очистки; УЗ —бачок подогревателя; 24— топливный насос высокого давления; 25 — форсунка, 27 — перепускной клапан
Нижние топливные баки 15 и 17 соединены топливопроводами с топливораспределительным краном 24, который служит для переключения питания двигателя от правой или левой группы баков и для полного отключения баков. • Рис. 12. Топливораспределительный кран: / — угольник; 3, // — штуцера; 3 —корпус; ./ — пробка; 5 — рукоятка; 6 — сальник; 7 — гайка; в — прокладка; 9 — пружина; 10 — фиксатор Топливораспределительный кран расположен в отделении управления под сиденьем водителя и крепится тремя болтами к кронштейну, приваренному к торсионной балке. Топливораспределительный кран состоит из корпуса 3 (рис. 12), пробки 4 с хвостовиком, рукоятки 5, гайки 7, пружины 9, фиксатора 10, двух штуцеров 2 и 11, выходного угольника 1. К штуцерам 2 и 11 подсоединяются топливопроводы, идущие от топливных баков (к одному — от правой группы, к другому — от левой группы). Угольник имеет два штуцера, код-ному из них подсоединяется топливопровод от ручного подкачивающего насоса, к другому — от топливомера.
Рукоятка 5 может занимать четыре положения, соответствующие: включению левой группы баков; включению правой группы баков; включению одновременно всех баков; выключению всех баков. Рис. 13. Ручной подкачивающий насос: / — корпус насоса; 2 — нагнетающие клапаны (два;) 3, в — корпуса клапана; 4— кожаные прокладки, 5 — крыльчатка (лопасть), 6 — ось; 7 — впускные клапаны (два) Ручной подкачивающий насос РНА-1Т служит для предварительного заполнения системы питания топливом и удаления из нее воздуха. Ручной подкачивающий насос расположен слева от топ-ливораспределителыюго крана и крепится шестью гайками к кронштейну, приваренному к борту корпуса. Насос состоит из корпуса / (рис. 13), крыльчатки 5 (лопасти), впускного и нагнетающего механизмов. Впускнбй и нагнетающий механизмы состоят из корпусов 3 и 8, двух впускных 7 и двух нагнетающих 2 клапанов. В цилиндрической части крыльчатки выполнены два кольцевых канала, не сообщающиеся между собой. Для обеспечения герметичности между цилиндрической частью крыльчатки и корпусом в пазы последнего вставлены кожаные прокладки 4. Крыльчатка насоса приводится в движение с помощью рукоятки, установленной на оси 6. Крыльчатка и клапанные корпуса делят рабочую камеру насоса на четыре отсека I, II, III и IV, объем которых изменяется при движении лопасти.
Отсеки I—III и II—IV соединены между собой кольцевыми каналами в цилиндрической части лопасти. При движении рукоятки по ходу часовой стрелки заполненный объем отсеков II и IV уменьшается, правый впускной капал закрывается и топливо из отсеков II и IV, приподняв правый нагнетательный клапан, поступает через трубопровод к топливному фильтру грубой очистки. Одновременно объем отсеков I и III увеличивается, под действием разрежения, создаваемого в них, приподнимается левый впускной клапан и закрывается левый нагнетающий клапан. Топливо заполняет отсеки. При движении рукоятки против хода часовой стрелки в отсеках происходят противоположные процессы. Топливный фильтр 9 (рис. 10) грубой (предварительной) очистки установлен на передней левой стойке моторного отсека п крепится к ней двумя болтами. Топливный бачок 22 емкостью 3 л кренится к кожуху радиатора четырьмя болтами. Бачок служит для питания топливом системы подогрева двигателя и системы обогрева транспортера. В верхней части бачка имеется два патрубка: один — для подсоединения трубки /, идущей к фильтру 3 тонкой очистки, другой — для подсоединения сливной, трубки 21. В днище бачка имеется патрубок для подсоединения трубки 5, идущей к кранам 7 и 8 подачи топлива к отопительно-вентиляционной установке и подогревателю Топливомер 6 представляет собой про зрачную трубку с клапаном. Он подсоединен к выходному штуцеру топливораспределителыюго крана и работает по принципу сообщающихся сосудов. Топливомер установлен за сиденьем механика-водителя справа. Работа системы питания топливом В зависимости от положения рукоятки топливораспределительного крана топливо подается либо от одной из групп баков, либо из всех баков одновременно. При эксплуатации транспортера топливо забирается из всех баков одновременно. При работе двигателя под влиянием разрежения, создаваемого подкачивающим насосом 19 (рис. 11), топливо из баков через заборные топливопроводы 6 или 7, топливораспределительный кран 10, ручной подкачивающий насос 14 и топливопроводы 15 и 13 поступает в фильтр 17 грубой очистки топлива. Из фильтра /7 по топливопроводу 18 топливо поступает в подкачивающий насос 19. Из подкачивающего насоса топливо подается под давлением по топливопроводу 20 к фильтру 21 тонкой очистки, а из фильтра тонкой очистки по топливопроводу 22 к насосу 24 высокого давления, который в соответствии с порядком работы цилиндров подает топливо по топливопроводам высокого давления к форсункам 25.
Излишки топлива, а вместе с ними и попавший в систему воздух отводятся через перепускной клапан топливного насоса, топливопровод 26, жиклер 16 фильтра тонкой очистки и сливные топливопроводы в бачок 23 системы подогрева двигателя и оттуда по топливопроводам 11 и 28—в баки 3, туда же отводится топливо, пробившееся через зазоры между иглой и распылителем форсунки. Болты 12 (рис. 10) служат для перекрытия слива топлива в правую или левую группу баков путем изменения их установки сверлением наружу. При заборе топлива из одной группы баков сливать следует в ту же группу. Путь топлива и воздуха при заправке системы питания топливом, прокачке перед пуском двигателя и работе двигателя можно проследить по схеме на рис. 11. Управление двигателем Управление двигателем осуществляется ножным и ручным приводами . Ножной привод состоит из педали 2 (рис. 14), рычага 3 валика педали, тяги 4 педали, вертикальной тяги 7, рычага 8 вертикальной тяги, валика 9, рычага 10 останова, рычага 12 подачи, тяги 14 регулятора, рычага 18 регулятора, тяги 15 останова, скобы 16 останова. Рис. 15. Ручной привод подачи топлива: / — пружина; 2 —нажимной диск; 3 — диск трення; 4 — кронштейн; 5 - втулка с ры чагами; 6 — рукоятка с валиком
Ход педали ограничивается регулировочным болтом 1. Минимальная полача регулируется болтом 17. Для возвращения педали 2 в исходное положение после ее освобождения служит пружина 13. Ручной привод служит для фиксации определенного режима работы двигателя, а также для останова двигателя. Он состоит из кронштейна 4 (рис. 15), рукоятки 6 с валиком, втулки 5 с рычагами, дисков 2 и 3 и пружины 1. Рукоятка 5 (рис. 14) ручной подачи может занимать три положения: положение I соответствует максимальной подаче топлива, II — минимальной подаче, т. е. холостым оборотам двигателя, III — останову двигателя. 4.1.5. СИСТЕМА ПИТАНИЯ ВОЗДУХОМ Система питания двигателя воздухом служит для забора, воздуха, очистки его от пыли и подачи в цилиндры двигателя. Она состоит из воздухоочистителя, привода переключения забора воздуха и соединительного патрубка впускных коллекторов. Воздухоочиститель состоит из двух ступеней очистки: первая ступень — сухая, инерционная с автоматическим удалением пыли; вторая ступень — фильтрующие кассеты с проволочной набивкой, смоченной маслом. К основным частям воздухоочистителя относятся корпус 15 (рис. 16), циклоны, кассеты 14 и крышка 26. Крышка 26 крепится к корпусу 15 воздухоочистителя с помощью четырех гаек-барашков 25. К корпусу воздухоочистителя приварены воздухозаборный патрубок 21, патрубок 24 отсоса пыли и патрубок 13 для отвода чистого воздуха. Каждый циклон состоит из направляющей трубки 20 и корпуса 22 с тангенциальным патрубком для входа воздуха. Воздух, входя в циклоны, приобретает вращательное движение. Под действием центробежной силы находящиеся в воздухе более крупные частицы пыли отбрасываются к стенкам циклонов и попадают в бункер 23, оттуда через патрубок 24 и эжекцион-ную систему отсоса пыли удаляются в атмосферу вместе с отработавшими газами. Очищенный в первой ступени воздух через трубки 20 циклонов попадает в кассеты 14. Мелкие частицы пыли, не задержанные в первой ступени, улавливаются поверхностью проволочной набивки кассет, смоченной маслом. Пройдя кассеты, чистый воздух попадает в пространство над кассетами и оттуда через патрубок 13 воздухоочистителя, соединительный патрубок 16 и впускные коллекторы поступает в цилиндры двигателя. Установлен воздухоочиститель в моторном отделении над картером маховика двигателя и крепится к картеру маховика и картеру промежуточного редуктора.
Рис. 16. Установка воздухоочистителя: / — винт; 2— удлинитель воздухозаборной трубы; 3— бонка; 4— колпак; 5 —прокладка; 6 — крышка люка двигатели; 7 — уплотнитель; 8— пружина; 9—палец; 10 — фланец; // — шплинт; 12, /9 — рычаги; 13, 16 — патрубки; 14 — кассеты; /5 — корпус воздухоочистителя; /7 — оттяжная пружина; 18— тяга; 20— направляющая трубка; ?/ —воздухозаборный патрубок; 22 — корпус поклона; 23 — бункер; 24 — патрубок отсоса ныли; 25 — гайка барашек; 26 — крышка воздухоочистителя; 21 — заслонка; 28 — ось, 29 — крышка; 30 — трос; 31 — фиксатор
JzA -±- к-к повернуто для повернуто JLJL двух сильфонов повернуто Рис. 17. Система выпуска отработавших газов: J, 9, /У —сильфоны; 2, 3 — коллекторы: 4 — кожух эжектора; 5 — диффузор: 6, 8 — трубы: 7 — фланец; 10 — переходная труба; 12 — концевая труба; 13 — дренажная трубка; 14 — ниппель
В верхней части воздухозаборного патрубка 2/ имеется фланец 10. К фланцу с помощью пальцев 9, пружин 8 и шплинтов 11 крепится уплотнитель 7. Внутри воздухозаборного патрубка на осп 28 расположена заслонка 27, а в стенке патрубка имеется окно с крышкой 29. Рычаг оси заслонки и рычаг 19 оси крышки соединены тягой 18, которая усилием оттяжной пружины 17 удерживает рычаги в положении, когда заслонка полностью открыта, а крышка тотно закрывает окно. Воздух для питания двигателя забирается через воздухозаборный патрубок с защитным колпаком 4, приваренным к кры шке 6 люка двигателя. Над колпаком 4 устанавливается удлинитель 2 воздухозаборной трубы, который крепится к бонке 3 защитного колпака винтом 1. Нпжний торец удлинителя воздухозаборной трубы уплотняется прокладкой 5. •* Удлинитель 2 применяется во время преодоления водных преград, в особо пыльных условиях и при движении по лесистой местности для предохранения от попадания в воздухоочиститель воды, сильно запыленного воздуха, листьев и хвои. В походном положении удлинитель воздухозаборной трубы укладывается в трансмиссионном отделении. Для сокращения времени прогрева двигателя перед пуском в холодное время года воздухоочиститель можно переключить так, что воздух в него будет поступать из моторного отсека через окно в стенке патрубка 21, закрываемое крышкой 29. Переключается воздухоочиститель приводом, который состоит из троса 30 и фиксатора 31. 4.1.6. СИСТЕМА ВЫПУСКА ОТРАБОТАВШИХ ГАЗОВ Система выпуска отработавших газов состоит из двух коллекторов 2 и <3 (рис. 17) и двух выпускных трубопроводов (левого и правого). Левый выпускной трубопровод служит одновременно эжектором для отсоса пыли из первой ступени очистки воздухоочистителя. Эжектор цельносварной. Он состоит из газопровода с диффузором 5, трубы 6 и кожуха 4. Эжектор крепится к левому выпускному коллектору с помощью двух сильфонов /, соединенных между собой неподвижными сторонами (см. узел I), и к кожуху вентилятора — с помощью фланца 7. Правый выпускной трубопровод состоит из концевой трубы 12, переходной трубы 10 и трубы 8. Переходная труба 10 соединяется с трубами 8 и 12 с помощью сильфонов 9 и 11, устанавливаемых неподвижной стороной навстречу движению потока газов (см. сечение А—Л). Все выпускные трубопроводы и коллекторы имеют кожухи. Благодаря кожухам выпускные трубопроводы используются для охлаждения выпускных коллекторов воздухом, эжектируе-мым за счет энергии выпускных газов.
Для вентиляции картера двигателя предусмотрена дренажная трубка 13. На конце правого выпускного трубопровода приварен ниппель 14 для подсоединения газоотборного устройства дегазационного комплекта ДК-4К или ДК-4. 4.2. ТРАНСМИССИЯ Трансмиссия служит для передачи крутящего момента от двигателя к ведущим колесам транспортера. Трансмиссия состоит из сцепления, промежуточного редуктора, центрального карданного вала, главной передачи, карданных валиков и бортовых передач. Кинематическая схема трансмиссии показана на рис. 18. 4.2.1. СЦЕПЛЕНИЕ Назначение и устройство сцепления Сцепление служит: для отключения двигателя от главной передачи во время переключения передач, при резком торможении транспортера и при пуске двигателя; для плавной передачи нагрузки на двигатель при трогании с места транспортера; для предохранения деталей двигателя и трансмиссии от поломок при резком изменении частоты вращения коленчатого вала двигателя или при резком изменении нагрузок на. ведущих колесах гусеничных движителей. Сцепление двухдисковое, сухого трения, постоянно замкнутого типа с гасителем крутильных колебаний (демпфером). Гаситель предохраняет сцепление от воздействия крутильных колебаний коленчатого вала двигателя. Сцепление состоит из ведущей части, ведомой части и механизма выключения. Ведущая часть состоит из маховика 6 (рис. 19), кожуха 20 сцепления, нажимного диска 17, среднего ведущего диска 4, двадцати восьми пружин 19 и деталей крепления. Кожух в сборе с нажимным диском и средний ведущий диск устанавливаются па маховике; при этом кожух крепится к маховику шестнадцатью болтами 18, а нажимной и средний ведущий диски связаны с маховиком четырьмя шипами. Ведомая часты состоит из двух ведомых дисков 7 с гасителем крутильных колебаний. Гаситель состоит из диска 15 демпфера, двух фрикционных колец 12 и шести пружин 9. Диски 7 и /5 соединены тремя упорными штифтами 16. Фрикционные кольца, расположенные между фланцем ступицы и дисками 7 и 15, зажаты с помощью двенадцати тарельчатых пружин 14. утянутых шестью болтами 13 и гайками. Пружины 9 установлс-
Рис. 18. Кинематическая схема трансмиссии: / _ ведущее колесо; 2 — бортовая передача; 3 — остановочный тормоз- 4 — карданный валнк; 5 — главная передача: 6 — центральный карданный вал; 7 — привод к водяному насосу; 8 — двигатель; 9 — сцепление; 10 — тормоз поворота
ны в прямоугольных окнах дисков 7 и 15 и фланца ступицы 10 с предварительным натягом. При возникновении крутильных колебаний ведомый диск 7 и диск 15 гасителя могут смещаться на небольшой угол относительно фланца ступицы 10 ведомого диска. Между поверхностями дисков и фрикционных колец возникает трепне, гасящее колебания. Величину трения регулируют при сборке затяжкой гаек, сжимающих тарельчатые пружины 14 до упора в буртик па болтах 13. Гайки фиксируются развальцовкой выступающей части болтов. Механизм выключения сцепления состоит из валика 22 с рычагом, вилки 23, муфты 24 с упорным подшипником 21, упорного кольца 25, оттяжных рычагов 8, виток 28, регулировочных гаек 27, четырех отжимных пружин 5 и специального механизма автоматической регулировки отхода среднего диска, который состоит из штоков 1, закрепленных в каждом из четырех шипов среднего ведущего диска 4, разрезных колец 2, для перемещения по штоку которых необходимо определенное усилие, и упорных планок 3, которые крепятся с кожухом сцепления болтами к маховику. Специальный механизм автоматической регулировки отхода среднего диска обеспечивает гарантированные зазоры между ведомыми дисками и поверхностями трения маховика, среднего ведущего и нажимного дисков при выключении сцепления по мере износа накладок. Под усилием предварительно сжатых пружин 19 сцепление постоянно включено, т. е. постоянно может передавать крутя-, щий момент от двигателя к валу промежуточного редуктора. При выключении сцепления муфта 24 перемещается в сторону маховика двигателя, нажимая через, подшипник 21 на упорное кольцо 25 и оттяжные рычаги 8, которые отводят нажимной диск 17 назад не менее чем на 2 мм. При этом освобождается второй ведомый диск 7, а средний ведущий диск 4 под действием пружин 5 также отходит назад, до упора кольца 2 в планку 3 на величину 1,2±0,1 мм, освобождая первый ведомый диск 7. Механизм выключения сцепления должен обеспечивать величину полного хода муфты выключения не менее 18,2 мм с учетом свободного хода, что соответствует 40 мм хода тяги 16 (рис. 20). По мере износа фрикционных накладок сцепления средний ведущий диск под действием нажимных пружин нажимного диска перемещается к маховику кольца 2 (рис. 19), при этом упираются в кожух сцепления, перемещаясь по штокам 1 и сохраняя' размер между кольцами п упорными планками, а упорное кольцо оттяжных рычагов перемещается в сторону промежуточного редуктора, выбирая свободный ход муфты выключения. Для нормальной работы сцепления механизм выключения необходимо отрегулировать так, чтобы обеспечивался свободный 52
ход муфты выключения 3,2—4 мм при включенном сцеплении, что соответствует 6,5—8 мм хода тяги 16 (рис. 20). Смазка к муфте выключения сцепления подводится через масленку 30 (рис. 19), ввернутую в переходный ниппель на картере промежуточного редуктора, и шланг 26. Рис. 20. Привод управления сцеплением: / — педаль сцепления; 2 — ограничительные болты; 3, 9, 11, 18 — кронштейны; 4 — тяга тормоза; 5 — вал педали; 6 — рычаг; 7 — тяга блокировки; 8, 12, /5 — двуплечие рычаги; 10, /3 — тяги; 14 — ось; /6 — тяга сцеплбння; /7 — ось; 19 — сервопружмна; 20 — внлка; 21 — рычаг; 22— упорные болты; 23 — оттяжная пружина; 24 — педаль тормоза Назначение и устройство привода управления сцеплением Привод управления сцеплением служит для выключения сцепления с места водителя. К основным деталям привода управления относятся педаль/ (рис. 20) сцепления, вал 5 педали сцепления, кронштейны 3, 9, 11 и 18 тяги 10, 13 и 16, двуплечие рычаги 8, 12, 15 и ось 17. Исходное положение педали регулируется ограничительным болтом 2, а полный ход — упорным болтом 22. Для уменьшения усилия выключения сцепления служит сервомеханизм, который состоит из сервопружины 19, вилки 20, регулировочной гайки и кронштейна 18. Величина сжатия сервопружины 19 регулируется таким образом, чтобы педаль после выключения сцепления самостоятельно возвращалась в исходное положение.
Работа привода управления сцеплением При нажатии на педаль / (рис. 20) сцепления вал 5 педали поворачивается и через рычаг 8 перемещает тягу 10. Тяга 10 через рычаги 21 и 12 перемещает тяги 13 и 16. Тяга 16 соединена с рычагом валика 22 (рис. 19). Тяга 16 (рис. 20) через рычаг выключения сцепления поворачивает валик 22 (рис. 19) и вилку 23 выключения. Вилка 23 перемещает муфту 24 выключения с подшипником 21 в сторону маховика двигателя. Перемещение педали на величину, при которой полностью выбирается зазор между торцами муфты выключения и упорного кольца 25, называется свободным ходом педали сцепления. Дальнейший ход педали является рабочим. При рабочем ходе муфта 24 выключения с подшипником 21 перемещает упорное кольцо 25 и оттяжные рычаги 8. При этом рычаги 8 отводят нажимной диск 17, под действием пружины 5 средний ведущий диск отходит, освобождая ведомые диски 7, и сцепление выключается. 4.2.2. ПРОМЕЖУТОЧНЫЙ РЕДУКТОР Промежуточный редуктор служит для отбора мощности на водооткачивающий насос и другое оборудование. Он состоит из вала 7 (рис. 21), ведущей конической шестерни 12 и ведомой шестерни 3, смонтированных в картере 2. Редуктор крепится к картеру маховика двигателя. Вал 7 установлен на двух шарикоподшипниках 8. Для установки переднего подшипника имеется съемный стакан 5. На переднем шлицевом конце вала 7 установлен фланец 6 для соединения с центральным карданным валом. Для уплотнения вала редуктора устанавливаются манжета и войлочное кольцо. Между валом 7 и опорой 15 муфты выключения сцепления установлена манжета 13. Между стаканом 5 и крышкой 10 устанавливается картонная уплотнительная прокладка 9. Для регулирования установки шестерни 3 служат прокладки /, а шестерни 12 — прокладки 14. Зазор между торцами шестерни 12 и шлицованным буртом вала 7 регулируется прокладками 4. Зазор между торцами муфты 11 и шестерни 12 регулируется шайбами 24 (при выключенном положении вилки 19 зазор должен быть 2±0,5 мм); Механизм включения редуктора состоит из муфты //, вилки 19, оси 22, рычага 18 и рычага с рукояткой 20. Для удержания вилки во включенном или выключенном положении служит фиксатор 23. Ось 22 стопорится от перемещения винтом 21. Радиальный зазор между вилкой 19 и муфтой // регулируется прокладками 17.
cn co <о vj
4.2.3. ЦЕНТРАЛЬНЫЙ КАРДАННЫЙ ВАЛ Карданный вал служит для передачи крутящего момента от вала промежуточного редуктора к первичному валу главной передачи. Он допускает при установке смещение осей валов без нарушения равномерности вращения вала главной передачи. Карданный вал открытого типа состоит из трех фланцев 1 (рис. 22), муфты 2, вилки 4 и двух крестовин 6. Рис. 22. Центральный карданный вал: 1 — фланец; 2 — муфта; 3 — чехол; 4 — вилка; 5 — крышка подшипника, 6 — крестовина; 7 — игольчатый подшипник; 8— уплотнение; 9 — стопорная пластина; 10 — болт Крестовины 6 шарниров карданного вала устанавливаются на игольчатых подшипниках 7. Игольчатые подшипники удерживаются крышками 5. Крышки 5 крепятся каждая двумя болтами 10, которые стопорятся пластинами 9. Для удержания смазки в игольчатых подшипниках и предотвращения попадания пыли, грязи и воды в подшипники на цапках крестовин карданного вала установлены уплотнения 8. Для предохранения шлицевого соединения вилки 4 и муфты 2 от попадания пыли, грязи и воды установлен защитный резиновый чехол 3. 4 2.4. ГЛАВНАЯ ПЕРЕДАЧА __ Назначение и устройство главной передачи Главная передача служит: для изменения тягового усития на ведущих колесах при постоянном крутящем моменте на коленчатом валу двигателя; для изменения скорости движения транспортера при постоянном числе оборотов коленчатого вала двигателя; для разъединения двигателя с трансмиссией при пуске двигателя и работе его на остановках; для поворота транспортера.
Главная передача (рис. 2$) двухпоточная, механическая, состоит из конической пары, коробки передач и двух планетарно-фрикционных механизмов поворота (правого и левого), смонтированных в одном картере. Коническая пара—со спиральным зубом, служит д >я передачи вращения от первичного вала к передаточному валу главной передачи. Ведущая коническая шестерня / (рис. 24) выполнена заодно с первичным валом. Первичный вал установлен на двух конических подшипниках 2 и 5 в специальном стакане 3, закрываемом крышкой 7. На шлицевый конец вала насажен фланец 9 для соединения с центральным карданным валом. В крышке 7 установлены манжета 10 и войлочное уплотнение 8. Осевой люфт в подшипниках 2 и 5 регулируется прокладками 4. Стакан 3 и крышки 7 крепятся шестью болтами к картеру и крышке главной передачи. Установка ведущей шестерни 1 регулируется прокладками 6. Ведомая коническая шестерня расположена па передаточном валу коробки передач. Коробка передач шсстискоростная, с постоянным зацеплением шестерен, обеспечивает шесть передач для движения вперед и одну передачу заднего хода. Опа имеет два вала: передаточный и главный. Передаточный вал / (рис. 25) установлен на трех опорах — шарикоподшипниках 2, 6 и 13. На передаточном валу расположены ведомая коническая шестерня 5, ведущие цилиндрические шестерни 4, 7, 8, 9 и 12 (соответственно II, IV, III, VI и V передач), двусторонний синхронизатор 11 (V и VI передач), ведущая шестерня 3 передачи заднего хода и детали маслопод-вода. Шестерни па передаточном валу установлены на шлицах (кроме ведущих шестерен 9 и 12 VI и V передач, которые установлены каждая на двух шарикоподшипниках 10). Смазка к шарикоподшипникам 10 и синхронизатору 11 подается под давлением по маслоподводящей трубе, сверлениям опоры 14, шайбы 15 и передаточного вала 1. Установка ведомой конической шестерни 5 регулируется прокладками 16. Совпадение венцов ведущих шестерен 3 и 4 с венцами соответствующих ведомых шестерен регулируется кольцом 18. Для предохранения регулировочных прокладок 16 от разрушения при регулировке зацепления конической пары между торцом ведомой шестерни 5 и регулировочными прокладками устанавливается проставочное кольцо 17. Главный вал 2 (рис. 26) устанавливается на трех опорах. Опоры — шарикоподшипники 13 и 17. На главном валу расположены ведомые шестерни //, 9, 5, 19, 3 и 4 (соответственно передачи заднего хода, II, III, IV, V и VI передач), зубчатая муфта 8 включения I и II передач, зубчатая муфта 10 включения передачи заднего хода, неподвиж-
Рис. 23. Главная / — картер с крышкой; 2 —фрикционы механизмов поворота; 3—тормоза механизмов ня заднего хода; 6 — планетарные ряды механизмов поворота; 7 — вилка включения очистки масла; 11 — вилка переключения V и VI передач, 12 — вилка переключения
передача: поворота; 4 — ось заднего хода; 8 • П и iv передач; промежуточной шестерни заднего хода; 5 — промежуточная шестер-- вилка включения I и И передач; 9 — главный вал; 10 — фильтр 13 — передаточный вал; 14 — первичный вал, 15 — муфта
пая муфта 16, эпициклические шестерни 1 и 12 планетарных механизмов поворота и синхронизатор III и IV передач. Ведомые шестерни установлены на шарикоподшипниках 14, 15 и 18 (кроме шестерен 3 и 4, которые установлены на шлицах). Рис. 24. Первичный.вал: 1 — коническая шестерня; 2, 5 — подшипники; 3 — стакан; 4, 6 -— прокладки; 7 — крышка, 8 — уплотнение; 9 — фланец; 10 — манжета Смазка к синхронизатору и шарикоподшипникам 18 подается под давлением по маслоподводящей трубе, сверлениям опоры 24, шестерни 4 и главного вала 2. Синхронизаторы инерционного типа, установленные на передаточном и главном валах на эвольвентных шлицах, служат для безударного включения III, IV, V и VI передач. Синхронизаторы состоят из муфт 21, конусов 22, пальцев 20, кареток 23 и фиксаторов 6 с пружинами 7. При перемещении каретки 23 трение между конусами синхронизатора и шестерни обеспечивает выравнивание (синхронизацию) частоты вращения вала и шестерни включаемой передачи, поэтому включение передачи происходит безударно. Муфта 21 и контактирующие с ней сухари вилки переключения смазываются через сверления и трубку, имеющиеся в вилке переключения. Промежуточная шестерня 5 (рис. 23) передачи заднего хода смонтирована на отдельной оси 4 в крышке картера 1 главной передачи. Роль шестерен I передачи выполняют ведущие и ведомые шестерни планетарно-фрикционных механизмов поворота при иевращающемся главном вале, 6Q Рис. 25. Передаточный вал с шестернями: / — передаточный вал; 2, б, 10, 13 — шарикоподшипники, 3 — ведущая шестерня передачи заднего хода, -/ — ведущая шестерня II переда-чи. о— ведомая коническая шестерня, 7 — ведущая шестерня IV передачи; 8 — ведущая шестерня III передачи, 9 — ведущая шестерня VI передачи; 11 — синхронизатор V н VI передач, 12 — ведущая шестерня V передачи /-/ — опора; 15 — шайба; 16— регулировочные прокладки; /7 — проставочное кольцо; 18 — регулировочное кольцо
Г I, 12 — эпициклические шестерни; 2— главный вал; 3 — ведомая шестерня V передачи; 4— ведомая шестерня VI передачи; 5— шестерня III передачи; 6 — фиксатор; 7—пружина; 8 — муфта включения I н II передач; 9 —ведомая шестерня II передачи; 10— муфта включения передачи заднего хода; // — ведомая шестерня передачи .заднего хода; /3, 14, 15, 17, /« — шарикоподшипники; 16 — неподвижная муфта; /9 — шестерня IV передачи; 20 — палец синхронизатора, 21 — муфта; 22 — конус; 23 — каретка; 24 — опора маслопровода
Планетарно-фрикционные механизмы поворота состоят из планетарных рядов, фрикционов и тормозов. Они предназначены для поворота транспортера, обеспечивают фиксированные радиусы поворота на каждой передаче. Рис. 27. Фрикцион поворота: / — опора фрикциона; 2 — шарикоподшипники. 3 — масленка; 4 — подшипник включения; 5 —отжимной диск; 6 — ведомый диск, 7 — отжимная пружина, 8 ведомый барабан; S —нажимной диск, 10 — регулировочные прокладки, // — ведущий барабан, 12 — палец; 13 — ведущий диск; 14 — тормозной барабан; /5 — поводковая коробка; 16 — подвижное кольцо выключения, П — шарик; 18— неподвижное кольцо выключения; 19 — шестерня фрикциона. 20 —вал фрикциона; 21 — пружина. 22 — шарикопод-' шнпнйк Пользуясь планетарными механизмами поворота, можно получить (при установке рычагов управления в первое положение) дополнительные передачи — пять замедленных для движения вперед и одну ускоренную дтя заднего хода. Фрикционы механизмов поворота сухие многодисковые, постоянно замкнутые. Опи установлены на хвостовике шестерни 19 (рис. 27), которая закреплена в опоре 1 на двух шарикоподшипниках 2. Фрикцион состоит из ведущей и ведомой частей и выключающего устройства.
К ведущей части относятся вал 20 фрикциона, установленный на одном шарикоподшипнике,‘ведущий барабан 11 и ведущие диски 13. Крутящий момент от передаточного вала к валу фрикциона передается шлицевой муфтой 15 (рис. 23). К ведомой части относятся ведомый барабан 8 (рис. 27), ведомые диски 6, нажимной диск 9, отжимной диск 5 с пальцами 12, пружина 21 и шестерня 19. К ведомому барабану 8 крепится тормозной барабан 14. Рис. 28. Планетарный механизм поворота: / — сателлит; 2 — шестерня фрикциона; 3, 4, // — шарикоподшипники; 5 — опора; б— манжета; 7 — войлочное уплотнение; 8 — фланец; 9 — солнечная шестерня; 10 — водило Между ведомыми дисками 6 установлены отжимные пружины 7, обеспечивающие четкое размыкание дисков фрикциона в момент выключения. Выключающее устройство механизма поворота состоит из поводковой коробки 15, колец 16 и 18 выключения, подшипника 4 и трех шариков 17. Выключающее устройство смазывается через масленку 3. Положение нажимного диска 9 регулируется прокладками 10 так, чтобы свободный ход поводковой коробки 15 на радиусе оси 64
отверстия гТод палец был 14—18 мм. При этом на каждом пальце 12 должно быть одинаковое количество одноименных прокладок 10. Опора / фрикциона крепится к картеру и крышке главной передачи шестью шпильками с тиками. Планетарные ряды механизмов поворота представляют собой одноступенчатые планетарные передачи, состоящие из эпициклических шестерен 1 и 12 (рис. 26), солнечных шестерен 9 (рис. 28), водил 10 с тремя сателлитами / па подшипниках и пальцах. Па хвостовике водила установлены ведомая шестерня 2 фрикциона и фланец 8 бортового карданного валика. Шестерня 2 фрикциона установлена на двух шарикоподшипниках 3 и сблокирована с солнечной шестерней 9. Водило 10 установлено на двух шарикоподшипниках 4 и 11, одним концом опирается на главный вал, другим — через опору 5 на картер. Опора 5 крепится к картеру и крышке главной передачи восемью болтами, Со стороны фланца 8 в опоре установлены манжета 6 и войлочное уплотнение 7. Система смазки главной передачи Смазка главной передачи комбинированная: под давлением и разбрызгиванием. Под давлением смазываются подшипники сателлитов планетарных механизмов поворота, опоры постоянно вращающихся ведомых шестерен III, IV, V и VI передач, подшипники ведомых шестерен фрикциона, подшипники конических шестерен и сухари переключения синхронизированных передач. Все остальные трущиеся элементы смазываются путем разбрызгивания масла. Система смазки главной передачи состоит из масляного насоса 4 (рис. 29) с перепускным и редукционным клапанами, масляного бака 1, масляного радиатора 2, масляного фильтра 3 грубой очистки с перепускным клапаном, манометра 15, распределителя 13 и маслопроводов 5, 8, 9, 10; 11 и 12. Масляный насос шестеренчатый трехсекционный: две секции— откачивающие, одна — нагнетающая. Он установлен в картере главной передачи. Насос состоит из корпуса 1 (рис. 30), проставки 2, крышки 4, трех ведущих шестерен 9 и трех ведомых шестерен 3. Ведущие шестерни и шестерня // привода установлены на' валу 7 на шпонках. Ведомые шестерни установлены свободно на оси 5. Полость насоса разделена перегородками 10 на три секции. В нагнетающем канале насоса установлен перепускной клапан 8, который регулируется на давление 6 кгс/см2. В откачивающем канале двух секций установлен общий перепускной клапан 6, отрегулированный на 6 кгс/см2. Заборники 6 и 7
(рис. 29) откачивающих секций установлены на днище картера главной передачи. Масляный бак расположен слева от двигателя. Верхняя часть бака соединена дренажным трубопроводом 14 с полостью картера главной передачи. Рис, 30. Масляный насос: 1 — корпус; 2 — проставка; 3 — ведомые шестерни; 4 — крышка; 5 — ось; в, 8 — перепускные клапаны; 7 — вал; 9 — ведущие шестерни; 10 — перегородка) 11 — шестерня привода насоса Уровень масла в баке определяется зиговками на заливной горловине. Верхняя зиговка соответствует полностью заправленному баку, нижняя — минимальному уровню масла. В баке установлен пеногаситель. Масляный радиатор пластинчато-трубчатый, изготовлен заодно с масляным радиатором системы смазки двигателя и отделен от последнего перегородками в коллекторах. Он установлен над водяным радиатором и крепится теми же стяжными лентами, что и водяной радиатор. Верхний коллектор радиатора системы смазки главной передачи соединяется трубой с масляным фильтром, нижний коллектор— трубой с масляным баком. Масляный фильтр грубой очистки пластинчато-щелевой. Фильтр состоит из фильтрующего элемента и перепускного клапана. Фильтр устанавливается в специальном приливе в крышке главной передачи. Фильтрующий элемент состоит из валика 5 (рис. 31), фильтрующих пластин 2 и промежуточных звездочек. Пластины 2 установлены па стержне / квадратного сечения, ввернутом в корпус фильтрующего элемента. На наружном конце валика фильтрующего элемента установлена рукоятка 4. Для очистки щелей фильтра от грязи необходимо проворачивать рукоятку 4
с валиком 5. Грязь, осаждающаяся в нижней части отстойника, периодически удаляется из него через спускное отверстие, закрываемое болтом 12. Пружина 11 перепускного клапана 13 регулируется ганкой 10. 4 J Рис. 31. Фильтр грубой очистки: / — стержень; 2 — фильтрующие пластины; 3, 9 — уплотнительные прокладки; 4 — ру^ Коятка; 5 — валик; 6 — гайка; 7 —крышка; 8— труба; 10 — регулировочная гайка; 11-^ пружина; 12 — болт; 13 — перепускной клапан Привод управления главной передачей Привод-управления главной передачей служит для переключения передач. Он состоит нз колонки переключения передач, тяг и рычагов. Колонка переключения передач состоит из корпуса 1 (рис. 32), рычага 2 переключения передач, поводков 7, 8, 9 и 10 фиксирующего, замкового и блокирующего устройств. Фиксирующее устройство предотвращает самопроизвольное включение или выключение передач. Оно состоит из фиксатора 5, пружины 3 и шарика 4. Под действием пружины 3 фиксатор 5 удерживает шарик 4 в вырезе одного из поводков 7, 8, 9 или 10 (предупреждая са-
I
непроизвольное перемещение поводка), фиксируя его только в рабочих и нейтральном положениях. Замковое устройство исключает одновременное включение двух и более передач. Оно состоит из трех шариков 11 и двух роликов 12. Шарики расположены в горизонтальном отверстии корпуса 1 колонки между поводками, а ролики установлены в отверстиях средних поводков 8 и 9 и находятся между шариками. Диаметр шариков больше толщины перегородок корпуса колонки. При включении одной из передач шарики и ролики передвигаются: в одну сторону — при перемещении крайних поводков и в обе стороны — при перемещения средних поводков таким образом, что шарики одной стороной полностью углубляются в отверстия перегородок, а другой входят в кольцевые канавки поводков, заклинивая нх. Продвинуть любой из поводков можно только тогда, когда шарики замка войдут в кольцевые вырезы остальных остающихся в нейтральном положении поводков. Блокирующее устройство поводковой коробки исключает возможность переключения передач при включенном сцеплении или при неполном его выключении. Оно состоит из валика 6 со срезом, расположенного в поперечном отверстии корпуса колонки над фиксаторами. Рычаг 28 валика блокировки соединен е тягами управления сцеплением. При включенном положении сцепления валик 6 блокировки повернут таким образом, что не дает возможности фиксаторам с шариками выйти из фиксирующих лунок поводков. Тйги 16, 15, 23 и 27 имеют резьбовые наконечники, которыми при регулировках изменяется длина тяг. Рычаги 25 и 26 синхронизированных передач (III—IV и V— VI) переменной длины. Они состоят из основания рычага и резьбового наконечника, последний удерживается от расшатывания контргайкой. Ввинчивая наконечник, можно менять длину рычага, при этом выбираются зазоры, образовавшиеся в процессе эксплуатации между пальцами и отверстиями в шарнирах и между сухарями и муфтами синхронизаторов, что обеспечивает полное включение передач. Работа главной передачи Мощность двигателя при работе главной, передачи передается от первичного вала 27 (позиции см. в приложении 9, рис. I) через коническую пару шестерен и подводится к планетарным рядам механизмов поворота двумя потоками. Первый из них, основной, идет от передаточного вала 25 через пару шестерен включенной передачи к эпициклическим шестерням 3 и 15 планетарных механизмов поворота.
Второй поток идет от передаточного вала 25 через включенные фрикционы 19 п 33 и пары шестерен 31, 2 и 21, 16 к солнечным шестерням 30 и 17 планетарных механизмов поворота. Оба потока мощности суммируются па водилах планетарных механизмов поворота и далее передаются бортовым передачам 1 н 18 и ведущим колесам. Работа главной передачи при нейтральном положении синхронизаторов пмуфт переключения передач При нейтральном положении синхронизаторов и муфт 8 (позиции см. в приложении 9, рис. I) переключения передач, при включенных фрикционах 19 и 33 механизмов поворота и расторможенных тормозах 20 и 32 транспортер не будет двигаться. В этом случае мощность передается только по одному потоку — от передаточного вала 25 через включенные фрикционы 19, и 33, ведущие 21 и 31 и ведомые 2 и 16 шестерни фрикционов на солнечные шестерни 17 и 30 обоих планетарных механизмов поворота. Солнечные шестерни 17 и 30 через сателлиты и эпициклические шестерни 3 и 15 вращают главный вал 10. Водила планетарных рядов 4 механизмов поворота остаются неподвижными вследствие того, что их вращению препятствуют моменты сопротивления вращению ведущих колес. При нейтральном положении муфт переключения передач, но при выключенном одном из фрикционов механизма поворота (например, фрикциона 33) и включенном тормозе 32 механизма поворота транспортер поворачивается в сторону выключенного фрикциона 33, но положение центра поворота зависит от соотношения моментов сопротивления вращению ведущих колес. При равных моментах сопротивления вращению ведущих колес тягач будет поворачиваться вокруг своего геометрического центра с радиусом, равным половине ширины колеи (приложение 9, рис. II, а). При большем моменте сопротивления вращению ведущего колеса, связанного с планетарным редуктором, па солнечную шестерню которого передается мощность двигателя, транспортер будет поворачиваться назад вокруг геометрического центра гусеницы с большим моментом сопротивления движению и с радиусом, равным ширине колеи (приложение 9, рис. II, б). При большем моменте сопротивления вращению другого ведущего колеса транспортер будет поворачиваться вперед, но вокруг геометрического центра второй гусеницы с радиусом, равным ширине колеи (приложение 9, рис. II, в).
Работа главной передачи на одной • изпередач При работе главной передачи на одной из шести передач фрикционы механизмов поворота включены, оба тормоза механизмов поворота расторможены, включена одна из подвижных муфт или синхронизатор. При включении 1 передачи муфта включения 8 (позиции см. в приложении 9, рис. I) входит в зацепление с внутренними зубьями неподвижной муфты 9 и останавливает главный вал 10 и закрепленные на’ нем эпициклические шестерни 3 и 15. При этом мощность передается только одним потоком: от передаточного вала 25 через включенные фрикционы.,33 и 19, через обе пары шестерен 31, 2 и 21, 16 фрикционов к солнечным шестерням 30 и 17. Солнечные шестерни 30 и 17 вращают сателлиты, которые, обкатываясь по остановленным эпициклическим шестерням 3 и 15, увлекают водила в направлении вращения солнечных шестерен, но с меньшей скоростью. Так как скорости вращения водил правого и левого планетарных передач одинаковы, то транспортер движется прямолинейно вперед с наименьшей скоростью. На II передаче муфта включения 8 входит в зацепление с внутренним венцом шестерни 7 II передачи и блокирует шестерню 7 с главным валом 10. Мощность при этом передается двумя потоками: первый поток — от передаточного вала 25 через шестерни 28 и 7 II передачи, муфту включения 8 на главный вал 10 и эпициклические шестерни 3 и 15 планетарных рядов 4; второй поток — от передаточного вала 25 через фрикционы 33 и 19, шестерни 31, 2 и 21, 16 фрикционов на солнечные шестерни 30 и 17. В планетарных рядах происходит суммирование потоков мощности, в результате чего водила приобретают определенную скорость вращения и передают суммарный крутящий момент к бортовым передачам / и 18 и далее на ведущие колеса. На остальных передачах (III, IV, V и VI) главная передача работает так же, как и при включенной II передаче. Мощность в первом потоке передается через одну из пар шестерен 12—24, 26—11, 22—14 или 23—13 соответствующей передачи. Передача мощности вторым потоком через фрикционы остается без изменения. При включении передачи заднего хода мощность от передаточного вала 25 также передается двумя потоками. Первый поток передается через шестерню заднего хода 29, промежуточную шестерню 6 заднего хода и ведомую шестерню 5 заднего хода на главный вал 10, при этом главный вал 10 и эпициклические шестерни 3 и 15 вращаются в обратном направлении.
Водила в этом случае находятся под воздействием разности составляющих скоростей от эпициклических 3 и 15 и солнечных 30 и 17 шестерен. Так как скорость эпициклических 3 и 15 шестерен превышает скорость солнечных 30 и 17, водила вращаются в обратном направлении и обеспечивают задний ход транспортера. Второй поток передается через фрикционы механизмов поворота. Работа, главной передачи на замедленных передачах При включенной замедленной передаче фрикционы 33 (позиции см. в приложении 9, рис. I) и 19 механизмов поворота выключены, тормоза 32 и 20 механизмов поворота затянуты, т. е. остановлены солнечные шестерни 30 и 17. Мощность передается одним потоком — через шестерни включенной передачи на эпициклические шестерни 3 и 15 планетарных передач. Эпициклические шестерни 3 и 15 приводят во вращение сателлиты, которые, вращаясь вокруг своих осей, обкатываются по заторможенным солнечным шестерням 30 и 17 и увлекают за собой водила. Так как водила находятся под воздействием только эпициклических шестерен, скорость вращения их снижается по сравнению с нормальным рядом. На I передаче при выключении фрикционов 33 и 19 механизмов поворота передача мощности на бортовые передачи 1 и 18 прекращается и транспортер останавливается. При включении одного фрикциона 33 планетарного механизма поворота транспортер поворачивается в сторону выключенного фрикциона 19 механизма поворота. На каждой передаче транспортер имеет определенный минимальный радиус поворота. 4.2.5. КАРДАННЫЕ ВАЛИКИ Для передачи крутящего момента от планетарных механизмов поворота главной передачи к бортовым передачам служат два полужесткпх карданных валика 4 (рис. 18)—правый и левый. Карданный валик состоит из валика 5 (рис. 33), двух зубчатых муфт /, сферических опор 3 и пружин 6. Зубчатые соединения валика и муфты смазываются через масленки 2; смазка в этих соединениях удерживается уплотнениями 7,
Закрепляется сферическая опора па зубчатой муфте ригелями 4 и винтами. Левый и правый карданные валики отличаются одни от другого длиной. Рис. 33. Карданный валик: / — зубчатая муфта; масленка; 3 — сферическая опора; 4 —ригель; 5 — карданный * валик; 6 — пружина; 7 — уплотнение 4.2.6. БОРТОВАЯ ПЕРЕДАЧА Бортовые передачи представляют собой одноступенчатые планетарные редукторы, понижающие частоту вращения колес в шесть раз по сравнению с частотой вращения водил планетарных редукторов механизмов поворота. Они расположены в передней части транспортера и прикреплены к бортам корпуса болтами 21 (рис. 34). Бортовые передачи соединены с главной передачей съемными карданными валиками. Бортовая передача состоит из водила 2, солнечной шестерни 12, трех сателлитов 8 и эпициклической шестерни, изготовленной заодно с картером 25. Водило опирается на шарикоподшипник 5 и роликоподшипник 16. На хвостовик водила насажено ведущее колесо. Солнечная шестерня изготовлена заодно со ступицей бара-байа остановочного тормоза. Тормозной барабан крепится к ступице болтами. Солнечная шестерня установлена па шарикоподшипниках 6 й 15. Сателлиты установлены на осях, запрессованных в отверстиях водила, и вращаются каждый на двух роликоподшипниках 7. С внутренней стороны картер 25 закрывается крышками 9 и 11, а с наружной — торцовым уплотнением 3. В местах разъема картера и крышек установлены уплотнительные кольца 22 и прокладка 19. Для предотвращения вытекания смазки из по-
Рис. 34. Левая бортовая передача: 1, 9, 11 — крышки; 2 — водило; 3 — торцовое уплотнение; 4 — регулировочные проклад* кн; 5, 6, 15 — шарикоподшипники; 7. 16 — роликоподшипники; 8 — сателлит; 10 — сапун; 12 — солнечная шестерня; /3 —сальник; 14 — манжета; 17 — гибкий вал; 18 — червячное колесо; 19. 26 — уплотнительные прокладки; 20 — червяк; 21 — болты крепления бортовой передачи; 22 — кольцо; 23, 24 — пробки; 25 — картер
лости бортовой передачи со стороны тормозного барабана установлены манжета 14 и войлочный сальник 13. В месте разъема картера и корпуса торцового уплотнения установлены регулировочные прокладки 4. Для сообщения полости картера бортовой передачи с атм<? сферой служит сапун 10. В картере имеется два отверстия, закрываемые пробками 23 и 24. Верхнее служит для заправки и контроля уровня масла, нижнее — для слива масла. В крышке левой бортовой передачи смонтирован червячный привод к спидометру. Червяк 20 привода спидометра посажен на хвостовик солнечной шестерни. Червячное колесо 18 выполнено заодно с валиком. Гибкий вал 17 присоединяется одним концом к хвостовику червячного колеса, другим — к спидометру. 4.2.7. ОСТАНОВОЧНЫЕ ТОРМОЗА Назначение и устройство остановочных тормозов Остановочные тормоза служат для торможения и остановки транспортера, для удержания его на подъемах и спусках, а также для торможения одной из гусениц при крутых поворотах. Остановочные тормоза (правый и левый) ленточные, плавающего типа. По устройству оба тормоза одинаковы. Тормоз состоит из тормозной ленты 1 (рис. 35), кронштейна 4, двуплечих рычагов 6 и 15 с пальцами 7 и 8, пружины 9, серьги 10, траверсы 11, валика 18 рычага тормозной камеры, рычага 16 тормоза и двух тяг 5. Тормозные ленты с накладками 2. В петлю верхнегр конца ленты вставлена траверса //, которая надевается на серьгу 10. Серьга 10 с помощью пальца 8 соединяется с малыми плечами двуплечих рычагов 6 и 15. Нижний конец ленты соединяется пальцем 7 со средними отверстиями рычагов 15 и 6. При затягивании тормозной ленты пальцы перемещаются в фигурных прорезях кронштейна 4. Необходимый зазор 1,5—2,5 мм между накладками лент и тормозными барабанами устанавливается с помощью регулировочной гайки 12. Равномерное распределение зазора по окружности барабана обеспечивается оттяжными пружинами 13 и регулировочными болтами 14. Оттяжная пружина 3 одним концом присоединяется к рычагу остановочного тормоза, а другим — к зацепу на наклонном листе корпуса. При нажатии на педаль остановочного тормоза оттяжная пружина 3 растягивается, а при освобождении педали возвращает рычаг остановочного тормоза в исходное положение, обеспечивая отход тормозной ленты от тормозного барабана. Валик 18 смазывается через масленку 17.
Привод управления остановочными тормозами Управление остановочными тормозами осуществляется двумя независимыми приводами: пневматическим приводом, управляемым от ножной педали, и механическим приводом, управляемым рычагами управления. Рис. 36. Пневматический привод остановочных тормозов: 7 — вилка тормозной камеры: 2 — тормозная камера; 5 — тормозной кран; 4 —тяга; 5— остановочный тормоз; 6 — рычаг; 7 — кронштейн; 8 — вал; 9 — педаль тормоза; 10 — пружина Описание привода, управляемого рычагами управления, приведено ниже в подразд. 4.2.9. Привод управления остановочными тормозами ножной педалью служит для торможения и остановки транспортера. Для каждого остановочного тормоза (левого и правого)' имеется свой индивидуальный привод, который состоит из тормозной камеры 2 (рис. 36) и вилки 1. Вилка / тормозной камеры соединяется с рычагом валика 18 (рис. 35). Для подачи сжатого воздуха из баллонов в тормозные камеры служит тормозной кран 3 (рис. 36). Управление тормозным краном осуществляется от педали 9 через вал 8, рычаг б и тягу 4. Валик педали установлен в двух кронштейнах 7.
4.2.8. ТОРМОЗ МЕХАНИЗМА ПОВОРОТА Тормоз механизма поворота предназначен для затормаживания солнечной шестерни планетарного редуктора механизма поворота в целях осуществления поворота транспортера и получения замедленного ряда передач. Тормозной барабан тормоза крепится к ведомому барабану фрикциона механизма поворота. А-А Рис 37. Тормоз механизма поворота: /—тормозная лепта; 2 — накладкн; 3» 16, /7 — регулировочные болты; 4, 15 — кронштейны; 5, 9 — пружины; б — серьга; 7— регулировочная гайка; 8, // — траверсы; 10 — гайка; 12 — двуплечий рычаг; 13 — регулировочная тяга; 14 — палец Тормоза механизма поворота плавающего типа, ленточные, с механическим приводом. Конструкция их аналогична конструкции остановочных тормозов. Тормоз состоит из тормозной ленты 1 (рпс. 37) с накладками 2, двуплечих рычагов 12 с пальцами 14, траверс 8 и 11, серьги 6 с пружиной 9, регулировочной тяги 13 с гайкой 10, кронштейнов 4 и 15 с оттяжными пружинами 5 и регулировочных болгов 3, 16 и 17. Равномерное распределение зазора между накладками лент и тормозными барабанами по окружности обеспечивается от-тя/кпымп пружинами 5 и регулировочными болтами 3, 16 и 17.
4.2.9. ПРИВОД УПРАВЛЕНИЯ ОСТАНОВОЧНЫМИ ТОРМОЗАМИ И ПЛАНЕТАРНО-ФРИКЦИОННЫМИ МЕХАНИЗМАМИ ПОВОРОТА Устройство привода управления остановочными тормозами и планетарно-фрикционными механизмами поворота Привод управления остановочными тормозами и планетар-ио-фрпкциоппыми механизмами поворота состоит из двух рычагов 17 н 18 (рис. 38) управления, передаточного вала 20, промежуточного вала 15, двух мостиков 21 и 26 управления, переходного кронштейна 25 и системы тяг и рычагов. Рычаги управления смонтированы на валике 19, установленном в кронштейне 12 на двух опорах. Правый рычаг 18 управления закреплен па валике с помощью стопорного пальца с гайкой. Левый рычаг 17 управления установлен свободно на втулке. К левому рычагу с помощью пальца подсоединяется тяга 10. Передаточный вал 20 служит для кинематической связи правого рычага управления с правым мостиком и правым остановочным тормозом. Он соединяется с помощью зубовых муфт 22 с валиком рычагов управления и валиком 23 правого кронштейна 24. К валику правого кронштейна с помощью стопорного пальца крепится рычаг И, к которому подсоединяется тяга 9 правого рычага управления. Переходной кронштейн 25 служит для связи передаточного валЬ с правым мостиком 26 и правым остановочным тормозом. В кронштейне 25 па двух втулках свободно установлен валик. На валике с одной стороны приварен двуплечий рычаг 5, а с другой ^стороны крепится рычаг 4 с помощью стопорного пальца и ганки. К короткому плечу рычага 5 подсоединяется тяга 9 правого рычага управления, к длинному — тяга 7 правого мостика, а к рычагу 4 — тяга 1 правого остановочного тормоза 28. Промежуточный вал 15 служит для кинематической связи левого рычага 17 управления с левым мостиком 21 и левым остановочным тормозом 31. Он установлен в кронштейнах 16 на двух сферических шарикоподшипниках. На валике приварены рычаги, к одному из них (короткому) подсоединяется тяга 10 левого рычага управления, к другому (длинному) — тяга 14 левого остановочного тормоза. На правый,конец промежуточного вала с помощью стопорного пальца крепится рычаг 13 для подсоедииенця тяги 8 леро-го мостнка управления, 80
Мостики управления обеспечивают определенную очередность выключения фрикционов механизма поворота, затормаживания и растормаживания тормозов механизма поворота и остановочных тормозов. Каждый мостик управления состоит из кронштейна 18 (рис. 39), валика 7 кулака, кулака 13 рычага 3 тормоза механизма поворота, ролика 21 фрикциона механизма поворота, двух пружин 17 и ролика 5 рычага тормоза механизма поворота. На кронштейне 18 монтируются все детали мостика управления и крепятся концы лент тормоза механизма поворота. Кулак 13 устанавливается па валике 7 с помощью шпонки и стяжного болта. На рабочую поверхность кулака опираются ролики. Рабочая поверхность кулака выполнена по специальному профилю с двумя лупками. Лупки обеспечивают фиксацию рычагов управления в исходном и первом положениях. Рычаг 14 крепится к валику кулака с помощью шпонки и стяжного болта; к нему подсоединяется один конец тяги 8 (рис. 38) левого мостика управления. Тяга 8 левого мостика управления другим концом соединяется с длинным рычагом 13 промежуточного вала 15. К трубе 19 (рис. 39), надетой на валик, установленный в кронштейне 18, приварены рычаг 6 фрикциона механизма поворота и короткий рычаг с прорезью. В рычаге с прорезью установлен ролик 21, который при повороте кулака отжимается и поворачивает трубу на соответствующий угол. На левом мостике управления на рычаге 6 смонтирован выносной механизм регулирования свободного хода поводковой коробки фрикциона механизма поворота, который состоит из гайки 10, тяги 12, контргаек 9 и 11. Тяга 12 шарнирно соединена с тягой 27 (рис. 38) фрикциона механизма поборота. На правом мостике управления выносной механизм отсутствует. Рычаг 6 (рис. 39) имеет иную конструкцию и непосредственно шарнирно соединен с тягой 27 (рис. 38) фрикциона механизма поворота. В средней части рычага 3 (рис. 39) тормоза механизма поворота смонтирован ролик 5, который свободно вращается на своей осп и перекатывается цр рабочей поверхности кулака 13 при его поворотах Рычаг 3 шарнирно соединен с регулировочной тягой 3 (рис. 38), которая в свою очередь соединена с двуплечими рычагами 2 тормоза механизма поворота. Пружины 17 (рис. 39) одним концом надеты на валик, запрессованный в кронштейн мостика, другим — па зацеп 4, соединенный с передним концом рычага 3 тормоза механизма поворота.
Исходное 90-100 Рис. 38. Привод управления остановочными тормозами и планетарно-ф.рлкционньгмл механизмами поворота: /—тяга правого остановочного тормоза; 2—двуплечие рычаги; 3 — регулировочная тяга; 4, И, 13 — рычаги; 5—двуплечий рычаг; б —защелка; 7 — тяга правого мостнка; 8—тяга левого мостика; 9 — тяга правого рычага управления; 10— тяга левого рычага управления; 12 — кронштейн рычагов управления; 14 — тяга левого остановочного тормоза; 15 — промежуточный вал; 16 — кронштейн промежуточного вала; /7, 18 — рычаги управления; 19 — валик рычагов; 20— передаточный вал; 21, 26 — мостики управления; 22— зубовая муфта; 23—валик; 24 — правый кронштейн; 25 — переходный кронштейн; 27 — тяга фрикциона механизма поворота; 28, 3/— остановочные тормоза; 29, 30 — тормоза механизмов поворота
Пружины постоянно прижимают ролик 5 к кулаку 13 и создают усилия для затяжки тормоза механизма поворота. Рис. 39. Левый мостик управления / — валик пружин; 2 — шарикоподшипник; 3 — рычаг тормоза; 4 — зацеп пружины; 3, 21 — ролики; 6— рычаг фрикциона; 7 — валик кулака; в — ось рычага тормоза; 9, //— контргайки; 10 — гайка;, 12 — тяга; 13 — кулак; 14 — рычаг; 15 — стяжной болт; 16 — валик рычага фрикциона; 17 — пружина; 18 — кронштейн; 19 — труба рычага фрикциона; 20 — масленка Работа привода управления планетарно-фрикционными механизмами поворота и остановочными тормозами Рычаги управления в работе могут занимать три определенных положения. Исходное положение соответствует прямой передаче, первое — замедленной передаче или повороту на тормозах механизма поворота, второе—выключенным планетарно-фрикционным механизмам поворота и заторможенным остановочным тормозам. Исходное положение рычагов управления В исходном положении рычага управления ролик 5 рычага (рис. 39) находится в верхней лунке профиля кулака 13 и прижимается к нему усилием пружин 17. Рычаг 3 тормоза механизма поворота занимает верхнее положение, и лента тормоза механизма поворота расторможена; ролик 21 фрикциона механизма поворота находится в лупке на профиле кулака, при этом фрикцион механизма поворота включен.
Тяга остановочного тормоза нс действует на рычаг остановочного тормоза, и тормозная лента остается незаторможенной. Если в исходном положении находятся оба рычага управления, транспортер будет двигаться прямолинейно. Первое положение рычагов управления Перемещение рычага управления в первое положение вызывает поворот кулака. Кулак отжимает ролик 21 (рис. 39) фрикциона механизма поворота, поворачивает трубу 19 н через рычаг 6 фрикциона перемещает тягу 27 (рис. 38), которая, воздействуя на поводок, выключает фрикцион механизма поворота. Ролик 5 рычага (рис. 39) при этом выходит из лунки и перемещается во впадину кулака. Под действием двух пружин рычаг 3 поворачивается и перемещает регулировочную тягу 3 (рис. 38) тормоза механизма поворота. При этом пальцы двуплечих рычагов перемещаются по фигурным прорезям кронштейна мостика управления и затягивают тормозную ленту механизма поворота. В момент полной затяжки тормозной ленты зазор между кулаком и роликом рычага должен быть 4,5—5,5 мм. В первом положении рычаги управления фиксируются роликом рычага фрикциона, который находится в нижней лунке кулака. При установке обоих рычагов управления в первое положение транспортер будет двигаться прямолинейно и замедленно на II, III, IV, V и VI передачах, а на передаче заднего хода — ускоренно. На I передаче движение прекратится, так как кинематическая цепь будет прервана. Если один из рычагов управления находится в исходном положении, а другой — в первом положении, транспортер будет поворачиваться с фиксированным радиусом, соответствующим данной передаче переднего хода, в сторону рычага, установленного в первое положение. На передаче заднего хода транспортер будет поворачиваться в противоположную сторону рычагу, установленному в первое положение. Второе положение рычагов управления При перемещении рычагов управления из исходного во второе положение ролик рычага фрикциона перекатывается по профилю кулака с постоянным радиусом и не оказывает воздействия па фрикцион механизма поворота — фрикцион остается выключенным. Верхний выступ кулака поворачивает рычаг тормоза механизма поворота в обратном направлении; преодолевая усилие
пружин, рычаг тормоза перемещается и растормаживает тормоз механизма поворота. Под действием усилия, прилагаемого водителем к рычагам управления, тяга остановочного тормоза, выбрав зазор в прорези, поворачивает рычаг и затягивает ленту остановочного тормоза. Если во второе положение поставить оба рычага управления, транспортер резко остановится. Если один из рычагов управления находится в исходном положении, а другой — во втором, то при включении передач транспортер поворачивается вокруг заторможенной гусеницы радиусом, равным ширине колеи транспортера. Расположение органов управления транспортера показано на рис. 49. 4.3. ХОДОВАЯ ЧАСТЬ Ходовая часть транспортера состоит из гусеничного движителя и подвески. 4.3.1. ГУСЕНИЧНЫЙ ДВИЖИТЕЛЬ Гусеничный движитель служит для преобразования вращательного движения ведущих колес в поступательное движение транспортера. Гусеничный движитель состоит из двух гусениц, двух ведущих колес, двух направляющих колес с натяжными устройствами и двенадцати опорных катков. Гусеницы воспринимают через опорные катки массу транспортера и распределяют ее на опорную поверхность в целях уменьшения удельного давления на грунт и повышения проходимости транспортера. Гусеницы металлические, мелкозвенчатые с открытым шарниром. Каждая новая гусеница состоит из 108 звеньев. Звено / (рис. 40) представляет Собой фасонную отливку. Все звенья с гребнями. Гребни служат для направления опорных катков по гусенице и гусеницы — по направляющему колесу. Гладкие поверхности их служат беговыми дорожками для опорных катков. Нижняя поверхность усилена ребрами жесткости, улучшающими сцепление и боковую устойчивость транспортера на грунте. В каждом звене по одиннадцати проушин. Утолщенные крайние проушины (цевки) входят в зацепление с зубьями ведущих колес. Зацепление ведущего колеса с звеньями гусениц толкающего типа. Отверстия в проушинах под пальцы калибруются. Звенья соединяются в гусеницу плавающими пальцами 2. Один конец пальца имеет головку, а другой расклепывается, 86
Рис. 40. Гусеница с открытым шарниром! 1 — звено; 2 — плавающий палец
На транспортерах могут быть установлены гусеницы с закрытым шарниром. Каждая новая гусеница состоит из 108 звеньев. Звено 1 (рис. 41) представляет собой фасонную штам- Рис. 41. Гусеница с закрытым шарниром: 1 — звено; 2 — обрезиненный палец повку. Звенья пятипроушпнные, гребневые. Отверстия в проушинах под пальцы подвергаются точной обработке. Звенья соединяются в гусеницу обрезиненными пальцами 2. Резиновые кольца пальцев служат для уплотнения шарниров от воздействия внешней среды, что улучшает ходовые качества гусеничных цепей. Ведущие колеса, получая вращение от двигателя через трансмиссию, перематывают гусеницы н передают на корпус транспортера толкающее усилие, под действием которого транспортер перекатывается на опорных катках по гусеницам.
Ведущее колесо состоит пз двух зубчатых венцов / (рис. 42) н ступицы 2 с приваренными к ней двумя дисками. Венцы ведущего колеса крепятся к дискам болтами 4 с ганками 3 н шплинтуются. Колесо надевается на шлицы хвостовика водила бортовой передачи н крепится к нему с помощью прижимного кольца, шпилек, гаек и шплинтов. Рис. 42. Ведущее колесо: / — венец; 2 —ступица; 3 — гайка; 4 — болт Начиная с апреля 1977 года на транспортеры устанавливаются ведущие колеса с выточкой 0 102 мм и длиной 17 мм со стороны упорного торца в подшипник 5 (рис. 34). Ведущие колеса без вышеуказанной выточки не могут быть установлены па транспортеры, которые были выпущены после апреля 1974 года. Направляющие колеса с натяжными устройствами предназначены обеспечить требуемое натяжение гусениц и направление их во время движения транспортера. Они расположены в кормовой части транспортера. Направляющее колесо состоит из двух сварных ободьев 1 и 22 (рис. 43). Колесо установлено на малой коленчатой оси 20 на двух шарикоподшипниках 2 и 4. С наружной стороны колесо закрыто колпаком 5, а с внутренней — торцовым п лабиринтным уплотнениями 21. Колпак 5 крепится к ободу 1 болтами 8. В колпаке 5 выполнено отверстие, закрытое пробкой 6, для
контроля уровня масла и отверстие, закрытое пробкой 3, для заправки и слива масла. Внутренние обоймы шарикоподшипников 2 и 4 фиксируются с помощью гайки 7 и втулки 10. Натяжение гусеницы осуществляется поворотом коленчатой осп 20 в кронштейне, приваренном к борту корпуса транспортера. Для этого па шлицевом хвостовике большой оси с помощью корончатой гайки 15 закреплена вилка 17, в отверстиях которой свободно вращается палец 16, выполняющий роль гайки натяжного винта. Натяжной винт 18 закреплен в шаровой опоре 13, установленной в кронштейне, вваренном в днище корпуса. Осевое перемещение винта в шаровой опоре ограничивается упорным шарикоподшипником 12, установленным между буртом натяжного винта и торцом опоры. При вращении винта 18 вилка 17 и коленчатая ось 20 поворачиваются, перемещая направляющее колесо назад или вперед (с приложением усилия к направляющему колесу). Натяжной винт фиксируется стопорной планкой, которая крепится к кронштейну шаровой опоры 13 болтом. Для смазки большой оси кривошипа служит масленка 14, для смазки шаровой опоры — масленка 11. Опорные катки 1 (рис. 44) выполнены из алюминиевого сплава пустотелыми. Опорный каток состоит из ступицы, дисков и обода. Все детали соединены между собой сваркой. К ободу прнвулканизирована массивная шина. Опорный каток смонтирован на малой осн балансира 10 на двух шарикоподшипниках 2 и 7. Со стороны борта ступица имеет торцовое и лабиринтное уплотнения 9, а с наружной стороны закрывается колпаком 4. В колпаке 4 выполнено отверстие, закрытое пробкой 3, для контроля уровня масла и отверстие, закрытое пробкой 6, для заправки и слива масла. 4.3.2. ПОДВЕСКА Назначение и устройство подвески Подвеска смягчает удары и толчки, возникающие при движении транспортера по неровностям пути. Подвеска независимая (индивидуальная), торсионная. Подвеска состоит нз двенадцати балансиров 6 (рис. 45), двенадцати торсионных валов 3 и 4 и четырех упоров 2. Балансир 10 (рис. 44) катка стальной, выполнен штампованным заодно с большой и малой осями. Балансиры крайних катков имеют ушки а для соединения с гидроамортпзаторамн и кронштейны б для упора в ограничители. Балансир 10 свободно качается в кронштейне корпуса на
двух втулках 11 и 24. В торце кронштейна имеется уплотнение 13. Для смазки втулок в кронштейне выполнено отверстие, закрываемое пробкой 12. Рис. 44. Подвеска: / — опорный каток; 2, 7 — шарикоподшипники; 3, 6. /2 — пробки; 4 — колпак; 5 —гайка; в — упор; 9 — торцовое н лабиринтное уплотнения; 10— балансир; 11, 24 — втулки; 13 — уплотнение; // — гайка балансира; 15, 16, 18 — регулировочные прокладки; 17, /9 —болты; 20 — планка; 21 — уплотнительное кольцо; 22 — левый торсионный вал; 23 — правый торсионный вал; а — ушко; б — кронштейн Торсионный вал — упругий элемент подвески. Он представляет собой цилиндрический стержень с утолщенными шлицевыми головками. Торсионные валы изготовляются из легированной стали и подвергаются процессу заневоливаиий. Торсионный вал 23, прошедший процесс заиеволпвания закруткой по ходу часовой стрелки, называется правым торсион-92
Рис, 45. Подвеска транспортера-тягача: гидроамортизатор; 2 .упор; 3—правый торсионный вал; 4— левый торсионный вал; 5 — опорный каток; 6 — балансир
ным валом (окрашен в стальной цвет); торсионный вал 22, прошедший процесс заневоливания закруткой против хода часовой стрелки, называется левым торсионным валом (окрашен в синий цвет). С левой стороны транспортера устанавливается пять левых торсионных валов и одни правый (шестой), с правой — пять правых и один левый (шестой). Большая головка торсиона закреплена в оси балансира 10 с помощью болта 17. Торец большой головки торсиона уплотняется фибровой прокладкой и гайкой 14. Малая головка торсиона устанавливается до упора в ограничительную планку 20 и крепится к ней с помощью болта 19 и шайбы. Ограничительная планка 20 крепится к кронштейну двумя болтами и шайбами. Для уплотнения малой головки служит резиновое уплотнительное кольцо 21. Упоры 8 установлены под рычаги передних и задних катков. Они служат для ограничения хода катка и уменьшения деформации (угла закручивания) торсионного вала. Упор состоит из буферной пружины и бойка. Пружина коническая, своим основанием она крепится к кронштейну, установленному на борту транспортера. Кронштейн воспринимает удар балансира через буферную пружину и передает его корпусу транспортера. При движении по высоким неровностям буферная пружина увеличивает жесткость подвески, что приводит к значительному снижению вероятности жестких ударов балансира в ограничитель хода. Г идроамортизаторы Гидроамортизаторы являются дополнительным агрегатом подвески и предназначены для гашения колебаний корпуса, возникающих при движении транспортера по неровностям пути, и повышения плавности хода. Гидроамортизаторами поршневого (телескопического) типа двустороннего действия оборудованы передние и задние балансиры транспортера. К основным частям гидроамортизатора относятся корпус, шток 2 (рис. 46), опора 5, крышка 9, клапан-золотник 1, компенсационный клапан 26 и кожух 4. Корпус гидроамортизатора состоит из сваренных между собой цилиндра 3, головки 25, компенсационной камеры 24. Головка 25 имеет проушину, с помощью которой амортизатор соединяется пальцем с ушком а рычага катка (рис. 44). В головке установлен компенсационный клапан 26 (рис. 46). Он служит для сообщения полости цилиндра с компенсационной камерой 24. Шток 2 изготовлен заодно с поршнем. В поршне установлен клапан золотник 1, который предназначен для устранения перегрузки деталей при прямом ходе. В хвостовик штока £ ввернут винт проушины 20, 94
22' 23 24 CO крышки; 11 — скребок; 12, /в — гайки; 14 — втулка; 15 — палец; /6 — кронштейн; 19 — крышка; 20 — проушина; 22 — проволока; 24 — компенсационная камера; 25 — головка, 26 — компенсационный клапан
Проушина крепится к кронштейну 16 корпуса транспортера с помощью гайки 18 и крышки 19 с резьбой. К проушине четырьмя болтами крепится кожух 4 амортизатора. При работе гидроамортнзатора внутри цилиндра 3 давление масла повышается до 200—250 кгс/см2. Поэтому шток имеет падежное-уплотнение в опоре и крышке, состоящее из колец. 7, набора фторопластовых и резиновых уплотнений 8. Скребок 11 предотвращает попадание пыли и грязи внутрь цилиндра. Имеются уплотнительные кольца 6, 10 и 21 между корпусом и опорой 5, между корпусом и крышкой 9, между скребком 11 и крышкой. 4.4. КОРПУС Корпус из стали цельносварной, водонепроницаемый, обладает водоизмещением, позволяющим транспортеру держаться на плаву при номинальной грузоподъемности. Корпус состоит из носа рамы (рис. 47), верхнего листа 19 носа, двух нижних бортов, днища, подкрылков 12, двух верхних наклонных бортов 29 и 35, кормового листа 17, боковин 18 и 21, лобового листа 22 и крыши 26, 27 и 31. Нос рамы состоит из нижнего листа 3 и двух бортов 2, он усилен для жесткости двумя продольными балками, поперечной балкой и двумя стойками. К носу рамы приварены два буксирных крюка 1. К бортам носа рамы приварены накладки 4 для крепления бортовых передач. К днищу носа рамы приварены опоры главной передачи, кронштейны тормозных камер, кронштейны воздушных баллонов. 16 Г
Рис. 48. Установка груза на платформе: 1 — ящик с грузом; 2 — кольцо крепления груза Нижние борта корпуса состоят из двух листов 9 и 11, сваренных между собой; места сварки усилены с наружной стороны накладками. Днище корпуса состоит из пяти листов. К днищу и нижним бортам корпуса приварены кронштейны 6 подвесок. К днищу и кронштейнам подвесок приварены торсионные балки. В средней части корпуса к днищу и торсионным балкам приварены опора 8 двигателя, постель масляного бака, кронштейны топливного‘крана и топливоподкачивающего насоса. К днищу в кормовой части приварены кронштейны 15 направляющих колес и кронштейны механизма натяжения. Для усиления кормовой части корпуса к днищу, бортам и кормовому листу приварена кормовая балка и в центре кормового отделения корпуса установлена съемная усиливающая стойка. Рис. 49. Отделение управления: / — педаль подачи топлива; 2 — педаль тормоза; 3 — рычаги управления; 4 — педаль сцепления; 5 — щиток приборов водителя; 6 — стеклоочиститель; 7 — рукоятка управления щитком стекла; 8 — приборы ТНПО-170А; 9 — рычаг переключения передач; 10 — выключатель аккумуляторной батареи; 11 — рукоятка вентиляционного люка; 12 — блок питания прибора ТВН-2Б; 13 — рукоятка управления фаро-прожектором; 14— измерительный пульт прибора ДП-ЗБ; 15 — регулятор температуры стекол, 16 — блок питания радиостанции; // — аппарат А-3 переговорного устройства; 18 — смотровой прибор 54.36.5сбБМ; 19 — приемопередатчик; 20 — прицел; 21 — пулемет; 22 — стеклоблок; 23 — реле-регулятор; 24 — бачок для питьевой веды; 25— патронные коробки; 26 — кингстои; 27 — щиток командира; 28 — аппарат А-1; 29 — рукоятка ручной подачи топлива; 30 — топливораспределительный кран; 31 — ручной подкачивающий насос; 32 — огнетушитель; 33 — правое сиденье; 34 — среднее сиденье (дополнительное); 35 — сиденье механика-водителя; 36 — щиток отопителя; 37 — механизм управления жалюзи; 38 — стеклоблок; 39 — футляр для прибора ТНПО-170А (на машинах последних лет выпуска — один футляр)
4*
В днище корпуса выполнены герметически закрывающиеся люки для слива масла из главной передачи, промежуточного редуктора, двигателя и масляного бака главной передачи и люки для слива топлива из топливных баков. Для слива воды после преодоления водных преград в носовой и кормовой частях днища имеется три кингстона. В носовой части на верхнем лобовом листе 19 (рис. 47) выполнен люк 20 для монтажа и обслуживания главной передачи. В отделении управления на лобовом листе 22 имеются смотровые стекла 37, закрываемые крышками. В крыше 36 отделения управления выполнены в центре— люк 23 командира, справа — люк с основанием 24 под установку ТКБ-01-1, слева— люк 38 водителя. Над отделением двигателя в крыше имется люк 25 для монтажа и обслуживания двигателя В крыше 27 грузовой платформы имеется два люка 28 и 32, через которые могут вестись наблюдение при движении на марше и высадка на плаву. На кормовом листе 17 корпуса имеется два люка для посадки и высадки расчета. Крышки люков открываются с помощью ключа запора (деталь 6.61.101), придаваемого в одиночный комплект ЗИП и размещенного в кармане спинки сиденья водителя. На правом 29 и левом 35 бортах, а также на двух крышках люков на кормовом листе 17 имеются лючки амбразур 30 и 33 для стрельбы из автоматов. На рис. 48 показан один из вариантов* размещения груза на платформе и крыше транспортера, на рис. 49 — расположение органов управления, оборудования и приборов в отделении управления. 4.5. ЭЛЕКТРООБОРУДОВАНИЕ Электрооборудование транспортера состоит из источников электрической энергии, потребителей электрической энергии, контрольно-измерительных приборов, вспомогательной аппаратуры и-проводов. К источникам электрической энергии относятся две аккумуляторные батареи и
генератор с реле-регулятором, к потребителям электрической энергии — стартер, электродвигатели системы подогрева двигателя, системы отопления и вентиляции, вентилятора обдува и ФВУ, электромагнитный клапан с форсункой и электронагревателем топлива, свечи накаливания подогревателя и отопителя, звуковой сигнал, стеклоочистители, система обогрева лобовых и защитных стекол, электролампы системы освещения и сигнализации. К контрольно-измерительным приборам относятся вольтамперметр, спидометр, манометры масла и воздуха, термометр для воды. К вспомогательной аппаратуре относятся включатель батарей, выключатели потребителей электроэнергии, штепсельные розетки, предохранители, штепсельные разъемы, фильтр радио-помех, контактор включения реле стартера. Электросеть экранированная, выполнена по однопроводной схеме. Общим «минусом» для потребителей тока является корпус транспортера. Отрицательные зажимы аккумуляторных батарей присоединяются к корпусу через включатель батарей. Таким образом, ток от аккумуляторных батарей к потребителям поступает только при включенном включателе батарей. По двухпроводной системе выполнена проводка левой штепсельной розетки отделения управления и плафонов. Номинальное напряжение сети 24 В. Принципиальная схема электрооборудования транспортера показана на рис. 50 (см. вклейку в конце книги), монтажная схема электрооборудования — на рис. 51. 4.5.1. источники электрической энергии Аккумуляторные батареи На транспортере установлены две кислотные стартерные батареи. Напряжение на зажимах каждой аккумуляторной батареи 12 В, емкость 140 А-ч, соединение батарей последовательное. Аккумуляторные батареи предназначены для питания всех потребителей электрической энергии при неработающем двигателе и при работе двигателя на малой частоте, а также для питания потребителей совместно с генератором, когда потребляемый ими ток превосходит допустимую для генератора величину. Аккумуляторная батарея состоит из шести одинаковых по устройству аккумуляторов, помещенных в деревянном ящике 6 (рис. 52), закрываемом крышкой 1 Ящик и крышка окрашены кислотостойким лаком. На передней стенке ящика закреплены выводные зажимы 10, закрываемые защитной коробкой 4, ис-102
ключающей случайные замыкания зажимов аккумуляторной батареи. Правый выводной зажим положительный (4-). левый отрицательный (—). Для удобства транспортирования на передней и задней стенках ящика предусмотрены ручки 7. Рис. 52. Аккумуляторная батарея (в разрезе)! / — крышка батареи; 2 — отверстие для крепления крышки; 3 — болт крепления защитной коробки; 4 — защитная коробка; 5 — выступ для крепления крышки; 6 — ящик батареи; 7 — ручка; 5 —щиток для крепления защитной коробки; 9 — предохранительный виннпластовый щиток; 10 — выводные зажимы батареи; // — пробка заливного отверстия; 12 — межаккумуляторное соединение; 13 — захват для крепления крышки; 14 аккумуляторная крышка, /5 — выводной штырь; 16 — предохранительный щиток; 17—-мостик батареи; 18 — стяжная лента; 19 — отрицательная пластина; 20 — призма; 21 — сепаратор, 22 — положительная пластина Каждый аккумулятор состоит из призмы 20, положительных 22 и отрицательных 19 пластин, отделенных друг от друга сепараторами 21. В каждом аккумуляторе девять положительных и десять отрицательных пластин. Сверху каждый аккумулятор закрывается крышкой 14 и герметизируется мастикой. В крышке 14 имеется три отверстия. Центральное отверстие, через которое заливается электролит, закрыто пробкой 11, через остальные два отверстия выведены штыри 15 полублоков пластин. Аккумуляторные батареи размещаются в корзинах 11 (рис. 53), установленных в правой боковой полости грузовой платформы, и крепятся лентами 3 и 5. Корзины крепятся к
Вид А Рис. 53, Установка аккумуляторных батарей: /—провод розетки внешнего пуска; 2 — розетка внешнего пуска, 3, .5 —ленты: 4 — провод; 6 — болт: 7 — амортизатор; 8 — силовой провод стартера; 9 — провод включения батарей. /О — амортизационная прокладка; // — корзина
корпусу болтами 6 через амортизаторы 7. В корзине уложена амортизационная прокладка 10. Положительный зажим аккумуляторной батареи Б1 соединен с отрицательным зажимом батареи Б2 проводом 4\ к отрицательному зажиму батареи Б1 подсоединяется провод 9 включения батарей. Положительный зажим аккумуляторной батареи Б2 соединен с силовым проводом 8 стартера и проводом 1 розетки 2 внешнего пуска. Генераторная установка Генераторная установка, включающая генератор Г290В-О и реле-регулятор РР390-Б, предназначена для питания электрической энергией потребителей и подзаряда аккумуляторных батарей при работающем двигателе. Генератор трехфазный, синхронный, переменного тока, с электромагнитном возбуждением, со встроенным кремниевым выпрямителем. Он характеризуется на стороне постоянного тока номинальным напряжением 24 В и номинальным током 150 А и является основным источником электрической энергии на транспортере. Генератор 7 (рис. 54) устанавливается на кронштейне 5, закрепленном на верхней крышке блока цилиндров двигателя. К кронштейну генератор крепится двумя лапами, выполненными на крышках его корпуса. Для надежного соединения лап генератора с кронштейном на передней опоре предусмотрена возможность выбора монтажного зазора с помощью специальной втулки 18, ввертываемой в кронштейн. Лапы генератора соединяются с кронштейном двумя болтами 4 и 16. Третьей лапой генератор крепится к планке 9. Привод генератора осуществляется ременной передачей от шкива 1. Натяжение ремней обеспечивается натяжным устройством, которое состоит из кронштейна 14, ролика 15 и натяжного винта 13. Возбуждение генератора включается выключателем 24 (рис. 56), расположенным на щитке приборов водителя; при этом загорается сигнальная лампа 23. Реле-регулятор обеспечивает: подключение к бортовой сети и отключение от нее цепи обмотки возбуждения генератора при включении выключателя 24 на щитке приборов водителя; автоматическое поддержание напряжения генератора в пределах 26,5—28,5 В-при всех изменениях частоты вращения ротора генератора, тока нагрузки и температуры; автоматическую защиту генератора от перегрузки (ограничение тока);
Рис. 54. Установка генератора: шкивы 2 3, 3. 10, 12, П, /9 —гайки; 4, /6 — болты; 5— кронштейн генератора; 6 — ремень; 7 — генератор; 9 —планка; /3 — натяжной вннт; 14 — кронштейн натяжного устройства; /5 —натяжной ролик; 18 — резьбовая втулка
автоматическую блокировку стартера, т. е. автоматическое отключение стартера после пуска двигателя и поддержание затем стартерной цепи в отключенном состоянии при работающем двигателе; Yj + __ __ Ц □ к/ Ш11 лг|д?Й/ O 2 рс\ез\р2\/1р кг/ /<1 1 R1 K3F2 R8 •KS2K5.1 X3Fj\ RS RIO VS X2 R13\ R14 t R22 R21\ R15 V12 V12 R17\Rlt> R12 R19 \R1B |Л|4о|А5!Л ХЗ VB \R2D fZ VS ^LVf Рис. 55. Принципиальная схема реле-регулятора: Я/ ... R22 — резисторы; СД С2 — конденсаторы; К/— реле стартера, К.2 — реле включения; K3F — реле защиты; K3F1 — основная обмотка реле защиты; K3F2— удерживающая обмотка реле защиты; К4 — реле ограничения тока. К5 — реле блокировки; К5.1 — основная обмотка реле блокировки-. К5.2 — форсирующая обмотка реле блокировки; L —дроссель; I/... 17— дноды; VS, V 10 — транзисторы; VI1. V12 — стабилитроны; X/.. ХЗ — разъемы автоматическую защиту полупроводникового триода (транзистора) от случайных коротких замыканий в цепи обмотки возбуждения генератора. Реле-регулятор 7 (рис. 51) установлен на правом наклонном листе. Принципиальная схема реле регулятора показана на рис. 55.
Внешние источники электропитания Пуск двигателя при выходе из строя аккумуляторных батареи возможен от внешнего источника электропитания. В качестве внешнего источника может использоваться электросеть другого транспортера, отдельные стартерные аккумуляторные батареи с номинальным напряжением 24 В, емкостью не менее 140 А-ч или любой источник постоянного тока напряжением 24—29 В и мощностью не менее 15 кВт. Для подключения внешнего источника в кормовом отделении транспортера с правой стороны установлена розетка внешнего пуска. В групповом комплекте ЗИП есть два провода: плюсовый А5.50.505А и минусовый А5.50.506А со специальными наконечниками для подсоединения к розеткам внешнего пуска. Провода обеспечивают падежное и правильное соединение борт-сетей двух транспортеров. На наконечниках проводов имеются отверстия 010,5 мм для подсоединения к клеммным контактам внешних источников электропитания, не имеющих розеток внешнего пуска, и нанесена маркировка « + » или «—». 4.5.2. ПОТРЕБИТЕЛИ ЭЛЕКТРИЧЕСКОЙ ЭНЕРГИИ Стартер Электрический стартер с электромагнитным тяговым реле предназначен для пуска двигателя (техническая характеристика стартера — в ИЭ двигателя). Стартер представляет собой сериесный электродвигатель постоянного тока. Питание стартера осуществляется от аккумуляторных батарей. Тяговое электромагнитное реле установлено па корпусе стартера и соединено системой рычагов с механизмом привода, смонтированным на валу якоря электродвигателя. С помощью электромагнитного тягового реле шестерня стартера вводится в зацепление с венцом маховика и замыкается контакт в цепи электродвигателя. После пуска двигателя шестерня стартера автоматически выводится из зацепления с венцом маховика, что предохраняет стартер от разноса при работе двигателя. Для предотвращения случайного включения стартера при работающем двигателе управление стартером сблокировано с реле-регулятором, который автоматически отключает стартер после пуска двигателя и поддерживает цепь управления стартером в отключенном состоянии при работающем двигателе. Стартер установлен на блоке двигателя слева. Включается стартер нажатием на кнопку 25 (рис. 56), расположенную на Щитке приборов водителя.
Электродвигатели Электродвигатель МЭ-252 служит для привода насосного агрегата системы подогрева. Электродвигатель 8 (рис. 8) сериесный, постоянного тока, двухрежимный. Направление вращения якоря правое. Включается двигатель переключателем / (рис. 9), расположенным на щитке подогревателя. Переключатель имеет три положения, соответствующие: «Нейтральное» — выключению двигателя; «Пуск» — пониженным оборотам двигателя; «Работа» — полным оборотам двигателя. , Электродвигатель МЭ-65В отопителя служит для привода нагнетателя воздуха, топливного наноса и вентилятора подачи воздуха. Он монтируется внутри кожуха отопительно вентиляционной установки ОВ-65. Электродвигатель 13 (рис. 76) двухрежимный, включается он переключателем 3 (рис. 78), установленным на«щитке отопителя, расположенном на задней стенке отделения управления. Головка переключателя может занимать три положения: первое (положение «О») — головка вдвинута в корпус. В этом положении двигатель отключен; второе (положение «1») — головка выдвинута из корпуса до первого фиксируемого положения. При этом электродвигатель включается на полные обороты; третье (положение «’/г») — головка выдвинута из корпуса во второе фиксируемое положение. При этом устанавливаются пониженные обороты двигателя. В цепь электродвигателя отопителя введено реле перегрева, которое служит для выключения электродвигателя при получении сигнала от датчика 2 перегрева (рис. 76) о перегреве отопительной установки (при нагреве воздуха выше 170°С). Реле перегрева установлено на щитке отопителя, датчик 2 перегрева установлен в крышке кожуха отопительно-вентиляционной установки в месте выхода нагретого воздуха. Электродвигатель МЭ-205 является приводом вентилятора 31 обдува (рис. 51) водителя, установленного в отделении управления на лобовом листе. Включается электродвигатель выключателем 21 (рис. 56), расположенным на щитке приборов водителя. Электродвигатель ЭД-25 является приводом нагнетателя фильтровептиляционной установки. Он установлен внутри кожуха нагнетателя, включается выключателем 15, расположенным на щитке приборов водителя Свеча накаливания Свеча накаливания подогревателя установлена в камере сгорания и служит для зажигания рабочей смеси в момент пуска системы подогрева.
Включается свеча выключателем 4 (рис. 9), расположенным на щитке подогревателя. . Свеча 5 накаливания (рис. 76) отопителя установлена в камере сгорания отопителя и Служит для воспламенения смеси. Свеча накаливания включается выключателем 4 (рис. 78), расположенным на щитке отопителя. Электрический сигнал Для звуковой сигнализации на транспортере применен электрический сигнал С-314Г (рис. 51), установленный на лобовом левом листе кабины снаружи. Сигнал постоянного тока, безрупорнын. Регулируется сигнал поворотом винта прерывателя со стороны дна корпуса. При вращении винта вправо потребляемый ток и амплитуда колебаний увеличиваются. Включается сигнал нажатием па кнопку 10 (рис. 56), расположенную на щитке приборов водителя. Стеклоочистители Стеклоочистители 3 (рис. 51) предназначены для очистки ветровых стекол транспортера от атмосферных осадков. На транспортере установлены два одпощеточных электрических стеклоочистителя СЛ-231Б. Каждый из них включает электродвигатель, червячный редуктор, механизм, обеспечивающий колебательное движение щетки по ветровому стеклу, и щетки. Стеклоочистители включаются с помощью включателей, расположенных на редукторе стеклоочистителя. Система освещения Фары ФГ-122Н 27 (рис. 51) предназначены для освещения дороги впереди транспортера во время движения. Фары с светомаскировочной насадкой АС-122. Включаются фары центральным 27 (рис. 56) и ножным 23 (рис. 51) переключателями света. Переход на режим полного затемнения осуществляется поворотом светомаскировочного козырька насадки фары. Светильники ГСТ-64 ЖЛ служат передними световыми указателями габарита и поворота. Они установлены в передней части транспортера и закрепляются гайкой на одном кронштейне с фарой. Включаются светильники центральным переключателем света. Плафон ПК-201 А 31 служит для внутреннего освещения отделения управления, расположен на левом боковом листе. На корпусе плафона смонтированы две клеммы с винтами для подсоединения проводов. Клеммы изолированы и подсоединяются в сеть по двухпроводной схеме.
Плафон включается выключателем, расположенным на плафоне. Плафон ПК-201 А 14 служит для внутреннего освещения платформы. Установлен он в передней части платформы и включен в сеть по двухпроводной схеме. • Переносной светильник ПЛТ-50 предназначен для местного освещения. Для включения переносного светильника на транспортере имеются три розетки: одна — на щитке 2 приборов водителя, вторая — на щитке 25 командира и третья — на кормовом листе корпуса. Светильник 5 (рис. 90) расположен на щитке командира. Он имеет шторку для регулирования освещенности. .Включается фонарь выключателем /, расположенным рядом с фонарем. Индикатор 3 (рис. 9) включается в цепь свечи накаливания подогрева последовательно и контролирует ее работу. Индикатор установлен на щитке подогревателя. Контрольная спираль 1 (рис. 78) включается в цепь свечи накаливания отопителя последовательно и контролирует ее работу. Контрольная спираль, установлена на щитке отопителя. Контрольная лампа 5 с зеленой линзой установлена на щитке приборов отопителя и служит для определения начала работы отопительной установки. Датчик 8 (рис. 76) горения установлен в выпускном патрубке отопителя. Как только начинает работать отопительная установка, контрольная лампа загорается. Поворотная фара-искатель (прожектор) ФГ-16И предназначена для освещения дороги и предметов, расположенных по бокам за пределом зоны, освещенной фарами основного света. В фаре установлен оптический элемент, в котором устанавливаются гладкое прозрачное бесцветное стекло и двухнитевая лампа накаливания (используется нить дальнего света). Фара устанавливается на поворотный кронштейн в лобовом листе снаружи, что позволяет поворачивать ее в горизонтальной и вертикальной плоскостях рукояткой, расположенной в отделении управления на передней стенке. Включается фара выключателем 26 прожектора (рис. 56), расположенным на щитке приборов водителя. Задние светильники ГСТ-64-КЛ 38 (рис. 51) внутренние служат для подачи светового сигнала торможения «СтОп», внешние — являются указателями поворота габарита. Устанавливаются они на задней части наклонных листов крыши. Центральный переключатель света П-38 27 (рис 56) расположен на щитке приборов. Он служит для включения передних фар, передних и задних светильников. Головка центрального переключателя света может занимать три положения;
I (исходное; головка вдвинута в корпус)—все указанные выше приборы отключены; II (головка выдвинута из корпуса до первого фиксируемого положения) — включены передние и задние габаритные светильники. III (головка выдвинута из корпуса во второе фиксируемое положение) — включены передние и задние габаритные светильники и фары. В этом положении ножным переключателем можно включить ближний или дальний свет фар. Переключатель 30 (рис. 56) однополюсный ПП-45М расположен на щитке приборов водителя и служит для включения фары ФГ-125. При включении этой фары загорается сигнальная лампа 29 и отключаются фары ФГ-122Н, передние и задние светильники, сигнал «Стоп». Обогревные стекла Особенностью обогревных стекол транспортера является то, что стекла нагреваются специальной токопроводящей пленкой, расположенной между двумя склеенными стеклами. Включается обогрев стекол включателями «Обогрев стекла», расположенными на щитке приборов водителя и щитке командира. 4.5.3. КОНТРОЛЬНО-ИЗМЕРИТЕЛЬНЫЕ ПРИБОРЫ Вольтамперметр Вольтамперметр ВА-340 4 (рис. 56) предназначен для измерения силы тока и напряжения в электрической сети транспортера. Вольтамперметр магнитоэлектрический. Он установлен на щитке приборов водителя и вмонтирован в металлический корпус. На лицевой стороне корпуса имеется кнопка, при нажатии на которую прибор подключается в сеть параллельно и работает в качестве вольтметра. Если кнопка не нажата, прибор включается в сеть последовательно и работает в качестве амперметра, показывая силу зарядного тока (отклонение стрелки вправо) или силу разрядного тока (отклонение стрелки влево). Спидометр Спидометр СП-135 / (рис. 56) служит для определения скорости движения п пройденного пути. Он установлен на щитке приборов водителя. Привод к спидометру осуществляется от левой бортовой передачи посредством гибкого вала ГВН-20В.
Термометр Термометр ТУЭ 48 Т 3 (рис 56) служит для контроля тем пературы охлаждающей жидкости, выходящей из двигателя. Он установлен на щитке приборов водителя; приемник 8 (рис. 51) термометра П-1-Т установлен в водяной трубе левой головки цилиндров. Манометры Манометры ТЭМ-15 2 и 6 (рис. 56) служат для измерения давления в системе смазки двигателя и в пневмосистеме. Манометры установлены на щитке приборов водителя. Датчики 17 и 1 (рис. 51) манометров установлены: один — на правом блоке двигателя в масляной магистрали, другой — в воздухораспределителе. Манометр ЭДМУ-6Н 5 (рис. 56) служит для контроля давления в системе смазки главной передачи. Он установлен на щитке приборов водителя, его датчик 26 (рис. 51)—на корпусе главной передачи. ' 4.6. ПЕРЕГОВОРНОЕ УСТРОЙСТВО И УСТАНОВКА РАДИОСТАНЦИИ Переговорное устройство предназначено для обеспечения внутренней телефонной связи между тремя абонентами и выхода двух абонентов на внешнюю связь через радиостанцию. Переговорное устройство состоит из аппаратов А-1, А-2 и А-4, нагрудных переключателей и шлемофонов. Аппарат А-1 2 (рис. 57) служит для обеспечения абонента, подключенного к нему, внутренней связью с любыми абонентами, включенными в сеть переговорного устройства, и для выхода абонентов, подключенных к аппаратам А-1 и А-2, на внешнюю связь через радиостанцию. Аппарат А-2 3 служит для обеспечения механика-водителя внутренней связью с любым абонентом на транспортере и выхода его на внешнюю связь через радиостанцию. Аппарат А-4 5 служит для подключения в сеть гарнитуры абонента, находящегося в грузовой платформе. Шлемофон состоит из головного убора, в котором в специальных резиновых держателях, закрывающихся снаружи резиновым колпачком и матерчатым клапаном, смонтированы два низкоомных телефона ТА-56М и в кожаных чехлах на ремешках укреплены два ларингофона типа ЛЭМ. Для соединения ларинго-телефонной гарнитуры с нагрудным переключателем из шлемофона выходит четырехжильный шнур, заканчивающийся четырехконтактным полуразъемом, вторая половина которого находится в торце нагрудного переключателя.
Вид 6
Нагрудный переключатель с помощью ремешка пристегивается к пуговице верхней одежды абонента. На нагрудном переключателе имеется тангеита, служащая для управления радиостанцией, через которую работают абоненты, включенные в аппараты А-1 и А-2. Тапгента имеет одно фиксируемое положение ПРМ и два нефпксируемых положения ВЫЗ и ПРД. Положение ПРМ. В этом положении абоненты, подключенные к аппаратам А 1 и А-2, если переключатели их аппаратов находятся на внутренней связи, могут осуществлять связь между собой и абонентом, подключенным к аппарату А-4. , Если переключатели их аппаратов находятся на радиосвязи, то абоненты, подключенные к аппаратам А-1 и А-2, могут осуществлять радиоприем, абонент, подключенный к аппарату А-4, остается на внутренней связи. Положение ВЫЗ. При дожатии тангеиты из положения ПРМ до упора в положение ВЫЗ любым абонентом абоненты, находящиеся на внешней связи, автоматически включаются в сеть внутренней связи — осуществляется циркулярная связь между абонентами. При отпускании тангеиты абоненты, подключенные к аппаратам А-1 и А-2, автоматически возвращаются во внешнюю связь. Положение ПРД. При дожатии тангеиты из положения ПРМ до упора в положение ПРД абоненты, подключенные к аппаратам А-1 и А-2, могут осуществлять передачу по сети внешней связи. Нагрудный переключатель с удлиненным кабелем придается в групповой комплект. Он может быть -подключен к любому из аппаратов и служит для связи с лицом, находящимся вне транспортера (при погрузке в самолет и др.). Подробное описание конструкции и указания по эксплуатации приведены в техническом описании переговорного устройства и инструкции по его эксплуатации, придаваемых к переговорному устройству. На транспортере предусмотрены места для установки радиостанции и ее ЗИП. Радиостанция и блок питания радиостанции приобретаются и устанавливаются эксплуатирующей организацией. Яшик с ЗИП радиостанции кренится к правому борту грузовой платформы. В передней части транспортера под правым лобовым стеклом предусмотрены места для установки приемопередатчика 7 и блока 6 питания радиостанции. Радиостанция Р-123 пли Р-123М должна быть укомплектована кабелем питания длиной 0,5 м, кабелем высокочастотным длиной'2,5 м, антенным амортизатором длиной 444 мм. Амортизационная плата приемопередатчика 7 устанавливается на два П-образных кронштейна, приваренные на горизонтальном листе под правым лобовым стеклом, и крепится четырьмя болтами 8 с шайбами 9 и 27. Амортизационная плата блока 6 питания крепится слева от приемопередатчика на три
Маркировка кабеля в месте Д переговорного изоляционной .Кконтакту 3 К контакту 4 К контакту 5 К контакту 2 К контакту 1 Ух 10^50 кронштейна. К двум передним кронштейнам она крепится двумя болтами 10 с шайбами 11 и 27. Задний конец платы своим пазом входит в бонку, приваренную на третьем кронштейне. Перед установкой амортизационной платы блока 6' питания необходимо освободить кабель, идущий от аппарата А-1 к приемопередатчику, провод подвода напряжения к блоку 6 питания и провода заземления, примотанные к кабелям устройства лентой. После установки приемопередатчика и блока питания один провод (провод подвода напряжения) подключается к клемме « + 26», второй провод (провод заземления), установленный одним концом под болт кронштейна,— к клемме «Масса» блока питания, третий провод — к клемме «Масса» приемопередатчика и под ближайший болт на кронштейне, на котором установлен приемопередатчик. Кабель распаивается на колодку, поступающую в комплекте с радиостанцией. Соединение между отдельными блоками радиостанции производится согласно техническому описанию к правой крыше транспортера за установки ан- Вид на колодку со стороны пайку Рис. 58. Маркировка кабеля и вид колодку со стороны пайки на радиостанции. На наклонной установкой ТКБ-01-1 предусмотрено место для тенного устройства 1. Для его установки необходимо снять крышку, закрывающую отверстие и закрепленную шестью болтами с шайбами, и теми же болтами 20 с шайбами 19 закрепить антенное устройство /. Нижний изолятор 15 антенного устройства крепится шестью винтами 14 с шайбами 13. Под один из болтов крепления антенного устройства устанавливается скоба 26, за которую одним концом крепится тросик 22. На втором конце тросика устанавливается и закрепляется с помощью втулки 25 колпачок 12, поступающий в комплекте с антенным устройством. При установке колпачка 12 втулку 25 обжать.
При установке антенных штырей колпачок надевается на трубку 21. Соединяется антенное устройство / с приемопередатчиком 7 кабелем 23 длиной не менее 2,5 м. Трасса прокладки показана на рис 57. Для крепления ящика с ЗИП 4 радиостанции на правом борту грузовой платформы установлены две специальные ленты 24. Для крепления чехла 18 с антенными штырями в носовом отсеке на задней стенке приварены кронштейны и установлен резиновый шнур 16. Детали, необходимые для установки радиостанции, придаются транспортеру в соответствии с ведомостью одиночного комплекта ЗИП. Маркировка жил кабеля, посредством которого переговорное устройство подключается к радиостанции, произведена по длинам. Распайку кабеля на колодку, поступающую в комплекте с радиостанцией, производить, как показано на рис. 58. При распайке допускается укоротить жилы по месту. 4.7. СМОТРОВЫЕ ПРИБОРЫ Установлены следующие приборы: три стеклоблока Б-2; два из них расположены в левой и правой боковых листах отделения управления, третий — в правом верхнем борту в кормовом отделении; три смотровых прибора ТНПО-170А водителя у лобового листа, перед водителем; один смотровой прибор ТНПО-170А на правой крышке люка кормового отделения; два смотровых прибора 54.36.5сб БМ с левой и правой стороны установки ТКБ-01-1. 4.7.1. ПРИБОРЫ ТНПО-170А Смотровые приборы ТНПО-170А предназначены для наблюдения за дорогой и местностью. Прибор ТНПО 170А представляет собой призменный перископ с электрообогревом входного и выходного окон. Прибор состоит из корпуса 2 (рис. 59), верхней призмы 8, нижней призмы 4, крышек 9 и 11, донышка 10, штепсельного разъема, состоящего из вилки 12 и розетки 13. Призмы уплотняются в корпусе герметиком 3 и манжетами 5 и 7. К призмам приклеены обогревные стекла /. Между призмами и стеклами находятся датчики температуры (термисторы). Приборы установлены в специальные шахты п уплотняются проклад ками 6,
При установке прибор поджимается эксцентриковым валиком, который предварительно вводится в углубление а. К прибору подсоединяется кабель от регулятора температуры Рис. 59. Смотровой прибор ТНПО-170Л: / —обогревное стекло: 2 — корпус; 3 — герметик; 4 — нижняя призма; 5. 7 — манжеты; 6 — прокладка; А — верхняя призма; 9, // — крышки; 10 — донышко; 12 — вилка; 13 — розетка РТС-27-3, расположенного в отделении управления на лобовом листе. Один смотровой прибор водителя является ведущим. Ведущий прибор реагирует на изменение температуры и через регулятор темпера г\ры стекол РТС-27-3 5 (рис. 51) управляет обогревом остальных стекол, 120
В походном положении средний прибор ТНПО 170А уклады вается в ящпк, размещенный на левом наклонном листе в отделении управления (см. поз. 39, рис. 49). 4.7.2. ПРИБОР ТВН-2Б Рис. 60. Установка прибора ТВН-2Б: / — валик; 2 — прокладка; 3 — наставка; 4 — палец; 5 — тяга; 6 — ввертыш; 7 — гайка-барашек; в — ввод; 9 — рукоятка Прибор ТВН-2Б предназначен для наблюдения за дорогой и местностью при вождении транспортера ночью. В комплект прибора входят прибор наблюдения ТВН-2Б, блок питания, запасные части и принадлежности. Прибор ТВН-2Б и ЗИП к нему укладываются в ящик. Комплект прибора ТВН-2Б и фара ФГ-125при-обретаются и устанавливаются эксплуатирующей организацией. В походном положении ящик с прибором ТВН-2Б и ЗИП к нему устанавливаются на стенке ограждения двигателя между двумя откидными сиденьями в проходе. Ящик крепится двумя резиновыми шнурами, закрепленными на месте укладки ящика. Для установки и крепления прибора в рабочем положении при эксплуатации в одиночный ЗИП транспортера прикладываются наставка 3 (рис. 60) с прокладкой 2 и две тяги 5 в сборе с ввертышами 6 и гайками-барашками 7, ко торые укладываются в сумку для нормалей, уложенную в ящик с ЗИП (см. поз. 4, рис. 95). При комплектовании тягача прибором ТВН-2Б наставку 3 (рис. 60) с прокладкой 2 и две тяги 5 в сборе переложить в укладочный ящик прибора ТВН-2Б, надев предварительно наставку с прокладкой на головку прибора ТВН-2Б и завинтив ввер-тыши 6 в резьбовые отверстия в нижней части прибора. Для установки прибора ТВН-2Б необходимо вынуть из шахты средний прибор ТИПО-170А механика-водителя и уложить его в футляр, находящийся на левом наклонном листе в отде-
ленип управления. Установить валик 1 крепления прибора ТНПО-170А за налобник. Вынуть прибор ТВН-2Б с наставкой 3, прокладкой 2 и тягами 5 из укладочного ящика. Убедиться, что рукоятка 9 шторки прибора занимает положение «Закр.»; вставить прибор ТВН-2Б в освобожденную шахту; надеть тяги 5 на палец 4 и завернуть гайки-барашки 7, добиваясь равномерного уплотнения прокладки по контуру прпбора. Рис. 61. Прокладка кабеля питания прибора ТВН-2Б: / — пружинная скоба, 2 — наконечник; 3 — скоба; 4 — колодка, 5 — амортизатор; 6— блок питания прибора ТВН 2Б Блок 6 питания (рис. 61) прибора устанавливается на двух кронштейнах, приваренных к центральной балке над ограждением центрального карданного вала. В проушины панели блока питания продеваются амортизаторы. Затем блок крепится болтами Мб к кронштейнам. К одному из болтов крепления подсоединяется перемычка на массу. Амортизаторы закреплены болтами в кронштейнах на транспортере. Кабель от блока питания к смотровому прибору прокладывается согласно рис. 61 и крепится в скобах 3 болтами, крепящими жгуты электрооборудования. Скобы 3 уложены в ящик с ЗИП 49 (рис. 95). Для подсоединения кабеля к прибору свинчивается наконечник 2 и штекер кабеля, которым он оканчивается, гайкой соединяется с высоковольтным вводом 8 (рис. 60). Для крепления конца кабеля питания имеется зажим, состоящий из двух пру-122
жинных скоб, прикрепленных к бонке на левом боковом листе болтом Мб и шайбой 6.65Г. Провод блока питания одним концом подсоединяется на ко- лодку 4 (рис. 61), а другим концом заделывается в штепсель- ный разъем блока питания (рис. 62). » Скобой закрепляются провод питания и кабель от блока питания к смотровому прибору. Скоба закреплена на бонке в районе установки блока питания. Устанавливать блок питания и укладывать кабель следует до установки прибора ТВН-2Б в шахту. Для работы с прибором предназначена фара ФГ-125, устанавливаемая слева на кабине. Для- ее подключения необходимо: на провод фары ФГ-125 напаять наконечник 1 (рис. 64) (наконечник снять с соединительной панели справа от щитка подогревателя), затем заизолировать его лентой 2 и обмотать плотно нитками 3; отвернуть гайку 2 (рис. 63) и вынуть шайбу 3 с уплотнением 4 и заглушкой; ввести провод фары через уплотнение внутрь транспортера, при этом в месте входа под защитный колпачок провод обмотать в два-три слоя изоляционной лентой Рис. 62. провода к блоку прибора Заделка и экрана питания ТВН-2Б в целях исключения возможности его пере- тирания о кромку колпачка, затем завернуть гайку 2 и подсоединить провод к соединительной панели, клемма 26 (справа от щитка подогревателя). Рис. 63. Установка фары ФГ-125: / — фара, 2— гайка: 3— шайба; 4 — уплотнение Фара включается переключателем 30 (рис. 56) на щитке приборов водителя. При включении фары ФГ-125 загорается
сигнальная лампа 29 и отключаются фары ФГ-122Н, передние и задние светильники, а также сигнал «Стоп». Регулировку фары ФГ-125 следует выполнять в ночное время при отсутствии постороннего освещения, как указано в подразд. 17.4.6. Рис. 64. Подпайка наконечника: /—наконечник; 2—изоляционная лента; 3— ннткн 4.7.3. ДОЗИМЕТРИЧЕСКИЙ ПРИБОР На передней стенке отделения управления по центру машины предусмотрено место для установки дозиметрического прибора ДП-ЗБ, предназначенного для определения уровня ради Усглановка ЗИП При dopa ДП-ЗБ' £ 7 Рис. 65. Установка прибора ДП-ЗБ: / — скоба. 2 — блок детектирования; 3 — скоба блока детектирования; 4 — регистратор! 5 —разъем. 6 — резиновый шнур; 7 — ЗИП прибора ДП-ЗБ ации. Прибор состоит из регистратора 4 (рис. 65), блока детектирования 2, скобы 3 и ЗИП. Регистратор крепится к двум уголкам, приваренным к вертикальной балочке тремя болтами Мб, шайбами 6.01 и 6 65Г, гайками Мб.
Провод массы регистратора присоединяется к одному из болтов крепления Блок детектирования 2 устанавливается в скобе 3. Скоба крепится к кронштейну четырьмя винтами М5, ганками М5, шайбами 5.65Г и 5.01. Кабель питания, подсоединенный к регистратору и к колодке 5, расположенной на вертикальной балке, укладывается так, чтобы излишек его накладывался на верхнюю скобу, приваренную к лобовому листу. Кабель, соединяющий регистратор и блок детектирования, обматывается вокруг двух скоб на лобовом листе. ЗИП 7 прибора крепится в кормовом отделении с помощью резинового шнура 6, зацепленного за скобы, приваренные на правом подкрылке. Прибор ДП-ЗБ приобретается и устанавливается эксплуатирующей организацией. Детали для крепления прибора входят в одиночный комплект ЗИП. 4.8. ПНЕВМОСИСТЕМА Пневмосистема предназначена для обеспечения работы пнев матического привода тормозов тягача и прицепа, оборудованного однопроводной системой пневматического привода. В пневматическую систему входят компрессор, регулятор давления, два воздушных баллона, тормозной кран, тормозные камеры, кран отбора воздуха, разобщительный кран, предохранительный клапан, соединительная головка, датчик манометра, манометр, трубопроводы. Кроме того, к пневмосистеме относится устройство для обмыва стекол, состоящее из бачка стеклоомывателя с ввертным краном и двух кранов, к которым прикреплены конечные трубы для смыва стекол. Для заправки бачка водой имеется заливная горловина, закрытая пробкой. Монтажная схема пневмосистемы показана на рис. 66, принципиальная схема пневмосистемы — на рис. 67. Компрессор Компрессор одноступенчатого сжатия, поршневого типа, двухцилиндровый, непрямоточный, обеспечивает систему сжатым воздухом. Он установлен на крышке картера шестерен двигателя. Компрессор состоит из блока 6 цилиндров (рис. 68), головки 10 блока, картера /, поршней 8, шатунов 7, коленчатого вала 22 и крышек 2 и 20. Поршни соединяются с шатунами плавающими поршневыми пальцами 9. Нижние головки шатунов разъ-
Рис. 66. Монтажная схема пневмосистемы: 1 — бачок стеклоомывателя: 2 —кран: 3 — пробка; 4 — кран отбора воздуха; 5 — правая конечная труба; 6, 7 — баллоны; S — краны 9 — левая конечная труба, 10 — тормозной край, 11 — тормозная камера 12 — компрессор; /3 — регулятор давления, 14 — соединительная головка; /5 — разобщительный кран Условные обозначения <— Сжатый eoatyt О-*-’Поток сжато.о возила при тврнпжеЛи О* Потоп сжатою воздуха при расширимиви/.ии 4— Вода и конЗенсат Рис. 67. Принципиальная схема пнсвмосистемы: 1 — тормозные камеры; 2, 3 — воздушные баллоны; 4 — кран отбора воздуха; 5 — бачок стеклоомывателя; 6 — пробка, 7 — ввертной кран ‘в —краны; 9 — правая конечная труба;'/0 — левая конечная труба; // — регулятор давления, /2 — компрессор /3 — соединительная головка; 14 — разобщительный кран; 15 — тормозной кран; 16 — манометр; 17 — датчик манометра; 18 — предохранительный клапан
е.мные и имеют регулировочные прокладки. Коленчатый вал установлен на двух шарикоподшипниках 5 и 18. На переднем конце вала установлены самоподжимной сальник 4 и на шпонке шкив 3, который крепится гайкой. Шкив приводится во вращение клиновидным ремнем от распределительной шестерни коленчатого вала двигателя. На заднем конце коленчатого вала компрессора имеются гайка 19 для затяжки шарикоподшипника 18 п уплотнитель 21. Система смазки компрессора комбинированная. Масло из системы смазки двигателя подводится под давлением ио трубке к задней крышке 20 картера и через уплотнитель по каналам коленчатого вала компрессора — к подшипникам шатунов. Шатунные подшипники и поршневые пальцы смазываются принудительно, остальные детали —' разбрызгиванием. Компрессор имеет жидкостную систему охлаждения, связанную с системой охлаждения двигателя. В стенке блока цилиндров выполнена полость, предназначенная для забора воздуха из системы питания двигателя воздухом. В головку над каждым цилиндром ввернута пробка 11, в которой помещена пружина 12, прижимающая нагнетательный клапан 14 к седлу. При опускании одного из поршней вниз в цилиндре создается разрежение и воздух из полости а, приподняв соответствующий клапан 13, засасывается в цилиндр компрессора; при подъеме поршня врздух сжимается, закрывает клапан 13, открывает клапан 14 и поступает в пневмоспстему. Давление воздуха в пневмосистеме ограничивается специальным разгрузочным устройством, работающим вместе с регулятором давления. Разгрузочное устройство состоит из двух плунжеров 17 с толкателями-, коромысла 16 и пружины 15. Канал б под плунжерами соединен с регулятором давления, полость а под впускными клапанами — с воздухоочистителем. Регулятор давления Регулятор давления API 1-351210 с шариковыми клапанами поддерживает постоянное рабочее давление в системе 6— 7,9 кгс/см2. Основными частями регулятора давления являются корпус 8 (рис. 69), впускной 10 и выпускной 11 шариковые клапаны, шток 4 клапанов, седло 5 выпускного клапана, регулировочный колпачок 3, шарики 14, направляющая пружина 2 и фильтры 6 и 7. Впускной 10 и выпускной /7 клапаны разме-128
Рис. 68. Компрессор: картер; 2, 20 — крышки картера; 3 — шкив; 4 — сальник; 5, 13 — шарикоподшипники; 6 — блок цилиндров; 7 — шатун; 3 — пвршвп*, поршневой палец; 10 — головка блока; // — пробка; 12, 15 пружины. /•? —впускной клапан: /4 — нагнетательный клапан; 16 —коромысло, /7 —плунжер £ толкателем; 19 — гайка; 21 — уплотнитель; 22 — коленчатый вал; а — полость; и — канал a 641
щепы в седле 9 На них сверху давит пружина 2 через нижний шарик 14 и шток 4. На седло 5 навинчен колпачок 3, закрепленный ганкой 13. Колпаиком 3 регулируют натяжение пружины 2. Сверху регулятор давле- Рис. 69. Регулятор давления: 1 — защитный колпачок; 2 — направляющая пружина; 3 — регулировочный колпачок; 4 — шток; 5 — седло выпускного клапана; 6 — сетчатый фильтр; 7—металлокерамический фильтр; 8 — корпус регулятора давления; 9 — седло впускного клапана; 10 — впускной шариковый клапан; // — выпускной шариковый клапан; 12 — регулировочная прокладка; 13— гайка; 14 — шарики регулировочного колпака нпя закрыт защитным колпач-ком 1. Тормозной кран Тормозной кран диафрагменного типа, состоит из двух секций, объединенных в одном корпусе. Нижняя секция служит для управления приводом остановочных тормозов транспортера, верхняя секция — для управления приводом тормозов прицепа. Тормозной крап обеспечивает постоянное тормозное усилие при неизменном положении тормозной педали и быстрое растормаживание при прекращении нажатия на педаль. Он установлен в трансмиссионном отделении с левой стороны и крепится к кронштейну тремя болтами с гайками. Нижняя секция тормозного крана состоит из впускного клапана 14 (рис. 70), выпускного клапана 16, пружины 13, укрепленных на одной осп, седла 18 выпускного клапана, диафрагмы 17, уравновешивающей пружины 19, стакана 21. Верхняя секция состоит из выпукного клапана 10, впускного клапана //, седла 8 выпускного клапана, уравновешивающей диафрагмы 9, направляющей втулки 4, штока 7, пружины 6. В обеих секциях унифицированы клапаны, седла и детали диафрагмы. Механический привод состоит из тяги 1, коромысла 2, связанного со штоком 7, и рычага 22. Уравновешивающие пружины 19 и 6 обеспечивают следя щее действие, т. е. пропорциональность давления в тормозных магистралях тягача и прицепа силе, приложенной к тяге 1.
При отпущенной педали тормоза коромысло 2 и рычаг 22 не передают усилий па пружины 6 и 19. В нижней секции впускной клапан 14 прижат к своему седлу давлением поступающею в полость в воздуха и пружиной 13. Седло 18 выпускного клапана усилием возвратной пружи- Рис. 70. Тормозной кран- /_ тяга привода; 2 — Коромысло; 3 — контргайка; 4 — направляющая втулка; В, 25 — регулировочные болты; 6', 13, /9 пружины; 7 - шток; 8, 18 седла выпускных клапанов; 9, /7 — диафрагмы; 10, /6 — выпускные клапаны; //. 14 — впускные клапаны; 12 — регулировочные прокладки; 15.— выключатель сигнала «Стоп»; 20 — ось малого рычага 21 - стакан пружины. 22 — рычаг; 23 — палец; 24 — кулачок валика ручного привода ны диафрагмы прижато к стакану 21. Между выпускным клапаном 16 и седлом 18 имеется зазор, через него из полости г и соединенные с нею тормозные камеры сжатый воздух выходит в атмосферу, при этом тормозные камеры тягача находятся в отторможенном состоянии. В верхней секции сжатая уравновешивающая пружина 6 прогибает диафрагму 9 в крайнее правое положение. При этом выпускной клапан 10 закрыт, а впускной клапан 11 открыт. Через открытый впускной клапан сжатый воздух из баллонов поступает в полость а и через нее иа прицеп По мере заполнения воздушных баллонов прицепа давление в полости а возрастает и отжимает диафрагму 9 с седлом <8 влево. Зазор между впуск-
пым клапаном 11 и его седлом уменьшается. Перемещение диафрагмы 9 влево и сжатие пружины 6 происходят до тех пор, пока впускпой клапан // не сядет на свое седло. В этот момент уравновешиваются силы, действующие на диафрагму с обеих сторон Поэтому, регулируя натяг пружины 6, можно изменить давление воздуха в полости д. При нажатии на .педаль тормоза сила, действующая на шток 7, стремится выдвинуть его влево, а стакан 21 пружины 19 от рычага 22 движется вправо. Вместе со стаканом 21 перемещается седло 18, которое прижимается к выпускному клапану 16 и отъединяет полость б от атмосферы. При дальнейшем перемещении впускной клапан 14 отходит от своего седла. В образующийся зазор между ними поступает сжатый воздух в полость б и через нее в тормозные камеры тягача. По мере увеличения давления воздуха в тормозных камерах и в полости б диафрагма 17 прогибается влево вместе с седлом 18 и клапанами 14 и 16. Зазор между клапаном 14 и его седлом уменьшается. В тот момент, когда впускной клапан 14 плотно сядет на седло, перемещение диафрагмы 17 прекратится, так как силы, действующие на нее слева и справа, станут равными. Таким образом, определенной силе на педали тормоза соответствует определенное давление воздуха в тормозных камерах. Если увеличить силу на педали тормоза, то равновесие диафрагмы 17 нарушится и впускной клапан 14 откроется. Давление воздуха в тормозных камерах увеличивается пропорционально увеличению силы на педали тормоза. Равновесие сил, действующих па диафрагму, имеет место всегда при ее постоянном положении, когда клапаны 14 и 11 закрыты. Сила, передаваемая от коромысла 2 на шток 7, нарушает равновесие диафрагмы 9, возникшее при заряде баллона прицепа, и она, прогибаясь влево, отодвигает седло 8 от выпускного клапана 10. Воздух из полости а выходит в атмосферу. Падение давления воздуха в полости а пропорционально силе, передающейся на шток от коромысла 2, и, следовательно, усилил на педали тормоза. При уменьшении усилия на педали тормоза еледящие меха-ниамы тормозного крана обеспечивают соответствующие снижения давления воздуха в тормозных камерах тягач*. Тормозные камеры Тормозные камеры диафрагменного типа, установлены на кронштейнах в носовой части корпуса. Тормозная камера состоит из корпуса 4 (рис. 71), крышки 1, диафрагмы 2, штока 3, пружин 5, 6 и вилки 9. Крышка к корпусу крепится болтами. Между корпусом и крышкой зажата диафрагма, имеющая такую же форму, как и крышка. На резьбе штока навинчена впл-132
ка 9, положение которой фиксируется гайкой 8. Вилка 9 соединяется пальцами с рычагом валика 18 остановочного тормоза (рис. 35). Диафрагма 2 (рис. 71) отжимается к крышке / корпуса под действием двух пружин 5 и 6. Пружина 6 предназначена для прижатия к корпусу уплотнительной шайбы 7, которая Рис. 71. Тормозная камера- 1— крышка корпуса; 2 — диафрагма; 3 — шток; 4 — корпус; 5 — возвратная пружина; 6 —пружина уплотнительной шайбы; 7 — уплотнительная шайба; 8 —гайка; 9 — вилка предотвращает попадание внутрь корпуса грязи через отверстие, сделанное для прохода штока. При нажатии на педаль тормоза сжатый воздух из тормозного крана проходит в тормозную камеру, под его давлением диафрагма 2 прогибается и, сжимая пружины 5 и 6, перемещает шток 3 и вилку 9, соединенную с рычагом ножного привода остановочного тормоза. Воздушные баллоны Воздушные баллоны 6 и 7 (рис. 66) сварной конструкции обшей расчетной емкостью 43 л, установлены в носовой части корпуса и крепятся двумя стяжными лентами к кронштейнам, приваренным к нижнему листу носа рамы
Предохранительный клапан Предохранительный клапан 18 (рис. 67) служит для предотвращения чрезмерного повышения давления воздуха в пневмосистеме при неисправном регуляторе давления. Он установлен в распределителе воздуха пневмосистемы. Рис. 72. Предохранительный клапан: / — седло; 2—шарик; 3 — корпус; 4 — пружина; 5 — контргайка; 6 — регулировочный винт; 7 — стержень Клапан состоит из седла / (рис. 72), корпуса 3, шарика 2, пружины 4, регулировочного винта 6, направляющего стержня 7 и контргайки 5. Предохранительный клапан регулируется винтом 6 на давление 9—10,5 кгс/см2. При завертывании винта давление увеличивается. При повышении давления-в системе выше 9—10,5 кгс/см2 предохранительный клапан открывается и выпускает в атмосферу сжатый воздух. Соединительная головка Соединитечьная головка служит для соединения воздухопроводов тягача и прицепа. Она устанавливается во фланце, приваренном к заднему листу рамы, слева от осп крюка. Соединительная головка состоит из корпуса / (рис. 73), в центре сферической части которого имеется бобышка с отверстием под хвостовик обратного клапана 3. Фланец обратного клапана 3 пружиной 2 прижимается к уплотнительному кольцу 6, зажатому с помощью гайки 5 в выточке корпуса. Обратный клапан 3 предотвращает выход* воздуха из воздухопровода тягача при отрыве прицепа. Крышка 4 предотвращает попадание пыли и грязи в соединительную головку. Разобщительный кран Разобщительный кран диафрагменный, служит для отключения воздухопроводов, соединяющих пневмосистемы тягача и прицепа. Он установлен на кронштейне перед соединительной головкой. Устройство разобщительного крана показано на рис. 74.
Рис. 73. Соединительная головка: корпус; 2—пружина; 3 —клапан; 4 — крышка; 5 — гайка; 6 — уплотнительное КОЛЬЦО А-А Кран закрыт Рис. 74. Разобщительный кран; / — пробка; 2 — корпус; 3 — пружина клапана, 4— клапан, 5—возвратная пружина; 6 — шток с диафрагмой; 7 — крышка; в — толкатель; 9 — рукоятка крана
Кран отбора воздуха Кран 4 отбора воздуха (рис. 66) установлен в трансмиссионном отделении на наклонном листе, к нему подсоединены трубопроводы от баллонов. Он служит для слива конденсата из воздушных баллонов и для отбора воздуха, 4.9. ОБОРУДОВАНИЕ 4.9.1. ТЯГОВО-СЦЕПНОЕ УСТРОЙСТВО Тягово-сцепное устройство с двусторонним амортизационно-поглощающим действием установлено в кронштейне, приваренном к кормовой балке. Рис. 75. Тягово-сцепиое устройство: / — тяговый крюк; 2, 13 — скобы; 3 — защелка; 4 — обойма пружины; 5, б— сальники, 7 — масленка; в — пружина; 9— упор; 10 — амортизатор; // — упорная шайба; 12 — гайка К основным деталям этого устройства относятся тяговый крюк 1 (рис. 75), накидная скоба 2 с защелкой 3, обойма 4 пружины, пружина 8, упор 9, амортизаторы 10, упорная шайба 11 и гайка 12. Накидная скоба с защелкой обеспечивают замыкание сцепной петли буксируемого прицепа.
Амортизирующими элементами служат стальная цилиндрическая пружина 8 и резиновый амортизатор 10, состоящий из набора резиновых и металлических шайб. На прямом ходу при буксировке прицепа пружина действует на протяжении полного рабочего хода тягового крюка, а резиновый элемент вступает в действие через 25 мм хода крюка. При накате же оба амортизирующих элемента одновременно вступают в действие. Рабочий подрессоренный ход тягового крюка вперед при накате, равный 30 мм, ограничивается скобой 13, жестко прикрепленной к кормовой балке корпуса; ход назад (при буксировке прицепа) равен 55 мм. Для защиты от попадания воды в корпус транспортера через тягово-сцепное устройство имеется два войлочных сальника 6 и 5, вложенные в кольцевые канавки кронштейна рамы и в обойму пружины. Для смазки тягово-сцепного устройства служит масленка 7. 4.9.2. СИСТЕМА ОБОГРЕВА Для обогрева транспортера применена отопительно-вентиляционная установка ОВ-65Г, работающая независимо от работы двигателя. Отопительно-вентиляционная установка состоит из кожуха 3 (рис. 76), внутри которого расположены все основные детали установки. На валу электродвигателя 13 с одной стороны закреплена крыльчатка 12 подачи воздуха для нагрева, с другой стороны — фрикционная муфта 14, передающая вращение валу топливного насоса 15. На валу насоса закреплены нагнетатель 7 воздуха для горения и распылитель 6. Топливный пасос, вентилятор и распылитель расположены внутри теплообменника 22, состоящего из трех концентрично расположенных и сваренных между собой цилиндров. Кроме них в теплообменнике находятся камера 20 сгорания, диффузор 21 и камера 4 догорания. В камеру сгорания ввернута свеча 5 накаливания. Воздух для сгорания поступает через патрубок 17, в котором располагается трубка 16 для подачи топлива в насос. Топливо из насоса к распылителю подается по изогнутой трубке 18. Для выхода выпускных газов имеется специальный патрубок 9, на который монтируется датчик 8 горения. В месте выхода нагретого воздуха в крышку / в кожухе вмонтирован датчик 2 перегрева. Фрикционная муфта 14 перемещается рычажком 10. Для слива излишков топлива из камеры сгорания служит дренажная трубка 19.
Отопнтелыю-вентпляционная установка расположена в отделении грузовой платформы в левой боковой полости. Она крепится к специальной постели двумя стяжными лентами 21 (рис. 77). Управление установкой осуществляется электроприборами, находящимися па щитке отопителя, расположенного на задней стенке отделения управления (рис. 78). Питается установка из топливного бачка, расположенного слева от двигателя на кожухе радиатора. Подача топлива включается краником, расположенным иа стенке за сиденьем водителя. При работе отопительного устройства топливный насос засасывает топливо по трубке 16 (рис. 76) и подает его по трубке 18 на распылитель 6\ одновременно нагнетатель 7 через заборный патрубок 8 (рис. 77) и шланг 9 засасывает воздух и подает его в камеру сгорания, где он смешивается с топливом, разбрызгиваемым распылителем. Рабочая смесь загорается от соприкосновения с раскаленной свечой 5 (рис. 76) и через диффузор 21 поступает в камеру 4 догорания. Из камеры догорания продукты сгорания через окна в теплообменник^ 22 проходят по кольцевому пространству между цилиндрами и через выпускной патрубок 2 (рис. 77) выбрасываются в атмосферу. Воздух для нагрева засасывается вентилятором из отделения грузовой платформы через крышку 11 (рис. 76) и направляется по кольцевым пространствам между кожухом и наружным цилиндром и между внутренними цилиндрами теплообменника. Патрубки 2 (рис. 77) и 8 установлены в наклонном листе крыши корпуса и закрываются крышками 4. В закрытом положении крышки удерживаются пружинами 6. Крышки 4 открываются одновременно дистанционным приводом, который состоит из коромысел 5, тросиков 1 и 7 и замка. Замок состоит из поводка 19, планки 20, опоры 22, фиксатора 23, пружины 21 и упорного болта 18. Натяжение тросиков / и 7 регулируется болтами 3. Предварительно длина тросиков устанавливается планкой 20. При работе установки нагретый воздух через патрубки 10 и 11 поступает в верхний распределитель 12, откуда часть его нагнетается через трубу 13 в отделение управления, а другая часть по трубам 16 и 17 поступает в нижний распределитель 24. Из нижнего распределителя часть теплого воздуха выходит через окно а, а часть — в продольную балку корпуса и через окно б распределяется по всей длине грузовой платформы. При неработающей отопптельно-вентиляцйонной установке в теплое время года, а также при загрузке платформы ящиками трубы 16 и 17 снимаются со штатных мест крепления и устанавливаются на задней панели 26. Для этою отвинчиваются на
Рис. 77. Система /, 7 — тросики, 2, 8, 10, // — патрубки; 3 — регулировочный болт; 4 — крышка, 5 — ко отопительно-вентиляционная установка; /5 — лента; 16 — верхняя труба; /7 —нижняя нижний распределитель; 25 — скоба; 26 — задняя панель;
обогрева: ромысло; б 21 — пружины; 9 — шлаиг; 12 — верхний распределитель; 13 — труба; 14 — труба; 18 — упорный болт; 19 — поводок; 20 — планка; 22 — опора; 23 — фиксатор, 24 — 17 — лента; а, б — окна выхода теплого воздуха
несколько оборотов болты крепления лент 15, труба 16 вставляется в трубу 17, скобы 25 заводятся за ленты и завинчиваются болты. Рис. 78. Щиток отопителя» 1 — контрольная спираль; 2 — реле перегрева; 3 — переключатель режимов; 4 — выключатель свечи; 5 — контрольная лампа 4.9.3. ФИЛЬТРОВЕНТИЛЯЦИОННАЯ УСТАНОВКА (ФВУ) Фильтровентиляцнонная установка предназначена для создания избыточного давления внутри корпуса машины н очистки забираемого снаружи воздуха от БА, ОБ и РП. ФВУ состоит из нагнетателя 23 (рис. 79), клапанной коробки 10 и фильтра 14, размешенных в съемной выгородке 15, привода управления и закреплена на подкрылке в правой боковой полости корпуса двумя стяжными лентами /. Нагнетатель ВНСЦ-200 служит для создания избыточного давления внутри корпуса транспортера и предварительной очистки забираемого снаружи воздуха. Нагнетатель представляет собой центробежный вентилятор с инерционным фильтром для предварительной очистки воздуха от пыли. Вентилятор получает вращение от электродвигателя ЭД-25 мощностью 600 Вт. Устройство нагнетателя показано на рис 80. Наружный воздух забирается в выгородку 15 (рис. 79) через патрубок 3 (при открытой крышке 7), а из нее — в нагнетатель 23-, выбрасывается пыль из нагнетателя по шлангу 24. Клапанная коробка 10 служит для направления воздуха из нагнетателя, минуя фильтр (режим вентиляции). Для этого внутри корпуса коробки имеется клапан 9, которым попеременно открываются и закрываются отверстия в корпусе коробки с помощью рукоятки 21. Фильтр-поглотитель ФПТ-200М служит для очистки воздуха от БА, ОВ и РП. Крышка 7 заборного патрубка открывается и закрывается рукояткой 5 с помощью сервопружнны 6 и соединительных рычагов. Усилие сервопружины регулируется гайкой 8 так, чтобы крышка 7 надежно удерживалась в открытом и закрытом положениях. Управление клапаном в клапанной коробке осущест-142
вляется рукояткой 21 с помощью сервопружины 18, валиков, рычагов и соединительной тяги. Усилие сервопружипы 18 регулируется гайкой 8 так, чтобы клапан герметично закрывал попеременно оба отверстия в корпусе коробки. Электродвигатель ЭД-25 нагнетателя вклю- Рис. 80. Нагнетатель: / — корпус: 2 —трубка; 3 — крышка; 4, 9 — регулировочные прокладки; 5 — крыльчатка; 6— гайка; 7 — упорная шайба; 8 — камера; 10 — электродвигатель; 11— циклон; 12 — направляющая трубка чается и выключается с помощью выключателя 15 (рис. 56), расположенного на щитке приборов водителя. Для измерения избыточного давления внутри корпуса служит дифманометр-тягонапоромер, расположенный в отделении управления на левом листе. 4.9.4. ОБОРУДОВАНИЕ ДЛЯ ПЛАВА При преодолении водных преград па плаву устанавливается следующее оборудование: гидродинамические щитки 2 (рис. 81), дополнительные щитки 8, кормовые регйетки /, волноотража- Ш
Рис. 81. Оборудование для плава: кормовая решетка; 2 — гидродинамические щиткн; 3 — волноотражательный щит; 4 — удлинитель воздухозаборной трубы; 5 — ограж-дение радиатора; 6 — фиксатор; 7 — прижим; 8 — дополнительный щиток
тельный щит 3, удлинитель 4 воздухозаборной трубы и ограждение 5 радиатора. Гидродинамические и дополнительные щитки устанавливаются на подкрылки в передней части транспортера, ограждая гусеницы спереди и с боков. Крепятся щитки прижимами. В походном положении гидродинамические и дополнительные щитки укладываются на крышке люка моторного отделения и крепятся ремнем. Кормовые решетки шарнирно крепятся на кормовом листе корпуса и стопорятся в рабочем положении фиксаторами 6. В походном положении кормовые решетки откидываются вверх на кормовой лист и фиксируются прижимами 7. *. Волноотражательный щит установлен в передней части транспортера и крепится к нижнему листу носа на петлях. В походном положении волноотражательный щит должен быть опущен и прижат прижимами к нижнему листу носа. Перед преодолением водных преград волноотражательный щнт следует поднять и зафиксировать прижимами. Установка и крепление удлинителя воздухозаборной трубы приведены в подразд. 4.1.5. В походном положении удлинитель / (рис. 95) воздухозаборной трубы укладывается в трансмиссионном отделении, крепится винтом 1 (рис. 16) к кронштейну, закрепленному на шпильке, стягивающей лепты воздушных баллонов. Ограждение 5 (рис. 81) радиатора устанавливается на рамку жалюзи и фиксируется прижимами. В походном положении ограждение 17 (рис. 95) радиатора укладывается на крыше корпуса и крепится двумя ремнями. 4.9.5. ВОДООТКАЧИВАЮЩИЙ НАСОС Водооткачивающий насос служит для удаления воды, попавшей в корпус во время преодоления водных преград. Насос вихревого типа, двухсекционный: одна секция служит для откачки воды из носовой части рамы, другая — из кормовой. Водооткачивающий насос состоит из корпуса 8 (рис. 82), двух рабочих колес 2, верхней 3 и нижней 1 крышек и крышки 9 насоса с патрубками. Рабочие колеса установлены на валу 5 привода на шпонках. Вал 5 привода установлен в верхней крышке на двух шарикоподшипниках 4 и соединяется с валом конической шестерни промежуточного редуктора с помощью шлицевой муфты. В крышке 3 установлено двойное сальниковое уплотнение 6. Осевые зазоры между колесами, крышками и корпусом регулируются прокладками 7 и шайбами 10.
Насос крепится к корпусу промежуточного редактора четырьмя болтами с шайбами Рис. 82. Водооткачивающпй насос: /, 3 —крышки; 2—рабочее колесо; 4 — шарикоподшипник; 5 — вал привода; 6 — уплотнение; 7 — регулировочные прокладки; 8 — корпус; 9 — крышка насоса с патрубками; 10 — регулировочные шайбы 4.96. ОГНЕТУШИТЕЛЬ На транспортере установлен одни углекислотный огнетушитель типа ОУ-2 емкостью 2 л. Огнетушитель поставляется в заря/кенпом состоянии и устанавливается на задней стенке отделения управления. 4.10. БАШЕННАЯ УСТАНОВКА ТКБ-01-1 4.10.1. НАЗНАЧЕНИЕ УСТАНОВКИ Башенная установка ТКБ-01-1 под пулемет ПКТ предназначается для повышения огневых возможностей. 4.10.2 ТЕХНИЧЕСКИЕ ДАННЫЕ Тип установки..........................Закрытая, вращаю- щаяся Пулемет............................... ПКТ Прицел .................................ПП 61 Б, нерископи ческий
Калибр пулемета, мм.................... Углы наведения, град: максимальный (возвышения) минимальный (снижения).................. горизонтальный ..................... Зоны обстрела, град, не менее: по вертикали (возвышения)............... по вертикали (снижения)............. по.горизонтали...................... Привод наведения ....................... Спускное устройство .................... Боекомплект, патроны.................... Вместимость патронной коробки, патроны Вместимость гильзозвеньесборника, гильзы-звенья .............................. Напряжение для питания электроспуска, В 7,62 +35 - 5 360 +35 - 5 353' Ручной Электроспуск 1.500 250 250/250 24 Примечание. Зона обстрела по вертикали в направлении на левый борт и корму ограничивается наводчиком по видимости через прицел частей и принадлежностей транспортера. 4.10.3. УСТРОЙСТВО УСТАНОВКИ Установка ТКБ-01-1 (рис. 83) состоит из погона 10, башни 9, люльки 3, хомута /, гильзозвеньеотвода 11, коробкодер-жателя 7, патронной коробки 6, электрооборудования, уравновешивающего механизма 5, пулемета 2, прицела 12, уплотнения 4, электрообогревного стекла. В башне, закрепленной на погоне, установлена люлька. Люлька является качающейся частью установки. На люльке установлены пулемет, хомут, гильзозвеньеотвод и коробкодер-жатель. В коробкодержателе закреплена патронная коробка. Хомут служит для крепления в нем перископического прицела. Уравновешивающий механизм служит для уравновешивания качающейся части установки. Погон Погон является основанием вращающейся части установки. Погон состоит из неподвижного кольца 15 (рис. 84), регулировочного кольца 2, подвижного кольца 6, наружных 13 и внутренних 3 проволочных колец, шариков 5, регулировочных шайб 4, стопора в сборе 8, контактного кольца 17, наружного кольца 14, внутреннего кольца 12, изоляционного кольца / и гнезда 7 стопора. » Между неподвижным, подвижным и регулировочным кольцами погона в сепараторе // размещены шарики, которые обкатываются по проволочным кольцам. Регулировочные шайбы 148
9 Рис. 84. Погон: / — изоляционное кольцо 2 — регулировочное кольцо; 3 — внутреннее проволочное кольцо; 4 — регулировочные шайбы; 5 — шарик; б — подвижное кольцо; 7 — гнездо стопора; 8— стопор в сборе; 9— сектор выключения; 10, /6 — прокладки, 11—сепаратор; 12 — внутреннее кольцо; 13 — наружное проволочное кольцо; 14 — наружное кольцо; 15 — неподвижное кольцо; П — контактное кольцо
Рис. 85. Стопор: I — стопор; 2 — пружина; 3 — кронштейн, 4 — кольцо; 5 — гайка; 6 — болт служат для уменьшения люфта погона. Наружное кольцо 14 надето на неподвижное кольцо 15 и служит для уплотнения погона. Внутреннее кольцо 12 служит для уменьшения трения. В нижней части регулировочного кольца 2 имеются контактное кольцо 17 и изоляционное кольцо 1. Контактное кольцо 17 получает ток от щеткодержателя 8 (рис. 89). Сектор 9 выключения (рис. 84) служит для прекращения подачи напряжения, когда ось ствола пулемета находится в зоне расположения антенны. Резиновые прокладки 10 и 16 изолируют внутреннюю полость транспортера от внешней среды. Стопор 8 состоит из кронштейна 3 (рис. 85), стопора 1, пружины 2, кольца 4, гайки 5, болта 6 и предназначен для стопорения вращающейся части в походном положении. Стопор в сборе крепится к регулировочному кольцу погона кронштейном 3. Болт 6 и гайка 5 служат для поджатия стопора 1 к кронштейну 3 при проверке кучности боя и приведении установки к нормальному бою. Стопор в сборе 8 (рис. 84) заходит в гнездо 7 стопора, размещенное на основании погона, и удерживает вращающуюся часть от поворота.' При вытягивании стопора 1 (рис. 85) за кольцо 4 и повороте на 90° он освобождает вращающуюся часть и удерживается в этом положении кольцом. Башня Башня состоит из корпуса 4 (рис. 86), вертикального стопора 10, пружины 9, втулок 3, рым-болтов 6, клапана 5, пробки 7, прокладки 8. Корпус 4 башни служит основанием для крепления люльки, электрообогревного стекла прицела и элек-трооборудования. Основанием корпус башни опирается на погон и крепится к нему болтами и гайками погона. Рым-болты служат для монтажа и демонтажа установки. В передней части башни имеется два окна. Центральное окно / служит для выхода кожуха люльки. Боковое окно 2 предназначено для перископического прицела, закрывается электрообогревпым стеклом и уплотняется резиновой прокладкой.
Между боковыми ребрами окна 1 приварена накладка с полостью для уплотнения 4 (рис. 83). С правой стороны корпуса башни имеется технологическое отверстие, которое закрывается пробкой 7 (рис. 86) и уплотняется прокладкой 8. Рис. 86. Башня 1— центральное окно; 2 — боковое окно; 3 — втулки; 4 — корпус башни; 5 — клапан; 6— рым-болт; 7 — пробка; S — прокладка; 9 — пружина; 10 — вертикальный стопор На крыше башни закреплен вертикальный сгопор 10, который служит для крепления люльки в походном положении. При приведении установки в боевую готовность вертикальный стопор откидывается и под действием пружины 9 остается прижатым к крыше башни. Втулки 3 служат опорой для качающейся люльки. Клапан 5 предназначен для удаления газов при работе пулемета и стравливания излишнего избыточного давления в корпусе, открывается только при работающем нагнетателе ФВУ. Люлька Люлька состоит из сварной части люльки, амортизатора, ручки управления, рукояток, ограничителя, кронштейна крепления налобника и каретки. Сварная часть люльки состоит из основания 8 (рис. 87), обода 6, кожуха 5 и подпятника 7. Амортизатор состоит из головки 10, пружин 17 и 19, катушки 18, стержня 16 и расположен в кожухе 15, вместе с ко торым соединен со сварной люлькой с помощью осей 11.
Амортизатор предназначен для амортизации ударов при откате каретки 12, с которой он соединен с помощью зуба стержня 16. Рис. 87. Люлька: / — ось: 2 —муфта. 3 —болт; 4 — ограничитель; 5. 15 — кожухи; 6 — обод; 7 — подпятник 8 — основание люльки, 9 — цапфа; 10— головка; 11. 13 — оси; 12 — каретка; 14 — флажок; 16 — стержень; П. 19 — пружины; /8 —катушка; 20 — кронштейн крепле* иия налобника; 21 — рукоятки; 22 — ручка управления Давление при откате передается на пружину 19, при накате— на пружину 17. Между пружинами проставлена катушка 18, которая соединяется со стойкой пружин, приваренной к основанию 8 люльки. Катушка 18 при стрельбе по отношению к люльке остается неподвижной и служит упором для пружин. Ручка ~22 управления и рукоятки 21 закреплены на оси / посредством муфт 2 и предназначены для управления установкой. Правая рукоятка 21 служит для фиксации ручки 22 управления в удобном положении. Левая рукоятка предназначена для фиксации люльки на ограничителе 4 в любом положении от —5 до +35°, Ручка управления имеет кнопку электро-спуска.
Кронштейн 20 предназначен для крепления к нему налобника прицела. Регулировка положения кронштейна 20 и его крепление к сварной люльке осуществляются болтами 3. К ободу 6 приварен кожух 5, внутрь которого вставляется пулемет. Во время стрельбы пулемет в кожухе 5 передвигается на величину отката — 6 мм и наката — 3 мм. К верхней части обода приварен подпятник 7, который служит для упора уравновешивающего механизма 5 (рис. 83). Внутри люльки, в пазах, установлена каретка 12 (рис. 87), которая дополнительно соединена с люлькой амортизатором. Каретка служит для установки на ней пулемета с помощью осей 13. Цапфы 9 предназначены для крепления люльки к корпусу башни. Патронная коробка Патронная коробка предназначена для укладки 250 патронов и звеньев, обеспечивающих питание пулемета при стрельбе. Рис. 88. Патронная коробка: / — лоток; 2 —клапан; 3 —ось; 4 — ушко; 5 — крышка; 6 — ручка; 7 — упорная накладка; в. /2—боковые стенки; 9 — средняя стенка; 10 — защелка; // — пружина за-щелки
Для снаряжения патронная коробка имеет крышку 5 (рис. 88), открывающуюся нажатием на защелки 10. При этом сжимается пружина 11 и защелки выходят из ушек 4 корпуса. Для переноски коробки на крышке 5 имеется ручка 6. Корпус коробки состоит из боковых стенок 8 и 12, средней стенки 9 и поддона. На корпусе имеется упорная накладка 7, которая ограничивает движение коробки вверх и фиксирует коробку в коробко-держателе. В верхней части коробки имеется лоток 1 с площадкой, на которой лежит первый патрон с лентой. На крышке коробки на оси 3 закреплен клапан 2 с пружиной. Клапан служит для удержания первого патрона на лотке снаряженной патронной коробки. При снаряжении патронной коробки лента укладывается рядами. Свободный конец лепты кладется на площадку лотка. При закрытой крышке клапан упирается в первый патрон ленты. Внутри патронной коробки имеется поддон, который выполнен так, чтобы при укладке патронной ленты не получался завал верхних рядов. Электрооборудование Электропитание установки осуществляется от бортовой сети транспортера. Рис. 89. Принципиальная схема электрооборудования: / — выключатели; 2 — лампа плафона; 3 — лампа подсветки: 4— разъемы; 5 — электро-обогревиое стекло; 6 — кнопка электроспуска; 7 — электромагнит; 8 — щеткодержатель Напряжение через щеткодержатель 8 (рис. 89) подается на контактное кольцо погона и затем на выключатели /, лампу 2 плафона, лампу 3 подсветки, кнопку 6 электроспуска и элек-трообогревное стекло 5,
Включается установка выключателем, расположенным на щитке командира (рис. 90). Рис. 90. Щиток командира: / — выключвтель светильника; 2 — выключатель обогрева правого смотрового стекла; 3 — выключатель электропитания башенной установки: 4 — штепсельная розетка; 5 — светильник; 6 — предохранитель цепи светильника, розетки и плафона кормы; 7 — колодка штепсельного разъема Уравновешивающий механизм Уравновешивающий механизм 5 (рис. 83) состоит из стержня и пружины и служит для уравновешивания качающейся части установки. Хомут прицела Хомут служит для крепления прицела на кронштейне люльки и состоит из основания 9 (рис. 92), накладки 10, стержня 2, барашка 8, пальца 4, шайб 5 и 6, штифта 7 и двух винтов /. Основание 9 и накладка 10 имеют шаровое гнездо для постановки шара прицела. Прицел крепится винтами /. В основании закреплен палец 4 со стержнем 2, который ввинчивается во втулку 3 кронштейна люльки.
Рис. 91. Панель управления башенной установкой: I — колодка штепсельного разъема; 2 — выключатель подсветки прицела; 3 — выключатель обогрева ващитного стекла прицела; 4 — выключатель электропитания электроспуска пулемета Рис. 92. Хомут прицела: 1 — винты; 2 — стержень; 3 — «тулка; 4 — палец; 5. 6 — шайбы; 1 — ЙТифт; I —барашек; 9 — основание^ 10 —на* кладка
Г ильзозвеньеотвод Гильзозвеньеотвод предназначен для отвода и сбора отраженных гильз при стрельбе пли патронов при перезарядке звеньевой ленты, а также для отвода звеньевой ленты. Приемник 1 гильзозвеньеотвода (рис. 93) крепится к люльке с помощью ушка и болта с шайбой. Рис. 93. Гильзозвеньеотвод: / — приемник гильзозвеньеотвода; 2 — штырь; 3 — мешок с рамой; 4 — ось; Л —застежка Мешок 3 с рамой присоединяется к приемнику гильзозвеньеотвода с помощью оси 4 и застежки 5, а к коробкодержателю 7 (рис. 83) —с помощью штыря 2 (рис. 93). Мешок с рамой предназначен для сбора гильз и патронов при перезарядке звеньевой ленты. Он рассчитан на 250 гильз, т. е. одной патронной коробки. Из мешка отраженные гильзы и звенья ленты высыпаются через отверстие, закрываемое застежкой «молния». Коробкодержатель Коробкодержатель состоит из рамки / (рис. 94), защелки 2, оси 3 и пружины 4 и крепится к люльке тремя болтами. Коробкодержатель служит для удержания патронной 158
коробки. Он позволяет производить быструю смеАу патронных коробок. Защелка 2 служит для закрепления патронной коробки. Рис. 94. Коробкодержатель: 1 — рамка; 2 — защелка; 3 — ось. 4 — пружина 4.11. ОДИНОЧНЫЙ КОМПЛЕКТ ЗАПАСНЫХ ЧАСТЕЙ, ИНСТРУМЕНТА И ПРИНАДЛЕЖНОСТЕЙ (ЗИП) Одиночный комплект ЗИП предназначен для использования при эксплуатации, техническом обслуживании и текущем ремонте. Номенклатура, количество и размещение одиночного комплекта ЗИП указаны в ведомости 6.00.0013И, прикладываемой к каждому транспортеру. Ею следует пользоваться при выборе нужного инструмента и принадлежностей. Размещение на транспортере ЗИП и вспомогательного оборудования показано на рис. 95. 4.12. МАРКИРОВАНИЕ И ПЛОМБИРОВАНИЕ Маркирование Маркировка транспортера выполнена в передней части верхнего листа носа корпуса. Кроме того, в передней части верхнего листа носа корпуса имеются клеймо производственного мастера, клеймо ОТК и клеймо представителя заказчика, нанесенные справа от номера транспортера. Маркировку имеют составные части транспортера: корпус, двигатель, главная передача, промежуточный редуктор, борто-
9
вая передача правая, бортовая передача левая, торсионные валы, переговорное устройство Р-124, фильтр-поглотитель ФПТ, подогреватель тина 11ЖД-44Л, отопитсльно-вситп-ляционная установка, аккумуляторные батареи, реле-регулятор, гпдроамортизаторы, электродвигатель ФВУ, дифманометр тяюнаноро-мер. Пломбирование * а) На двигателе пломбируется топливный насос в сборе с регулятором числа оборотов. Устанавливается шесть пломб завода — изготовителя топливного насоса: па винтах крепления крышки корпуса топливного насоса высокого давления и крышки смотрового люка, па винте подрегулировки номинальной мощности, на болте ограничения максимального скоростного режима и па вин ге —ограничителе мощности на обкаточный период и на втулке винта — ограничителя мощности. Пломба впита — ограничителя мощности снимается по окончании периода обкатки двигателя. Снятие остальных пломб категорически запрещается. б) На транспортере пломбируется с сохраненном пломбы на весь период гарантийного срока эксплуатации гибкий вал спидометра. Устанавливаются две пломбы заводом — изготовителем транспортера (в местах соединения к хвостовику червячного колеса левой бортовой передачи и к спидометру, расположенному на щитке приборов водителя). Снятие этих пломб категорически запрещается. в) На транспортере при хранении и транспортировании пломбируются крышки люков в крыше отделения управления, крышки десантных и кормовых люков, двери, связанные в узел концы веревки крепления брезента (после укрытия транспортера брезентом) „ ящики и сумки с размещенным одиночным ЗИП транспортера. * Схемы пломбирования транспортера МТ-ЛБ см. приложение 8.
Пломбы, указанные в п. «в», с введением транспортера в эксплуатацию должны быть сняты. г) Пломбируются заводом-изготовителем с сохранением пломбы на весь период гарантийного срока эксплуатации: винт крепления кожуха аппарата А-1 (внутри аппарата) — пломба мастичная; реле-регулятор.
5. легкий многоцелевой снегоболотоходный ГУСЕНИЧНЫЙ ТРАНСПОРТЕР МТ-ЛБВ Б.1. НАЗНАЧЕНИЕ И ОБЩЕЕ ОПИСАНИЕ Легкий многоцелевой снегоболотоходный гусеничный транспортер МТ-ЛБВ1 предназначен для буксировки прицепов общей массой до 4 т, монтажа различного оборудования, перевозки людей и грузов и для обеспечения других транспортных потребностей в северных районах страны. Рис. 96. Общий вид трапспортсра-тягача МТ-ЛБВ Транспортер рассчитан на эксплуатацию и хранение на открытых площадках при температуре окружающего воздуха от плюс 45 до минус 45°С, в горных условиях на высоте не более 2000 м над уровнем моря. Транспортер является снегоболотоходной модификацией легкого многоцелевого гусеничного транспортера МТ-ЛБ. Основное изменение конструкции транспортера МТ-ЛБ заключается в установке уширенных гусениц и соответствующих Им гидродинамических и грязевых щитков. В' связи с этим увеличивается до 670 мм ширина передних подкрылков и вводятся
дополнительные съемные подкрылки вдоль бортов шириной 160 мм. В кормовом отделении транспортера имеются кронштейны для установки санитарных носилок. Общий вид транспортера дан на рис. 96. 5.2. ОСНОВНЫЕ ДАННЫЕ ТЕХНИЧЕСКОЙ ХАРАКТЕРИСТИКИ Масса в рабочем состоянии (без груза на платформе, но с комплектом ЗИП и полной заправкой горючим и эксплуатационными материалами), кг.................................... 10 350 ±260 Масса размещаемого оборудования и груза (грузоподъемность), кг, не более............... 1500 Масса буксируемого колесно-лыжного прицепа, кг, не более........................... 4000 Габаритные размеры, мм: длина...................................... 6454 ±55 высота t............................... 1950+80 ширина по гусеницам.................... 3150+^ Дорожный просвет, мм....................... 395—425 Координаты центра тяжести, мм: без водителя и груза на платформе продольная (от оси ведущего колеса к корме) 2296±25 поперечная (от продольной оси влево) . . . 10±5 с водителем и грузом на платформе массой 1500 кг продольная (от осн ведущего колеса к корме) 2510 ±25 поперечная (от продольной оси влево) . . . 14±25 Среднее удельное давление на грунт в рабочем состоянии, кгс/см2: без груза на платформе..................... 0,244 с грузом на платформе массой 1500 кг . . . 0,28 Средняя скорость движения с грузом массой 1500 кг на платформе и прицепом по глубокому снегу и заболоченной местности, км/ч .... 9—18 Bte остальные данные технической характеристики транспортера соответствуют данным разд. 3. 5.3. УСТРОЙСТВО СОСТАВНЫХ ЧАСТЕЙ ТРАНСПОРТЕРА Гусеница Гусеница с несимметричными звеньями. Звенья — металлические, мелкозвенчатые с открытым шарниром. Ширина гусеницы 560 мм.
Все звенья с гребнями. В' каждом звене по десять проушин. Звенья соединяются в гусеницу плавающими пальцами. Зацепление ведущего колеса с звеньями гусеницы толкающего типа. Рис. 97. Гусеница несимметричная: 1 — звено; 2 — палец; 3 — съемный почвозацеп; 4 — гайка; 6 — шайба (поз. 3, 4t 5 прикладывав ются в одиночный комплект ЗИП) Звенья несимметричной гусеницы делятся на левые и правые. Из левых звеньев собирается левая гусеница, из правых — правая. Конструкция гусеницы приведена на рис. 97.
Гидродинамические щитки В связи с уширением гусениц заменяются гидродинамические щитки, устанавливаемые в передней части транспортера для облегчения движения на плаву. Конструкция и крепление щитков аналогичны щиткам, устанавливаемым на МТ-ЛБ. Отличаются гидродинамические щитки только шириной переднего щитка, который на транспортере МТ-ЛБВ имеет ширину 620 мм. Грязевые щитки На снегоболотоходной модификации устанавливаются грязевые щитки шириной 585 мм. Установка носилок В грузовой платформе снегоболотоходного транспортера предусмотрено размещение четырех санитарных носилок с длиной ведущего бруса 2200±10 мм и 0 рукоятки 42 мм, в два яруса (трое сверху и одни внизу). Для установки и крепления верхних носилок имеются съемная стойка 11 (рис. 98), передний тавр 10, задний тавр 2 и фиксаторы. Передний тавр 10 устанавливается в кронштейны стойки 11 и левого борта платформы. Он фиксируется в кронштейне левого борта платформы с помощью стопора 6 с кольцом 9, пружины 8, шайбы 7 и шплинта. Задний тавр 2 устанавливается в кронштейны, приваренные к левому борту и кормовой балке. Он фиксируется в кронштейне кормовой балки с помощью стопора с кольцом, пружины, шайбы и шплинта (см. вид А). Левые 3 и средние 4 верхние носилки устанавливаются на передний и задний тавры. Правые ручки средних носилок 4 крепятся к таврам ремнями 1. Нижние носилки 12 устанавливаются на кронштейны, расположенные на торсионных балках Для облегчения установки носилок служит склиз 15. Он устанавливается у правого борта грузовой платформы. При йтом опорная труба 13 склиза вставляется в кронштейн на днище корпуса, а регулируемая стяжка 14 фиксируется в-кронштейне на правом борту корпуса с помощью стопора с кольцом, пружины, шайбы и шплинта (см. узел III). Задний угольник склиза вставляется в пазы кронштейнов на кормовой балке и фиксируется с помощью ушка 16 с кольцом, гайки-барашка 17 и шайб (см. узел I).
Hui) Л
Порядок погрузки носилок и размещение пассажиров В транспортере размещаются: одиннадцать пассажиров на откидных сиденьях и баках-сиденьях, пли трое носилок и семь пассажиров на откидных сиденьях и баке-сиденье, или четверо носилок и три пассажира на откидных сиденьях. При погрузке носилок необходимо: снять усиливающую стопку в центре кормового отделения и положить ее на днище; установить задний тавр и передний тавр со стойкой; установить склиз; задвинуть на склиз носилки, переместить их на пол и установить их так, чтобы ножки носилок попали в опорные кронштейны; задвинуть следующие носилки, переставить их на поперечные тавры и сместить в крайнее левое положение; следующие носилки переместить тем же порядком и установить их рядом с крайними, после чего закрепить ремнями; четвертые носилки задвинуть и оставить на склизе, зафиксировав четырьмя стопорами (см. узел II),
6. ЛЕГКИЙ МНОГОЦЕЛЕВОЙ ГУСЕНИЧНЫЙ ТРАНСПОРТЕР МТ-ЛБ С ОБОРУДОВАНИЕМ ДЛЯ САМООКАПЫВАНИЯ 6.1. НАЗНАЧЕНИЕ И ОБЩЕЕ ОПИСАНИЕ Легкий многоцелевой гусеничный транспортер МТ-ЛБ с оборудованием для самоокапывания предназначен для буксирования систем и прицепов общей массой до 6,5 т, монтажа объ- Рис. 99. Общин вид транспортера-тягача МТ-ЛБ с оборудованием для самоокапывания: ,• — отвал поднят я верхнее положение; б — отвал закреплен на правом борту
ектов техники под оборудование специального назначения, перевозки людей и груза,, для обеспечения других транспортных потребностей и для рытья котлованов в грантах I и IV категории как для себя, так и для буксируемых им систем и прицепов. Транспортер не предназначен для рытья котлованов в мерзлых грунтах и не должен использоваться при рытье котлованов на участках с пнями и корнями деревьев. Он рассчитан на эксплуатацию и храпение па открытых площадках при температуре окружающего воздуха от плюс 45 до минус 45°С, в горных условиях до 2000 м над уровнем моря. Оборудование для самоокапывания скреперного типа монтируется на кормовой части транспортера. Оно обеспечивает отрывку котлованов с одним пли двумя въездами. При отрывке котлованов рабочий ход обеспечивается па первой передаче, холостой ход — на передаче заднего хода. Оборудование для самоокапывания обеспечивает отрывку котлованов в дневное и ночное время в грунтах до IV категории включительно (до 21 удара ударником ДОРНИН). Общий вид транспортера МТ-ЛБ с оборудованием для самоокапывания дан па рис. 99. 6.2. ТЕХНИЧЕСКАЯ ХАРАКТЕРИСТИКА Основные данные транспортера Масса в рабочем состоянии (без груза на платформе и экипажа, но с комплектом ЗИП и полной заправкой горючим и эксплуатационными материалами), кг 10050±250 Масса размещаемого оборудования и гру- за (грузоподъемность), кг: номинальная при буксировании при- цепов ........................... 1650 максимальная при перевозке грузов без прицепа............................... 2150 Габаритные размеры, мм: ” длина с отвалом....................... 6980±60 » без отвала........................... 6750±50 ширина с отвалом......................... 2950±5 » без отвала.......................... 285СН’® высота с отвалом......................... 1990+™ » без отвала....................i 1870+’” Координаты центра тяжести (отвал на борту), мм: без груза на платформе продольная (от оси ведущего колеса к корме)....................... . 2333
поперечная (от продольной оси влево) 5 с грузом массой 1G50 кг на плат- форме продольная (от оси ведущего колеса к корме)..........................1 2577 поперечная (от продольной оси влево) 4 Среднее удельное давление на грунт без учета погружения гусеницы, кгс/см2: без груза на платформе................. 0,38 с грузом на платформе.............; 0,443 Технические данные оборудования для самоокапывания Тип ................................. Масса с заправкой, кг.................... Ширина отвала, мм........................ Угол резания, град . . .................. Насос гидросистемы: тип ..................................... производительность при 1650 об/мин привода, л/мин ...................... Рабочая жидкость: летом ................................... зимой ............................... Скреперный с гидравлической системой управления 320 ±5 2950 ±3 40 НШ-32УП 52 Масло моторное М-10В2 или М-10Г2 Масло моторное М-8В2 или М-8Г2 Рабочее давление, кгс/см2 ........... Заправочная емкость гидросистемы, л . . Скорость подъема и опускания отвала, м/с Производительность (для грунта III категории) , м3/ч.........................1 Время отрывки укрытия для транспортера, ч ................................... Время перевода рабочего органа из застопоренного положения в рабочее или обратно, мин............................1 Время перевода из походного положения отвала, укрепленного на борту, в рабочее расчетом из четырех человек, мин Время перевода из рабочего положения в походное расчетом из четырех человек, МИН ..................................) Расход топлива при землеройных работах, л/ч ................................... 90+5 40 0,2 35—40 1,5—2 3 8 5 10—14 Остальные данные технической характеристики соответствуют данным разд. 3.
6.3. СОСТАВ ОБОРУДОВАНИЯ Оборудование для самоокапывания состоит из навесного оборудования и гидропривода. 6.3.1. УСТРОЙСТВО НАВЕСНОГО ОБОРУДОВАНИЯ Навесное оборудование состоит из отвала 1 (рис. 100), двух тяг 5, четырех пар раскосов 7 и 8, двух гидроцилиндров 4 и деталей их соединения. Рис. 100. Система навески: / — отвал; 2, 3— пальцы крепления отвала; 4— гидроцилиндр; 5— тяга; 6, 9. 11. /2 —пальцы; 7, 8 — раскосы; 10 — стяжка; 13 — кронштейн Отвал служит для срезания грунта и транспортирования его в отсыпку. Оп состоит из сварного корпуса 8 (рис. 101) и ножей 2 и 10. Ножи устанавливают до упора их накладок в плиту 5 и крепят с помощью винтов 3 и втулок 4. Тяги 5 (рис. 100) обеспечивают силовую и кинематическую связь между транспортером п отвалом.
Тяги крепятся к нижним кронштейнам 13 на корме транс портера пальцами 12. Отвал / к тягам крепится четырьмя пальцами 2 и 3, два из которых (нижние пальцы 2) являются срезными и служат для предохранения рабочего органа от поломок. Рис. 101. Отвал: /— верхняя накладка; 2— крайний нож; 3 — винт; 4— втулки; 5—плита; С — кронштейн; 7 — ребро; 8 — корпус отвала; 9 — нижняя накладка; 10 — средний нож; 11 — резьбовая втулка; а — накладка ножа Раскосы 7 и 8 обеспечивают силовую и кинематическую связь гидроцилиндров с транспортером и тягами. Гидроцилиндры являются агрегатами, непосредственно управляющими рабочим органом (отвалом). Гидроцилиндр состоит из гильзы 7 (рис. 102), головки 5 гильзы цилиндра, нижней опоры. 6, верхней опоры 9, гайки 8, штока 3 с поршнем и наконечника 2 штока. В ушко наконечника установлен шарнирный подшипник 1. Гидроцплиндры устанавливаются в кормовой части транспортера. Наконечники 2 штоков крепятся к нижним кронштейнам с помощью пальцев; головки 5 гильз цилиндров крепятся к верхним кронштейнам и тягам с помощью раскосов 7 (рис. 100), 8 и пальцев 6, 9 и 11.
io и 7 42 5 6 Движение масла при опускании Движение масла при подъеме Рис. 102. Гндроцилиндр: / — шарнирный подшипник; 2 — наконечник штока; 3 — шток с поршнем; 4 — угольник; 5 — головка; 6 — нижняя опора; 7 — гильза цилиндра; 8 — гайка; 9 — верхняя опора- 10, 11, 12 — уплотнения 9-В Условные обозначения w 6.3.2. УСТРОЙСТВО гидропривода Гидропривод предназначен для дистанционного управления работой навесного оборудования. Гидропривод состоит из привода насоса, насоса типа НШ-32УП, масляного бака с фильтром, распределителя Р-75-42, предохранительного клапана, манометра и трубопроводов, соединяющих гидроагрегаты между собой, баком и цилиндрами. Привод насоса осуществляется от ведущей шестерни промежуточного редуктора силовой передачи транспортера.
Привод насоса состоит из ведомой шестерни 18 (рис. 103), эпициклической шестерни 17, корпуса 13 редуктора, муфты 14 включения, вилки 5 включения, валика 7 включения и рычага 6 включения с рукояткой. Ведомая шестерня 18 опирается па два шарикоподшипника 2, установленные в гнезде, расположенном в картере промежуточного редуктора. Эпициклическая шестерня 17 устанавливается в корпусе 13 редуктора насоса на шарикоподшипнике. Корпус редуктора насоса крепится к картеру промежуточного редуктора шестью шпильками с гайками. Муфта 14 включения установлена на хвостовике вала насоса. Валик 7 включения опирается на уплотнительную втулку 8, установленную в корпус редуктора насоса. На один конец валика включения с помощью шпонки и стяжного болта 4 крепится вилка включения, на другой конец валика — рычаг 6 включения с рукояткой. Рычаг включения ^может занимать два крайних положения, соответствующие положениям муфты, которые фиксируются стопорными кольцами 12 и 15. Положение рычага фиксируется стопором, который состоит из пружины 9 и шарика 10. На корпусе 13 редуктора пасоса нанесены метки ВКЛ. и ВЫКЛ., соответствующие фиксированным положениям рычага. Насос шестеренного типа НШ-32УП предназначен для нагнетания рабочей жидкости в гидросистему, состоит из корпуса / (рис. 104), качающего узла, крышки 13 и уплотнений. В качающий узел входят ведущая шестерня 2, ведомая шестерня 12, четыре втулки 10 и 11. Для уплотнения приводного конца ведущей шестерни служит уплотнение 9, удерживаемое кольцами 7 и 8. Крышка и корпус пасоса изготовлены из алюминиевого сплава. На боковых поверхностях корпуса имеются платики с четырьмя резьбовыми отверстиями для крепления арматуры всасывающего и нагнетающего трубопроводов. Втулки 10 и // служат опорами для цапф и уплотнениями торцовых поверхностей шестерен. Уплотнение стыка корпуса н крышки и хвостовиков втулок осуществляется резиновой манжетой 4. Кольцо 6 манжеты препятствует выдавливанию манжеты в зазор между хвостовиком втулки и отверстием в крышке. Насос крепится к корпусу редуктора привода четырьмя шпильками с гайками и шайбами. Масляный бак 1 (рис. 105) для рабочей жидкости гидросистемы установлен в левой передней части грузовой платформы па специальной постели и крепится к ней стяжными лентами.
В верхней части бака имеется горловина для установки фильтра. Фильтр служит для очистки сливаемого п заливаемого в бак масла. Он состоит из корпуса 6, трубы 2, фильтрующих элементов 5, отражателя 9, пружины 11 и шарового клапана 12. Рис. 104. Шестеренный насос: Z — корпус насоса; 2 —ведущая шестерня; 3 — вкладыш; 4 — манжета; 5 —специальное уплотнение; 6 — кольцо; 7. 8 — стопорные кольца; S — уплотнение. 10- левая втулка; 11— правая втулка; /2— ведомая шестерня, 13 — крышка насоса; 14 — болт Фильтр вставлен в горловину и закрыт крышкой 14. В крышке имеется заправочное отверстие, закрываемое пробкой 15. В горловину масляного фильтра вварены сливной патрубок 17 и перепускная трубка /6; в верхней части бака имеется бонка с резьбовым отверстием для установки поворотного угольника сапуна; в боковую стенку бака вварена заборная труба 3. Масло поступает в бак через сливной патрубок, проходит через отверстия в отражателе заполняет корпус 6 фильтра, про-
сачивается через сетки фильтрующих элементов 5, оставляя на них примеси, и через отверстия в трубе 2 сливается в полость бака. Рис. 105. Масляный бак с фильтром: / — бак гидросистемы; 2— труба фильтра; 3 — заборная труба; 4, 7, 8 — прокладки! 6 — фильтрующий элемент; 6 — корпус фильтра; 9 — отражатель; 10 — корпус клапана^ // _ пружина; 12 — клапан; 13 — масляный щуп; 14 — крышка масляного фильтрц 15 — пробка; 16 — трубка; 17 — сливной патрубок В' случае засорения стенок фильтрующих элементов давление масла в корпусе фильтра повышается, шаровой клапан 12 открывается и масло без очистки проходит в полость бака. Клапан отрегулирован на давление 3±0,5 кгс/см2. Распределитель Р-75-42 гидравлический, предназначен для управления силовыми цилиндрами двустороннего действия. Распределитель клапанно-золотникового типа, имеет два золотника 15 (рис. 106), один из которых для гидросистемы оборудования для самоокапывания не используется. Распределитель имеет клапанное устройство, отрегулированное па предельное давление 100+10 кгс/см2 (при замере в напорной полости). Клапанное устройство состоит из перепускного 8 и предохранительного 7 клапанов. Золотники, перепускной и предохра-178
/ — колпачок; / — гайка; 3 — нижняя крышка; 4 — регулировочный вннт; 5 — пружина предохранительного клапана; 6 — гнездо перепускного клапана; 7 — предохранительный клапан; 8 — перепускной клапан; 9 — пружина перепускного клапана; 10 — рукоятка; // — гофрированный пыльник; 12 — уплотнительное кольцо; // — верхняя крышка; 14 — рычаг; /5—золотник; 16 — корпус распределителя; /7 —пру жииа золотника; /8 —втулка ограничителя; I — от насоса; II —слив в бак; III, IV — к цилиндрам; V —в сливную полость Цифры в кружках; / — «Подъем»; /—«Нейтральное»; / — «Принудительное опускание»
нительный клапаны монтируются в едином чугунном корпусе 16. Золотники распределителя имеют положения: «Подъем» (рис. 107,6), «Нейтральное» (рис. 107,а) и «Принудительное опускание» (рис. 106). Рис. 107. Положения золотника: «Нейтральное» (а) и «Подъем» (б) Золотники переводятся с помощью рукоятки 10 из положения «Нейтральное» в рабочее («Подъем» или «Принудительное опускание») и удерживаются в нем вручную, а возвращаются в положение «Нейтральное» под действием пружины 17 золотника после окончания необходимого рабочего хода поршня цилиндра и после снятия руки с рукоятки 10. Рычаги 14 управления расположены в верхней крышке 13 и уплотнены резиновыми кольцами 12 и пыльниками 11. Регулируется клапанное устройство на предельное давление регулировочным винтом 4. Распределитель устанавливается в отделении управления на левой боковине ограждения кардана и крепится к ней четырьмя болтами. Предохранительный клапан служит для ограничения давления в системе, которое не должно быть выше 90+3 кгс/см2.
Предохранительный клапан состоит из корпуса 3 (рис. 108). седла 7 клапана, шарикового клапана 8, пружины 2 и трех штуцеров 4. Давление в системе регулируется регулировочным винтом 1. Рис. 108. Предохранительный клапан: 1 — регулировочный впит, 2 — пружина; 3 — корпус клапана; 4 — ввертной штуцер; 5 — уплотнительное кольцо; 6 — шайба; 7 — седло клапана; в —клапан; 9 — шайба; 10 — гайка Предохранительный клапан расположен на левом борту грузовой платформы и крепится болтами к бонкам. Манометр МТ-3 служит для измерения давления в гидросистеме. Он установлен на щитке, расположенном в отделении управления справа от щитка приборов водителя. На трассе трубопроводов подвода к манометру имеется тройник с заглушкой, предназначенный для удаления воздуха из системы. Принципиальная схема гидропривода показана на рис. 109. Установка гидропривода на машине показана на рис. ПО.
41 5. -------- 6 Условные обозначения * <. Заглубление (опускание) —*о 'Подъем * < .< Работает предохранительный' клапан ^-с--е < Нейтральное положение золотника Рис. 109. Принципиальная схема гидропривода: I — шестеренный васос: 2 — бак, 3 — фильтрующий элемент; 4 — распределитель; 5 —предохранительный клапан, 6 — гндроцилнндр; Z — манометр Рис. ПО. Установка гидропривода; I — манометр; 2 — распределитель, 3 — насос; 4 — бак; 5 — предохранительный клапан
6 4. ЭЛЕКТРООБОРУДОВАНИЕ (ДОПОЛНИТЕЛЬНОЕ) Электрооборудование транспортера с оборудованием для самоокапывания включает дополнительную фару, контрольный фонарь и лампу освещения щитка манометра. Схема электрооборудования показана па рис. 111. Фара 5 расположена па левом наклонном листе крыши в кормовой части и служит для освещения навесного оборудования при работе ночью. Для включения фары служит автомат защиты сети АЗС-10, расположенный на щитке манометра. Щиток манометра установлен на передней стенке отделения управления справа от щитка водителя. Контрольный фонарь 2 с лампой 3 служит для сигнализации о включении фары. Он расположен на щитке манометра. Лампа освещения щитка манометра размещена в патроне 7. Она включается автоматом защиты сети АЗС-2, расположенным на щитке манометра. 6.5. РАБОТА ГИДРОПРИВОДА Гидропривод обеспечивает четыре режима работы оборудования: опускание оборудования; рабочий ход оборудования; подъем оборудования; фиксированное положение оборудования» Опускание оборудования Для приведения оборудования в рабочее состояние необходимо, предварительно включив привод водооткачивающего насоса, включить привод насоса, для чего рычаг включения привода гидронасоса установить в положение «Вкл.» (включено). Для опускания отвала необходимо рычаг распределителя перевести в положение «Опускание». При этом масло из бака через насос и распределитель поступает в штоковые полости гидроцилиндров, и навесное оборудование опускается. Масло, вытесняемое из поршневых полостей цилиндров, через распределитель по трубопроводам сливается в бак, при этом оно проходит через фильтр, расположенный в горловине бака. Рабочий ход оборудования С момента соприкосновения отвала с грунтом давление в системе начинает расти и нож отвала заглубляется.
CM CU га н я я I
По достижении давления в системе 90+5 кгс/см2 начинает срабатывать предохранительный клапан системы и отвал вы-глубляется на незначительную величину, при этом рычаг распределителя должен-находиться в положении «Опускание». В процессе - резания отвал находится под постоянным поджатием гидроцилиндрами. Масло при рабочем ходе проходит через распределитель, предохранительный клапан системы и далее через фильтр в бак. Давление системы показывает манометр, установленный на щитке приборов. В распределителе также имеется предохра нителытын клапан, но в данном случае он не срабатывает, так как отрегулирован на большее давление 100+10 кгс/см2. Для планировки грунта можно работать при переведенном рычаге распределителя в положение «Нейтральное». При этом стрелка манометра должна находиться па отметке, близкой к «О». Подъем оборудования Для отсыпки грунта при выезде из котлована и для перевода оборудования нз рабочего в верхнее положение необходимо рычаг распределителя перевести в крайнее верхнее положение «Подъем». По достижении отвалом крайнего верхнего положения рычаг распределителя необходимо немедленно перевести в положение «Нейтральное», так как при выборе рабочего хода цилиндров начинает срабатывать предохранительный клапан распределителя, который может перегреть систему Фиксированное положение оборудования Для установки оборудования в определенное фиксированное положение необходимо рычаг распределителя перевести в положение «Нейтральное». При этом распределитель запирает рабочую жидкость в обеих полостях гидроцилиндров, обеспечивая фиксацию оборудования в любом из возможных положений. Передвижение и транспортирование транспортера с оборудованием При движении и транспортировании оборудование для самоокапывания в зависимости от условий движения должно быть переведено в крайнее верхнее положение (отвал с помощью цилиндров поднят вверх до упора) и закреплено стяжками 10 (рис. 100) или отвал снимается с тяг, укладывается по правому борту, крепится к корпусу с помощью пальцев, проходящих через проушины отвала и кронштейны на корпусах изделий, и фиксируется прижимом.
Особенности работы ночью Для обеспечения наблюдения за навесным оборудованием транспортера при работе в ночное время в случае необходимости взамен крайнего левого смотрового прибора механика-водителя надо установить прибор ТВН-2Б, а в дополнительную фару — оптический элемент ФГ2-200-Г. Порядок установки прибора ТВН-2Б приведен в подразд. 4.7.2. Водитель наблюдает за навесным оборудованием через зеркало заднего вида, установленное на левом боковом листе отделения управления.
7. МОДИФИКАЦИЯ 32 Модификация 32 предназначена для монтажа специального оборудования. Опа рассчитана на эксплуатацию и хранение на открытых площадках при температуре окружающего воздуха от плюс 45 до минус 45°С, в горны-х условиях до 2000 м над уровнем моря. 7.1. ОСНОВНЫЕ ДАННЫЕ ТАКТИКО-ТЕХНИЧЕСКОЙ ХАРАКТЕРИСТИКИ Тип ..................................Быстроходное гусе- ничное шасси Масса в рабочем состоянии (без экипажа, но с комплектом ЗИП и полной заправкой горючим и смазочными материалами), кг................................. 9534+240 Масса размещаемого оборудования и гру- за (грузоподъемность), кг: номинальная............................. 2130 максимальная (без обеспечения параметров плава)........................ 2630 Длина модификации, мм..................... 6430±55 Координаты центра тяжести незагруженного изделия (без водителя), мм: продольная (от оси ведущего колеса к корме)............................. 2269 поперечная (от продольной осн вправо) ................................... 13 Количество посадочных мест в отделении управления, включая водителя . . . ,3 2 Топливные баки: количество .......................Четыре, разделен- ные на две группы общая вместимость, л.................. 475 Максимальная скорость движения с полной загрузкой, км/ч, не менее............... 60
Средняя скорость движения по грунтовой дороге среднего качества с полной загрузкой, км/ч........................... Преодолеваемые препятствия при движении с полной загрузкой по сухому за-дерпепному грунту, град: максимальный угол подьема (спуска) максимальный угол крепа................ Запас хода по топливу при движении с полной загрузкой по грунтовой дороге среднего качества, км, не менее .... Преодоление водных преград ........... По Боекомплект башенной установки ТБК-01-1, патроны................. ............. 26—32 35 25 450 особым условиям 1000 Все остальные данные тактико-технической характеристики, за исключением не относящихся к модификации 32, соответствуют данным разд. 3. 7.2. ОСОБЕННОСТИ КОНСТРУКЦИИ Модификация 32 (рис. 112) является модификацией легкого многоцелевого транспортера МТ-ЛБ и отличается от него в основном следующим: Рис. 112. Общий вид модификации 32 изменена вместимость правого верхнего топливного бака; не устанавливаются: — нижний распределитель 24 (рис. 77) и трубы 16 и 17 разводки теплого воздуха системы обогрева в кормовом отделении, а также стяжные ленты 75; — переговорное устройство типа Р-124;
— тягово-сцепное устройство; — розетка 37 (рис. 51) для подсоединения электрооборудования прицепа; — соединительная головка 14 (рис. 66) и разобщительный кран 15, а также трубки, соединяющие тормозной кран, разобщительный кран и соединительную головку; отверстие в кране для подсоединения трубки, соединяющей тормозной и разобщительный краны, закрыто пробкой; — сиденье в проходе; — подушки-сиденья на нижних топливных баках и их спинки; — смотровые приборы, стеклоблоки и амбразуры в кормовом отделении; в кормовой части вместо люков 28 (рис. 47) и 32 выполнен круглый проем, вентиляционные отверстия для забора и выброса воздуха; на корпусе модификации имеются дополнительные элементы (кронштейны, бонки, платики и т. п.) для крепления оборудования; на кормовой плите установлены задние буксирные крюки; не предусмотрено место под прибор ДП-ЗБ; изменена раскладка одиночного комплекта ЗИП (см. Ведомость 32.00.0013И); при пломбировании модификации 32 и снятии пломб следует руководствоваться подразд. 4.12 с учетом особенностей конструкции модификации и указаниями эксплуатационной документации на комплекс в целом и комплектующие сборочные единицы.
8. МОДИФИКАЦИЯ 35 Модификация 35 предназначена для монтажа специального оборудования. Она рассчитана на эксплуатацию и хранение на открытых площадках при температуре окружающего воздуха от плюс 45 до минус 45СС, в горных условиях до 2000 м над уровнем моря. 8.1. ОСНОВНЫЕ ДАННЫЕ ТАКТИКО-ТЕХНИЧЕСКОЙ ХАРАКТЕРИСТИКИ Тип .............................Быстроходное, гусе- ничное Масса в рабочем состоянии (без экипажа, но с комплектом ЗИП и полной заправкой топливом и смазочными материала- ми), кг.............................. 9512±240 Масса размещаемого оборудования и груза (грузоподъемность), кг: номинальная.................................. 2188 максимальная ............................ 2688 Габаритные размеры, мм: длина ................................ 6430 + 55 высота............................. 1630+|^ Координаты центра тяжести без загрузки и водителя, мм-продольная (от оси ведущего колеса к корме)..................................... 2273 поперечная (от продольной оси влево) 7 Количество посадочных мест в отделении управления, включая водителя .... 2 Максимальная скорость движения с загрузкой, км/ч, не менее............... 60 Средняя скорость движения по грунтовой дороге среднего качества с загрузкой, км/ч....................................... 28—32 Преодолеваемые препятствия при движении с загрузкой но сухому задерненному 191
грунту, град: максимальный угол подъема (спуска) 35 максимальный угол крепа............ 25 Условия преодоления водных преград оговариваются особо с учетом специальною оборудования. Все‘остальные данные тактико-техипческой характеристики, за исключением не относящихся к модификации 35, соответствуют данным разд. 3. 8.2. ОСОБЕННОСТИ КОНСТРУКЦИИ Модификация 35 является модификацией легкого многоцелевого гусеничного транспортера МТ-ЛБ и отличается от него в основном следующим; не устанавливаются: — башенная установка ТКБ-01-1; — нижний распределитель 24 (рис. 77) и труба 17 разводки теплого воздуха системы обогрева в кормовом отделении, а также стяжные ленты 15-, — тягово-сцсппое устройство; — розетка 37 (рис. 51) для подсоединения электрооборудования прицепа; — соединительная головка 14 (рис. 66) и разобщительный кран 15, а также трубки, соединяющие тормозной кран, разобщительный кран и соединительную головку; отверстие в тормозном крапе для подсоединения трубки, соединяющей тормозной и разобщительный краны, закрыто пробкой; — переговорное устройство типа Р-124; — сиденье в проходе; — подушки-сиденья на нижних топливных баках и их спинки; — дополнительное сиденье в проходе; — .смотровые приборы, стеклоблоки и амбразуры в кормовом отделении; введены отличия: на крыше корпуса вместо проема под установку ТКБ-01-1 справа выполнен люк 1 с крышкой (рис. ИЗ); па крыше отделения управления исключен люк 23 (рис. 47) командира; в кормовой части вместо люков 28 и 32 выполнен круглый проем 2 (рис. 113); на кормовом листе установлены задние буксирные крюки; перенесены места установки аккумуляторных батарей и розетки внешнего пуска (см. эксплуатационную документацию на шасси в целом со специальным оборудованием); на корпусе установлены дополнительные элементы (кронштейны, бойки, платикп и т. п.) для крепления оборудования;
Рис. 113. Общий вид модификации 35: / — люк с крышкой; 2 — проем Рис. 114. Промежуточный редуктор|
в промежуточном редукторе взамен фланца 6 (рис. 21) для крепления центрального карданного вала установлен шкив 1 (рис. 114), предназначенный для крепления центрального кар-данного вала и обеспечения привода генератора мощностью не более 6,5 кВт; изменена раскладка одиночного комплекта ЗИП (см. Ведомость 35.00.0013И); при пломбировании модификации 35 и снятии пломб следует руководствоваться подразд. 4.12 с учетом особенностей конструкции и указаниями эксплуатационной документации па шасси в целом со специальным оборудованием и комплектующими сборочными единицами.
9. МОДИФИКАЦИЯ 49 Модификация 49 (рис. 115) предназначена для монтажа специального .оборудования, рассчитана на эксплуатацию и хранение на открытых площадках при температуре окружающего воздуха от плюс 45 до минус 45СС, в горных условиях на высоте не более 2000 м над уровнем моря. Рис. 115. Общий вид модификации 49 9.1. ОСНОВНЫЕ ДАННЫЕ ТАКТИКО-ТЕХНИЧЕСКОЙ ХАРАКТЕРИСТИКИ Тип .....................................Быстроходное, гусе- Масса в рабочем состоянии (без экипажа, но с комплектом ЗИП и полной заправкой топливом и смазочными материалами), кг.......................... Масса размещаемого оборудования и груза (грузоподъемность), кг: номинальная ............................ максимальная ........................ ничное 9300 ±233 2400 2900
Габаритные размеры, мм: длина .................. .............. 6380 ±55 высота............................. 1902+^ Координаты центра тяжести без груза и водителя, мм: продольная (от оси ведущего колеса к корме)’............................. 2239±45 поперечная (от продольной оси влево) 20±5 Количество посадочных мест в отделении управления, включая водителя .... 1 Топливные баки: количество..............................Четыре, разделены на две группы общая вместимость, л............... 475 Максимальная скорость движения с грузом, км/ч, не менее................... 60 Средняя скорость движения с грузом по грунтовой дороге среднего качества, км/ч 26—32 Запас хода по топливу при движении по сухой грунтовой дороге среднего качества, км.............................. 450 Преодолеваемые препятствия при движении по сухому задерненному грунту, град: максимальный угол подъема (спуска) 35 максимальный угол крена ...... 25 Условия преодоления водных преград оговариваются особо с учетом специального оборудования. Все остальные данные тактико-технической характеристики, за исключением не относящихся к модификации 49, соответствуют данным разд. 3. 9.2. ОСОБЕННОСТИ КОНСТРУКЦИИ Модификация 49 является модификацией легкого многоцелевого гусеничного транспортера МТ-ЛБ и отличается от него в основном следующим: изменена вместимость правого верхнего бака; не устанавливаются: — башенная установка ТКБ-01-1; — щиток командира; — переговорное устройство типа Р-124; — сборочные единицы и детали системы обогрева (см. подразд. 4.9.2)- — правое смотровое стекло; — защитный щиток правого смотрового стекла и механизм управления щитком;
— стеклоочиститель правого смотрового стекла; — правая конечная труба 5 (рис. 66) и кран 8 подачи воды на правое смотровое стекло; — розетка 37 (рис. 51) для подсоединения электрооборудования прицепа; — соединительная головка 14 (рис. 66) и разобщительный кран 15, а также трубки, соединяющие тормозной и разобщительный краны и соединительную головку; отверстие в тормозном крапе для подсоединения трубки, соединяющей тормозной и разобщительный краны, закрыто пробкой; — правое и дополнительное сиденья в отделении управления; — сиденье в проходе; — подушки-сиденья на нижних топливных баках и их спинки; — смотровые приборы, стеклоблоки и амбразуры в кормовом отделении; на крыше отделения управления снят люк 23 (рис. 47) командира; проемы в корпусе под установку ТКБ-01-1 и правое смотровое стекло закрыты специальными колпаками; в кормовой 'Масти вместо люков 28 и 32 выполнен Т-образ-пый проем; в промежуточном редукторе взамен -фланца 6 (рис. 21) для крепления центрального карданного вала установлен шкив 1 (рис. 114), предназначенный для крепления центрального карданного вала и обеспечения привода генератора мощностью не более 6,5 кВт; на кормовом листе установлены задние буксирные крюки; на корпусе установлены дополнительные элементы (кронштейны, бонкп, платики и т. п.) для крепления оборудования; изменена раскладка одиночного комплекта ЗИП (см. Ведомость 49.00.0013И); при пломбировании модификации 49 и снятии пломб следует руководствоваться подразд. 4.12 с учетом особенностей конструкции шасси и указаниями эксплуатационной документации на шасси в целом со специальным оборудованием и комплектующими сборочными единицами.
10. ЛЁГКИЙ МНОГОЦЕЛЕВОЙ СНЕГОБОЛОТОХОДНЫЙ ГУСЕНИЧНЫЙ ТРАНСПОРТЕР МТ-ЛБВМ Транспортер МТ-ЛБВМ предназначен для буксирования систем, специальных прицепов, перевозки личного состава и для обеспечения других транспортных потребностей. Рассчитан на эксплуатацию и хранение на открытых площадках при температуре окружающего воздуха от плюс 45 до минус 45СС, в горных условиях до 2000 м над уровнем моря. 10.1. ОСНОВНЫЕ ДАННЫЕ ТАКТИКО-ТЕХНИЧЕСКОЙ ХАРАКТЕРИСТИКИ Тип изделия................• . . . . Быстроходное, гусе- ничное, снегоболо- тоходное, плавающее при номинальной загрузке Масса в рабочем состоянии (без груза, экипажа, боекомплекта, но с ЗИП и полной заправкой топливом и смазочными материалами), кг............................. 10 500+210 Масса размещаемого оборудования и груза (грузоподъемность), кг................. 1300 В том числе: масса водителя ............................ 100 » боекомплекта .................. 200 » груза или расчета из *10 чел. 1000 Координаты центра тяжести в походном положении, мм: незагруженного продольная (от оси ведущего колеса к корме).................................. 2293 поперечная (от продольной оси вле- во) ....................................... 2 загруженного продольная (от оси ведущего колеса к корме)................................ 2438
поперечная (от продольной оси вправо) ..............................- 2 Габаритные размеры, мм: длина ................................. 6 454 ±55 ширина (по торцам звеньев гусеницы) 3150^’® высота (по оборудованию)........... 21 Высота оси тягово-сцепного устройства, мм 667+2® Дорожный просвет, мм.................. 400+2’ Масса буксируемого колеспо-лыжного прицепа, кг, не более.....................> 4000 Среднее удельное давление на грунт в рабочем состоянии, кгс/см2: незагруженного ....................... 0,246 загруженного ...................... 0,278 Средняя скорость движения с номинальной загрузкой на платформе и прицепом по глубокому снегу и заболоченной местности, км/ч .........................1 9—18 Установка пулемета НСВТ-12,7 Тип установки......................... Вращающаяся Пулемет.................................... НСВТ-12,7 Калибр ....................................... 12,7 Прибор наведения.............................. ПЗУ-5 Углы наведения, град: максимальный вертикальный (возвышения) ................................j 75± 1 минимальный вертикальный (снижения )............................. 3-1 горизонтальный .................... 360 Приводы наведения ........................... Ручные Спускное устройство .................... Электроспуск Боекомплект, шт............................... 1050 Вместимость патронной коробки (при снаряжении изд. Б 32 в ленту 6Л19), шт. 150 Вместимость гильзозвеньесборника, гильзы-звенья ................................... 150 Все остальные данные тактико-технической характеристики, за исключением не относящихся к транспортеру МТ-ЛБВМ, соответствуют данным разд. 3.
10.2 ОСОБЕННОСТИ КОНСТРУКЦИИ Транспортер МТ-ЛБВМ (рис. 116) является модификацией легкого многоцелевого снегоболотоходиого гусеничного транспортера МТ-ЛБВ и отличается от него в основном следующим: башенная установка ТКБ-01-1 заменена пулеметом НСВТ-12,7; Рис. 116. Общий вид транспортера-тягача МТ-ЛБВМ изменена конструкция правого сиденья в отделении управления; в кормовом отделении имеется шесть оснований для размещения патронных коробок и кронштейны для крепления пулемета в транспортном положении. При установке патронных ксртбок нижние носилки 12 (рис. 98) не устанавливаются. 10.3. УСТРОЙСТВО И РАБОТА УСТАНОВКИ ПУЛЕМЕТА НСВТ-12,7 Установка состоит из пулемета 1 (рис. 117), люльки 15, колпака 4, погона 11, прибора 9 наведения, подъемного механизма 12, поворотного механизма 7, уравновешивающего механизма 14, механизма 3 взвода, коробки 2 и гильзозвеньесбор-ника 13. Наведение пулемета осуществляется при помощи прибора наведения с использованием подъемного и поворотного механизмов с ручными приводами (соответственно левой и правой руками) в положении сидя.
При наведении установки в сектор расположения антенны прекращается подача электропитания на скобу электроспуска. В этом же положении установка стопорится по-походному. В комплект установки входят шесть патронных коробок. Рис. 117. Установка пулемета: 1 — пулемет; 2 — патронная коробка; 3 — механизм взвода, 4 — колпак 5 — болт; б — кронштейн; 7 — поворотный механизм; 8. 10— ручки управления; Р — прибор наведения ПЗУ-5; //—погон; 12 — подъемный механизм; 13 — гильзозвеньесборннк; 14 — уравновешивающий механизм; 15 — люлька 10.3.1 . КОЛПАК Колпак служит основанием для размещения всей установки. Колпак сварной, состоит из основания 12 (рис. 118), конуса 13, кольца 8 и листа 2 крыши. Снаружи к колпаку приварены две лодыги 3 для установки люльки, кронштейн 1 для крепления уравновешивающего механизма. Внутри колпака есть два кронштейна 9 и 11 для крепления поворотного механизма, опора 10 для установки привода подъемного меха низма, стакан 4 для размещения прибора наведения.
Рис. 118. Колпак: 1, 9. //. 14 — кронштейны; 2 — лист крыши; 3 — лодыга; 4 — стакан; 5 —замок; б — крышка люка; 7 — упор; 8 — кольцо; 10 — опора; 12 — основание; /3 — конус В колпаке имеются люк с крышкой 6, для фиксации которой в открытом положении предусмотрены упор 7 н стопор, и замок 5 для фиксации в закрытом положении. На крышке 6 люка с наружной стороны имеются две скобы и ремешок для крепления чехла установки. Люк используется для открывания крышки перед выходным окном прибора наведения, взвода пулемета, повторного взвода после осечки, разравнивания ленты в мешке и т. д. 10.3.2 . ПОГОН Погон предназначен для кругового вращения колпака в горизонтальной плоскости. Состоит *из нижнего погона 12 (рис. 119), верхнего погона 4, шариков 3, разделительных пружин 10. Нижний погон 12 крепится к подпогонному кольцу крыши корпуса болтами 9, имеет зубчатый венец, по которому обкатывается конечная шестерня 9 (рис. 124) поворотного механизма. Верхний погон крепится к основанию 12 (рис. 118) колпака болтами 2 (рис. 119). Шарики 3 и пружины 10 устанавливаются через отверстие в верхнем погоне, закрываемое пробкой 8. Между погонами установлено уплотнение, состоящее из манжеты 13 и кольца 1. Для смазки шариков и беговых дорожек погонов служит масленка 7, установленная на основании колпака. Для подачи напряжения от бортсети к электрооборудованию колпака па нижнем погоне есть шина 11 контактного приспособления, а на верхнем — крепится кронштейн 5 со щеткодержателем 6.
/1-/1 кольцо; 2 — болт; 3 — шарик; 4 — верхний погон; 5 —кронштейн; — щеткодержатель; 7 — масленка; 8 — пробка; 9 — болт; 10 — пружина; // — шина; 12 — нижний погон; 13 — манжета
10.3.3 . ЛЮЛЬКА Люлька служит для установки пулемета. В передней и задней ее частях выполнены пазы, служащие направляющими для пулемета. На люльке расположены механизм взвода, лоток и Рис. 120. Люлька: / кронштейн; 2 — лоток; 3 — накладка; 4, 6. 9 — ролики; 5 — рукоятка- 7 — ось- 8_ шарикоподшипник; 10 — кольцо; 11, 12 — гайки; 13 — тяга; 14 — трос; 15 — поводок; 16— люлька; /7 — пружина " звеньеотвод. В нижней части люльки 16 (рис. 120) есть два прилива. Пулемет, установленный в пазы люльки, крепится Рис. 121. Установка люльки: 1 — левая лодыга;- 2, 3 — клннья; 4 — люлька; 5 правая лодыга; 6 — подшипник* 7 — ось
к заднему приливу. Между приливами размещен амортизатор, гасящий энергию отдачи при работе пулемета. Амортизатор состоит из набора текстолитовых колец 10, тяги 13 и гайки 11. Резьбовой конец тяги фиксируется в переднем приливе гайками 11 и 12 со шплинтом. Люлька 4 (рис. 121) крепится клиньями 3 к оси 7, установленной на сферическом подшипнике 6 в правой лодыге 5, и к валу редуктора подъемного механизма. Редуктор крепится к левой лодыге / клином 2. 10.3.4 . ПРИБОР НАВЕДЕНИЯ ПЗУ-5 Прибор предназначен для наведения пулемета при его работе. Прибор 9 (рис. 122) установлен в колпаке в специальном стакане. Качающаяся часть прибора соединена болтом 13 с кожухом 10, который смонтирован на двух шарикоподшипниках 8. От осевого перемещения кожух удерживается гайкой 7 и винтом 4. Кожух имеет кронштейн 14 для соединения с приводом вертикального наведения. Привод параллелограммного типа состоит из рычага 3, двух наконечников / и стяжки 2. Рычаг крепится к валу червячного колеса подъемного механизма соединительным пальцем. Предварительное согласование углов возвышения осуществляется болтом 13, фиксируемым гайкой 12. Выходное окно прибора закрыто электрообогревным защитным стеклом 5 и крышкой 6 (более подробное описание см. Инструкцию по эксплуатации прибора). После разборки установки следует выдержать размер Б. 10.3.5 . ПОДЪЕМНЫЙ МЕХАНИЗМ Подъемный механизм предназначен для вертикального наведения. Состоит из червячного редуктора и привода. Редуктор с самотормозящейся червячной парой и регулируемым зазором в зацеплении состоит из картера 5 (рис. 123) и крышки 18, внутри которых установлены червячное колесо 7 и червяк 4. Червяк установлен в стакане 19 и крышке 2 на подшипниках 3 и 36. Регулировка подшипников 36 осуществляется гайкой 22 и прокладками 35 Для предотвращения вытекания смазки в крышке 21 есть уплотнение 20. Вал червячного колеса смонтирован в картере 5 и стакане 16 на двух шарнирных подшипниках 6 и 14. Фиксация червячного колеса 7 выполнена гайкой 13, а прокладками 9 достигается регулировка пятна контакта червячной пары. Зазор в зацеплении червяка с червячным колесом регулируется вращением стакана 19 и крышки 2 на одинаковый угол при отпущенных болтах / и 34. Крышка крепится к картеру и крышке 18 болтами 1 с шайбами. Крышка 18 крепится к кар-
(9) г о+гое
Рис. 122. Установка прибора наведения ПЗУ-5: /—наконечники; 2 —стяжка; 3 — рычаг 4 — винт 5—защитное стекло; 6 — крышка; 7. 12 — гайки; 3 — шарикоподшипник; 9 — прибоо наведения; 10 — кожух. 11—козырек; 13 — болт; И—кронштейн тору болтами 8 и 17 с шайбами. Крышка // и стакан 16 крепятся к крышке 18 болтами 10. Для регулировки и установки шарнирного подшипника 14 между стаканом 16 и крышкой 11 установлены прокладки 15. Осевое перемещение подшипника не допускается. Редуктор установлен в левой лодыге 27 с помощью клина 25. К правому концу вала 12 червячного колеса при помощи клина крепится люлька, к левому— рычаг прибора наведения. Прибор подъемного механизма ручной. Состоит из рычага 30 с рукояткой 28, втулки 26, вала 24, вилок 23, пальцев 33. Привод имеет два положения: рабочее и походное. Для перехода из рабочего положения в походное необходимо нажать на втулку 26 вниз до упора и вывести конец фиксатора 31 из паза а. Затем рычаг 30 повернуть вокруг оси 32 до совпадения конца фиксатора с пазом б, где он удерживается пружиной 29. 10.3.6 . ПОВОРОТНЫЙ МЕХАНИЗМ Поворотный механизм служит для горизонтального наведения. Состоит из корпуса 24 (рис. 124), ведущей шестерни 23, конечной шестерни 9, шестерни-ленивца 10, маховика 22 с рукояткой 16 управления, электромагнитной муфты и кожуха 15. Корпус крепится фланцем к кронштейну 6 (рис. 117) колпака болтами 5 с шайбами. Ведущая шестерня 23 (рис. 124) установлена в корпусе на двух шарикоподшипниках 14 и 25. Конечная шестерня 9 установлена на двух шарикоподшипниках 12 на оси кривошипа 8, что позволяет ей при работе поворотного механизма менять положение относительно ведущей шестерни и зубчатого венца погона, компенсируя радиальные зазоры, возникающие в пределах допуска па биение погона.
Рис. 123. Подъемный механизм» Ъ в. Ю, 17, 54 —болты; 2, 11, 18, 2/— крышки; 3, 36 — подшипники; 4 — червяк; 5 — картер; 6, 11 — шарнирные подшипники; 7—червячное колесо; 9, 15, 35 — прокладки; /2, 24 — валы; 13, 22 — гайки; 16, 19— стаканы; 20 — уплотнение; 25 — вилка; 25— клин-26 — втулка; 27 — лодыга; 28 — рукоятка; 29 — пружина; 30 — рычаг; 31 — фиксатор’; 52 — ось; 33 — палец; а, б — пазы
Рис. 124. Поворотный механизм: / — щеткодержатель; 2 — катушка возбуждения муфты; 3 — корпус электромагнитной муфты. 4 — общая втулка; 5, 7, 12, 14, 25 — шарикоподшипники; б, 19—шпонки; 8 — кривошип; 9 — конечная шестерня; 10 — шестерня ленивец; 11, 13 — пальцы; 15 — ко жух; 16 — рукоятка- 17 — скоба; 18 — ползун с контактом; 20 — стакан; 21 — токосъем ннк; 22 — маховик; 23 — ведущая шестерня; 24 — корпус; 26 — винт; 27 — поводок; 28 наружный фрикционный диск; 29 — внутренний фрикционный диск; 30 — якорь
При монтаже зазор в зацеплении конечной шестерни и зубчатого венца погона регулируется смещением корпуса поворотного механизма относительно кронштейнов колпака. Для выбора бокового зазора в зацеплении конечной шестерни с зубчатым венцом погона имеется устройство, состоящее из шестерни-ленивца 10 (рис. 124) и четырех пружин 10 (рис. 125). Пружины при установке крепятся одним зацепом к пальцу 11 Рис. 125. Кинематическая схема опорно-поворотного устройства: 1— прибор ПЗЛ -5; 2 —тяга прибора; 3 — червяк; 4— червячное колесо; 5 — люлька; б — электромагнитная муфта; 7 — конечная шестерня; 8— кривошип; 9— шестерня-ленивец; 10 — пружина; 11, /3 — рукоятки; 12 — ведущая шестерня; 14 — шарнир; 15 — погон (рис. 124) конечной шестерни, другим — к пальцу 13 шестерни-ленивца. Они создают усилие, смещающее зубья шестерен 9 и 10 друг относительно друга. Таким образом выбирается боковой зазор в зацеплении. На хвостовике вала ведущей шестерни установлен маховик 22 с рукояткой 16. На рукоятке расположены ползун 18 с контактом и скоба 17, при нажатии на которую включаются электроспуск и электромагнитная муфта. Муфта предназначена для фиксирования установки при работе пулемета по неподвижным объектам. Она установлена на валу ведущей шестерни на шпонке 6. Поводок 27 закреплен на корпусе 24 винтами 26 и соединяется шлицами с наружными дисками 28. Электропитание подается на катушку 2 возбуждения при включении выключателя 2 (рис. 129) ТОРМОЗ, расположенного па кожухе 15 (рис. 124) маховика. Кинематическая схема опорно-поворотного устройства приведена на рис. 125.
10.3.7 . УРАВНОВЕШИВАЮЩИЙ МЕХАНИЗМ Уравновешивающий механизм служит для уравновешивания качающейся части установки и уменьшения усилия на рукоятке механизма при вертикальном наведении. Состоит из пружины 4 (рис. 126), винта 1, пальца 8, гаек 2 и 3. Пружина Рис. 126. Уравновешивающий механизм: 1 — винт; 2, 3 — гайки;* 4 — пружина; 5 — регулировочный болт; 6 — кронштейн. 7, 8 — пальцы одним ушком соединена с пальцем 8, закрепленным на люльке, другим — с винтом, установленным в отверстии кронштейна 6, приваренного к колпаку. Рабочая длина пружины регулируется винтом 1, который стопорится гайкой 2. Угол возвышения ограничивается упором люльки в палец 7, приваренный к кронштейну 6. Угол снижения ограничивается упором регулировочного болта 5 в кронштейн 6. 10.3.8 . МЕХАНИЗМ ВЗВОДА Механизм взвода предназначен для первоначального взвода затвора пулемета и взвода при устранении осечки. Состоит из рукоятки 5 (рис. 120), троса 14, роликов 4, 6 и 9, пружины 17. Один конец троса закреплен на люльке, другой — на рукоятке. Ролик 9 установлен на оси 7, закрепленной на поводке 15 на шарикоподшипнике 8. Поводок установлен на подвижной части пулемета. 10.3.9 . ПАТРОННАЯ КОРОБКА Патронная коробка служит для укладкц ленты. Состоит из коробки 9 (рис. 127), крышки 2 с ручкой 3, замков 7. Внутри коробки имеются планка 11, направляющая 6 и перегородка 13. Планка предотвращает завал верхних рядов ленты при ее
укладке. Перегородка 13 установлена на оси 14. В нижней части коробки 9 имеются четыре оси и два зацепа 12 для крепления коробки в рабочем положении и по-походпому. В направляющей 5 есть пластинчатая пружина 4, предотвращающая ослабление подачи лепты. Схема укладки ленты в коробке показана на табличке 1, прикрепленной изнутри к крышке. Рис. 127. Патронная коробка: / — табличка; 2 — крышка; 3 — ручка; 4 — пружина; 5, 6 — направляющие; 7 ~ замок; 8— накладка; 9 — коробка; 10, 14 —- оси; // — планка; 12 — зацеп; 13 — перегородка 10.3.10 . ГИЛЬЗОЗВЕНЬЕСБОРИИК Гильзозвеньесборник 13 (рис. 117) состоит из мешка и каркаса. Каркас прикреплен к левой лодыге. 10.3.11 . ЭЛЕКТРООБОРУДОВАНИЕ УСТАНОВКИ Электрооборудование установки состоит из электромагнита спуска, электромагнитной муфты, сигнального и коммутирующего устройств. Принципиальная электрическая схема и соединение электрооборудования колпака показаны на рис. 128, расположение сигнального и коммутирующего устройств — на рис. 129. Питание электрооборудования идет от бортсети при включенном выключателе батарей через выключатель ТКБ на щитке командира, контактное приспособление ПК2 (рнс. 128) и выключатель В2 ЭЛЕКТРОСПУСК. При включении последнего загорается сигнальная лампа Л.
Рис. 128. Принципиальная электрическая схема и соединение электрооборудования колпака: МП — поворотный механизм; Bl ... ВЗ — выключатели TB2-I; КнС — кнопка электроспуска; Л — лампа A24-I; ПК! — контактное приспособление; Р1 — реле 8Э11; ШЗ — колодка П1РГ20П4ЭШ8; П — пульт; ПН — прибор наведения; ПК2 — контактное приспособление; СВ — сектор выключения; ЭМ — электромагнитная муфта: ЭМС — электромагнит спуска; (П)ИП и (ПН)Ш2 — розетки 2РМ14КУН4Г1В1; (МП) ШЗ — вставка ШР20П4НШВ, (ЭмС) Ш4 — колодка П1Р16ПК2ПГ5
Выключатель 4 (рис. 129) и лампа 5 установлены на кожухе поворотного механизма. Контактное приспособление состоит из кольцевой шины н щеткодержателя. Шина расположена на неподвижной части погона, щеткодержатель—па вращающейся. Конструкцией шины предусмотрено выключение питания, когда ствол пулемета находится в секторе антенны. Рис. 129 Расположение сигнального и коммутирующего устройств на ротном механизме: /, 2, 4 — выключатели; 3— реле; 5 —лампа; б — скоба электроспуска Питание на электромагнит спуска ЭМС (рис. 128) пулемета подается через контактное приспособление ПК1 при нажатии кнопки электроспуска К»С. Контактное приспособление — ползун 18 с контактом (рис. 124) и токосъемник 21 — смонтированы внутри кожуха поворотного механизма. Скоба 6 электроспуска (рис. 129) расположена на рукоятке поворотного механизма. Реле Р1 (рис. 128) предназначено для блокировки цепи электроспуска и установлено на кожухе поворотного механизма (поз. 3 рис. 129). Электромагнитная муфта ЭМ (рис. 128) предназначена для фиксирования колпака, включается выключателем В1 ТОРМОЗ. Напряжение на муфту подается при нажатой скобе спуска. Муфта установлена в картере поворотного механизма. Выключатель ВЗ ВЫВЕРКА предназначен для наладочных работ. Выключатели / (рис. 129) и 2 установлены на кожухе поворотного механизма. На панели пульта управления прибора наведения размещены выключатели ПОДСВЕТКА СЕТКИ и ОБОГРЕВ ПЗУ-5 211
защитного стекла и окуляра, а также регулятор яркости ТЕМНО—СВЕТЛО подсветки прибора наведения. Пульт установлен справа от прибора наведения. 10.3.12 . СТОПОР УСТАНОВКИ Для фиксирования установки от поворота имеется стопор, состоящий из сектора 7 (рис. 130), эксцентрика //, рукоятки 8, кронштейна 1 и двух планок 6. Сектор и эксцентрик установлены в направ1яющей кронштейна / и прикреплены к нему пальцем со шплинтом. В секторе имеется вырез, позволяющий ему перемещаться относительно пальца. Планки 6 крепятся к сектору каждая двумя болтами 10 с шайбами и служат для вывода сектора из зацепления. Прокладки 9 служат для установки рукоятки в расегонорейном положении, прокладки 12 — для регулировки надежности стопорения. 10.4 . СИДЕНЬЕ ОПЕРАТОРА Сиденье оператора состоит из каркаса 10 (рис. 131)', подушки 1 и спинки 3. Сиденье устанавливается в верхнюю опору 4, связанную с нижней опорой 8 балками 6 и 9. Высота сиденья регулируется болтом 5 с гайкой 7. Наклон спинки регулируется болтом 2. Сиденье может вращаться относительно осей нижней и верхней опор. При работе установки спинка сиденья складывается, оператор садится на спинку. В этом положении его глаз оказывается на уровне окуляра прибора наведения. 10.5 . РАЗМЕЩЕНИЕ ПУЛЕМЕТА И ПАТРОННЫХ КОРОБОК ВНУТРИ КОРПУСА ТРАНСПОРТЕРА При длительном транспортировании транспортера железнодорожным, водным и другими видами транспорта, при хранении на складах, базах и в парках пулемет снимается с люльки и размещается внутри корпуса, для чего на верхней продольной балке предусмотрены два кронштейна 2 (рис. 132) и 10 и скоба 6 Кронштейны приварены к продольной балке 7, скоба'б крепится к кронштейну 2 пальцем 4 и шплинтом 3. Пулемет 5 устанавливается в направляющие пазы скобы 6 и крепится к кронштейну 10 пальцем /, который фиксируется с двух сторон пружинными шплинтами //. Крышка приемника пуле- мета должна быть зафиксирована ремнем 12, который в штатном положении закреплен па кронштейне укладки ЗИП пулемета. Для размещения коробок 9 предусмотрены шесть основании 8, которые крепятся к продольной балке днища. При этом нижние носилки 12 (рис. 98) не устанавливаются. t
Ясь коппака Рис. 130. Стопор установки: 1 — кронштейн; 2 — штифт; 3, /0—болты: 4 — шплинт; 5 — палец; 6—планка; 7—сектор; 3 — рукоятка; 9, 12 — прокладки; // — эксцентрик о 3 о
Вид 4 вид в Рис. 132. Размещение пулемета и патронных коробок внутри корпуса: 1, 4 — пальцы: 2. 10— кронштейны; 3 —шплинт; 5 —пулемет; 6 — скоба; 7 — балка; 8 — основание; S — патронная коробка; 11 — пружинный шплинт; 12 — ремень 1
ИНСТРУКЦИЯ по ЭКСПЛУАТАЦИИ 11. ОБЩИЕ УКАЗАНИЯ Эксплуатация транспортера заключается в использовании, техническом обслуживании, хранении и поддержании его в постоянной технической готовности. Приемка и ввод транспортера в эксплуатацию осуществляются установленным порядком согласно формуляру (паспорту) и ведомости одиночного комплекта ЗИП. Ввод транспортера в эксплуатацию должен быть осуществлен не позднее трех месяцев со дня отгрузки его заводом-изготовителем. Если транспортер за этот срок не введен в эксплуатацию, его необходимо переконсервировать. Перед началом эксплуатации транспортера необходимо провести контрольный осмотр, проверить комплектность, заправить (при необходимости) охлаждающей жидкостью, маслом, топливом, снять консервационную смазку с деталей органов управления, проверить функционирование приводов управления. В период эксплуатации: — при стоянке на открытой площадке транспортер установить на лежни, люки закрыть и укрыть его брезентом; — строго соблюдать объем и периодичность технического обслуживания; — транспортер должен быть всегда заправлен охлаждающей жидкостью, маслом, топливом и готов к выходу в рейс. К эксплуатации транспортера допускаются механики-водители, прошедшие курс подготовки и имеющие удостоверение на право вождения машин данного класса. Эксплуатация и все работы по техническому обслуживанию всех модификаций выполняются в том же объеме и в той же последовательности, что и для транспортера МТ-ЛБ. Некоторые особенности их эксплуатации даны в соответствующих разделах настоящей Инструкции.
12. УКАЗАНИЯ МЕР БЕЗОПАСНОСТИ ПРИ ЭКСПЛУАТАЦИИ ТРАНСПОРТЕРА И ПРИ ПОЛЬЗОВАНИИ ПОДОГРЕВАТЕЛЕМ При эксплуатации транспортера необходимо: — не допускать скопления грязи, масла в корпусе транспортера, особенно в моторном отсеке; — при преодолении подъемов на 1 передаче не переводить одновременно оба рычага управления в первое положение. Это может привести к скатыванию транспортера под уклон. Движение на спуске с выключенной передачей, сцеплением или с неработающим двигателем категорически запрещается; — перед пуском двигателя (исключение составляют случаи, когда рычаги управления поставлены на горный тормоз) установить рычаги управления в переднее крайнее положение; — на стоянке, при техническом обслуживании, ремонте и перевозке транспортера выключатель аккумуляторных батарей должен быть выключен, а рукоятка ручной подачи топлива должна находиться в крайнем заднем положении «Подача выключена»; — изоляция электропроводки, контакты, зажимы, приборы электрооборудования должны быть в исправном состоянии и не вызывать перегрева или искрения; — при заправке системы охлаждения низкозамерзающей жидкостью (антифризом) принимать меры предосторожности; антифриз ядовит, поэтому запрещается отсасывать его ртом через шланг, так как это приведет к тяжелому отравлению; — демонтировать ФВУ и фильтр ФПТ-200М после работы транспортера в зоне ОВ, РП или БА необходимо в противогазе, резиновых перчатках и фартуке (вне машины); — в случае пользования нагревательными приборами (паяльниками, лампами паяльными и др.) при техническом обслуживании или ремонте транспортера необходимо соблюдать меры пожарной безопасности. Все пожароопасные места должны быть очищены от топлива, масла и обязательно изолированы асбестом или другим невоспламеняющимся материалом; — - следить за исправностью огнетушителя, не допускать нагрева огнетушителя прямыми солнечными лучами и другими источниками тепла, избегать ударов по баллону, вентилю и затвору;
— следить за исправностью сигнализации, узлов и органов управления, обеспечивающих безопасность движения; — при сцепке с прицепом внимательно наблюдать-за сигналами лица, руководящего сцепкой; по окончании сцепки водитель обязан проверить правильность ее; — при работе отопителя вентиляционные лючки па крышках люков трансмиссионного и моторного отделений рекомендуется открывать, а при работе подогревателя для выхода отработавших газов применять газоотводящий насадок; — при работе с открытыми крышками люков необходимо их фиксировать в открытом положении защелками; — в пути строго выполнять требования Правил дорожного движения; — скорость буксировки неисправного (но управляемого) транспортера с помощью буксирных тросов не должна превышать 10 км/ч. Неуправляемый транспортер буксировать только на жестком буксире. Буксировка более одного транспортного средства, а также всякая буксировка в гололедицу в условиях крутых подъемов, спусков и косогоров категорически запрещается. При пользовании подогревателем необходимо: не оставлять без присмотра транспортер с работающим подогревателем; при появлении хлопьев сажи из газоотводящей трубы системы подогрева двигателя (неполное сгорание топлива) немедленно выключить подогреватель и выключатель аккумуляторных батарей, найти и устранить неисправность; кран подачи топлива к котлу подогревателя открывать только на время работы подогревателя; периодически сливать конденсат из кожуха поддона двигателя, отвернув пробку для слива конденсата на поддоне (не реже двух-трех раз за сезонный период эксплуатации). Указания по мерам безопасности при движении транспортера на плаву, при работе с оборудованием для самоокапывания, при стрельбе, при погрузке, перевозке и разгрузке транспортера даны в соответствующих разделах. Запрещается: — прогрев двигателя в закрытых с плохой вентиляцией помещениях; — работа подогревателя без охлаждающей жидкости в системе охлаждения двигателя; — пуск подогревателя сразу же после его остановки (или неудачной первой попытки) без предварительной продувки газохода в течение 1—2 мин; — пуск подогревателя при наличии топлива и масла па днище транспортера или обмасливаиип поддона двигателя. Категорически запрещается спать в транспортере при работающем отопителе.
13. ПОДГОТОВКА ТРАНСПОРТЕРА К РАБОТЕ Перед использованием транспортера необходимо провести наружный осмотр его узлов, систем и агрегатов, убедиться в их исправности; проверить наличие топлива в топливных баках, охлаждающей жидкости в системе охлаждения и масла в картере двигателя, в масляном баке главной передачи, в картере промежуточного редуктора, в редукторе вентилятора, в картерах бортовых передач, в ступицах опорных катков и направляющих колес. На транспортерах с оборудованием для самоокапывания нужно проверить уровень масла в масляном баке гидросистемы. Устранить обнаруженные неисправности и дозаправить (при необходимости) соответствующие системы и агрегаты до требуемой нормы, предохраняя заправочные горловины от попадания в них грязи; подготовить к пуску и прогреть двигатель до температуры охлаждающей жидкости в системе не ниже плюс 40°С сначала при минимальной частоте вращения коленчатого вала двигателя, затем постепенно увеличить до средней рабочей. Начинать движение следует на пониженных передачах — I, II, III. При эксплуатации транспортера в различных дорожных условиях на суше кормовые решетки должны быть установлены в поднятое положение (по-походному), при преодолении водных преград на плаву — в опущенное (рабочее) положение. Допускается при движении по пыльной дороге и дороге с жидкой грязью кормовые решетки устанавливать в опущенное положение. При загрузке транспортеров МТ-ЛБ, МТ-ЛБВ, МТ-ЛБВМ ящиками, другим габаритным грузом и при установке санитарного оборудования снять усиливающую стопку в центре кормового отделения и положить ее на днище. Усиливающая стойка должна быть постоянно установлена па штатном месте в центре кормового отделения, кроме случаев, оговоренных выше. 13.1. ЗАПРАВКА ТОПЛИВОМ Для заправки системы питания двигателя следует применять топливо, рекомендованное инструкцией по эксплуатации — «Двигатели ЯМЗ-236, ЯМЗ-238». Топливо, заливаемое в баки, должно быть чистым, без каких-либо механических примесей. Для удаления механических 222
примесей и воды рекомендуется топливо отстаивать в резер- . вуарах не менее 10 дней. При заправке топливом топливных баков небходимо: — отвернуть болты п снять крышки люков с заливных горловин; — тщательно очистить от пыли и грязи заливные горловины топливных баков; — отвернуть пробки горловин; — вынуть сетки из заливных горловин; — пользуясь автозаправщиком или малогабаритным заправочным агрегатом МЗА-З, придаваемым в групповой комплект ЗИП, заправить баки топливом, не допуская попадания в баки воды. Как исключение, допускается заправка топлива в баки с помощью ведра и воронки, имеющей густую сетку. В этом случае в воронку необходимо вложить капроновое полотно или фланель ворсом вверх, а сетки заливных горловин не вынимать. Уровень топлива в баках контролируется дистанционным топливомером, расположенным на ограждении двигателя сзади механика-водителя. После заправки следует вставить сетки в заливные горловины и плотно завернуть пробки этих горловин, очистить и продуть сжатым воздухом сапуны крышек люков заливных горловин, установки крышек люков, завернуть болты крепления, прокачать топливную систему ручным топливоподкачивающим насосом и пустить двигатель на 3—5 мин. При сливе топлива из топливных баков необходимо: — отвинтить болты, снять крышку лючка на днище корпуса под баком; — завинтить штуцер шланга в резьбовое отверстие корпуса пробки топливного бака; — ключом на два-три оборота отвинтить пробку сливного отверстия топлива. Топливо сливается через шланг. После слива топлива пробку завинтить, крышку лючка установить на место. 13.2. ЗАПРАВКА ОХЛАЖДАЮЩЕЙ ЖИДКОСТЬЮ Для заправки системы охлаждения двигателя необходимо применять чистую, по возможности мягкую воду (дождевую, речную). Колодезную и водопроводную воду необходимо смягчать кипячением или добавлением в нее тринатрийфосфата (2 г на 1 л воды) с последующей фильтрацией. Для уменьшения образования накипи воду в системе следует менять как можно реже. При температуре окружающего воздуха от плюс 5 до ми
нус 40°С следует пользоваться низкозамерзающей жидкостью (антифризом) марки 40, ниже минус 40°С — марки 65. Антифриз ядовит, при несоблюдении мер предосторожности возможно отравление со смертельным исходом. Попадание антифриза на кожу опасности не представляет, в пожарном отношении он безопасен. Следует помнить, что при понижении уровня низкозамерзающей жидкости (антифриза) в системе охлаждения за счет ее выкипания в систему надо доливать воду, так как испаряется главным образом вода, а при утечке жидкости доливать антифриз. Причину понижения уровня антифриза определяют по его удельному весу. Удельный вес антифриза марки 40—1,0675— ''1,0725, а марки 65 — 1,085—1,090. Если удельный вес при понижении уровня антифриза не изменился — в системе охлаждения имеется течь, если удельный вес увеличился — антифриз выкипел. Порядок заправки системы охлаждения: — поднять крышку люка моторного отделения и зафиксировать ее в открытом положении; — очистить от пыли паровоздушный клапан и поверхность расширительного бачка; — отвернуть паровоздушный клапан и вставить в заливное отверстие расширительного бачка воронку с сеткой; — заправить систему охлаждения охлаждающей жидкостью по нижнюю кромку расширительного бачка; кран выпуска воздуха на водосборном трубопроводе двигателя (с левой стороны) должен быть открыт до появления из него охлаждающей жидкости; — провернуть стартером коленчатый вал, не подавая топлива, для проверки наполнения системы охлаждения и при необходимости долить охлаждающую жидкость до указанного уровня; — плотно завернуть паровоздушный клапан; — проверить, закрыт ли кран 17 (рис. 6) слива охлаждающей жидкости (на отсутствие подтекания). Сливать охлаждающую жидкость следует в такой последовательности: — подготовить чистую тару для слива охлаждающей жидкости; — ввернуть шланг в сливное отверстие, расположенное на левом борту между вторым и третьим катком, и опустить другой его конец в чистую тару; — отвернуть пробку расширительного бачка; — открыть кран 17 слива охлаждающей жидкости, расположенный сзади механика-водителя, сняв панель ограждения двигателя; — по окончании слива охлаждающей жидкости кран перекрыть.
13.3. ЗАПРАВКА МАСЛОМ Для заправки системы смазки двигателя (рис. 133) следует применять только те сорта масел, которые указаны в инструкции по эксплуатации — «Двигатели ЯМЗ-236, ЯМЗ-238». 3 Рис. 133. Система смазки двигателя: / — заливная горловина; 2 — щуп; 3 — сливная пробка; 4 — перепускной клапан; 5 —• . колпак фильтра грубой очистки масла; 6 — фильтрующий элемент; 7 — гайка колпака; 8 — ротор в сборе; 9 — радиатор; 10 — гайка; // — колпак центробежного фильтра тонкой очистки масла; 12 — центробежный фильтр тонкой очистки масла Порядок заправки системы смазки двигателя: — поднять крышку люка моторного отделения и зафиксировать ее в открытом положении; — масломерным щупом замерить уровень масла в поддоне двигателя; — удалить пыль с заливной горловины в крышке головки блока цилиндров; — отвернуть крышку заливной горловины; — долить масло до метки «В» на масломерном щупе; — после заправки плотно завернуть крышку заливной горловины и закрыть крышку люка моторного отделения. При первоначальной заправке или после замены масла необходимо пустить двигатель и прогреть его до температуры охлаждающей жидкости плюс 75—80°С. Остановить двигатель, через 5 мин проверить уровень масла в поддоне и, если необходимо, дозаправить систему.
При замене Масло из системы смазки необходимо сливать сразу после остановки двигателя, пока оно не остыло. Для заправки системы смазки главной передачи следует применять масло трансмиссионное ТАП-15В (летом) или масло трансмиссионное ТСп-10 (зимой до минус 45°С и всесезонно в северных районах страны). Заменитель масла трансмиссионного ТАП-15В — масло МТ-16п. Для заправки промежуточного редуктора, редуктора вентилятора, бортовых передач, ступиц опорных катков И направляющих колес следует применять масло трансмиссионное ТАП-15В. Заменитель — масло МТ-16п. В системе смазки главной передачи уровень масла должен быть по верхнюю зиговку заливной горловины масляного бака, в картере промежуточного редуктора и редукторе вентилятора — по верхнюю метку на щупе (для редуктора вентилятора щуп ввернуть до упора), в бортовых передачах, в ступицах опорных катков и направляющих колес—по нижнюю кромку контрольного отверстия. Система оборудования для самоокапывания должна быть заправлена летом маслом М-10В2 или М-10Г2, зимой— маслом М-8В2 или М-8Г2. Уровень масла должен быть по верхнюю метку на щупе масляного бака оборудования для самоокапывания. Данные вместимости агрегатов и систем приведены в приложении 3. 13.4. ПУСК ДВИГАТЕЛЯ 13.4.1. ПУСК ДВИГАТЕЛЯ БЕЗ ПРЕДВАРИТЕЛЬНОГО ПОДОГРЕВА При подготовке двигателя к пуску необходимо! — проверить заправку топливных баков топливом, наличие охлаждающей жидкости и ее уровень, количество масла в поддоне двигателя и при необходимости долить до требуемого уровня. Во время длительной стоянки без укрывочного брезента при наличии атмосферных осадков, а также мойки транспортера в кожух вентилятора может попадать вода. Во избежание повреждения крыльчатки вентилятора перед пуском двигателя (для удаления воды) открыть крышку кожуха вентилятора на 1—3 мин (поворотом защелки 34 (рис. 3) вперед); — подключить все топливные баки для питания двигателя топливом, установив рукоятку топливного крана против надписи на табличке ВСЕ ВКЛ.; левая и правая группы баков используются в случае отказа одной из групп; при заборе топлива из одной группы баков следует перекрыть слив топлива 226
в другую группу, для чего установить соответствующий болт 12 (рис. 10) поворотного угольника сверлением наружу, проверив целостность и наличие уплотнительных прокладок между поворотным угольником, болтом 12 и фланцем топливного бака. Течь топлива после изменения установки болта 12 не допускается; — прокачать топливную систему ручным топливоподкачивающим насосом для удаления воздушных пробок; — убедиться в том, что рычаг переключения передач находится в нейтральном положении; — включить выключатель аккумуляторных батарей и дать сигнал; — повернуть рукоятку ручной подачи топлива в положение, при котором педаль подачи топлива начинает перемещаться в сторону увеличения подачи топлива, и включить выключатель «Возбуждение генератора». Для пуска двигателя выжать педаль сцепления и нажать кнопку стартера. Продолжительность непрерывной работы стартера не должна превышать 5 с. Повторное включение стартера допускается через 1—2 мин. Если двигатель после трех попыток не начал работать, нужно выяснить причину плохого пуска и устранить неисправность. При температуре окружающего воздуха ниже минус 10°С необходимо перед пуском двигателя прогреть охлаждающую жидкость в системе охлаждения и масло в поддоне двигателя, пользуясь системой подогрева. Если на транспортере аккумуляторные батареи разрядились или неисправны, пускать двигатель можно от аккумуляторных батарей другой машины. Для этого на транспортере установлена розетка внешнего пуска, которая расположена с правой стороны над аккумуляторными батареями. Подготовка к пуску и пуск двигателя осуществляются в том же порядке, что и от собственных аккумуляторных батарей, и дополнительно: — соединить с помощью специальных проводов, придаваемых в групповой комплект ЗИП, розетку внешнего пуска с аналогичной розеткой соседнего транспортера; — включить выключатель аккумуляторных батарей соседнего транспортера (собственный выключатель должен быть выключен) ; — пустить двигатель, включить собственный выключатель аккумуляторных батарей и выключить на соседнем транспортере; — отсоединить провода внешнего пуска; — прогреть двигатель и проверить показания контрольных приборов. Вольтамперметр должен показывать заряд аккумуляторных батарей.
13.4.2. ПРОГРЕВ ДВИГАТЕЛЯ И КОНТРОЛЬ ЗА ЕГО РАБОТОЙ ПОСЛЕ ПУСКА После пуска двигатель должен проработать при минимальной частоте вращения коленчатого вала на холостом ходу 1—2 мин. Давление масла при этом должно быть не менее 1 кгс/см2. После этого постепенно увеличить частоту вращения коленчатого вала двигателя до средних рабочих оборотов и работать на этом режиме до тех пор, пока температура жидкости в системе охлаждения не поднимется до 40°С. Жалюзи радиатора при этом должны быть закрыты. По окончании прогрева необходимо: — проверить показания измерительных приборов: а) температура охлаждающей жидкости должна быть не менее 40°С, после чего допускается движение на пониженных передачах (1, II, III); б) давление масла в масляной системе должно быть не ме-• нее I кгс/см2 при минимальной частоте вращения коленчатого вала двигателя на холостом ходу; в) амперметр на средних оборотах двигателя должен показывать заряд аккумуляторных батарей; — проверить работу двигателя в течение 1—2 мин при максимальной частоте вращения коленчатого вала двигателя на холостом ходу и убедиться в отсутствии стуков, не характерных для нормальной работы двигателя; — осмотреть состояние всех топливных, масляных и водяных трубопроводов и их соединений, при обнаружении течи соединения подтянуть. 13.4.3. ПУСК ДВИГАТЕЛЯ С ПОМОЩЬЮ СИСТЕМЫ ПОДОГРЕВА Порядок подготовки двигателя к пуску с использованием системы подогрева: — открыть крышку и сетку вентиляционного лючка на крышке люка моторного отделения и установить насадок на газоотводящую трубу подогревателя (насадок придается в одиночный комплект ЗИП); — закрыть жалюзи радиатора; — включить выключатель батарей; — открыть кран подачи топлива и пустить электродвигатель насосного агрегата на 10—15 с, установив переключатель 1 (рис. 9) в положение «Работа». Выключатель 2 электромагнитного клапана должен быть в положении «Продув»; — включить электронагреватель топлива нажатием на выключатель 6 на время не более: 20 с при температуре окружающего воздуха не ниже 20°С; 30 с при температуре от минус 20 до минус 30сС; 60 с при температуре от минус 30 до минус 45СС;
— включить свечу накаливания поворотом рычажка выключателя 4 влево, при этом индикатор 3 на щитке должен накалиться до ярко-красного цвета; — по истечении 30—60 с установить выключатель 2 электромагнитного клапана в положение «Работа», а переключатель / режима работы электродвигателя — в положение «Пуск»; при гудении пламени в подогревателе перевести его в положение «Работа», а рычажок выключателя 4 свечи накаливания — в исходное положение, т. е. выключить свечу; работа подогревателя должна продолжаться до тех пор, пока температура охлаждающей жидкости не достигнет 50—60°С; — выключить подогреватель, установив выключатель 2 электромагнитного клапана в положение «Продув», и в течение 1—2 мин продуть камеру и газоход для удаления остатков продуктов сгорания и исключения возможного взрыва газа при последующем пуске; затем перевести переключатель 1 электродвигателя в нейтральное положение и закрыть запорный кран 3 (рис. 6) системы питания подогревателя топливом; — пустить двигатель, как указано в подразд. «Пуск двигателя», дать ему поработать 1—2 мин при минимальной частоте вращения, затем 1—2 мин на средней для обеспечения подвода смазки к трущимся поверхностям механизмов двигателя и главной передачи; — снять насадок с газоотводящей трубы подогревателя и закрыть крышку вентиляционного лючка моторного отделения. При неудавшемся пуске подогревателя (отсутствии характерного гула горения) необходимо перевести переключатель 1 (рис. 9) в нейтральное среднее положение и установить выключатель 2 электромагнитного клапана в положение «Продув» и в течение 1—2 мин продувать камеру и газоход, после чего процесс пуска повторить. Если подогреватель не удалось пустить за две попытки, необходимо найти и устранить причину плохого пуска (см, разд. 15 «Характерные неисправности и методы их устранения»), 13.5. ОСТАНОВКА ДВИГАТЕЛЯ Останавливать двигатель следует после снятия нагрузки с него. Перед остановкой необходимо дать двигателю поработать на оборотах холостого хода для снижения температуры охлаждающей жидкости до 70—80°С. Никогда не следует останавливать сразу горячий двигатель, так как возможны быстрое повышение температуры двигателя, выброс воды или антифриза из системы охлаждения и перегрев двигателя. Для остановки двигателя следует перевести двигатель на режим холостого хода и рукоятку привода ручной подачи топлива в крайнее заднее положение или потянуть педаль подачи топлива на себя.
После того как двигатель остановится, необходимо возвратить рукоятку привода ручной подачи топлива в исходное положение (минимальная подача топлива) и выключить возбуждение генератора. При остановке двигателя на продолжительное время поставить рукоятку топлнвораснределительиого крана против надписи ВСЕ ВЫКЛ. на табличке, т. е. отключить все баки, выключить выключатель батарей и открыть крышку лючка кожуха вентилятора поворотом защелки 34 (рис. 3). 13.6. ОБКАТКА НОВОГО (ИЛИ ВЫШЕДШЕГО ИЗ КАПИТАЛЬНОГО РЕМОНТА) ТРАНСПОРТЕРА Обкаточный период для транспортера соответствует пробегу 300 км, а для двигателя — 50 ч. Во время обкатки происходят приработка трущихся поверхностей, осадка прокладок, хомутиков, крепежных деталей и т. п. В период обкатки необходимо строго выполнять следующие правила: не нагружать двигатель до полной мощности; не допускать продолжительного движения на максимальных скоростях; избегать движения по тяжелым дорогам, а также по крутым затяжным подъемам. В1 обкатку транспортера засчитывается и пробег, совершенный во время заводских испытаний. Обкатка транспортера проводится в два этапа: первый этап — пробег с половинной нагрузкой от номинальной на расстояние 110 км, второй этап — пробег с номинальной нагрузкой на расстояние 100 км. Обкатка модификаций проводится со всем штатным оборудованием, при этом следует выполнять рекомендации, указанные в данном разделе. Во время обкатки должен быть обеспечен особенно тщательный уход за транспортером в соответствии с правилами технического обслуживания, изложенными ниже. По окончании периода обкатки транспортера необходимо выполнить техническое обслуживание № 1. Кроме того, необходимо: — заменить масло в системе смазки главной передачи, в промежуточном редукторе, в бортовых передачах, в ступицах опорных катков и направляющих колес; — заправить смазку во все точки смазки независимо от сроков, указанных в таблице смазки, за исключением точек смазки, связанных с разборкой механизмов; кронштейны подвески смазывать с помощью плунжерного шприц-пресса, который имеется в групповом комплекте ЗИП;
— проверить и при необходимости подтянуть крепления бортовых передач к корпусу и крепление ведущих колес на хвостовиках водил. Обкатку двигателя следует проводить согласно инструкции по эксплуатации — «Двигатели ЯМЗ-236, ЯМЗ-238». Следует иметь в виду, что недостаточная и некачественная обкатка приводит к резкому снижению срока службы транспортера. Чем тщательнее проводится обслуживание при обкатке транспортера, тем безотказнее его работа при дальнейшей эксплуатации. Результаты обкатки заносятся в паспорт транспортера.
14. ПРАВИЛА ВОЖДЕНИЯ ТРАНСПОРТЕРА 14.1. ТРОГАНИЕ С МЕСТА Транспортер должен трогаться плавно, без рывков. Движение следует начинать на низшей передаче. Выбор передачи при трогании с места зависит от характера и состояния грунта, дорожных и других условий. На сухом и твердом грунте движение следует начинать на II передаче, на тяжелом грунте (песок, грязь, глубокий снег) — на I передаче. Для трогания с места необходимо: — пустить и прогреть двигатель; — выжать педаль сцепления; » — включить I или II передачу (в зависимости от дорожных условий); — дать сигнал; — плавно, но быстро отпустить педаль сцепления, одновременно нажимая на педаль подачи топлива, постепенно увеличивая частоту вращения коленчатого вала двигателя до нормальных эксплуатационных оборотов; — разгоняя транспортер, последовательно переходить с низшей передачи на высшую (с I — на II, со II — на III и т. д.), 14.2. ОСТАНОВКА Чтобы остановить транспортер, необходимо: — плавно отпустить педаль подачи топлива, одновременно выжав сцепление, и плавно затормозить транспортер педалью остановочного тормоза; — поставить рычаг переключения передач в нейтральное положение и отпустить педаль сцепления. Для внезапной (аварийной) остановки необходимо: — отпустить педаль подачи топлива; — выжать до отказа педаль сцепления; — затормозить транспортер, нажав на педаль остановочного тормоза.
14.3. ОСТАНОВКА И ТРОГАНИЕ С МЕСТА НА ПОДЪЕМЕ В случае вынужденной остановки транспортера на подъеме необходимо нажать на педаль сцепления и педаль остановочного тормоза, перевести рычаги управления во второе положение, подав их па себя до отказа, установить рычаги на фиксатор горного тормоза, остановить двигатель, не выключая сцепления и перёдачи. Для трогания заторможенного на подъеме транспортера необходимо: — выжать до отказа педаль сцепления; — пустить и прогреть двигатель; — ручным приводом подачи топлива довести частоту вращения коленчатого вала двигателя до нормальной эксплуатационной; — подать рычаги управления на себя (освободить защелки горного тормоза) и установить их в первое фиксированное положение (если была включена передача I, рычаги следует установить в исходное положение), одновременно отпустить педали сцепления и остановочного тормоза; — если позволяют условия, перевести рычаги управления в исходное положение. Преодолев подъем, перевести рычаг ручной подачи топлива в исходное положение и продолжать движение, устанавливая обороты коленчатого вала двигателя педалью подачи топлива. 14.4. ДВИЖЕНИЕ НА РАЗНЫХ ПЕРЕДАЧАХ Основным правилом вождения транспортера является движение с максимальной скоростью на высших передачах, допустимых для данных дорожных условий. Для этого необходимо умело оценивать местность и своевременно переходить на соответствующие передачи. Неправильно выбранная передача и неумелое переключение передач вызывают потерю скорости движения, перегрузку и перегрев двигателя, повышенный износ деталей трансмиссии, а также увеличение расхода топлива и смазки. 14.5. ПЕРЕКЛЮЧЕНИЕ ПЕРЕДАЧ При переходе с низшей передачи на высшую необходимо: — плавно увеличивая частоту вращения коленчатого вала двигателя педалью подачи топлива, дать разгон транспортеру; — выжать до отказа педаль сцепления и одновременно отпустить педаль подачи топлива;
— поставить рычаг переключения передач в нейтральное положение; — быстро отпустить н вновь выжать педаль сцепления и включить высшую (следующую по порядку) передачу; — плавно, по быстро отпустить педаль сцепления, одновременно нажимая на педаль подачи топлива, довести частоту вращения коленчатого вала двигателя до нормальной эксплуатационной. Нельзя допускать перегрузки двигателя. Как только двигатель начнет сбавлять обороты, не развивая необходимой мощности (будет плохо тянуть), необходимо переходить на низшую передачу. При переходе с высшей передачи на низшую необходимо: — уменьшить скорость движения транспортера, отпуская педаль подачи топлива; — выжать до отказа педаль сцепления и одновременно быстро отпустить педаль подачи топлива; — поставить рычаг переключения передач в нейтральное положение; — быстро отпустить педаль сцепления и одновременно, нажав на педаль подачи топлива, увеличить частоту вращения коленчатого вала двигателя (сделать «прогазовыва-ние»); — вторично выжать до отказа педаль спепления и одновременно отпустить педаль подачи топлива; — включить требуемую низшую передачу; — плавно, но быстро отпустить педаль сцепления и одновременно нажимать на педаль подачи топлива, увеличивая частоту вращения коленчатого вала двигателя до нормальной эксплуатационной. При переходе на замедленную передачу необходимо плавно перевести оба рычага управления планетарными механизмами поворота (ПМП) в первое положение. Пользоваться замедленными передачами ПМП следует кратковременно и в исключительных случаях, при преодолении небольших препятствий, когда переход на низшую передачу приведет к потере скорости движения. При движении на I передаче нельзя переводить оба рычага управления в первое положение, так как при этом передача крутящего момента на бортовые передачи прекратится и транспортер остановится. Передачу заднего хода включать только после полной остановки транспортера. Двигаться задним ходом надо только при выполнении маневров, при подходе к прицепу и на небольшие расстояния (ко: роткис выезды),
14.6. НАБЛЮДЕНИЕ ЗА РАБОТОЙ ДВИГАТЕЛЯ, МЕХАНИЗМОВ И ПРИБОРОВ ПРИ ДВИЖЕНИИ При движении транспортера следить за показаниями контрольно-измерительных приборов. Температура охлаждающей жидкости должна быть 75—98°С. Допускается кратковременное увеличение температуры до 105°С. Не допускается движение транспортера на повышенных передачах (IV, V, VI) при температуре охлаждающей жидкости ниже 50°С. Давление масла на прогретом двигателе должно быть 4—7 кгс/см2 при номинальной частоте вращения коленчатого вала двигателя и не менее 1 кгс/см2 при минимальной частоте вращения холостого хода. После длительной эксплуатации допускается работа двигателя при давлении масла в системе смазки не ниже 3,5 кгс/см2 при номинальной и ие менее 0,5 кгс/см2 при минимальной частоте вращения коленчатого вала двигателя. Манометр пневматической системы должен показывать давление 6—7,9 кгс/см2. Давление масла в главной передаче должно быть не менее 1,5—4,5 кгс/см2 при поминальной частоте вращения и не менее 0,5 кгс/см? при минимальной частоте вращения на холостом ходу. В начале движения — до 7 км пробега — допускается кратковременное падение давления до 0,5 кгс/см2 при движении на I—II передачах с пониженной частотой вращения двигателя; движение на высших передачах разрешается при давлении не менее 1,5 кгс/см2. В процессе эксплуатации надо внимательно следить за работой двигателя, агрегатов трансмиссии и ходовой части. При обнаружении неисправностей необходимо при первой возможности устранить их и только после этого продолжать движение. На привалах и кратковременных остановках в пути необходимо проверять: — нагрев картеров бортовых передач, ступиц направляющих колес и опорных катков; — натяжение гусениц; — состояние траков, пальцев гусениц и прицепа; — крепление груза на грузовой платформе н на прицепе, укладку и крепление ЗИП; — надежность сцепки с прицепом; — исправность тягово-сцепного устройства. 14.7. ПОВОРОТЫ Для поворотов следует пользоваться рычагами управления. Рычаги управления могут занимать три положения: исходное положение — соответствует прямолинейному движению на нормальном ряду передач;
первое положение — соответствует прямолинейному движению на замедленных II, III, IV, V и VI передачах и на ускоренной передаче заднего хода; второе положение — соответствует полностью заторможенным ведущим колесам. Для поворота вправо надо пользоваться правым рычагом управления, а для поворота влево — левым. В движении для поворота следует пользоваться планетарными механизмами поворота, для чего достаточно плавно перевести один из рычагов управления в первое положение, и транспортер будет совершать поворот в сторону перемешенного рычага с определенным радиусом, соответствующим данной передаче. Поворачивать транспортер на месте с минимальным радиусом необходимо на I передаче с установкой во второе положение рычага управления, в сторону которого нужно осуществить поворот. Повороты на месте при выключенной передаче следует осуществлять в таком порядке: установить рычаг переключения передач в нейтральное положение; рычаг управления установить в первое положение: при повороте направо — правый, при повороте налево — левый; постепенно увеличивать частоту вращения коленчатого вала двигателя для обеспечения необходимой скорости поворота. Следует иметь в виду: при равных моментах сопротивления перекатыванию гусениц транспортер будет поворачиваться вокруг своего геометрического центра в сторону рычага, установленного в первое положение с радиусом, равным половине ширины колеи; при повышенном сопротивлении перекатыванию одной из гусениц транспортер разворачивается, несколько набегая или от-катываясь^ вокруг этой гусеницы; рекомендуется повороты осуществлять на твердых грунтах и горизонтальных площадках. При преодолении крутых поворотов (перекресток, поворот 90°) необходимо включить II или III передачу, поставить рычаг управления в первое положение, увеличивая частоту вращения коленчатого вала двигателя к концу поворота. Внимание! Осуществлять повороты в движении с помощью остановочных тормозов запрещается (кроме случаев движения на I передаче и преодоления водных преград). Запрещается делать крутые повороты на больших скоростях (на IV, V и VI передачах). При выходе из поворота следует отпустить рычаг управления несколько раньше, чем транспортер займет требуемое направление, в противном случае он повернется па больший угол, чем это требовалось, так как механизм поворота срабатывает с некоторым запаздыванием.
Повороты на переднем и заднем ходу на песке, рыхлом грунте, глубоком снегу следует делать в несколько приемов, переводя кратковременно рычаг управления в первое положение с последующим прямолинейным движением. Несоблюдение этих правил может привести к набеганию и расклиниванию гусениц. На обледенелых участках повороты следует делать на низших передачах и на малой частоте вращения коленчатого вала двигателя. При движении по дорогам с глубокими колеями, по болоту и при преодолении препятствий избегать поворотов. При движении задним ходом для осуществления поворота посредством планетарного механизма поворота необходимо: для поворота влево подавать правый рычаг в первое положение; для поворота вправо подавать левый рычаг в первое положение. При движении задним ходом повороты с использованием остановочных тормозов осуществляются в обычном порядке. Если при движении требуется выровнять направление, то достаточно плавно перемещать па себя соответствующий рычаг управления, не доводя его до первого положения, иначе транспортер будет бросать в сторону. Следует помнить, что излишне частое пользование рычагами управления вызывает не только утомляемость водителя, но и усиленный износ дисков фрикционного механизма поворота, накладок тормозных лент, а также снижает среднюю скорость движения и повышает расход топлива. Действовать рычагами управления следует плавно, без рывков. 14.8. ПОДЪЕЗД К ПРИЦЕПУ, БУКСИРОВКА ПРИЦЕПА И ОТЪЕЗД ОТ НЕГО 14.8.1. ПОДЪЕЗД К ПРИЦЕПУ Подъезжая к прицепу для сцепки, необходимо развернуться не менее чем в 5 м от него, чтобы не взрыхлить грунт перед прицепом. Затем осторожно на маЛой частоте вращения коленчатого вала двигателя сдать транспортер назад до прицепа (по возможности без поворотов), внимательно наблюдая за сигналами лица, руководящего сцепкой. После этого набросить сцепную петлю прицепа на крюк, закрыть накидную скобу с защелкой и зафиксировать булавочным шплинтом, подключить шланг тормозов, открыть кран подачи воздуха на прицеп, соединить кабель электрооборудования. 14.8.2. БУКСИРОВКА ПРИЦЕПА Для наблюдения за тягово-сцепным устройством и прицепом из членов экипажа назначается ответственный, который должен знать установленные сигналы.
Трогание с места, разгон и торможение транспортера с прицепом выполнять плавно, без рывков. Переходить иа следующую, высшую передачу можно только после того, как поезд получит достаточный разгон. Переключать передачи при движении с прицепом следует более быстро (особенно на тяжелых участках пути), чем при движении без прицепа, так как поезд в момент переключения передач теряет скорость быстрее, чем транспортер без прицепа. При буксировке следует учитывать, что пределом маневренности и проходимости является проходимость прицепа, а ие транспортера. Запрещается делать крутые повороты при буксировке прицепа. Повороты с малыми радиусами нужно выполнять на 1 или II передаче, при этом сигнальщик должен следить, чтобы дышло прицепа не уперлось в транспортер, и предупреждать водителя соответствующими сигналами. Расцепку транспортера следует производить после установки прицепа на место. После разцепки водитель обязан осмотреть тягово-сцепное устройство и устранить замеченные неисправности. 14.8.3. ОТЪЕЗД ОТ ПРИЦЕПА После установки прицепа на указанное место водитель должен слегка осадить транспортер назад для облегчения расцепки, внимательно следя за сигналами руководящего расцепкой, отъединить шланг тормозов, кабель электрооборудования и закрыть кран подачи воздуха на прицеп. Расцепив транспортер с прицепом, следует отъехать по прямой не менее чем на 5 м. После этого развернуть транспортер и отвести его на место стоянки. 14.9. БУКСИРОВКА ТРАНСПОРТЕРА Если при повреждении транспортера ремонт не может быть выполнен па месте, он должен быть отбуксирован к месту ремонта Для буксировки используются два буксирных троса, присоединяемые к буксирным крюкам буксируемого транспортера и к крюку тягово-сцепного устройства буксирующей машины с помощью промежуточной серьги или задним буксирным крю? кам. Буксировать нужно на небольших скоростях (на II или III передаче). Чтобы избежать рывков, ослабления буксирных тросов и набегания, буксируемым транспортером следует управчять. При неисправности в буксируемом транспортере, связанной с поте-238
рей его управляемости, последний необходимо буксировать на жестком буксире. Диаметр петли жесткого буксира, одеваемого на буксирный крюк транспортера, должен быть 60—70 мм. В случае если выйдет из строя бортовая передача, ведущее или направляющее колесо, транспортер следует буксировать к месту ремонта на опорных катках, сняв гусеницы, на жестком буксире. При неисправности главной передачи, промежуточного редуктора или двигателя нужно отъединить карданные валики, соединяющие главную передачу и бортовые передачи, и буксировать транспортер, не снимая гусениц. 14.10. ПРЕОДОЛЕНИЕ ПРЕПЯТСТВИЙ Встречающиеся на пути движения препятствия преодолеваются на I передаче под прямым углом без поворотов. По возможности желательно избегать участков пути, затрудняющих движение транспортера. Канавы и насыпи необходимо преодолевать только после осмотра водителем препятствия. Во избежание опрокидывания прицепа при преодолении рва, канавы или насыпи необходимо, чтобы оба колеса прицепа переезжали их одновременно. Ров или канаву с крутыми стенками можно преодолевать в том случае, если ширина рва или канавы не превышает трех четвертей диаметра колеса прицепа. Если выход из канавы крутой, необходимо расчистить его. При преодолении насыпи или подобных препятствий следует при переходе через гребень препятствия уменьшить частоту вращения коленчатого вала двигателя и при необходимости притормозить транспортер для того, чтобы плавно съехать и предотвратить удар передней частью транспортера о грунт. Участки пути с сыпучим грунтом можно преодолевать с помощью настила из подручного материала: хвороста, веток, камыша и т. п. Если транспортер зарывается в грунт, следует отцепить прицеп, вывести транспортер на более плотный грунт и буксированием на тросах перетащить прицеп через труднопроходимый участок. В случае застревания в глубокой грязи, болоте, на препятствии или в глубоком снегу (с посадкой на днище) применяется приспособление для самовытаскивания (см. приложение 1). 14.11. ПРЕОДОЛЕНИЕ ПОДЪЕМОВ И СПУСКОВ1 Перед преодолением крутого подъема необходимо: осмотреть место подъезда, определить крутизну подъема, проверить состояние дороги и грунта; проверить действие тормозной системы транспортера и прицепа.
Преодолевать круто» подъем необходимо на I передаче без остановок и поворотов. Если преодолеть подъем с прицепом невозможно, необходимо выехать на подъем топько транспортером, а затем подтянуть прицеп буксированием па тросах. При наличии второго транспортера допускается вытаскивание прицепа на подъем двойной тягой. Еслй подъем нельзя преодолеть, следует включить передачу заднего хода и, установив минимально устойчивую частоту вращения коленчатого вала двигателя, медленно спуститься с уклона. Спускаться надо постепенно, не давая возможности разгоняться поезду и наблюдая за движением прицепа. При этом необходимо проявлять исключительную осторожность. Во избежание несчастного случая на прицепе никого не должно быть. Подъемы с песчаным грунтом или с глубоким снегом, когда возможно буксование гусениц, следует преодолевать с наименьшим углом крена и на малой частоте вращения коленчатого вала двигателя. Подъемы выше 25° независимо от их длины преодолевать только на I передаче. Движение с боковым креном выше 25° не допускать — может произойти сползание транспортера. Нельзя преодолевать подъемы и спуски при слабо натянутых гусеницах. Не разрешается начинать подъем до тех пор, пока впереди идущий транспортер не преодолеет полностью подъем. Преодолевать спуски труднее, чем подъемы, поэтому от механика-водителя требуется особое внимание. Подъехав к крутому спуску, механик-водитель должен определить его крутизну, состояние дороги и грунта. Перед преодолением крутого спуска проверить исправность действия тормозной системы транспортера и прицепа. Крутой спуск преодолевать на I или II передаче, периодически притормаживая, чтобы двигатель не развивал частоту вращения выше средней эксплуатационной. При движении под уклон нельзя выключать сцепление — транспортер может быстро скатиться вниз. На спусках необходимо избегать крутых поворотов. При необходимости поворота на крутом спуске влево надо слегка под-выключить правый механизм поворота, а при повороте вправо— левый. На спусках нужно пользоваться только рабочим тормозом. Не разрешается начинать спуск до тех пор, пока впереди идущий транспортер не преодолеет полностью спуск. Запрещается оставлять на уклоне заторможенный транспортер без водителя, так как это может привести к аварии 240
14.12. ВОЖДЕНИЕ ПО ЛЕСИСТО-БОЛОТИСТОЙ МЕСТНОСТИ Прежде чем начать движение по лесисто-болотистой местности, необходимо поднять и закрепить кормовые решетки или задние грязевые щитки. Проходимость транспортера по болоту обычно ограничивается проходимостью прицепа, который, погружаясь в болото, оказывает большое сопротивление движению. Чтобы убедиться в проходимости, следует пройти данный участок без прицепа. Убедившись в проходимости участка, следует выбрать наикратчайший путь движения. Заболоченные участки следует преодолевать на II или III передаче без поворотов и переключения передач. Если во время движения будет замечено, что двигатель снижает частоту вращения, необходимо оба рычага управления поставить в первое положение и продолжать движение. При прохождении по заболоченному участку не следует резко менять частоту вращения коленчатого рала двигателя, так как это способствует срыву наиболее прочного поверхностного слоя грунта и транспортер может завязнуть. При движении колонны транспортер не должен двигаться по следу впереди идущей машины, так как это может вызвать пробуксовку гусениц, большое погружение и посадку транспортера на днище. Если нельзя объехать труднопроходимый заболоченный участок, то для преодоления его необходимо устроить настил из специально изготовленных хворостяных ковриков, щитков, хвороста, жердей, веток, снопов соломы, камыша и другого подручного материала. Настил должен быть шире транспортера не менее чем в два раза. Если небольшой заболоченный участок не удается преодолеть поезду, нужно расцепиться, переехать заболоченный участок без прицепа, а затем двойной тягой на длинном тросе перетащить прицеп. Кроме того, для выхода застрявшего транспортера из заболоченной местности в одиночный комплект ЗИП придается приспособление для самовытаскиваиия (способ применения приспособления см. в приложении 1). При движении по кустарнику необходимо снизить скорость и тщательно наблюдать, не скрыты ли впереди пни4 ямы, овраги, бугры и т. п. При движении по просекам и вырубленному лесу не следует наезжать гусеницами на пни высотой более 150 мм, так как это перегружает детали подвески. Пни высотой менее дорожного просвета необходимо пропу» скать под транспортером, пни высотой более дорожного просвета — объезжать.
При движении по лесистой местности для исключения попадания сухих листьев или хвои в воздухоочиститель необходимо установить удлинитель воздухозаборной трубы (см, приложение 1). На транспортере МТ-ЛБВМ удлинитель не устанавливать. 14.13. ПРЕОДОЛЕНИЕ ВОДНЫХ ПРЕГРАД Транспортеры способны преодолевать водные преграды глубиной не более 1,2 м, а на плаву с загрузкой, не превышающей номинальной грузоподъемности, — глубиной более 1,2 м. При преодолении водных преград изделиями, базирующимися на модификациях 32, 35 и 49, следует дополнительно руководствоваться их эксплуатационной документацией. В случае опасности затопления транспортера при преодолении водной преграды необходимо выключить передачу и установить рычаги управления в исходное положение. 14.13.1. УКАЗАНИЯ МЕР БЕЗОПАСНОСТИ ПРИ ПРЕОДОЛЕНИИ ВОДНЫХ ПРЕГРАД 1. Высота волны при преодолении водной преграды должна быть не более 0,15 м вброд и не более 0,5 м на плаву. 2. Перед преодолением водной преграды следует убедиться в герметичности люков днища, кормовых люков и люка трансмиссионного отделения. 3. Крышки десантных люков должны быть открыты. 4. Водооткачивающий насос перед преодолением водной преграды должен быть включен и должна быть проверена его работоспособность. 5. Экипаж предварительно должен быть проинструктирован и располагаться по указанию старшего с соблюдением мер предосторожности и безопасности, стараясь исключить крен транспортера на плаву. Старший должен иметь связь с механиком-водителем. 6. Экипаж должен внимательно следить за возможным поступлением воды в корпус транспортера и своевременно принимать меры по устранению течи и удалению поступающей воды. 7. Для ускорения начала выброса воды водооткачивающим насосом рекомендуется кратковременное — на 3—4 с —плавное снижение частоты вращения коленчатого вала двигателя до средней с одновременным быстрым выключением и плавным включением сцепления. 8. Запрещается резко уменьшать или увеличивать частоту вращения коленчатого вала двигателя при движении на плаву. 9. При работе на неспокойной воде необходимо направлять транспортер поперек волны. При встрече с большой лобовой волной нужно снижать скорость движения для смягчения удара.
10. В случае опасности затопления транспортера крышки люков командира и механика-водителя необходимо открыть, экипажу приготовиться к эвакуации. Экипаж покидает транспортер по команде старшего через ближайшие люки. 14.13.2. ВЫБОР МЕСТА ДЛЯ ПРЕОДОЛЕНИЯ ВОДНОЙ ПРЕГРАДЫ Перед преодолением водной преграды механик-водитель должен знать крутизну и состояние берегов по заданному курсу движения, характер грунта при входе в воду и выходе из нее, глубину и наличие мелей, зарослей, заболоченных участков, искусственных и естественных препятствий в виде надолб, порогов, скал, обмеленных обрывов. Крутизна спуска в воду не должна превышать 20°; крутизна подъема при выходе из воды — 15°. Входить в воду с обрывистых берегов запрещается. В месте входа в воду и выхода из нее не должно быть непреодолимых искусственных или естественных препятствий. Преодолевать водные преграды рекомендуется в местах с наименьшей скоростью течения. 14.13.3. ПОДГОТОВКА К ПРЕОДОЛЕНИЮ ВОДНОЙ ПРЕГРАДЫ 1. Перед преодолением водного препятствия на плаву экипаж должен выполнить следующее: — прошприцевать подшипники / (позиции см. в приложении 10) выключения фрикционов механизмов поворота; — открыть крышку 2 лючка в кожухе вентилятора, переместив защелку привода вперед; — установить ограждение 12 радиатора; — установить удлинитель 7 воздухозаборной трубы воздухоочистителя; — поднять волноотражательный щит 26 и зафиксировать его прижимами; — установить гидродинамические щитки 16 и дополнительные щитки; — опустить кормовые решетки 14 и застопорить их; задние грязевые щитки поднять и закрепить в верхнем положении; — проверить затяжку крышки 23 люка для слива масла из главной передачи, крышки 22 люка под промежуточным редуктором, крышки 20 люка под двигателем, крышки 21 люка под масляным баком главной передачи, крышек 19 люков слива топлива из топливных баков; проверить ключами на плотность затяжки болтов и осмотром целость уплотнительных про-кпадок; — проверить затяжку кингстонов 4\
— проверить задрайку крышек 5 кормовых люков, крышек 27 и 8 люков трансмиссионного и моторного отделений, крышек 11 заливных горловин топливных баков; — закрыть крышку 28 вентиляционного лючка трансмиссионного отделения и крышки 10 воздухозаборных и выпускных патрубков отопительно-вентиляционной установки; — буксирные тросы снять с мест крепления и соединить их серьгой; — коуш одного буксирного троса надеть на крюк тяговосцепного устройства или закрепить к одному из задних буксирных крюков, тросы уложить на крыше транспортера; — проверить чистоту переднего 24 и заднего 18 водозабор-ников; — проверить наличие и затяжку пробок 17 на опорных катках, пробок 25 на бортовых передачах и про.бок 15 на направляющих колесах; — открыть пробки водовыбрасывающих патрубков 29; — включить водооткачивающий насос 3, для чего установить минимально устойчивую частоту вращения двигателя, выжать педаль сцепления, подать рукоятку включения водооткачивающего насоса назад до отказа; если насос не включается, плавно отпустить и снова выжать педаль сцепления и повторить включение насоса; — при работающем двигателе проверить работу водооткачивающего насоса по наличию воздушного потока на выходе из патрубков 29\ — закрыть крышки 13 амбразур, расположенных на правых и левых бортах, на крышках 5 кормовых люков; — закрыть стеклоблоки, расположенные в отделении управления и кормовом отделении; — закрыть крышки 6 и 31 люков механика-водителя и командира. На транспортере МТ-ЛБВМ перед установкой удлинителя воздухозаборной трубы повернуть установку пулемета из походного положения в сторону правого борта так, чтобы кронштейн под патронную коробку не мешал установке удлинителя, а ствол пулемета не выходил за габариты транспортера. В этом положении установку застопорить. 2. Перед преодолением водной преграды вброд экипаж должен выполнить следующее: — проверить наличие и затяжку всех крышек люков на днище корпуса, пробок контрольных и сливных отверстий бортовых передач, опорных катков и направляющих колес; проверить ключами на плотность затяжки болтов (пробок) и осмотром целость уплотнительных прокладок; — проверить натяжение гусениц и при необходимости от регулировать; слабо натянутые гусеницы могут легко соскочить; расстояние между первым опорным катком и беговой дорожкой гусеницы должно быть 25—55 mmj
* — проверить затяжку кингстонов; — снять буксирные тросы с мест крепления и соединить серьгой; — коуш одного буксирного троса надеть на крюк тяговосцепного устройства или закрепить к одному из задних буксирных крюков; тросы уложить на крыше транспортера; — закрыть стеклоблоки, расположенные в отделении управления и кормовом отделении, крышку 28 вентиляционного лючка трансмиссионного отделения, крышки 8 и 27 люков моторного и трансмиссионного отделений, крышки 11 заливных горловин топливных баков, крышки 10 воздухозаборных и выпускных патрубков отопительно-вентиляционной установки и крышки 13 амбразур; — закрыть крышки 5 кормовых люков. 14.13.4. ВХОД В ВОДУ Транспортер должен входить в воду на I или II передаче под прямым углом к береговой линии. Если вход так невозможен, то следует держаться правым бортом к берегу во избежание попадания воды в полость кожуха вентилятора через жалюзи. Начинать движение на плаву можно, если кромка волно-отражательного щита после всплытия транспортера выступает над поверхностью воды (без учета высоты волны) и отсутствует боковой крен. При погружении волноотражательного щита необходимо изменить положение центра тяжести машины перемещением в сторону кормы груза и экипажа, чтобы кромка волноотражательного щита выступила над поверхностью воды. Боковой крен транспортера определяется визуально и устраняется перемещением груза и экипажа. 14.13.5. ВОЖДЕНИЕ НА ПЛАВУ После всплытия транспортера и устранения бокового крена и носового дифферента включить II или III передачу и, плавно увеличивая частоту вращения коленчатого вала двигателя, следовать к месту выхода из воды на противоположном берегу. Движение на плаву на передачах выше III не разрешается. При движении на спокойной воде допускается открывать крышки люков командира и механика-водителя. Выравнивание прямолинейного движения и повороты транспортера выполнять переводом соответствующего рычага управления в первое положение, не снижая частоту вращения коленчатого вала двигателя. В случае необходимости более крутого поворота допускается перевод рычага управления во второе положение, при этом
надо строго соблюдать следующие условия и их последовательность: — уменьшить частоту вращения коленчатого вала двигателя до минимальной и выключить сцепление; — установить рычаг управления во второе положение и приложить к нему максимальное усилие; — включить сцепление и плавно увеличивать частоту вращения; — рычаг управления держать во втором положении не более 30 с; — как только транспортер начнет поворот в нужную сторону, следует уменьшить частоту вращения коленчатого вала двигателя до мипиматьной и плавно вернуть рычаг управления в первое положение;- — переводить рычаг управления из второго в исходное положение нужно с обязательной его остановкой (фиксацией) в первом положении не менее чем на 3—5 с во избежание выхода из строя механизмов поворота; — запрещается пользоваться одним и тем же рычагом управления более трех раз подряд при выполнении одного поворота; для маневрирования на плаву разрешается использовать задний ход. Учитывая инерционности транспортера на плаву при повороте на намеченный ориентир, необходимо возвращать рычаги управления в исходное положение несколько ранее, чем закончится поворот. 14.13.6. ПРЕОДОЛЕНИЕ ПРЕПЯТСТВИЙ ПРИ ДВИЖЕНИИ * НА ПЛАВУ При встрече на плаву с препятствием, которое может вызвать остановку или резкий крен на борт или корму, механик-водитель должен: — уменьшить подачу топлива; — выключить сцепление; — включить передачу заднего хода; — включить сцепление и, увеличивая подачу топлива, осторожно сдвинуть транспортер назад- после того как он сойдет с препятствия, включить передний ход; — осторожно, не допуская бокового крена, преодолеть препятствие. 14.13.7. ПРЕОДОЛЕНИЕ БРОДА Движение вброд осуществляется на 1 или II передаче в зависимости от грунта дна в месте брода на средней эксплуатационной частоте вращения коленчатого вала двигателя, которая должна быть равномерной на протяжении всего брода. Во время движения надо вести транспортер по кратчайшему направле-246
нию, не выходя за пределы брода. Ни в коем случае не переключать передачи, не останавливаться на пути и не делать повороты. Если переправляются несколько транспортеров, то каждый следующий не должен входить в воду, пока впереди идущий не выйдет на противоположный берег. Если дно брода вязкое — избегать движения по колее впереди идущего. 14.13.8. ВЫХОД ИЗ ВОДЫ При выходе из воды следует стремиться направить транспортер под прямым углом к липни берега или подходить к берегу левым бортом. При подходе правым бортом или наезде на препятствие правой гусеницей транспортер может получить большой крен влево, что приведет к проникновению воды через жалюзи в кожух вентилятора и систему выпуска отработавших газов. Выходить на берег следует на I или II передаче. После преодоления водной преграды надо подготовить транспортер к движению по суше, для чего: — открыть кингстоны и, установив транспортер на уклоне, слить воду, скопившуюся на днище корпуса, выключить водо-откачивающий насос; — закрыть крышку люка кожуха вентилятора, переместив защелку назад; — уложить буксирные тросы на штатные места и закрепить; — снять ограждение радиатора, гидродинамические и дополнительные щитки; — установить по-походному волноотражательный щит и кормовые решетки; задние грязевые щитки опустить п закрепить; — закрыть пробки отводящих патрубков водооткачивающего насоса, сиять удлинитель воздухозаборной трубы воздухоочистителя. При неудовлетворительной управляемости транспортера проверить и отрегулировать свободный ход поводковых коробок механизмов поворота и зазор между роликом рычага тормозов поворота и впадиной кулака. При первой же возможности на привале или пункте технического обслуживания и ремонта проделать следующее: — проверить, не попала ли вода в масло картеров бортовых передач, направляющих колес и опорных катков (масло с водой имеет серый цвет); если обнаружится вода — масло сменить, предварительно промыв картеры и ступицы маслом; — проверить работу стоп-сигнала, фар, передних и задних светнльникоз и звукового сигнала; — проверить состояние инструмента и принадлежностей в инструментальных ящиках, расположенных на днище.
При обнаружении влаги содержимое ящиков выложить, протереть салфеткой, просушить и протереть металлические детали промасленной ветошью. При острой необходимости после выхода из воды допускается движение без снятия приспособлений для плава при условии установки волноотражательного щита по-походному и выключения водооткачивающего насоса, но на транспортере МТ-ЛБВМ обязательно снять удлинитель воздухозаборной трубы. Однако надо помнить, что неснятые приспособления для плава могут быть повреждены и утеряны. 14.14. ОСОБЕННОСТИ ВОЖДЕНИЯ ЗИМОЙ Особенности зимней эксплуатации требуют отличного знания и точного выполнения правил эксплуатации, большой натренированности в вождении и высокой дисциплинированности личного состава, хорошего технического состояния и специальной подготовки транспортера. 14.14.1. ДВИЖЕНИЕ ПО СНЕГУ Вождение гусеничных машин зимой усложняется, так как снег уменьшает сцепление гусениц с дорогой, повышает сопротивление движению и маскирует встречающиеся препятствия. При движении по снежной целине и занесенным снегом дорогам необходимо избегать переключения передач, так как при этом транспортер быстро теряет скорость и гусеницы начинают буксовать. При необходимости переключения передач с низших на высшие следует использовать уклоны местности и участки с неглубоким снежным покровом. Передачи нужно переключать быстро, не применяя двойного выключения сцепления, чтобы не снизить скорость при разгоне. С высших передач на низшие следует переходить в обычном порядке, но без промежуточной подачи топлива (про-газовывания), так как скорость транспортера очень быстро снижается. Тяжелые, но непродолжительные участки пути разрешается преодолевать на замедленной передаче, установив рычаги управления в первое положение. 14.14.2. ДВИЖЕНИЕ В ГОЛОЛЕДИЦУ Управление транспортером при движении по скользким дорогам, покрытым льдом или укатанным снегом, требует от механика-водителя внимательности и высокого мастерства. На скользких дорогах изменение частоты вращения коленчатого вала двигателя, повороты, торможение, выключение и включение сцепления механик-водитель обязан выполнять с максимальной плавностью, чтобы избежать заноса транспортера. 248
При движении по обледенелым дорогам или при преодолении скользких подъемов и спусков в случае буксования гусениц и невозможности дальнейшего движения необходимо применять добавочные почвозацепы (рис. 134). Добавочные почвозацепы крепятся к звеньям гусениц гайками и пружинными шайбами. Добавочные почвозацепы устанавливаются с внутренней и наружной стороны трака гусеницы. Рис. 134. Установка добавочных почвоза-цепов: 1 — почвозацеп; 2 — звено гусеницы; 3 — шайба) 4 — гайка Они могут устанавливаться также только с наружной стороны трака равномерно по длине гусеницы. Количество устанавливаемых па одну гусеницу добавочных почвозацепов определяется условиями сцепления с грунтом. На гусеницах с несимметричными звеньями с наружной стороны гусениц устанавливаются съемные почвозацепы большей длины, а с внутренней — короткие почвозацепы. После пробега протяженностью 2—3 км следует проверить затяжку и при необходимости подтянуть гайки крепления добавочных почвозацепов. Движение транспортера с добавочными почвозацепами на передачах выше III, а также длительное движение (свыше 6— 8 км) не рекомендуется. По окончании движения по обледенелому участку пути или после преодоления подъема или спуска добавочные почвозацепы надо снять. По скользкой дороге следует двигаться со скоростью 15— 20 км/ч. Если при движении требуется выправить направление, то необходимо быстро, но плавно выключить планетарный механизм поворота, не доводя рычаг управления до первого положения, иначе транспортер может занести.
Тормозить транспортер необходимо только комбинированным способом — двигателем (не выключая сцепления) и тормозами. При начале заноса транспортера необходимо: — немедленно прекратить торможение; — рычаг управления со стороны, противоположной заносу передней части транспортера, установить во второе положение; — плавно увеличить подачу топлива; — по прекращении заноса восстановить направление движения транспортера. При разъезде со встречными машинами необходимо заранее занять место на правой стороне дороги и двигаться на малой скорости (не более 15 км/ч). При движении транспортера по скользкому косогору не следует делать поворотов, пользоваться тормозами, переключать передачи и резко изменять частоту вращения коленчатого вала двигателя, так как это может вызвать боковое сползание, занос и опрокидывание. При выборе направления движения по косогору необходимо учитывать величину увода транспортера вследствие сползания. 14.14. 3. ДВИЖЕНИЕ ПО ЛЬДУ Перед выездом на лед в машине должен оставаться только механик-водитель. Крышки люков отделения управления и на крыше кормового отделения должны быть открыты и зафиксированы стопорами, крышки люков на днище корпуса должны быть плотно закрыты. Места спуска на лед и выезда на берег должны быть ровными и наиболее пологими. При разведке переправы прочность льда определяется измерением толщины и осмотром пробы льда, для чего через 15—25 м вырубаются лунки. Одновременно определяется прилегание льда к поверхности воды и к берегу. Кроме толщины льда при определении его прочности учитываются качество льда, климат данного района, устойчивость морозов за последние дни. Толщина льда, обеспечивающая безопасность переправы, должна быть не менее 35 см. Лед должен быть чистым и иметь вид сплошной стекловидной массы, не имеющей прослойки снега и воздушных пор. 14.14. 4. ДВИЖЕНИЕ В ТУМАН И СНЕГОПАД В снегопад, метель или туман значительно снижается видимость, уменьшается сцепление гусениц с дорогой и ухудшается проходимость. Поэтому для обеспечения безопасности движения необходимо максимально снижать скорость транспортера. При видимости менее 10 м движение следует совершать с вклю-250
ценными фарами и задними фонарями и с частой подачей звуковых сигналов. Обгон машин в этих условиях категорически запрещается. При необходимости объезда стоящей машины механик-водитель должен остановить транспортер, выйти из кабины, лично убедиться в возможности и безопасности объезда и объезжать со скоростью не более 10 км/ч. При движении в колонне дистанции между поездами должны уменьшаться до пределов видимости задней части прицепа впереди идущего транспортера. При преднамеренной остановке необходимо предварительно предупредить механика-водителя сзади идущего транспортера заранее установленным сигналом. 14.15. ДВИЖЕНИЕ В КОЛОННЕ При движении в колонне механик-водитель должен быть особенно внимателен и беспрекословно выполнять указания начальника колонны и службы регулирования. Особенностью движения в колонне является необходимость непрерывного наблюдения за впереди идущим транспортером, за сигналами и командами начальника колонны и службы регулирования. При движении в колонне необходимо: — строго выдерживать установленные дистанции и интервалы и быть готовым в любой момент остановить поезд; — останавливать транспортер только по команде; — скорости движения выдерживать в зависимости от рельефа местности и максимально допустимых скоростей для прицепа; — особенно внимательно и осторожно вести поезд на тяжелых участках пути (на крутых поворотах, подъемах, спусках, при гололедице), 14.16. ЭКСПЛУАТАЦИЯ ТРАНСПОРТЕРА С ОБОРУДОВАНИЕМ ДЛЯ САМООКАПЫВАНИЯ 14.16.1. УКАЗАНИЯ МЕР БЕЗОПАСНОСТИ При эксплуатации оборудования для самоокапывания необходимо строго выполнять правила техники безопасности: — при снятии и установке стяжек крепления отвала во время приведения оборудования в рабочее положение и из рабочего в транспортное положение находиться в зоне опускания отвала запрещается; — при отрывке котлованов укрытий в зоне движения машины людей не должно быть Водитель обязан наблюдать за сигналами руководителя работ;
— при работе с оборудованием от водителя требуется повышенное внимание; — при работе в темное (ночное) время суток должны быть включены прибор ТВН-2Б и фара, установленная па транспортере с левой стороны в кормовой части; — при сливе масла из гидросистемы проявлять особую осторожность; — при движении транспортера с оборудованием, поднятым в крайнее верхнее положение, система навески должна быть застопорена стяжками; — при выполнении землеройных работ строго следить за правильным натяжением гусениц и не допускать резких разворотов машины на передаче заднего хода; — при выполнении землеройных работ не допускать поворота машины с отвалом, полным грунта; — при заглублении отвала не допускается врезание краем отвала в боковую стенку отрываемого укрытия. 14.16.2. ПОДГОТОВКА ОБОРУДОВАНИЯ ДЛЯ САМООКАПЫВАНИЯ К РАБОТЕ Перед работой необходимо проверить заправку масляного бака гидросистемы маслом согласно таблице смазки. Проверить, нет ли подтекания масла по соединениям трубопроводов, Рис. 13S. Расположение рычагов оборудования: / — рычаг редуктора насоса; 3 — рычаг гидронасоса шлангов, узлам гидропривода, затем расстопорить две стяжки тяг отвала, пустить двигатель и плавно включить сцепление, включить редуктор насоса, подав рычаг 1 (рис. 135) в сторону двигателя, включить гидронасос, подав рычаг 2 в сторону левого борта по ходу машины; для проверки работы оборудования несколько раз опустить и поднять отвал включением рычага распределителя. Если масло в гидросистеме «застыло», необходимо установить рыч^г распределителя в нейтральное положение, включить
насос и поработать 20—25 мин, постепенно увеличивая частоту вращения коленчатого вала двигателя, начиная с минимальных оборотов. 14 16.3. РАБОТА ОБОРУДОВАНИЯ ДЛЯ САМООКАПЫВАНИЯ Отрывка котлованов и другие земляные работы могут производиться водителем как по команде лица, находящегося вне машины, так и самостоятельно. В последнем случае водитель Рис. 136. Схема укрытия для транспортеров-тягачей МТ-ЛБ, отрываемого с помощью оборудования для самоокапывания (размеры в метрах) должен предварительно обозначить вешками или местными предметами места заглубления и выглубления отвала и периодически выходить из машины для осмотра отрываемого котлована. Схема укрытия, отрываемого оборудованием для самоокапывания, показана на рис. 136. После выполнения операций по подготовке оборудования к работе необходимо: — наблюдая в зеркало заднего вида за отвалом, перевести рычаг 1 (рис. 137) распределителя в положение «Опускание» и произвести необходимое заглубление ножей; — включить I передачу и, плавно увеличивая частоту вращения коленчатого вала двигателя, начать движение. При этом вести наблюдение через зеркало заднего вида за сигналами руководителя работ. По окончании прохода необходимо: — выключить передачу; — поднять отвал в крайнее верхнее положение, для чего рычаг / распределителя установить в положение «Подъем», а затем в положение «Нейтральное»; — включить передачу заднего хода, вывести машину в исходное положение и повторить рабочий ход. Высыпать грунт необходимо после каждого рабочего хода в параллельные валки. Рекомендуется непрерывная работа оборудования в течение не более 3 ч при температуре окружающего воздуха не более
35°С и в течение не более 2 ч при температуре окружающего воздуха 35—45°С на средних режимах работы двигателя. Рекомендуется после трех-четырех проходов производить выравнивание гребней и отсыпку грунта за один-два прохода с незначительным заглублением отвала, установив рычаг распределителя в положение «Нейтральное». Рис. 137. Установка распределителя: / — рычаг; 2 — распределитель В процессе работы, при остановках с работающим двигателем на холостом ходу более 10—15 мин, во избежание перегрева масла рекомендуется выключить гидронасос. Во время работы оборудования необходимо постоянно контролировать давление масла в гидросистеме по показанию манометра, которое не должно превышать 90—95 кгс/см2. Давление масла в гидросистеме достигается регулировкой предохранительного клапана, который должен быть отрегулирован на 90 кгс/см2 при монтаже гидросистемы. В процессе производства работ при повышенных нагрузках на отвал могут срезаться предохранительные пальцы крепления отвала. В этом случае срезанные пальцы заменяются новыми, взятыми из одиночного комплекта ЗИП. Работа оборудования на мерзлых грунтах не предусмотрена. При необходимости отрывки котлована на мерзлом грунте необходимо предварительно снять мерзлый слой грунта с помощью других средств.
14.16.4. ОСОБЕННОСТИ РАБОТЫ НОЧЬЮ Для обеспечения наблюдения за навесным оборудованием при работе в ночное время в случае необходимости взамен крайнего левого смотрового прибора механика-водителя надо установить прибор ТВН-2Б, а в заднюю фару — оптический элемент ФГ2-200-Г. Порядок включения прибора ТВН-2Б и задней фары следующий: — включить тумблер на блоке питания ТВН-2Б; — включить заднюю фару тумблером, расположенным на щитке манометра; — наблюдая в прибор, открыть шторку (поставить рукоятку шторки в положение «Откр.»). Водитель наблюдает за навесным оборудованием через зеркало заднего вида, установленное на левом боковом листе отделения управления. 14.16.5. ПЕРЕДВИЖЕНИЕ И ТРАНСПОРТИРОВАНИЕ ТРАНСПОРТЕРА С ОБОРУДОВАНИЕМ ДЛЯ САМООКАПЫВАНИЯ При движении и транспортировании транспортера с оборудованием для самоокапывания отвал в зависимости от условий движения должен быть или переведен в крайнее верхнее положение (отвал с помощью цилиндров поднят вверх до упора) и закреплен стяжками 10 (рис. 100), или снимается с тяг, укладывается по правому борту, крепится к корпусу с помощью пальцев, проходящих через проушины отвала и кронштейны на корпусе транспортера, и фиксируется прижимом. 14.17. ЭКСПЛУАТАЦИЯ БАШЕННОЙ УСТАНОВКИ ТКБ-01-1 14.17.1. ПОСТАНОВКА ПУЛЕМЕТА НА УСТАНОВКУ Для постановки пулемета на установку необходимо: — придать люльке наибольший угол возвышения (освободив левую рукоятку 21 (рис. 87), ручкой управления 22 придать надлежащий угол люльке и зафиксировать ее в этом положении рукояткой 2/); — опустить вниз кожух 15, предварительно нажав на флажок 14 оси защелки; — продвинуть каретку 12 назад до выхода направляющих каретки из направляющих основания люльки; — вынуть оси 13, предназначенные для крепления пулемета; — поставить пулемет на каретку и вставить оси 13 в ушки каретки и пулемета; — поставить каретку с пулеметом на основание люльки;
— продвинуть каретку с пулеметом вперед до входа направляющих каретки в направляющие основания люльки, а ствола пулемета в отверстие кожуха 5; — поднять кожух 15 вверх и зафиксировать его защелкой флажка 14, при этом зуб стержня должен войти в отверстие бобышки каретки; — соединить штепсельный разъем электроспуска пулемета с штепсельным разъемом погона. Ручка управления 22 должна быть установлена в удобном положении и обеспечивать зону работы пулемета. 14.17.2. ПОСТАНОВКА ПРИЦЕЛА НА УСТАНОВКУ Для исключения рассогласования прицела с пулеметом прицел снимать не рекомендуется. Порядок снятия прицела дан на случай ремонта. Для постановки прицела на установку необходимо: — отвинтить винты / (рис. 92); — снять накладку 10\ — ввести шар прицела в шаровое гнездо основания 9; — наложить накладку 10\ — завинтить винты Г, — поставить хомут с прицелом на кронштейн люльки; — ввинтить стержень 2 хомута прибора во втулку 3 так, чтобы выступ основания 9 вошел в конусное гнездо кронштейна люльки; — завинтить барашек 8 до отказа; — соединить штепсельный разъем 4 (рис. 89) лампы подсветки- 3 прицела. * 14.17.3. ЗАРЯЖАНИЕ ПУЛЕМЕТА НА УСТАНОВКЕ Для заряжания пулемета необходимо: — выключить электромагнит 7 (рис. 89) выключателем 4 (рис. 91), расположенным на панели управления башенной установкой; — вставить снаряженную патронную коробку 6 (рис. 83) в коробкодержатель 7; — открыть крышку ствольной коробки пулемета; — вытянуть часть ленты из коробки и вложить ее в приемник так, чтобы первый патрон закраиной дна гильзы зашел за зацепы извлекателя, предварительно заправив конец ленты в гильзозвеньеотвод //; — закрыть крышку ствольной коробки; — поставить подвижные части на шептало; — подать рукоятку перезаряжания вперед; — включить выключатель 4 (рис. 91). Пулемет готов к стрельбе. Огонь открывается нажатием на кнопку электроспуска, находящуюся на ручке управления 22 256
(ри 87). Если не предстоит немедленное открытие огня, поставить пулемет на предохранитель, повернув его флажок назад. 14.17.4. РАЗРЯЖАНИЕ ПУЛЕМЕТА НА УСТАНОВКЕ Для разряжаипя пулемета необходимо: — ствол пулемета направить в безопасную зону; — выключить электромагнит 7 (рис. 89) выключателем 4 (рис. 91 ), расположенным на панели управления башенной установкой; — поставить пулемет на предохранитель; — открыть крышку ствольной коробки; — вынуть ленту из приемника пулемета и гильзозвеньеот-вода, а затем вложить ее в патронную коробку; — поднять основание приемника и вынуть из него патрон, находящийся на линии досылания; — закрыть крышку ствольной коробки; — снять пулемете предохранителя; — удерживая затворную раму за рукоятку перезаряжания, нажать левой рукой на спусковой крючок и плавно подать затворную раму вперед; — вынуть патронную коробку из коробкодержателя. 14.17.6. СНЯТИЕ С УСТАНОВКИ ХОМУТА С ПРИЦЕЛОМ Для снятия хомута вместе с прицелом с установки необходимо: — вывинтить стержень 2 (рис. 92) за барашек 8 из втулки 3 кронштейна люльки; — разъединить штепсельный разъем 4 (рис. 89) лампы подсветки 3 прицела. 14.17.6. СНЯТИЕ ПУЛЕМЕТА С УСТАНОВКИ Для снятия пулемета с установки необходимо: — разъединить штепсельный разъем электроспуска с штепсельным разъемом погона; — ручку управления 22 (рис. 87) максимально подать на себя, зафиксировать ее левой рукояткой 2/; — придать люльке наибольший угол возвышения, освободив левую рукоятку 21, а ручку управления 22 подать на себя до отказа и зафиксировать ее в этом положении левой рукояткой 2/; — опустить вниз кожух 15, предварительно нажав на флажок 14 оси защелки, при этом зуб стержня 16 выйдет из бобышки каретки /2; — продвинуть пулемет назад до выхода направляющих каретки из направляющих основания люльки;
— поднять пулемет и окончательно вместе с кареткой вынуть назад; — отделить пулемет от каретки, вынув осп 13 крепления пулемета; — поставить каретку 12 вместе с осями 13 на люльку и подвинуть каретку вперед до входа направляющих каретки в направляющие основания люльки; — поднять вверх кожух 15 и зафиксировать его защелкой флажка 14. 14.17.7. УКАЗАНИЯ МЕР БЕЗОПАСНОСТИ При эксплуатации установки необходимо выполнять следующие требования по мерам безопасности: а) не допускать к работе номеров расчета, не усвоивших свои обязанности и требования по мерам безопасности; б) перед стрельбой тщательно подготовить установку, как указано в подразд. 14.17.1 и 14.17.3; в) не заряжать пулемет при наличии в стволе посторонних предметов; г) для снаряжения патронных коробок использовать только подготовленные для стрельбы и проверенные звенья и патроны; д) всегда помнить, что после окончания стрельбы (после отстрела части патронной ленты) патрон остается на линии досылания; е) не открывать крышку приемника пулемета в случае осечки или другой задержки без предварительного перезаряжания, перезаряжание производить ручкой перезаряжания; ж) разряжать пулемет только в том случае, когда подвижные части пулемета поставлены на шептало, а пулемет — на предохранитель; з) запрещается спуск подвижных частей с шептала при открытой крышке приемника; и) перед снятием пулемета с установки необходимо: убедиться, что пулемет разряжен и подвижные части находятся в крайнем переднем положении; поставить на тормоз качающуюся часть установки, придав ей максимальный угол возвышения. Запрещается снимать пулемет при незаторможенной качающейся части; к) при заряжании и разряжании пулемета, а также при устранении задержек запрещается стоять впереди ствола пулемета; л) при заряжании, разряжании, устранении задержек и при производстве других работ с установкой пли пулеметом питание электроспуска обязательно должно быть отключено, а качающаяся часть установки должна быть поднята вверх на максимальный угол и заторможена, при этом ствол пулемета должен быть направлен в безопасную зону; м) при работе установки с закрытыми люками необходимо включить фильтровентиляционную установку (см. подразд.
14.20) и открыть клапан 5 (рис. 86) для вентиляции газов: н) запрещается вести стрельбу в направлении на левый бор г и корму при видимости через прицел частей и принадлежностей транспортера. 14.17.8. ПРОВЕРКА РАБОТЫ УСТАНОВКИ И ПРИВЕДЕНИЕ ЕЕ К НОРМАЛЬНОЙ РАБОТЕ а) Проверка установки и приведение ее к нормальной работе производятся на отремонтированных установках и установках, при боевой эксплуатации которых обнаружены систематические отклонения точек попадания пуль от точек прицеливания. б) Пристрелке подвергается полностью собранная установка с закрепленными на ней пулеметом и прицелом. Применение сменных прицелов, используемых только для пристрелки, не допускается. В случае замены пулемета или прицела на установке пристрелка должна быть повторена. в) Запрещается проводить пристрелку при неблагоприятных метеорологических условиях (в дождь, туман, снегопад) и при наземном ветре, боковая составляющая которого превышает 5 м/с. г) Пристрелку производить с твердой грунтовой (бетонной) горизонтальной огневой позиции. д) Патроны, применяемые при пристрелке, должны быть соответственно одной партии и года изготовления. Перед пристрелкой патроны должны быть выдержаны в течение не менее 48 ч в одинаковых условиях при температуре близкой к 16°С, но во всяком случае не выходящей за пределы от 5 до 25°С. е) Перед пристрелкой машину установить на огневой позиции с помощью уровня так, чтобы уклон машины на борт не превышал 30'. Уровень установить на верх башенной установки, при этом продольная ось уровня должна совпадать с осью, проведенной между осями отверстий под рым-болты, а центр уровня должен совпадать с осевой линией, проведенной на */2 расстояния между осями отверстий под рым-болты. Вращающаяся часть установки должна быть поставлена на стопор (рис. 85) для походного положения, а сам стопор 1 должен быть застопорен болтом 6 и гайкой 5. После пристрелки стопор расстопорить и болт законтрить гайкой. ж) Перед пристрелкой выверить нулевую линию прицеливания по мишени. На отремонтированных установках проверка установки и приведение ее к нормальной работе производятся по пристрелочной мишени (рис. 138), в процессе эксплуатации — по выверочно-пристрелочной мишени (рис. 140). Координаты А и В указаны в формуляре на башенную установку ТКБ-01-1.
Мишень Марка прицела Рис. 139. Совмещение марки прицела с мишенью точка наводка
Пристрелочную или выверочно-пристрелочную мишень устанавливать на расстоянии 100+1 м от дульного среза ствола отвесно и перпендикулярно к оси канала ствола. Вертикаль на мишени проверить по отвесу. Наводку ствола осуществлять с помощью трубки холодной телыю сняв пламегаситель). Наводку по горизонтали обеспечить перемещением мишени, а по вертикали — с помощью ручки управления 22 (рис. 87) и левой рукоятки 21. После наводки ствола затянуть качающуюся часть установки левой рукояткой 21. Наводить прицел по центральной марке, как указано на рис. 139, вращением шара прицела в шаровом гнезде основания хомута прицела, предварительно ослабив винты 1 (рис. 92). После наводки винты 1 затянуть. з) Пристрелку вести по выверочно - пристрелочной мишени, установленной в пристрелки ТХП-7-195 (предвари- Рис. 140. Выверочно-пристрелочная мишень (размеры в мм) процессе выверки нулевой линии прицеливания. и) Стрельбу вести непрерывным огнем тремя очередями по десять выстрелов в каждой, предварительно установив гильзо-звеньесборник. После каждой очереди проверять сбиваемость прицела. В случае сбиваемое™ прицела пристрелка прекращается до устранения причин сбиваемое™. После каждой очереди следует определять графически положение средней точки попаданий (СТП) и радиус круга, описанного из средней точки попадания, вмещающего 80% пробоин (8 из 10) — Rao. к) Работа установки считается нормальной, если средний Rao из трех очередей не превышает 15 см, а отклонение СТП (среднее по трем очередям) от контрольной точки попаданий выверочно-пристрелочной мишени (ТП) в любую сторону не превышает 6,5 см по вертикали, 5,5 см по горизонтали. л) Если отклонение СТП от ТП превышает допускаемое, то на выверочно-пристрелочную мишень наносится новая точка наводки оружия (ТНО), смещенная от прежней на величину фактического отклонения СТП от ТП, но в противоположные стороны по горизонтали и по вертикали.
После этого выверка нулевой линии прицеливания и пристрелка повторяются с новой точкой паводки оружия. м) В случае получения положительных результатов координаты А и В заносятся в выверочно-пристрелочную мишень, приведенную в формуляре на башенную установку ТКБ 01-1. и) После снятия с установки прицела вместе с хомутом прибора необходимо при постановке ею па место произвести выверку нулевой линии прицеливания по выверочно-пристрелочной мишени (рис. 140) с помощью трубки холодной пристрелки. Перед пристрелкой необходимо выполнить осадочную очередь серией в десять выстрелов. Графическое определение положения средней точки попадания (СТП) по десяти и другому количеству выстрелов смотреть в Наставлении по стрелковому делу. 14.17.9. МЕТОДИКА ПРОВЕРКИ ИСПОЛНИТЕЛЯ Перед приведением установки к нормальной работе необходимо проверить исполнителя на точность наведения. Рис. 141 Указка для проверки исполнителя (размеры мм) Порядок проверки исполнителя. После стопорения вращающейся части установки согласно п. «е» подразд. 14.17.8 необходимо: — навести прицел на центр щита, расположенный от машины на расстоянии 100± 1 м, и затянуть винты крепления прицела; — проверяющий исполнителя перемещает указку (рис. 141) по щиту до совмещения отверстия в указке с вершиной треугольника марки прицела, после чего проверяющий по сигналу от проверяемого через отверстие в указке наносит точку визирования на щите; — с одной наводки прицела путем перемещения указки нанести три точки визирования; если точки визирования вписываются в квадрат 10X10 мм, исполнитель допускается к работе. 262
14.18. ЭКСПЛУАТАЦИЯ УСТАНОВКИ ПУЛЕМЕТА НСВТ-12,7 14.18.1. УКАЗАНИЯ МЕР БЕЗОПАСНОСТИ При эксплуатации установки необходимо! — соблюдать меры безопасности, которые приведены в инструкциях по эксплуатации пулемета и прибора наведения; — в походном положении установку стопорить эксцентриковым стопором 18 (рис. 142); — заряжать, разряжать, устранять задержки необходимо при выключенном питании электроспуска; качающуюся часть установки поднять вверх на угол 35—40°; — снимать разогретый ствол за рукоятку, пользуясь рукавицами из одиночного ЗИП. 14.18.2. ПОДГОТОВКА УСТАНОВКИ К РАБОТЕ Подготовку к работе пулемета и прибора наведения выполнять согласно инструкциям по их эксплуатации. Для подготовки установки к работе необходимо: — снять чехол с установки, свернуть его и закрепить ремнем на крышке 6 (рис. 118) люка колпака; — уложить снаряженные ленты в коробки в соответствии со схемой укладки, указанной на таблице, прикрепленной па внутренней стороне крышки коробки; — снаряженные коробки установить в кормовом отсеке и закрепить защелками. Если пулемет находится не па установке, необходимо его установить и закрепить на установке, для чего: — придать люльке рукояткой 10 (рис. 142) угол возвышения, при котором чека 19 будет находиться против отверстия в правой лодыге; — через отверстие в лодыге вынуть чеку 19 из люльки, предварительно расшплиптовав чеку; — установить пулемет выступами в направляющие пазы люльки; — установить электроспуск выступами в направляющие пазы тыльной части пулемета; — закрепить пулемет и электроспуск на заднем приливе люльки чекой /9; — установить пружинный шплинт в отверстие чеки 19; — соединить штепсельный разъем электроспуска со штепсельным разъемом на установке, предварительно сняв защитный колпак со штепсельного разъема на колпаке и установив его на специальную резьбовую бойку па левой лодыге. Снимать пулемет с установки в обратной последовательности. Подготовленная установка может находиться в походном пли рабочем положении.
14.18.3. ПОРЯДОК ПЕРЕВОДА УСТАНОВКИ ПОХОДНОЕ ПОЛОЖЕНИЕ Для перевода установки в походное положение необходимо: — произвести контрольный спуск; — проверить, выключен ли выключатель 16 (рис. 142) питания электроспуска (при включенном питании горит контрольная лампа /7); — развернуть установку в сторону кормы так, чтобы ось ствола пулемета была горизонтальна и совпала с осью антенного ввода (при этом токосъемник должен находиться в разрыве токоподводящей шины погона); — застопорить установку эксцентриковым стопором 18, при этом зубья сектора стопора должны входить во впадины зубчатого венца погона; — установить вертикально спинку сиденья оператора; — установить рукоятку 10 в походное положение (нажать на втулку 7 вниз, повернуть рукоятку 10 в горизонтальное положение и отпустить втулку 7); — надеть чехол на установку. 14.18 4. ПОРЯДОК ПЕРЕВОДА УСТАНОВКИ В РАБОЧЕЕ ПОЛОЖЕНИЕ Для перевода установки из походного в рабочее положение необходимо: — снять чехол с установки; — взять в кормовом отделении одну из снаряженных коробок, установить в кронштейн на колпаке установки и закрепить двумя защелками; — открыть крышку коробки, достать конец снаряженной лепты и заправить ее в пулемет согласно инструкции по эксплуатации пулемета, закрыть крышку коробки; — открыть защитную крышку 5 (рис. 142) прибора наведения; — сложить спинку сиденья оператора и сесть на нее; — включить выключатель 9 батареи; — включить выключатель 8 ТКБ на щитке командира; — установить рукоятку 10 в рабочее положение (потянув втулку 7 в сторону рукоятки 10, установить рукоятку 10 в вертикальное положение н отпустить втулку 7); — развернуть установку по ходу транспортера, предварительно расстопорив ее стопором 18. 14.18.5. ПОРЯДОК РАБОТЫ НА УСТАНОВКЕ Для ведения работы па установке необходимо: — включить выключатель 16 (рис. 142) питания электроспуска, при этом должна загореться контрольная лампа 17 на корпусе механизма горизонтального наведения;
— при работе по неподвижным целям включить выключатель 15 на механизме горизонтального наведения, а при работе по движущимся целям выключатель 15 выключить; — механизмами горизонтального и вертикального наведения навести установку на цель (порядок работы с прибором наведения изложен в инструкции по эксплуатации этого прибора) ; — нажать скрбу 13 электроснуска па рукоятке механизма горизонтального наведения; — работу следует проводить в соответствии с требованиями инструкции по эксплуатации пулемета, а мешок 4 для сбора звеньев освобождать по мере его наполнения. Работа на всех углах возвышения ведется из положения сидя. Положение окуляра прибора наведения пулемета к глазу оператора постоянно при всех углах возвышения установки. После окончания работы установки необходимо: — выключить выключатель 16 питания электроспуска; — выключить выключатель 15 питания электромуфты; — выключить выключатель 8 ТКБ на щитке командира; — разрядить пулемет в соответствии с требованиями инструкции по эксплуатации пулемета; — выполнить техническое обслуживание пулемета согласно инструкции по его эксплуатации. 14.18.6. ПРОВЕРКА РАБОТЫ УСТАНОВКИ И ПРИВЕДЕНИЕ ЕЕ К НОРМАЛЬНОЙ РАБОТЕ Проверка работы установки и приведение ее к нормальной работе проводятся на всех вновь изготовленных и отремонтированных установках, а также на установках, при эксплуатации которых обнаружены систематические отклонения от нормальной работы. Приведению к нормальной работе подвергается полностью собранная установка с закрепленными за ней пулеметом и прибором наведения, номера которых указаны в формуляре на установку. Применение сменных пулеметов и прибора наведения, используемых только для приведения к нормальной ра боте, не допускается. В случае замены пулемета или прибора наведения приведение к нормальной работе должно быть выполнено вновь. Запрещается приводить к нормальной работе при неблагоприятных метеорологических условиях (в дождь, туман, снегопад) и при наземном ветре, боковая составляющая которого превышает 5 м/с. Приведение к нормальной работе выполнять на бетонной горизонтальной площадке. Патроны, используемые для приведения к нормальной работе, должны быть очной партии изготовления. Предварительно они должны быть выдержаны не менее 48 ч в одинаковых 26G
условиях при температуре, не выходящей за пределы от 5 до 25°С. Перед приведением установки к нормальной работе машина должна быть установлена на площадке так, чтобы наклон на борт нс превышал 30'. Проверять наклон квадрантом, уста- 400 400 Рис. 143. Испытательная мишень (размеры в мм) навлнваемым на площадку 3 (рис. 142) пулемета. Допускается устранение наклона за счет перемещения груза. Затем следует выверить нулевой штрих сетки прибора наведения по мишени. Приведение к нормальной работе проводится по испытательной мишени (рис. 143), проверка при помощи ТХП — по выверочной мишени (рис. 144). Координаты А и В указаны в формуляре. Испытательную или выверочную мишень устанавливать на расстояние 100+1 м от торца ствола пулемета. Вертикаль на мишени проверять по отвесу. Порядок выверки нулевого штриха сетки прибора наведения по мишени следующий: — установить в канал ствола № 1 пулемета трубку ТХП; — включить выключатель 9 (рис. 142) батарей; — включить выключатель 8 ТКБ;
— совместить перекрестие ТХП с ТНО (точка наводки оружия) на мишени по командам наблюдающего в ТХП (по вертикали— с помощью рукоятки 10, по горизонтали — рукоятки 12); — зафиксировать в таком положении установку по горизонту с помощью электромуфты, включив выключатель 14 ВЫВЕРКА; — посмотреть в окуляр прибора наведения, при этом положение нулевого штриха сетки прибора наведения должно совпадать с перекрестием TH (точка наведения прибора наведения) на мишени; если такого совпадения нет, добиваться его достижения механизмами выверки прибора наведения по горизонтали винтом, находящимся под крышкой 2, а по вертикали— винтом 6, предварительно расконтрив их; по окончании выверки винты законтрить, крышку установить на место; — наблюдая через ТХП и прибор наведения, убедиться, что при контренин механизмов выверки не произошла сбиваемость (в ходе выверки перемещение по машине груза и экипажа не допускается); — снять трубки ТХП; — выключить выключатель 14 ВЫВЕРКА. Приведение к нормальной работе вести по мишени, установленной в процессе выверки нулевого штриха. Работу вести с включенным выключателем 15 электромуфты тремя непрерывными группами по десять выстрелов в каждой. Перед началом необходимо выполнить осадочную работу группой из десяти выстрелов. Наведение нулевого штриха сетки прибора наведения на перекрестие TH мишени перед каждой группой производить однообразно, например по горизонтали слева направо, по вертикали— снизу вверх. После каждой группы проверять сбиваемость нулевого штриха прибора ндведения с помощью трубки ТХП. При наличии сбиваемое™ приведение к нормальной работе не ведется до устранения причин сбиваемости. Для каждой группы определять: — положение средней точки попадания (СТП); — вместимость 80% попаданий (/?8о) в круге радиусом не более 600 мм. Для определения средней точки попадания десяти попаданий надо отсчитать справа или слева пять попаданий, разделить расстояние между пятым и шестым попаданиями пополам и провести вертикальную линию; затем отсчитать сверху или снизу пять попаданий, разделить расстояние между пятым и шестым попаданиями пополам и провести горизонтальную линию. Точка пересечения вертикальной и горизонтальной липин и будет средней точкой попадания (СТП) группы. По трем СТП групп определяется средняя СТП трех групп, которая находится в точке пересечения медиан треугольника, вершинами которого являются СТП каждой группы.
Работа установки считается нормальной, если СТП трех групп входит в круг диаметром 400 мм с центром в ТП (точка попадания), а радиус /?8о каждой из трех групп равен или * меньше 600 мм. Если отклонение СТП и ТП превышает допустимое, то на мишень наносится новая точка наводки ТНО, смещенная от прежней на величину отклонения фактической СТП от ТП, но в противоположные стороны по вертикали и горизонтали. После этого выверка пулевого штриха сетки прибора наведения и приведение установки к нормальной работе повторяются с новой точки наводки ТНО. При получении положительных результатов координаты А и В заносятся в формуляр, а в случае отрицательных — устанавливаются и устраняются причины, после чего проводятся повторные испытания в соответствии с методикой, изложенной выше. При проверке установки при помощи ТХП по выверочной мишени (рис. 144) установка считается приведенной к нормальной работе, если ТНО находится в круге диаметром 500 мм с координатами центра круга А и Б 14.19. ЭКСПЛУАТАЦИЯ ОТОПИТЕЛЬНОВЕНТИЛЯЦИОННОЙ УСТАНОВКИ Пускать отопительно-вентиляционную установку следует в такой последовательности: — открыть крышки впускного и выпускного патрубков на корпусе транспортера ключом запора механика-водителя; — поворотом рукоятки крапа включить подачу топлива к отопителю;
— поставить рычажок включения установки в положение ОТОПЛЕНИЕ; — включить свечу накаливания, при этом контрольная спираль на щитке отопителя должна накалиться до ярко-красного цвета; — по истечении 30 с включить электродвигатель на частичный режим работы, выдвинув кнопку на щитке отопителя в положение до второго щелчка (до отказа); — через 30 с после включения электродвигателя выключить свечу накаливания; — если в течение 3 мин после включения электродвигателя розжиг установки не произойдет, процесс пуска следует повторить (начало работы установки проверять по загоранию зеленой лампочки па щитке отопителя); — по истечении 10—15 мин (не раньше) работы установки на частичном режиме по достижении устойчивого горения переключить установку на полный режим работы путем перевода электродвигателя на полные обороты, вдвинув кнопку на щитке отопителя до первого щелчка (среднее положение); при минусовых температурах (ниже —20°С) в случае, когда электродвигатель на частичном режиме в момент пуска развивает недостаточные обороты, разрешается пуск на полном режиме; — перед выключением установки перекрыть подачу топлива и, поработав 2—3 мин на режиме «Отопление», рекомендуется перевести установку на режим «Вентиляция», повернув рычажок в противоположную сторону. После того как погаснет контрольная лампочка, выключить электродвигатель, вдвинув кнопку на щитке отопителя до отказа. После выключения установки последующий ее пуск разрешается через 10—15 мин, т. е. после охлаждения установки. 14.20. ЭКСПЛУАТАЦИЯ ФИЛЬТРОВЕНТИЛЯЦПОПНОИ УСТАНОВКИ (ФВУ) Фильтровептиляциопная установка применяется в режиме вентиляции (для подачи свежего воздуха в обитаемые отделения транспортера в обычных условиях эксплуатации) и в режиме фильтрации (только для очистки воздуха от ОВ, РП и БА). Работа установки в режиме вентиляции в этих условиях запрещается. Использовать фильтр-поглотитель для очистки запыленного воздуха при движении транспортера по пыльным дорогам запрещается. Допускается кратковременное включение ФВУ через фильтр-поглотитель при проверке их работы, при этом следить, чтобы в фильтр-поглотитель не попали влага, топливо, масло и пр. Включаться ФВУ должна при работающем двигателе во избежание разрядки аккумуляторных батарей.
14.20.1. РЕЖИМ ВЕНТИЛЯЦИИ Для включения ФВУ в режим вентиляции необходимо: — поставить рукоятку 21 (рис. 79) вправо до упора с помощью ключа запора или ключа гаечного S = 22 мм, т. е. закрыть фильтр; — открыть крышку 7 забора воздуха рукояткой 5; — включить нагнетатель выключателем иа щитке приборов механнка-води геля. В этом случае воздух забирается снаружи, очищается в инерционном фильтре нагнетателя и подается в корпус машины, минуя фильтр ФПТ-200М. 14.20.2. РЕЖИМ ФИЛЬТРАЦИИ Для включения ФВУ в режим фильтрации необходимо: — закрыть все крышки люков транспортера: — включить фильтр 14 (рис. 79) рукояткой 21, повернув ее по стрелке до упора; — открыть крышку 7 забора воздуха рукояткой 5; — включить нагнетатель выключателем на щитке приборов механика-водителя. В этом случае воздух нагнетается в корпус машины через фильтр. Подпор воздуха должен быть не менее 20 кгс/м2 (контролируется прибором ДТНМП-100-125).
15. ХАРАКТЕРНЫЕ НЕИСПРАВНОСТИ И МЕТОДЫ ИХ УСТРАНЕНИЯ Ниже приведены возможные неисправности по агрегатам, узлам, приборам п управлению транспортера. В случае возникновения неисправностей узлов, систем и агрегатов транспортера необходимо проверить, выполнены ли рекомендации инструкции по эксплуатации. Определить причину неисправности следует с наиболее простых и легких проверок, переходя при необходимости к более сложным. В полевых условиях рекомендуется агрегатный метод ремонта (замена узлов, агрегатов). Мелкие неисправности могут устраняться водителем с помощью индивидуального комплекта ЗИП. Более сложные неисправности устраняются с использованием группового комплекта ЗИП, а также оборудования и приспособлений ремонтной мастерской. Перечень наиболее часто встречающихся или возможных неисправностей Наименование неисправности. внешнее проявление и дополнительные признаки Вероятная причина Метод устранения Силовая установка 1. Двигатель не пускается Засорение фильтрующих элементов топливных фильтров Загрязнение фильтра сапуна Наличие воздуха в топливной системе Стартер не проворачивает коленчатый вал или вращает его очень медленно Заменить фильтрующие элементы Промыть и продуть фильтры Прокачать систему, устранить негерметичность 1. Проверить степень заряженностн аккумуляторных батарей, при не-обходимоггн зарядить.
Наименование неисправности, внешнее проявление и дополнительные признаки Вероятная причина Метод устранения 2. Двигатель не развивает мощности, дымит 3. Двигатель стучит 4. Пониженное давление масла в системе смазки t Загрязнение воздухоочистителя Рычаг управления регулятором не доходит до болта максимальной частоты вращения Неплотность клапанов газораспределения Нарушение регулировки или засорение форсунки Ранний впрыск топлива в цилиндры Недостаточен уровень масла в поддоне Неисправен манометр Повышенная температура масла Разжижение масла топливом из-за негерметичности трубопровода слива топлива из форсунок Неправильная установка прокладки фланца центробежной очистки масла 2. Проверить контакты в цепи питания стартера, при необходимости очистить и затянуть клеммы проводов 3. Проверить' состояние контактов реле стартера, при наличии подга-ра зачистить контакты. 4. Проверить контактные соединения на аккумуляторной батарее, если необходимо — зачистить Промыть кассеты в дизельном топливе и промаслить Проверить и отрегулировать Отрегулировать тепловые зазоры клапанного механизма Снять, отрегулировать форсунку, при необходимости промыть и прочистить ее Отрегулировать угол опережения впрыска Проверить, при иеоб ходимости заправить Заменить исправным Неисправность системы охлаждения Устранить подтекание топлива Перевернуть прокладку
Наименование неисправности, внешнее проявление и дополнительные признаки Вероятная причина Метод устранения Негерметичность соединений маслопроводов Проверить соединения, особенно прокладки фильтров, отводящих и всасывающей трубок масляного насоса и прокладку фланца центробежной очистки масла, при необходимости заменить прокладки, подтянуть соединения 5 Повышенная темпе- Недостаточен уровень Проверить, при пеоб- ратура жидкости в снс- охлаждающей жидкости ходимости заправить теме охлаждения Неисправен термометр или термостат Слабое натяжение или обрыв ремня водяного насоса Загрязнение внешней Заменить термометр или термостат Натянуть ремень, при необходимости заменить Очистить сердцевину поверхности сердцевины радиатора или чрезмерное отложение накипи в системе охлаждения радиатора, промыть систему охлаждения 6. В систему смазки Недостаточная затяж- Подтянуть гайки креп- попадает вода ка гаек крепления головок цилиндров леи ня головок цилиндров Разрушение прокладок головок цилиндров Недостаточная затяжка стакана форсунки Подтекание по резиновым кольцам гнльз цилиндров Заменить прокладки Подтянуть гайку крепления стакана форсунки Заменить неисправные уплотнительные кольца 7. Стук автоматичес- Отсутствие смазки в Заполнить корпус муф- кой муфты опережения корпусе муфты ты смазкой впрыска топлива 8. Стартер вращается с большей скоростью, Поломка зубьев венца маховика Заменить маховик но не проворачивает коленчатый вал 9. Шестерня привода стартера систематически Сильно забиты торцы зубьев венца маховика Заменить маховнк не входит в зацепление Нарушена регулировка Отрегулировать реле с венцом маховика при реле стартера стартера нормальной работе реле Заедание шестерни Очистить шлицы от стартера на валу из-за некачественной смазки грязи и смазать консистентной смазкой
Наименование неисправности, внешнее проявление и дополнительные признаки Вероятная причина Метод устранения 10. При работе двигателя амперметр не показывает зарядного тока Пробуксовка ремней привода генератора Неисправен вольтамперметр Неисправность электропроводки Неисправность реле-регулятора Отрегулировать натяжение ремней Проверить, при необходимости заменить вольтамперметр Найти с помощью контрольной лампочки повреждение и устранить неисправность Отрегулировать или заменить реле-регулятор Система подогрева двигателя 11. Подогреватель не начинает работать, отсутствует подача топлива Засорение топливного фильтра 5 (рис. 152) электромагнитного клапана Не срабатывает электромагнитный клапан (не слышен щелчок при переводе выключателя в положение РАБОТА) Засорена форсунка (нет подачи топлива в камеру сгорания) Промыть фильтр в бензине или чистом дизельном топливе и продуть сжатым воздухом или заменить новым Проверить плотность затяжки наконечников на клеммах, исправность предохранителя ПВ-2Л блока защиты БЗ-20 и при необходимости заменить, а также проверить заряд аккумуляторных батарей Сиять электромагнитный клапан. Вывернуть и разобрать форсунку, отверстие в камере и центральное отверстие в корпусе промыть бензином или чистым дизельным топливом, продуть сжатым воздухом. Собрать форсунку, ввернуть .в электромагнитный клапан и проверить распыл топлива, не устанавливая клапан на горелку котла подогревателя (см. 17.1.3). Применение металлических предметов не допускается
Наименование неисправности. внешнее проявление и дополнительные Вероятная причина Метод устранения признаки Наличие воздуха в топливной магистрали Не работает электродвигатель нагнетателя Не работает электродвигатель нагнетателя на пусковых частотах вращения Отвернуть нагнетающую топливную тру бку, выпустить воздух и с появлением топлива из насоса подсоединить трубку Проверить цепь электродвигателя с помощью контрольной лампочки, нажать кнопку предохранителя ПР-2Б на щитке подогревателя, проверить затяжку наконечников на кчеммах Проверить цепь электродвигателя, затяжку наконечников на клеммах; проверить и, если необходимо, подзарядить аккумуляторные батареи для обеспечения пуска подогревателя. В аварийных случаях допускается включение электродвигателя на 1— 2 с в положение РАБОТА с последующим резким переключением в положение ПУСК 12. Не работает свеча накаливания Отсутствует контакт наконечников провода к свече Сгорела спираль индикатора на щитке подогревателя Перегорела спираль накаливания свечи Недостаточный накал спирали накаливания свечи Проверить затяжку наконечников на клеммах Заменить индикатор, взяв его из ЗИП Заменить свечу Проверить затяжку наконечников на клеммах. проверить и, если необходимо, подзарядить аккумуляторные батареи 13 Наличие хлопьев сажи в отработавших газах) Мала частота вращения электродвигателя । • Подзарядить аккумуляторные батареи и проверить исправность электродвигателя
Наименование неисправности внешнее проявление и дополнительные Вероятная причина Метод устранения признаки Форсунка не распиливает топлива Образовался нагар в камере сгорания Снять и разобрать форсунку, отверстие в камере и центральное отверстие в корпусе промыть бензином или чистым дизельным топливом, продуть сжатым воздухом и проверить распыл топлива, как указано выше Разобрать, удалить нагар, промыть и продуть сжатым воздухом 14. Продолжительный Малая подача топли- Очистить фильтр элек- прогрев двигателя ва: засорен фильтр электромагнитного клапана и форсунки, негерметичны топливопроводы; закоксован распылитель форсунки или изменена регулировка редукционного клапана топливного насоса Мала частота вращения электродвигателя тромагнитного клапана или заменить, прочистить форсунку и устранить негерметичность топливопроводов Подзарядить аккумуляторные батареи Трансмиссия и приводы управления 15 Сцепление пробук- Отсутствует свободный Отрегулировать сво- совывает ход муфты выключения сцепления Износ фрикционных накладок Сожжены или пропитаны маслом фрикционные накладки ведомого диска бодный ход муфты выключения сцепления (см. 17.2.6) Заменить фрикционные накладки или ведомые диски в сборе и выполнить полную регулировку сцепления Заменить фрикционные накладки или ведомые диски в сборе и выполнить полную регулировку сцепления 16. Неполное выключе- Механизм выключения Проверить регулировку ние сцепления сцепления не обеспечивает полного хода муфты выключения Коробление нажимного диска Большой зазор между упорным кольцом оттяжных рычагов и нажимным подшипником и установку педали Заменить нажимной диск Отрегулировать свободный ход муфты выключения сцепления
Наименование неисправности, внешнее проявление и дополнительные признаки Вероятная причина Метод устранения 17. Передачи переключаются с трудом. Шум при переключении передач 18. Самовыключение I—II, III—IV, V—VI передач, не выключается одна из спаренных передач 19. Течь масла из-под фланцев трубок системы смазки главной передачи 20 Выбрасывание масла через сапун главной передачи 21. Повышенный нагрев бортовых передач 22. Подтекание масла в местах соединений картера с крышками или через уплотнения бортовой передачи 23. Повышенный износ зубьев карданных валов и зубчатых муфт 24. Транспортер «уводит» в сторону при положении рычагов в исходном положении 25. Буксование фрикционов механизма поворота, нарушение управляемости 26. Неполное выключение фрикционов (фрикцион «ведет»), при этом изделие плохо разворачивается Неполное выключение сцепления Нарушение регулировки привода управления Слабая затяжка крепления фланцев Зависание клапана откачивающей секции масляного насоса Избыток или недостаток масла Загрязненное масло Ослабление крепления Разрыв диафрагмы, уплотнительного резинового кольца, пригорание, коробление упорного н нажимного колец уплотнения Ослабление креплений зубчатых муфт к фланцам бортовых передач и главной передачи Ослабление крепления бортовой передачи к прнвалочнон плоскости корпуса машины Ослабление креплений главной передачи Неправильная установка главной передачи на раме Отсутствие свободного хода хвостовика поводковой коробки Отсутствие свободного хода поводковой коробки Большой свободный ход поводковой коробки Коробление дисков или заедание их в пазах барабанов См. п. 16 неисправностей Отрегулировать (см. 17.2.6) Подтянуть Заменить масляный насос Проверить уровень, дозаправить или слить масло Масло заменить Подтянуть крепление Разобрать торцовое уплотнение бортовой передачи, негодные детали заменить Подтянуть крепления Подтянуть крепление Подтянуть ослабевшие крепления Проверить центровку карданных валов Отрегулировать свободный ход поводковой коробки То же » Покоробленные диски заменить, при заедании дисков зачистить зубья дисков и барабанов
Наименование неисправности, внешнее проявление н дополнительные признаки Вероятная причина Метод устранения 27. Произвольное самоторможение и чрезмерное нагревание тормозных лент механизмов поворота или остановочных тормозов 28. Плохое торможение транспортера Недостаточны зазоры между лентами и барабанами остановочных тормозов Большой зазор между роликом и кулаком мостиков управления Увеличенные зазоры между лентами и барабанами остановочных Отрегулировать (см 17.2.6) То же » 29. Повышенное или пониженное давление масла в главной передаче тормозов Неправильные показания манометра Пониженный уровень масла Засорены трубопроводы, масляный фильтр При низких температурах загустевание масла Проверить манометр, при необходимости заменить Проверить, при необходимости долить Продуть трубопроводы, масляный фильтр промыть Прогреть масло в баке главной передачи (см. 13.4.3) Ходовая часть 30. Транспортер при движении на ровных участках «уводит» в сторону 31. Повышенный износ подшипников в ступицах опорных катков и направляющих колес 32. Жесткие удары балансиров катков в упоры при движении по ухабистым дорогам Неодинаковый износ пальцев и звеньев гусениц правой и левой стороны, а также венцов-ведущих колес Отсутствие или недостаток масла в ступицах опорных катков и направляющих колее Недостаточное количество жидкости в гидроамортизаторе Поломка деталей гидроамортизатора Расшить гусеницы иа несколько частей и собрать вчовь так, чтобы часть траков правой гусеницы была установлена иа левую сторону, а левой — на правую, при этом головки пальцев гусеницы должны находиться с внешней стороны, а также поменять местами ведущие колесе (только для машин с гусеницей с открытым шарниром) Проверить, при необходимости дозаправить, изношенные подшипники заменить Проверить, прн необходимости дозаправить Снять амортизатор, проверить состояние деталей, негодные заменить
Наименование неисправности, внешнее проявление н дополнительные признаки Вероятная причина Метод устранения Пневматическая система 33. Давление в пневматической системе выше 7,9 или ниже 6 кгс/см2 34. Давление в системе поднимается очень медленно Неисправен регулятор давления 35. Появление шума и стука при работе компрессора 36. Утечка воздуха по плоскости разъема корпуса тормозного крана и его крышек Утечка воздуха через соединительную арматуру и трубопроводы Утечка воздуха через разгрузочные клапаны компрессора Забита нагаром разгрузочная полость в головке компрессора Закоксовалнсь поршневые кольца Увеличены зазоры между подшипниками шатунов и шейками коленчатого вала Повреждена диафрагма Негерметичность деталей краиа в месте сопряжения их с диафрагмой Отрегулировать или заменить регулятор давления При обнаружении тре--щин трубопроводов заменить их, подтянуть накидные гайкн Очистить и промыть клапаны, при наличии раковин притереть клапаны Снять головку, промыть керосином и удалить нагар Вынуть поршни и промыть кольца в керосине Заменить вкладыши шатунов Заменить диафрагму Осмотреть диафрагму, промыть трущиеся поверхности /щросииом, протереть мягкой ветошью и смазать смазкой Литол-24 Отопительно-вентиляционная установка 37. Установка не пускается Мало напряжение аккумуляторных батарей Неисправна свеча или контрольная спираль Плохой контакт с «массой» или обрыв в цепи Спираль свечи накаливания замыкает на «массу» Выключатель ВН-45М неисправен Не поступает топливо Подзарядить батареи Проверить, заменить Проверить цепь и устранить обрыв в цепи Устранить причину взмывания Проверить, исправить Проверить наличие топлива в системе, герметичность соединений топливопроводов, исправность насоса, работу муфты
Наименование неисправности, внешнее проявление и дополнительные признаки Вероятная причина Метод устранения Плохое распиливание топлива Проверить положение изогнутой трубки относительно распылителя (зазор между торцом трубки и распылителем должен быть 1,5 мм) 38 Электродвигатель Выскочила красная Устранить причину пе- ие вращается кнопка реле отключате-ля при перегреве Заклинен вал элек- тромотора Изношены щетки регрева, нажать кнопку Проверить, устранить причину заклинивания Заменить 39. Установка перегревается Забиты трубы, подводящие свежий воздух Перекрыты отверстия для выхода подогретого воздуха или имеется сопротивление выходу воздуха Прочистить трубы Прочистить воздуховоды, открыть отверстия 40. Установка шумит при работе Задевание внлкн муфты, вентилятора или распылителя-нагнетателя о трубку Устранить задевание 41. Взрывное горение Большое сопротивление Очистить трубку вы- (отопитель гудит) выпуску пуска 42. Установка дымнт Мала частота вращения электродвигателя Топливопроводы частично засорены или ие-герметичны Насос неисправен Проскальзывает муфта сцепления Образовался иагар в камере сгорания Проверить и устранить неисправность Очистить топливопроводы, проверить герметичность Осмотреть иасос Разобрать, устранить причину проскальзывания Разобрать, удалить нагар, прочистить теплообменник 43. Попадание отрабо- Забита дренажная Прочистить дренаж. тавших газов в подогре- трубка и излишки топ- сменить асбестовый шнур ваемый воздух или в лива просачиваются в кольца остова или вы- обитаемое отделение теплообменник. Плохое уплотнение выпускного патрубка пускного патрубка, обмазав его суриком
Наименование неисправности, внешнее проявление н дополнительные признаки Вероятная причина Метод устранения 44. Выбивание (выключение) автомата защиты сети, термобиметаллического предохранителя, перегорание плавкой вставки Электрооборудование Замыкание в цепи или потребителе электроэнергии Найти неисправность, устранить, после чего включить соответствующий автомат защиты сети, термобиметаллический предохранитель или заменить плавкую вставку 45. Вольтамперметр не показывает зарядного тока при номинальной частоте вращения коленчатого вала двигателя Генератор Обрыв или плохой контакт силовой цепи Загрязнение и замасливание контактных колец Обрыв или плохой контакт в цепи возбуждения Зависание щеток 46 Колебание тока нагрузки .при отсутствии других неисправностей (колебание стрелки вольтамперметра) Ослабление натяжения приводного ремня Пробой кремниевого вентиля Если колебание нагрузки не зависит от потребителей тока, то причиной является периодическая пробуксовка приводного ремня генератора Проверить исправность силовой цепи. В случае неисправности устранить обрыв Протереть контактные кольца хлопчатобумажной салфеткой, смоченной бензином. Если загрязнение не очищается, кольца необходимо зачистить шлифовальной шкуркой со стеклянным покрытием и вторично протереть салфеткой Проверить исправность цепи возбуждения (щеточный узел, пайку обмотки возбуждения к кольцам, соединительные провода и др.) и при необходимости восстановить ее Снять щеткодержатель, вынуть щетки, удалить налет щеточной пыли Отрегулировать натяжение Снять и заменить исправным Устранить , причину пробуксовки
Наименование неисправности. внешнее проявление и дополнительные признаки Вероятная причина Метод устранения 47. Шум подшипников генератора, сопровождающийся перегревом 48. Подшипники перегреваются Недостаточен контакт в цепи возбуждения Загрязнение подшипника Слишком сильное натяжение приводного рем-ия генератора Проверить исправность цепи возбуждения и надежность соединения в местах переходных контактов Удалить старую смазку, промыть подшипник и заложить новую смазку Проверить и отрегулировать натяжение ремня генератора Аккумуляторные батареи 49 Батарея не отдает необходимой емкости Сульфатация пластин ч * Батарею разрядить током 10-часового режима до напряжения 1,7 В, затем вылить электролит из батареи и промыть ее путем трех-четырех-кратной смены дистиллированной воды с интервалом .5 мин. После этого в аккумуляторы залить дистиллированную воду. Через 1 ч после заливки батарею поставить иа заряд током 4 А. Заряд вести до постоянства плотности электролита и напряжения на аккумуляторах в течение 5—8 ч. После этого довести плотность электролита до эксплуатационной доливкой электролита плотностью 1,4 г/см3 и провести контрольный разряд 10-часовым режимом. Если за время разряда аккумуляторы отдают меньше 75% номинальной емкости, указанную операцию следует повторить.
Наименование неисправности, внешнее проявление и дополнительные признаки Вероятная причина Метод устранения 50. Вольтамперметр не Реле-регулятор Неисправен вольтам- Для удаления сульфата следует проводить не более трех контрольнотренировочных циклов Если при любом контрольном разряде батарея отдает не менее 75% га рантировапной емкости, батарею можно эксплуатировать Проверить, при необ- показывает зарядный перметр ходимости заменить ТОК Слабое натяжение ремней генератора При работе двигателя на средней частоте вращения проверить вольтамперметром напряжение при включенном и отключенном выключателе «массы». При этом возможны следующие случаи: а) если при отключенном выключателе батарей напряжение между клеммой «4» (рис. 145) панели П8 и «массой» нормальное (26,5—28,5 В), то неисправна сеть; б) если при отключенном выключателе батарей напряжение занижено (менее 26,5 В), то регулятор напряжения разрегулировался; в) если при включенном выключателе «массы» вольтамперметр показывает напряжение батареи 24—25 В, а при отключении выключателя батарей — нуль, то возможной причиной неисправности является генератор, реле-регулятор или замыкание цепи обмотки возбуждения генератора иа «массу» вольтамперметр Отрегулировать натяжение Устранить неисправность сети Реле регулятор снять и направить в мастерскую для регулировки Устранить неисправность генератора, если генератор исправен, надо заменить реле-регулятор. Если неисправность не устраняется, следует устранить замыкание в обмотке возбуждения на «массу»
Наименование неисправности, внешнее проявление и дополнительные признаки Вероятная причина Метод устранения 51. Вольтамперметр длительно показывает большой зарядный ток При средней частоте вращения коленчатого вата замерить напряжение между клеммой «4» панели П8 - и «массой* при отключенном выключателе батарей (отключать выключатель батарей по достижении двигателем средней частоты вращения). Реле-регулятор необхо димо отправить в мастерскую для ремонта Рис. 145. Схема внешних соединений реле-регулятора: РР — реле-регулятор; Г—генератор: Ст — стартер; Б — аккумуляторные батареи; ВБ — выключатель батареи; Шн — шунт вольтамперметра; VA — вольтамперметр; Ф2 — фильтр радиопомех; Р1 — реле промежуточное; РТ — реле тяговое, ВЗ — выключатель Возбуждения генератора; КС — кнопка стартера, П7, П8, П11—соединительные панели; Uli, XI, Х2 — разъемы Если напряжение нормальное (не превышает 28,5 В), то реле-регулятор исправен, а большой зарядный ток определяется сильно разряженной аккумуляторной батареей. Если же напряжение возрастает до 30 В и выше, неисправен реле-регулятор.
Наименование неисправности. внешнее проявление TI дополнительные признаки Вероятная причина Метод устранения 52. Невозможно пустить двигатель стартером Перемкнуть клеммы 134 и 135 контактора Р1 (см. рис. 50) Если при этом не последует включения стартера, то пускоблокировочное устройство реле-регулятора исправно, а неисправность заключена в стартере либо в проводке. Если при этом стартер включается, но двигатель не пускается из-за раннего ррабатываиия блокировки, то пускоблокировочное устройство реле-регулятора неисправно Реле-регулятор должен быть снят для проверки в мастерской Если необходимо пустить двигатель при неисправном пускоблокировочном устройстве, следует включить стартер, перемкнув клеммы 134 и 135 контактора Р1 Эту операцию следует производить быстро и энергично так, чтобы был обеспечен надежный контакт, исключающий возможность сильного подгара и оплавления в местах контакта Прибор ТВН-2Б 53. Блок питания работает нормально, но в приборе не видно зеленоватого фона 54. Блок питания включен, ио ие слышно характерного свистящего звука 55. На экране прибора наблюдения виден зеленоватый фон, но нет изображения дороги и объектов t 56 Изображение в приборе наблюдения тусклое и неясное Плохой контакт в высоковольтных разъемах Пробой изоляции высоковольтного ввода. Не работает электроннооптический преобразователь Перегорел предохранитель Вышел из строя транзистор Закрыта шторка Короткое замыкание в проводе питания фары Перегорела лампа фары Обрыв в проводе, идущем от центрального щитка к фаре Выключена фара Загрязнилась наружная поверхность верхней призмы Прочистить контакты, довернуть гайки высоковольтных вводов Отправить прибор в ремонтную мастерскую Заменить предохранитель Заменить транзистор в мастерской Поставить рукоятку шторки в положение ОТКРЫТО Устранить короткое замыкание Заменить лампу запасной Устранить обрыв Включить фару Протереть верхнюю призму фланелевой салфеткой
Наименование неисправности, внешнее проявление и дополнительные признаки Вероятная причина Метод устранения 57. Головка верхней призмы при небольшом усилии покачивается 58. Призма имеет выбоины и трещины Загрязнилась или запотела наружная поверхность окуляров Нарушено согласование осей светового пучка фары и прибора наблюдения Ослабли винты крепления головки Механические повреждения Протереть салфеткой наружные поверхности окуляров Согласовать оптические осп фары и прибора Затянуть винты Заменить верхнюю призму запасной Оборудование для самоокапывания 59. Отвал поднимается медленно или не поднимается (не опускается) Не включен насос гидросистемы Мало масла в баке гидросистемы Не работает насос гидросистемы Утечка масла через соединения маслопроводов Наличие воздуха в магистрали гидропривода Холодное масло в гидросистеме Перепускной клапан распределителя зависает и ие садится в гнездо Включить иасос гидросистемы при неработающем двигателе Долить масло в бак до требуемого уровня Заменить насос Подтянуть соедииеиия Ослабить пробку в цепи возле манометра и выпустить воздух Установить распределитель в нейтральное положение, включить насос и поработать 20— 25 мпн Слегка ударить через деревянную наставку по крышке перепускного клапана распределителя. Если после этого гидросистема не будет работать, снять крышку перепускного клапана, вынуть клапан, промыть его в дизельном топливе, смазать дизельным маслом, установить на место п проверить наличие свободного хода его в корпусе распреде-
Наименование неисправности, внешнее проявление и дополнительные признаки Вероятная причина Метод устранения 60. Отвал ие удерживается в поднятом положении 61. Масло и пена выбрасываются через отверстие сапуна масляного бака гидросистемы • На седле перепускного клапана находятся посторонние частицы (например, кусочки резины) Износились кольца, уплотняющие поршень гидроцилиндра Износились золотники распределителя Недостаточное количество масла в гидросистеме Высокая температура масла (выше 80’С) Неплотное соединение маслопровода (подсос воздуха) В масляный бак системы залито много масла лителя и в направляющей, а также проверить прилегание клапана к гнезду. Промыть крышку перепускного клапана дизельным топливом и установить ее на место Отвернуть оба болта, крепящие упор направляющей к корпусу, снять ’упор, вынуть направляющую и клапан, осмотреть и протереть его коническую часть и гнездо Снять гидроцилиндр, проверить состояние колец и в случае необходимости заменить Заменить распределитель Долить масло в бак до требуемого уровня Выключить иасос и дать остыть маслу Проверить и подтянуть места соединения маслопровода от бака к насосу Слить лишнее масло Прибор ДТНМП-100-125 62. Стрелка прибора не реагирует на колебания измеряемой разности давлений 63. Показания прибора занижены и непостоянны Засорение трубки, соединяющей дифмаиометр-тягонапоромер с наружным воздухом Негерметичность подводящей магистрали Продуть трубку 64. Показания приборов не соответствуют поверочному свидетельству, но постоянны Смещение стрелки относительно нулевого положения Устранить негерметичность, подтянув проволоку 2 (рис. 171) и 7, штуцер 1 до плотного поджатия прокладки 3. Штуцер 1 подтягивать при снятой трубке 4 Повернуть гайку 9 до совпадения с «О»
Наименование неисправности. внешнее проявление и дополнительные признаки Вероятная причина Метод устранения Установка ТКБ-01-1 65 Отклонение точек Сбился прицел Согласовать прицел с попадания пуль от то- пулеметом по вывероч- чек прицеливания но-пристрелочной мишени (см. 14.17.8) Примечание, нить, руководствуясь Неисправности, связанные с работой пулемета, устра-Наставлением по стрелковому делу. Установка пулемета НСВТ-12,7 66. Обрыв или расслоение троса механизма взвода Разрыв нитей троса вследствие износа или неполного возврата затворной рамы пулемета вместе с роликом люльки 67 При вк точении вы-ключателя ПОДСВЕТКА СЕТКИ на пульте управления прибора наведения сетка на приборе не светится. При включении выключателя ОБОГРЕВ не работает обогрев прибора наведения 68. При включении выключателя 4 (рис. 129) ЭЛЕКТРОСПУСК иа поворотном механизме не загорается сигнальная лампа 5 (при отрегулированном щеткодержателе 6 (рис. 119) Обрыв цепи ПК2-П (Ш1), П(Ш1)-ПН (UI2) (см. рис. 128) Неисправность пульта управления или прибора наведения Перегорела лампа Неисправен выключатель Обрыв цепи ПК2 — МП (ШЗ), 1113-Л — «масса» (см. рис. 128) Заменить трос, для чего: — отвернуть болты крепления накладки 3 (рис. 120); — сиять вышедший из строя трос 14; — новый трос продеть через рукоятку 5, через ролик поводка 15; — наложить* трос «восьмеркрй» за болты крепления накладки; трос должен находиться между накладкой и люлькой; — завернуть болты до плотного упора и зашплинтовать их проволокой Восстановить цепь Устранить неисправность (см. инструкцию по эксплуатации прибора наведения) Заменить лампу, взяв ее из одиночного комплекта ЗИП Заменить выключатель Восстановить цепь 10-641 289
Наименование неисправности. внешнее проявление и дополнительные признаки Вероятная причина Метод устранения * 69. При нажатии на скобу 6 (рис. 129) электроспуска на рукоятке поворотного механизма не срабатывает" электроспуск (выключатель 4 ЭЛЕКТРОСПУСК включен, сигнальная лампа 5 горит) Обрыв цепи Кн—Р1 — «масса», PI/22 — ШЗ — (ЭмС) — Ш4 (см. рис. 128) Не отрегулирован подвижный контакт поворотного механизма (см. рнс. 124) Неисправно реле PI (см. рис. 128) Неисправен пулемет Восстановить цепь Отрегулировать 70. При включении выключателя 2 (рис. 129) ТОРМОЗ не срабатывает электромуфта (цепь электроспуска исправна) 71. При включенном выключателе 2 ТОРМОЗ электромуфта передает не полный момент 72. При отпускании скобы 6 электроспуска па рукоятке поворотного механизма электроспуск самопроизвольно срабатывает 73. При вращении установки по горизонту прерывается подача электропитания на установку Обрыв цепи Р 1/12 — BI —ШЗ —ЭМ (см. рис. 128) Замыкание в цепи муфты ЭМ — ШЗ—В1 — Р1 (см. рис. 128) Подгорели контакты Р1 (см. рис. 128) Изношены щетки токосъемника Заменить реле Устранить неисправность (см. инструкцию по эксплуатации пулемета) Восстановить цепь То же Заменить реле Обеспечить надежный контакт изменением положения ганки и контргайки щеткодержателя 6 (рис. 119)
16. ТЕХНИЧЕСКОЕ ОБСЛУЖИВАНИЕ Выполнение технического обслуживания в установленные сроки обязательно независимо от технического состояния транспортера, времени года и суток. Запрещается сокращать объем работ, предусмотренный каждым видом технического обслуживания, или уменьшать время, отведенное для технического обслуживания, в ущерб качеству его проведения. Использование транспортера, не прошедшего положенное техническое обслуживание или неисправного, запрещается. Техническое обслуживание транспортера выполняется механиком-водителем, в помощь которому выделяются еще два-три человека. * • Сложные работы выполняются специалиста’ми из ремонтных мастерских. Техническое обслуживание двигателя и сцепления необходимо выполнять в соответствии с инструкцией по эксплуатации — «Двигатели ЯМЗ-236, ЯМЗ-238», аккумуляторных батарей в соответствии с книгой «Батареи аккумуляторные свинцовые стартерные 6СТЭН-140М, 6СТ-140Р, 12СТ-70М и 12СТ-70. Инструкция по эксплуатации». 161. ВИДЫ И ПЕРИОДИЧНОСТЬ ТЕХНИЧЕСКОГО ОБСЛУЖИВАНИЯ Для транспортеров установлены следующие Ьиды и периодичность технического обслуживания: — контрольный осмотр (КО); проводится перед выходом из парка; исполнитель — механик-водитель; — контрольный осмотр в пути; проводится на длительных остановках; исполнитель— механик-водитель; — ежедневное техническое обслуживание (ЕТО); проводится по возвращении из рейса и во время больших привалов при совершении маршей; исполнители — механик-водитель и электрик: — техническое обслуживание № 1 (ТО-1); проводится через
1300—1500 км пробега; исполнители — механик, механик-водитель, электрик и слесарь; — техническое обслуживание № 2 (ТО-2); проводится через 2500—3000 км пробега; исполнители — механик, механик-водитель, электрик п слесарь. Инструкцией по эксплуатации двигателей ЯМЗ-236 и ЯМЗ-238 установлены следующие виды технического обслуживания: — ежедневное техническое обслуживание (ЕТО); выполняется по окончании суточной работы; — техническое обслуживание № 1 (ТО-1); проводится через каждые 125 ч работы двигателя; — техническое обслуживание № 2 (ТО-2); проводится через каждые 500 ч работы двигателя. Кроме указанных видов технического обслуживания транспортера и двигателя ЯЛАЗ-238В проводится сезонное техническое обслуживание (СО), которое заключается в подготовке транспортера к зимней эксплуатации при температуре окружающего воздуха ниже +5°С и к летней Эксплуатации при температуре окружающего воздуха выше 4-5°С. Техническое обслуживание по транспортеру рекомендуется проводить одновременно с очередным техническим обслуживанием двигателя. Ежедневное и сезонное технические обслуживания двигателя и транспортера проводятся одновременно. Первое техническое обслуживание двигателя проводится одновременно с техническим обслуживанием № 2 транспортера. Периодичность технического обслуживания (по наработке или времени эксплуатации) должна быть сокращена на 20— 30% в связи с особо тяжелыми условиями эксплуатации транспортера на Крайнем Севере, в жарких, горных и пустыннопесчаных районах, а также в период распутицы. Трудоемкость, необходимая для проведения каждого обслуживания, составит: дтя ежедневного технического обслуживания—1,3— 1,5 чел.-ч; для технического обслуживания № 1—9,5—10 чел.-ч; для технического обслуживания № 2—16—18 чел.-ч. Для транспортеров с оборудованием для самоокапывания дополнительное время для обслуживания оборудования составит: для ежедневного технического обслуживания — 0,5 чел.-ч; для технического обслуживания № 1—2—3 чел.-ч. Перед проведением всех видов технического обслуживания для предотвращения разбивания стекла фары ФГ-16П перед открыванием крышки люка трансмиссионного отделения необходимо поворотную фару повернуть на 90° относительно продольной осп машины. Перед закрыванием этой крышки необходимо установить рукоятку привода крышки вентиляционного лючка в крайнее заднее положение.
16.1.1. КОНТРОЛЬНЫЙ ОСМОТР ПЕРЕД ВЫХОДОМ ИЗ ПАРКА (рис. 146) Содержание работ н методика их проведения Технические требования Приборы, инструмент, приспособления и материалы, необходимые для выполиения работы № операции № позиции 1 — Осмотреть транспортер снаружи, удалить пыль или снег Наличие пыли, грязи или снега не допускается — 2 Проверить количество топлива в баках, при необходимости дозаправить их (см. подразд. 13.1) Система должна быть заправлена топливом, соответствующим сезону эксплуатации (см. инструкцию по эксплуатации двигателя) Дистанционный топлнвомер 3 4 Проверить уровень масла в картере двигателя, при необходимости дозаправить масло (см. подразд. 13.3) Уровень масла должен быть по верхнюю метку на щупе Щуп, ведро, воронка с сеткой, применяемое масло (см. инструкцию по эксплуатации двигателя) 4 5 Проверить количество охлаждающей жидкости в расширительном бачке системы охлаждения, при необходимости дозаправить (см. подразд. 13.2) При заправке системы охлаждения двигателя расширительный бачок должен быть заполнен по нижнюю кромку; при утечке следует добавлять антифриз, при выкипании — воду Специальный ключ к паровоздушному клапану, ведро, вороика, вода или антифриз, ветошь 5 Проверить исправность внешних приборов освещения, электроламп и звукового сигнала (включением) Перегоревших предохранителей, электроламп и обрыва электропроводов не должно быть Выключатели на щитке приборов 6 Проверить крепление стопора установки ТКБ-01-1 (установки пулемета НСВТ-12,7) Ослабление крепления ие допускается Опробованием, визуально 7 Проверить исправность электроспуска (пулемет должен быть разряжен) При иажатии на кнопку (скобу) электроспуска должен быть слышен щелчок Опробованием 8 ’— Проверить крепление ЗИП и чехлов Ослабление крепления не допускается Опробованием, визуально 9 Пустить двигатель, прогреть его и проверить на разных ре- Повышенного дымления, посторонних стуков и шумов не должно быть 1
Рис. 146. Контрольный осмотр в пути 15 U h
лв операции i № позиции Содержание работ и методика их проведения Технические требования Приборы, инструмент, приспособления и м ai ери алы, необходимые для выполнения работы — жимах на слух; проверить показания манометров систем смазки двигателя, главной передачи и пневмосистемы транспортера Проверить работу приводов управления, тормозов и коробки передач Проверить состояние и крепление тя-гово-сцепиого устройства Показания манометров должны быть следующими: - системы смазки двигателя при минимальной частоте вращения коленчатого вала — не менее 1 кгс/см2, а на прогретом двигателе при номинальных частотах вращения 4—7 кгс/см2; — системы смазки главной передачи при номинальной частоте вращения коленчатого вала двигателя — 1,5— 4,5 кгс/см2, а прн минимальной на холостом ходу — ие менее 0,5 кгс/см2; — пневмосистемы — 6—7,9 кгс/см2 Заедания при работе ие должно быть Накидная скоба устройства должна надежно сторониться Для "транспортера с оборудованием для самоокапывания ! 1 Проверить крепление раскосов, тяг, отвала и надежность стопорения егс в крайнем верхнем положении Проверить уровень масла в баке, при необходимости долить Провер нть, иет ли течи масла по соединениям трубопроводов и шлангов оборудовании Ослабление крепления Ключи 27, 32, 41 ие допускается и 46 мм, вороток Уровень масла должен быть по верхнюю метку на шупе Течь масла по соединениям трубопроводов и шлангов не допускается Щуп Ключи 14, 19, 22, 24, 27, 30, 32 и 46 мм
16.1.2. КОНТРОЛЬНЫЙ ОСМОТР В ПУТИ (рис. 146) I № операции 1 № позиции Содержание работ н методика нх проведения Технические требования Приборы, инструмент, приспособления п материалы, необходимые для выполнения работы 1 2,3 6 Проверить нагрев картеров бортовых передач, ступиц опорных катков и направляющих колес: тыльной стороной кисти руки определить степень иагрева, учитывая, что руку возможно удержать при нагреве ие выше 50°С Температура картеров не должна превышать плюс 60—70°С 2 I Проверить состояние гусениц и их натяжение, крепление шанцевого инструмента и принадлежностей, груза в кузове и на прицепе, состояние прицепа и тягово-сцепного устройства Трещин и поломок звеньев гусениц и пальцев не должно быть. Верхняя ветвь гусеницы должна лежать на четырех средних опорных катках, не касаясь первого и шестого опорных катков. Расстояние между гусеницей и первым опорным катком должно быть 25—55 мм. Ослабление крепления ЗИП и груза не допускается Ключ торцовый 27 мм, ключи гаечные 14 и 27 мм 3 Осмотреть транспортер и установить, нет ли течи топлива, масла илн охлаждающей жидкости, при необходимости подтянуть соединения. Вороток 2С 1.61.294 вста вить в отверстия шплинта и вращать в сторону затяжки лепты Течь топлива, масла или охлаждающей жидкости ие допускается. Допускается образование масляной пленки без каплепадеиия в местах торцовых уплотнений бортовых передач, опорных катков и направляющих колес и наружной поверхности корпуса гидроамортизатора Отвертка, ключи гаечные, ключ торцовый 10 мм, вороток 2С1.61.294 4 4, 5 Проверить уровень масла в картере двигателя и масляном баке главной передачи и количество охлаждающей жидкости в расширительном бачке; при необходи- Уровень масла должен быть по верхнюю метку иа щупе и не ниже нижней зиговки заливной горловины масляного бака. Расширительный бачок должен быть заполнен по нижнюю кромку Щуп, ключ гаечный 19 мм, ключ паровоздушного клапана, отвертка, ведро, воронка с сеткой, ветошь, нагнетатель масла
№ операции 1 № позиции Содержание работ н методика их проведения Технические требования Приборы, инструмент, приспособления и материалы, необходимые для выполнения работы мости дозаправить системы смазки и охлаждения двигателя (см. подразд. 13.2 и 13.3) Для транспортера с оборудованием для самоокапывания Проверить ние стяжек крепле- Ослабление крепления не допускается Ключ 32 мм 16.1.3. ЕЖЕДНЕВНОЕ ТЕХНИЧЕСКОЕ ОБСЛУЖИВАНИЕ (рис. 147) S Приборы. X Е СЗ S Е Содержание работ инструмент, приспособления сх о Г) и методика Технические требования и материалы. Е О О Е их проведения необходимые для выполнения £ £ работы Основные работы 3 9 Очистить и вымыть транспортер снаружи и при необходимости внутри. В случае промывки сердцевины радиатора обязательно открыть крышку лючка в кожухе вентилятора и кингстоны в днище Заправить топливные баки топливом (см. подразд. 13.1) Проверить уровень масла в картере двигателя. При мойке и чистке следует предохранять воздухозаборную трубу системы питания двигателя воздухом, входное отверстие подводящей магистрали дифмаиомет-ра-тягонапоромера, выпускную шахту от попадания грязи и воды Топливные баки должны быть полностью заправлены топливом, соответствующим сезону эксплуатации Уровень масла следует замерять ие раньше чем через 5 мин после остановки Применение масла, ие предусмотренного инструкцией пг эксплуата- двигателя. Моечиая установка, ведро, ветошь, щетка Дистанционный топлнвомер Щуп, ведро, воронка с сеткой, ветошь
Рис. 147. Ежедневное техническое обслуживание
№ операции 1 № позиции Содержание работ и методика их проведения Технические требования Приборы, инструмент, приспособления и материалы, необходимые для выполнения работы 4 2 При необходимости дозаправить до требуемого уровня Проверить уровень ции двигателя, не допускается. Уровень масла должен быть по верхнюю метку на щупе двигателя Уровень охлаждающей Линейка 5 3 охлаждающей жидкости в расширительном бачке системы охлаждеиия, при необходимости дозаправить (см. подразд. 13.2) Проверить уровень жидкости должен быть по нижнюю кромку расширительного бачка Уровень масла должен Ключ гаечный 6 5 масла в масляном баке системы смазки главной передачи. Дозаправить систему до требуемого уровня масла в баке (см. 17.2 4) Провернуть На два- быть не ниже нижней зиговкн заливной горловины масляного бака Применение масла, ие предусмотренного на- стоящей Инструкцией, не допускается Применять удлинители 19 мм, отвертка, ведро, воронка с сеткой, ветошь, нагнетатель масла 7 6 три оборота рукоятку осн масляного фильтра главной передачи (сразу же после остановки двигателя). В случае сильного загрязнения (рукоятка не проворачивается от усилия руки) сиять и промыть фильтрующий элемент в сборе в керосине Открыть край отбо- для проворачивания рукоятки не разрешается Сливать конденсат еле- Ключ гаечный 17 мм 8 4 ра воздуха и слить конденсат из баллонов пневмосистемы Проверить уровень дует до выхода воздуха без влаги Уровень масла в ре- Ключ гаечный масла в промежуточном редукторе, при необходимости дозаправить дукторе должен быть по метку на щупе. Применение масла, не предусмотренного настоящей Инструкций!, не допускается 22 мм, нагнетатель масла
I № операция 1 № позиция Содержание работ и методика их проведения Технические требования Приборы, инструмент, приспособления и материалы, необходимые для выполнения работы 9 10 1 Проверить, не засорилось ли сапунное отверстие пробки-щупа промежуточного редуктора, при необходимости продуть сжатым воздухом Проверить исправность приборов освещения, звукового сигнала (включением) Проверить натяжение ремней приводов генератора, компрессора, вентилятора и водяного насоса; при необходимости отрегулировать с помощью винтов, перемещая натяжные ролики в нужную сторону, а для водяного насоса — уменьшая количество прокладок между двумя половинками шкива насоса « Звуковой сигнал и приборы освещения, обеспечивающие безопасность движения, должны быть исправными Величина прогиба ремней должна быть: — привода водяного насоса с приложением усилия 3—3,5 кге к середине ветви — 10— 15 мм; — привода генератора с приложением усилия 4±0,2 кге к середине каждой правой ветви ремня—10—15 мм; — привода компрессора с приложением усилия 4 ±0,2 кге к середине ветви, противостоящей шкиву— 10—15 мм или с приложением усилия 3±0,2 кге к середине ветви ремня между шкивами компрессора и натяжного устройства — 5—8 мм; — привода вентилятора с приложением усилия 4±0,1- кге к середине ветви ремня 10— 14 мм. Ремни привода генератора и вентилятора необходимо заменять комплектно (одинаковой длины). Комплектация новых ремней с ремнями, бывшими в эксплуатации, недопустима Выключатели Ключи гаечные 17, 19 и 32 мм, ключ торцовый 10 мм, отвертка, линейка, зубило, молоток
। № операции 1 № позпции Содержание работ и методика их проведения Технические требования Приборы инструмент, приспособления н материалы, необходимые для выполнения работы 11 12 13 14 15 11 Проверить, нет ли подтекания охлаждающей жидкости, топлива, масла и утечки воздуха. Вороток 2С 1.61.294 вста вить в отверстие шплинта и вращать в сторону затяжки лент Устранить обнаруженные неисправности Осмотреть сборочные единицы и детали ходовой части, проверить натяжение гусеницы и крепление венцов ведущих колес, бортовых передач (без нарушения шплинтовки), кронштейнов снегоочистки, кронштейнов крепления гидроамортиза-торов внешним осмотром. Устранить обнаруженные неисправности, крепления подтянуть Проверить крепление пулемета и прицела (прибора наведения) на установке Проверить исправность электроспуска (пулемет должен быть разряжен) Проверить крепле нне крышек люкое днища Допускается незначительное обмаслнванне трубопроводов Кяплепаденпс и течь не допускаются. Падение давления нс должно превышать 0 3 кгс/см2 в течение 30 мнн при отпущенной педали тормоза Ослабление крепежа не допускается. Трещин и поломок звеньев гусениц п пальцев не должно быть. Верхняя ветвь гусеницы должна лежать на четырех средних опорных катках, не Касаясь первого и шестого опорных катков. Расстояние между гусеницей и первым опорным катком должно быть 25—55 мм. Допускается образование масляной пленки без каплспадения в местах торцовых уплотнений бортовых передач, опорных катков, направляющих колес и наружной поверхности корпусов гидроамортизаторов Ослабление крепления не допускается При нажатии па кнопку (скобу) электроспуска должен быть слышен щелчок Ослабление крепления не допускается Отпертка, ключи гаечные 14, 17, 19, 22, 24 н 27 мм, ключ торцовый 10 мм, вороток 2С1.61.294 Ключи специальные для гаек балансиров и корончатых гаек; ключи гаечные 14, 17 и 27 мм и 22X24 мм, ключ торцовый 27 мм. Опробованием, визуально Опробованием Ключ торцовый 12 мм
№ операции 1 № позиции Содержание работ и методика их проведения Технические требования Приборы, инструмент, приспособления и материалы, необходимые для выполнения работы 16 — Проверить корпус транспортера па герметичность (см. 17.5.5) Избыточное давление при работе ФВУ в режиме фильтрации должно быть не менее 20 кге/м2 Выключатели на щитке приборов, дифманометр-тяго-папоромер 17 Проверить состояние и крепление тягово-сцепного устройства Накидная скоба прибора должна надежно стопориться 18 Устранить обнаруженные в пути неисправности по приводам управления и механизмам поворота, тормозам, переключению передач (см. 17.2.6) Органы управления должны обеспечить легкость управления и безопасность движения транспортера Ослабление затяжки узлов крепления не допускается Для транспортера с оборудованием для самоокапывания (при использовании оборудования) 19 — Очистить оборудование для самоокапывания от пыли и грязи Проверить крепление раскосов, тяг, отвала и надежность его стопорения в верхнем крайнем положении Оборудование должно быть чистым Моечная установка, ветошь, ведро 20 Ослабление крепления не допускается Ключи гаечные 27, 32, 41 и 46 мм, вороток 21 Проверить, нет ли течи или просачивания масла по соединениям трубопроводов и шлангов оборудования для самоокапывания Течь или просачивание масла не допускается Ключи гаечные 14, 19, 22, 24, 27, 30, 32 и 46 мм 22 Проверить уровень масла в баке, при необходимости долить Уровень масла должен быть по верхнюю метку на щупе Шуп 23 Прошприпевать масленки пальцев крепления тяг и раскосов оборудования Шприцевать до появления свежей смазки Шприц плунжерный, смазка Литол-24
№ операции № позиции Содержание работ н методика ик проведения Технические требования Приборы, инструмент, * приспособления и материалы, необходимые для выполнения работы 24 — Для т р а Проверить работу: поворотного механизма установки пулемета подъемного механизма установки До по гспортера МТ-ЛБВМ Поворот установки должен быть легким, плавным и без заеданий Поднятие и опускание люльки должно быть плавным и без рывков длительные работы Опробованием, визуально То же 25 Вывернуть болт поворотного угольника дренажной трубки из заборника воздуха отопительно-вентиляционной установки ОВ-65Г и слить конденсат (в случае использования установки) Наличие воды, грязи не допускается Ключ гаечный 17 мм 26 8, 10. 12 Проверить (после преодоления водной преграды) состояние масла в бортовых передачах, ступицах опорных катков и направляющих колес; при обнаружении воды в масле заменить его Длительная эксплуатация сборочных единиц, в смазке которых высокое содержание влаги (масло имеет серый цвет), не допускается Ключи гаечные 12, 14 мм и ключ к пробкам бортовых передач и топливных баков 27 Промыть (после плава при необходимости) водооткачпва-ющую систему путем пропускания воды в обратном направлении через патрубок водовыброса (выполняется в процессе мойки транспортера) Использование транспортера на плаву с загрязненной системой водовыброса не допускается Моечная установка, шланг 28 Проверить состояние аккумуляторных батарей. При необходимости прочистить вентиляционные отверстия пробок, протереть на- Загрязнение, трещины или электролит на поверхности мастики, загрязнение вентиляционных отверстий пробок, окисление клемм и наконечников проводов 10% раствор нашатырного спирта (или кальцинированной соды), электропаяльник, чистая сухая ветошь
I № операции 1 НИПИЕОЦ eft- | i Содержание работ и методика их проведения Технические требования Приборы, инструмент, приспособления и материалы, необходимые для выполнения работы 29 30 7 сухо поверхности чистой ветошью, смоченной 10% раствором нашатырного спирта или кальцинированной соды, оплавить нагретым масти-коуда ли гелем или электрическим паяльником трещины на поверхности мастики (при вывернутых пробках),очистить от окисления клеммы, подтянуть крепления клемм и аккумуляторных батарей. Через каждые 10— 15 дней (летом) и 25—30 дней (зимой) проверять уровень и плотность электроли та для определения необходимости заряда аккумуляторных батарей (см. 17.4.2) Через каждые три месяца (независимо от степени зараженности) аккумуляторные батареи необходимо сдавать на зарядную станцию для заряда, а одни раз в год — для контрольно-тренировочного цикла в целях определения емкости батарей После преодоления водной преграды про-шприцевать (заправить смазкой) подшипники включения фрикционов механизмов поворота При эксплуатации транспортеров в условиях повышенной запыленности воздуха установить удлп- или ослабление затяжки нх крепления не допускается Уровень электролита в аккумуляторах должен быть на 10—12 мм выше предохранительного щитка. Эксплуатировать батарею, разряженную более чем ла 25% зимой н более чем иа 50% летом, ие допускается При обнаружении ненормальной работы аккумуляторных батарей проводится внеочередной контрольно-тренировочный цикл независимо от того, эксплуатируются эти батареи или хранятся До появления свежей смазки из-под колеи Стеклянная трубка для замера уровня электролита, ареометр, дистиллированная вода Зарядная станция Плунжерный шприц, смазка Литол-24
№ операции 1 № позиции Содержание работ и методика их проведения Технические требования Приборы, инструмент, приспособления и материалы, необходимые для выполнения работы 31 — иитель воздухозаборной трубы воздухоочистителя (кроме транспортера МТ-ЛБВМ) Перед преодолением зараженной местности проверить наличие подпора в режиме фильтрации (см. 17.5.6) 16.1.4. ТЕХНИЧЕ Подпор должен быть не менее 20 кгс/ма СКОЕ ОБСЛУЖИВАНИЕ (рис. 148) Выключатель на щитке приборов № 1 № операция № позиция Содержание работ и методика их проведения Технически* требования Приборы, инструмент, приспособления и материалы, необходимые для выполнения работы 1 2 3 4 У «"*> 1 1 1 Выполнить работы, предусмотренные ЕТО транспортера Проверить крепление двигателя, топливных баков, редуктора вентилятора, генератора, реле-регулятора, при необходимости подтянуть ганки Проверить крепление механизмов и приводов управления и шплинтовку пальцев управления транспортером Проверить регулировки механизмов поворота и остановочных тормозов, при необходимости отрегулировать Гайки должны быть затянуты до плотного упора, корончатые гайки зашплинтованы Болты н гайки должны быть затянуты до плотного упора. Шплинты должны быть на своих местах В механизмах должны быть обеспечены следующие зазоры: между лентами и барабанами остановочных тормозов—1,5—2,5 мм; между лентами и барабанами механизмов поворота — равномерный зазор; между кулаком и роликом мостика управления — 4,5—5,5 мм Ключи гаечные 12, 14, 17, 19, 22, 24 и 27 мм, плоскогубцы Ключи гаечные 12, 14, 17 и 19 мм, плоскогубцы Ключи гаечные 14, 17 и 24 мм, щупы
Рис. 148. Техническое обслуживание № 1
Jv° операции | № позиции Содержание работ и методика их проведения Технические требования Приборы, инструмент, приспособления и материалы, необходимые для выполнения работы 5 Проверить: — крепление гаек балансиров; — крепление колпаков опорных катков, направляющих и ведущих колес; — крепление воздухоочистителя; — затяжку болтов крепления кронштейнов гидроамортнза-торов; — затяжку болтов крепления зубчатых муфт бортовых карданных валов Гайки, болты должны быть затянуты до плотного упора Ключи гаечные 14, 17 и 19 мм, ключ 22x24 мм, специальный ключ для гаек бала-нси-ров, ключ торцовый 19 мм, ручка ключа 6 Проверить состояние петель, замков, люков, бандажей опорных катков, тор-снонов, гидроамортизаторов При поднятии катков ломом должно ощущаться сопротивление торсиона и гидроамортнзатора Трещин, заедании, ослабления крепежа ие должно быть При обрыве резиновой шины по всей ширине обода каток необходимо заменить Отвертка (для торсионов — лом) Ключи гаечные 14, 17, 19 и 22 мм, плоскогубцы 7 Проверить крепление ФВУ к постели, затяжку хомутов заборного рукава и шланга выброса Ослабление крепления не допускается Ключи гаечные 14, 17, 19 и 22 мм, плоскогубцы 3 Выполнить техническое обслуживание двигателя Согласно инструкции по эксплуатации двигателя и подразд. 17.1.1 —• 6 Слить отстой масла из масляного фильтра главной передачи Масло из фильтра сливать неостывшим, по возвращении транспортера из пробега Ключи гаечные 12 и 14 мм 2 Проверить плотность антифриза (в зимнее время) Плотность антифриза должна быть: марки 40— 1,0675— 1,0725; марки 65— 1,085— 1,090 Денсиметр-ареометр для проверки плотности низкозамерзающей жидкости 3 Очистить сердцевины радиаторов системы охлаждения и В случае промывки радиатора водой открыть крышку лючка в кожухе Ключ гаечный 12X14 мм, деревянная лопатка
I № операции позиции Содержание работ и методика их проведения Технические требования Приборы, инструмент, приспособления и материалы, необходимые для выполнения работы 12 13 — системы смазки от пыли и грязи (при работе в пыльных условиях н на дорогах, покрытых грязью) Проверить выверку пулемета и прицела (прибора наведения), см. 14.17.8 или 14.18.4 Выполнить смазку транспортера- согласно таблице смазки вентилятора При большом наслоении грязи снять жалюзи Результаты проверки должны соответствовать данным формуляра, иначе необходима пристрелка — Для транспортера с оборудованием для самоокапывания 14 — Снять и промыть Грязь и другие приме- Вднна, дизель- фильтрующие элемен- си не допускаются ное топливо, ключ ты гидросистемы оборудования для самоокапывания через 35 ч работы оборудования гаечный 14 мм 1Ь 1.5. ТЕХНИЧЕСКОЕ ОБСЛУЖИВАНИЕ № 2 (рис. 149) I № операции 1 № позиции Содержание работ и методика их проведения Технические требования Приборы, инструмент, приспособления и материалы, необходимые для выполнения работы 1 — Выполнить работы ТО-1 — — 2 Выполнить работы по техническому обслуживанию двигателя Согласно инструкции по эксплуатации двигателя и подразд. 17.1.1 3 Проверить крепление центрального карданного вала главной передачи, бортовых передач, ведущих колес на хвостовиках водил и тормозных барабанов Гайки, болты должны быть затянуты до плотного упора. Шаткость и ослабление крепежа не допускаются Ключи гаечные 12, 17, 19, 22 и 24 мм, ключи гаечные со сменными головками — комплект мод. 2336М-1 (сменная головка 24 мм)
I № операции 1 № позиции Содержание работ и методика их проведения Технические требования Приборы, инструмент, приспособления и материалы, необходимые для выполнения работы 4 5 5 7 2 1 4 3 Проверить крепление выключателя батарей, блока предохранителей, контрольных приборов, экранированного ввода «+» генератора Проверить и при необходимости отрегулировать (см. 17 2.6) привод управления двигателем: — верхнее крайнее положение педали подачи топлива при минимальной подаче — нижнее крайнее положение педали подачи топлива при упоре в регулировочный болт, соответствующее максимальной подаче топлива (регулируется зазор тягой регулятора или упорным болтом) привод управления коробкой передач (совпадение меток) привод управления сцеплением: — свободный ход педали сцепления — полный ход педали сцепления (регулируется полный и свободный ход педали тягой сцепления) привод управления остановочными тормозами: — полный ход педали — зазор между тормозными лентами и барабанами (регу- Шаткость и ослабление крепежа не допускаются Рычажок регулятора двигателя должен касаться переднего регулировочного болта Рычажок регулятора двигателя должен устанавливаться в крайнее заднее, положение, зазор до упора в болт регулятора допускается до 1,2 мм Переключение передач должно быть без заеданий, стуков шестерен Перемещение тяги сцепления должно быть 6,5—8 мм То же, 40—42 мм Перемещение тяги тормозного крана должно быть 35—43 мм Зазор должен быть 1,5—2,5 мм Ключи гаечные 10, 12 и 27 мм, отвертка, плоскогубцы Ключи гаечные 12, 14, 17 и 19 мм, плоскогубцы Стержень выставки рычагов и поводков, плоскогубцы, ключи гаечные 19 и 24 мм, ключ гаечный 17x19 мм, линейка Клюти гаечиые 17X19, 12 мм, лн-иейка То же Ключ гаечный 17X19 мм, линейка Шуп
ЕЕ S X Приборы, а га о. к EJ X Содержание работ Технические требования инструмент, приспособления ш га и методика и материалы. о □ £ их проведения необходимые для выполнения работы 4. 9 8 6 7 9 лнруется регулировочной гайкой) привод управления механизмами поворота: — свободный ход хвостовиков поводковых коробок механизмов поворота — зазор между роликом рычага тормозов механизмов поворота и впадиной кулака Проверить установку фар н при необходимости отрегулировать (см. 17.4.7) Проверить линейкой уровень жидкости в гидроамортизаторах, отвернув пробку компенсационной камеры, и при необходимости дозаправить (см. подразд. 17.3.9) Очистить от грязи и смазать валики, осп, шарнирные соединения управления, шаровую опору колонки переключения передач, шаровые пальцы тяги жалюзи радиатора Проверить, нет ли течи топлива через уплотнение подкачивающего насоса, при Свободный ход, замеренный по ходу тяги, должен быть 7—9 мм Зазор между роликом и кулаком должен быть 4,5—5,5 мм Световое пятно фары ФГ-122Н должно находиться впереди транспортера на расстоянии 80—100 м При загруженном транспортере расстояние от диа компенсационной камеры до уровня жидкости должно быть 140— 150 мм. При разгруженном транспортере это расстояние должно быть: для передних гидроамортизаторов— 148— 154 мм; для задних—128— 132 мм, что соответствует 900 см3 жидкости в каждом гидроамортиза-торе. При обнаружении грязи в жидкости жидкость заменить Наличие грязи в шарнирных соединениях не допускается Течь топлива не допускается Ключи гаечные 17X19, 27 мм, линейка, плоскогубцы, отвертка Ключ гаечный 22 мм, щуп Отвертка, экран Ключ торцовый 27 мм, линейка, ключ к пробке гидроамортизатора Ключ 27 мм гаечный
1 № операции 1 № позиции Содержание работ н методика их проведения Технические требования Приборы, инструмент, приспособления и материалы, необходимые для выполнения работы 10 — необходимости подтянуть гайку уплотнения на один-два оборота Смазать и заправить транспортер согласно таблице смазки — — Для транспортера МТ-ЛБВМ 11 Смазать шарики и беговые дорожки погона установки пулемета, для чего: — очистить масленку 7 (рис. 119), установленную на верхнем погоне; — сделать три-четыре нагнетания рычажно-плунжерным шприцем с последующим поворотом установки на 90°. Операцию повторить три раза, вращая установку в одну сторону Шприц рычажно-плунжерный, смазка Литол-24 16.1.6. СЕЗОННОЕ ТЕХНИЧЕСКОЕ ОБСЛУЖИВАНИЕ к к U со м sf X Содержание работ Приборы, инструмент, приспособления „ g со н методика Технические требования н материалы. О d их проведения необходимые •° -5 для выполнения работы Подготовка к зимней эксплуатации 1 2 — Выполнить очередное номерное техническое обслу живание Подготовить двигатель к еимией экс- плуатации; слить летнее топли- Топливо должно соот- Автозаправщик во, промыть и за- ветствовать требованиям или малогабарит- править топливные инструкции по эксплуа- ный заправочный баки зимним топли- тации двигателя агрегат МЗЛ-З,
№ операции 1 № позиции Содержание работ и методика их проведения Технические требования Приборы, инструмент, приспособления и материалы, необходимые для выполнения работы 3 4 — вом (см. подразд. 131 и 17.1.2). Пустить подогреватель на 2—3 мин слить масло из системы смазки двигателя и заправить зимним сортом масла (см. подразд. 13.3) слить воду из системы охлаждения двигателя, промыть и заправить антифризом, проверить исправность термостатов. Промывать систему следует сильной струей чистой воды, желательно пульсирующей (см. подразд. 13.2) Слить воду из бачка устройства для обмыва стекол кабины, отделения управления. Сливать путем выработки воды Подготовить систему подогрева двигателя к эксплуатации (см. 17.1.3): очистить от нагара камеру сгорания котла подогревателя и кожух поддона (при необходимости) проверить состояние топливного насоса, форсунки и свечи накаливания (в дальнейшем свечу накаливания проверять через каждые 10—15 дней пользования подогревателем) Масло для заправки должно соответствовать требованиям инструкции по эксплуатации двигателя Антифриз должен быть марки 40 или 65 Наличие воды в бачке ие допускается Интенсивное отложение нагара в полости камеры сгорания не допускается Топливный насос Должен быть отрегулирован па подачу 5—6 кг/ч топлива. Форсунка должна обеспечивать угол распыла топлива не менее 60’. ключи 12 п 32 мм, ключ к пробкам бортовых передач н топливных* баков, шланг для заправки топливом Ключ 12 мм, ключ специальный 32 мм Ведро, ключ паровоздушного клапана, воронка с сеткой, шланг для заправки топливом Ключи гаечные 12, 14, 19, 17 и 27 мм, отвертка, плоскогубцы, деревянная лопатка, дизельное топливо
№ операции | № позиции Содержание работ и методика их проведения Технические требования Приборы, инструмент, приспособления и материалы, необходимые для выполнения работы 5 — промыть в дизельном топливе и продуть сжатым воздухом топливные фильтры электромагнитного клапана и форсунки проверить затяжку крепления газоотводящих труб, топливных трубок и соединительных шлангов Подготовить отопительно-вентиляционную установку к эксплуатации: проверить и при необходимости отрегулировать угол открытия крышек впускного и выпускного патрубков (см. 17.5.3) очистить от нагара и проверить состояние свечи накаливания продуть теплообменник сжатым воздухом под давлением 4—6 кгс/см2 через втулки свечи накаливания проверить состояние контрольной спирали, устранить провисание и проверить зазоры между витками, а также и надежность контактов Повреждения или отложения иагара на свече накаливания не допускаются, витки спирали не должны касаться друг друга и центрального стержня Ослабление затяжки крепления, прорыв газов, подтекание топлива или охлаждающей жидкости не допускаются Расстояние от листа крыши корпуса до верхнего торца крышки должно быть 64—78 мм Зазоры между витками спирали накаливания должны быть не менее 0,8 мм. Зазор между спиралью и экраном должен быть равномерным Продувать в течение 2—3 мин Минимальные зазоры между витками и зазор между ними и корпусом должен быть не менее 2 мм я Ключи гаечные 17 и 19 мм, линейка Ключ гаечный 27 мм, плоскогубцы, мягкая волосяная щетка Ключ гаечный 27 мм, шланг, сжатый воздух Ключи гаечные 10, 12, 17, 19 и 27 мм, плоскогубцы, отвертка
№ операции 1 № позиции Содержание работ и методика их проведения Технические требования 1 Приборы, инструмент, приспособления н материалы, необходимые для выполнения работы очистить от грязи фильтр-отстойннк, топливопроводы и дренажную трубку, слить конденсат из заборника воздуха, отвернув болт, крепящий поворотный угольник дренажной трубки Наличие воды и грязи не допускается Ключ 17 мм гаечный 6 Слить из системы смазки главной передачи масло трансмиссионное ТАП-15В или масло МТ-16п и заправить систему маслом трансмиссионным ТСп-10 Уровень масла должен быть до верхней зигов-ки в заливной горловине; уровень масла проверять после 5 мии работы двигателя Ключи гаечные 12, 19, 22 н 27 мм, ключ к пробкам бортовых передач и топливных баков, отвертка, воронка с сеткой, насадок воронки, нагнетатель масла Для транспортера с оборудованием для самоокапывания Слить масло из бака сразу после окончания работы оборудования для самоокапывания, для чего: — отъединить один из шлангов с наружной стороны кормовой части транспортера; — подставить тару; — включить гидронасос, пустить двигатель и при минимальной частоте вращения коленчатого вала на холостом ходу двигателя слить масло из бака. Для слива остатка масла из бака: Уровень масла должен быть по верхнюю метку иа щупе. Масло должно соответствовать сезону эксплуатации (см. подразд. 13.2) Щуп, ключи гаечные 14, 17 и 27 мм, отвертка
I № операции 1 № позиции Содержание работ н методика их проведения Технические требования Приборы, инструмент, приспособления и материалы, необходимые для выполнения работы — отъединить стяжные ленты и трубопроводы; — спять крышку и фильтр; — спять бак с постели и слить остаток масла; • — заправить масляный бак маслом согласно таблице смазки • Подготовка к летней эксплуатации 1 2 Выполнить очередное номерное техническое обслуживание Подготовить двигатель к летней эксплуатации: слить зимнее топливо из топливных баков," промыть их и заправить летним сортом топлива (см. подразд. 13.1 и 17.1.2) Топливо должно соответствовать требованиям инструкции по эксплуатации двигателя слить масло из системы смазки двигателя и заправить ее летним сортом масла (см. подразд. 13.3) слить низкозамерзающую жидкость из системы охлаждения и заправить ее водой (см. подразд. 13.2) Масло для 'заправки должно соответствовать требованиям инструкции по эксплуатации двигателя Вода должна быть чистой и мягкой Автозаправщик или малогабаритный заправочный агрегат МЗА-З, ключи 12 и 32 мм, ключ к пробкам бортовых передач и топливных баков, шланг для заправки топливом Ключ 12 мм, специальный ключ 32 мм, ведро Ведро, воронка с сеткой, ключ паровоздушного клапана, шланг для заправки топливом
№ операции 1 № позиции Содержание работ и методика их проведения Технические требования Приборы, инструмент, приспособления и материалы, необходимые для выполнения работы 3 Слить из системы смазки главной передачи масло трансмиссионное ТСп-10 и заправить систему маслом трансмиссионным ТАП-15В (кроме северных районов). Допускается заправка маслом МТ-16п Уровень масла должен быть до верхней зиговки масляного бака Ключи 12, 19,22 и 27 мм, ключ к пробкам бортовых передач и топливных баков, отвертка, ведро, воронка с сеткой и насадок воронки, нагнетатель масла Для транспортера с оборудованием для самоокапывания Заменить масло в масляной системе оборудования для самоокапывания (см. 16.1.6. Сезонное техническое обслуживание. Подготовка к зимней эксплуатации) Масло должно соответствовать сезону эксплуатации. Уровень масла должен быть по верхнюю метку на щупе 16.2. УКАЗАНИЯ ПО СМАЗКЕ МЕХАНИЗМОВ ТРАНСПОРТЕРА Своевременная и качественная смазка имеет решающее значение для длительной нормальной работы механизмов. Поэтому необходимо строго выполнять требования, изложенные в таблице смазки. Для смазки механизмов необходимо применять только те сорта смазки, которые указаны в таблице смазки. Масла и смазки должны храниться в специальной таре, исключающей возможность загрязнения их. Смазка механизмов производится в парке после выполнения моечно-уборочных работ. Перед заправкой необходимо удалить грязь с поверхностей пробок и масленок. При заправке пользоваться только чистой заправочной посудой и не допускать попадания в нее воды, грязи, пыли и песка. Масло сменять сразу же по окончании работы, когда масло еще горячее, что обеспечивает более полный и быстрый слив его.
Рис. 150. Схема смазки транспортера
тягача МТ-ЛБ и его модификаций
При набивке шприца смазкой необходимо следить, чтобы в корпусе шприца не образовались пузырьки воздуха, препятствующие подаче смазки. Все точки смазки указаны на схемах смазки (рис. 150). Сроки замены и дозаправки смазки приведены в таблице смазки. Следует помнить, что сроки смазки в таблице указаны для средних условий эксплуатации транспортера исходя из надежной работы уплотняющих деталей (сальников, прокладок). Поэтому при наличии течи следует выяснить причину ее, устранить неисправность и заправить смазку до нормального уровня вне сроков. Кроме того, при эксплуатации транспортера в условиях особенно грязных дорог (весенняя и осенняя распутица, песчаная местность и др.) менять смазку в механизмах ходовой части и в бортовых передачах, а также обслуживать воздухоочиститель при повышенной запыленности воздуха необходимо в два раза чаще по сравнению с периодичностью, указанной в таблице смазки.
СлЭ ГО П родолжение г | Номер позиции 1 па рис. 150 Наименование сборочной единицы, механизма Наименование смазочных материалов Количество точек с.мазк I Способ нанесения смазочных материалов Периодичность проверки и замены смазки Примечание при температуре для длительного храпения. от плюс 5 до минус 450 С от плюс 5 до плюс 45г- С 3 4 и /9 Воздухоочиститель » Система смазки главной передачи Масло 1 За мег Масло трансмиссионное 1 Си-10 рансмиссн штель — м Масло трансмиссионное ТАП 15В. Заменитель-масло МТ-16 и онное ТАП-15В. асло МТ-16п Смесь из зимнего сорта применяемого масла и 10% присадки АКОР-1 1 2 Промывка кассет в ванне с дизельным топливом с последующим окунанием в ванну с маслом Дозаправка через заливную горловину масляного бака (из чистой посуды через воронку с сеткой или используется нагнетатель .масла). При ТО-2. В особо пыльных дорожных условиях при ТО-1 При ЕТО Нижнюю кассету промыть дизельным топливом, дать стечь топливу до прекращения каплепаденпя. Среднюю и верхнюю кассеты промыть дизельным топливом, пропитать маслом', нагретым до темпера-т\ры не менее плюс 60 С, и дать стечь маслу в течение не менее 2 ч, при этом кассету установить под углом 45—60° Заправка — 10 л через сапунное отверстие главной передачи и в масляный бак главной передачи до верхней зпговкп заливной горловины. Уровень проверять после 5 мин работы двигателя. Продолжение « 5 о — С S* - Наименование сборочной единицы, механизма Наименование смазочных материалов Количество точек смазки 1 Способ нанесения смазочных материалов Г Периодичность проверки н замены смазки Примечание при температуре ) для длительного хранения от плюс 5 до минус 45° С от плюс 5 до плюс 45° С 323 Промежуточный редуктор Масло миссиоин ТСп-10 в районах всесезонн Масло сионное Замени масло М' транс-зе северных трименять о трансмис-ТАП-15В, тель — Г-16п Смесь из применяемого масла и 10% присадки АКОР-1 * ✓ 1 Слив (замена) через сливные отверстия масляного бака и главной передачи Заправка (доза- правка) через масломерное отверстие с пробкой-щупом (нагнетателем или из чистой посуды через воронку с сеткой) Слив (замена) через сливное отверстие промежуточного редуктора Через одно ТО 2 При ЕТО Через одно ТО-2 При консервации перед заправкой смесь подогреть до плюс 60—70°С При консервации перед заправкой подогреть приготовленную смесь до температуры плюс 60— 70°С
1 Номер позиции на рис 150 1 Наименование сборочной единицы, механизма Наименование смазочных материалов количество 1 точек Смазки 1 Способ нанесения смазочных материалов Периодичность проверки и замены смазки Примечание при температуре для длительного хранения от плюс 5 до минус 45° С от плюс 5 до плюс 45° С 6 Крестовины центрального карданного вала Смазка 158. Заме Литол китель — смазка -24 2 Заправка (замена) через масленки плунжерным шприцем до появления свежей смазки из контрольного клапана При ремонте — .7 \ Подшипники опорных катков Масло сионное Замени масло М' траисмис-ТАП-15В. тель — Г-16п Смесь из применяемого масла и 10% присадки АКОР-1 12 Заправка (доза- правка) через сливное отверстие (в верхнем положении) нагнетателем масла Слив (здмена) через сливное отверстие 'в нижнем положении При ТО-2 При ремонте При консервации перед заправкой подогреть приготовленную смесь до температуры плюс 60— 70°С 8 Бортовые передачи Масло сионное Замените масло М' трансмис-ТАП 15В. пь — Г-16п Смесь из применяемого ‘масла и 10% присадки АКОР-1 2 Заправка (доза- правка) через контрольное отверстие нагнетателем масла Слив (замена) через сливное отверстие При ТО-1 При ремонте При консервации перед заправкой подогреть приготовленную смесь до температуры плюс 60— 70°С Номер позиции на рис. 150 1 Наименование сборочной единицы. механизма Наименование смазочных материалов Кол «честно точек смазки Способ нанесения смазочных материалов Периодичность проверка н замены смазки При.меч । ие при температуре для длительного хранения от плюс 5 до минус 45° С от плюс 5 до плюс 45° С Смазка Литол-24 9 10 11 12 Подшипники валика рычагов управления Подшипники кронштейнов остановочных тормозов и передаточного вала Гибкий вал спидометра Подшипники промежуточного вала левого рычага управления То же 1 Заправка (доза-правка) через масленку плунжерным шприцем до появления свежей смазки 6 Заправка через масленки плунжерным шприцем до появления свежей смазки из-под втулок кронштейна 1 Замена смазки с разборкой гибкого вала 2 Замена смазки при разборке промежуточного вала При ремонте. В особо пыльных дорожных условиях при увеличении усилий на рычагах управления и педали сцепления разобрать и заменить смазку через одно ТО-2 > >
Момер поз тип । на рис. 150 1 Наименование сборочной единицы, механизма Наименование смазочных материалов Количество | точек смазк I I Способ нанесения смазочных материалов 1 Периодичность проверки и замены смазки Примечание при температуре для длительного хранения от плюс 5 до минус 45° С от плю*5 до плюс 45° С .13 14 Подшипники валика педали сцепления Подшипники ведущих барабанов фрикционов механизмов Змазка Л1 То ж 1ТОЛ-24 е 2 2 Замена с разборкой опор* валика сцепления Дозаправка через масленки, три-четыре нагнетания плунжерным шприцем При ремонте. В особо пыльных дорожных условиях при увеличении усилий на рычагах управления и педали сцепления разобрать и заменить смазку через одно ТО-2 При ТО-2 — 15 Подшипники механизмов выключения фрикционов механизмов поворота 2 Заправка (замена) через масленки плунжерным шприцем до появления свежей смазки из-под колец илн контрольного отверстия Заправка (замена) через масленки плунжерным шприцем до появления свежей смазки из-под поводков То же 16 Колонка переключения передач 2 — П родолжение > 1 < а на pre. 150 1 Наименование сборочной единицы, механизма Наименование смазочных материалов Количество 1 точек смазки 1 Способ нанесения смазочных материалов Периодичность проверки н замены смазки Примечание при температуре для длительного хранения от плюс 5 ДО VH ус 45° С от плюс 5 ДО плюс 45° С 7 7 Трубы рычагов управления фрикционами механизмов поворота Змазка Л 1ТОЛ-24 2 Заправка (замена) через масленки плунжерным шприцем до появления свежей смазки из-под торцов трубы При ТО-2 18 20 11 Валик тяги сцепления Зубчатые муфты бортовых карданов Подшипники валиков кулаков мостиков управления • То ж > е 1 4 4 Заправка (замена) через масленку плунжерным шприцем до появления свежей смазки из-под втулок кронштейна Замена через масленки плунжерным шприцем до появления свежей смазки из-под уплотнений Замена с частичной разборкой опор валика кулака Через одно ТО-2 При ТО-1 При ремонте. В особо пыльных дорожных условиях при увеличении усилий на рычагах управления выполнить разборку и заменить смазку через одно ТО-2 i
. Номер позиции | 1 а рис. 150 Наименование сборочной единицы, механизма Наименование смазочных материалов Количество точуК смазки Способ нанесения смазочных х атерналоз Пер. сд'1Ч1 ость проверки и замены смазки Пр :еча,ше при температуре для длительного храпеш я от плюс 5 до минус 45° С от плюс 5 до плюс 45° а 22 Механизм за- Смазка Литоп-24 23 крывания крышек лобовых стекол Шлицевое сое- — То ж е 24 25 26 27 динение центрального карданного вала Направляющие люльки и каретки Сиденье поворотное Муфта выключения сцепления Муфта опере- Масло, 1 1рименяемое для двигателя 28 жения впрыска топлива Подшипники 1 Смазка Литол-24. генератора Заменитель — смазка ЦИАТИ М-221 2 Замена с разборкой механизма При ’емлнте 1 Дтя мздификации 49 одна точка 1 Замена с разборкой штцевого соединения То же — 1 2 1 1 Замена со снятием путемета вместе с кареткой с установки Замена с разборкой Сиденья Дозаправка через масленку, два-три нагнетания плунжерным шприц-прессом Замена с разборкой муфты При каждой установке пулемета При ремонте То же или через 500 ч При ремонте или через 3000 ч Дпя МТ-ЛБ, МТ-ЛБВ п модификации 32 Кроме модификации 49 2 Замена с разборкой генератора При ремонте Продолжение Помер ПОЯГЦШ1 | па рис. 150 I Наименование сборочной единицы, механизма Наименс при тем| от плюс 5 до минус -!5° С ванне смазс тературе от плюс 5 до плюс 45° С чьих материалов для длительного храпения Количество 1 а п га и 4 5 Способ нанесения смазочных материалов Периодичность проверки н замены смазкн Примечание При ТО-1 29 \ Подшипники Смазка Литол-24 1 Дозаправка через натяжного ро- масленку, нагнетать лика ремней плунжерным шпри- генератора цем до появления свежей смазки из от- верстия на противо- положном торце оси 30 Гндроаморти- Смесь: 50% — масло трансформа- 4 Дозаправка через затор торное селективной очистки отверстие компенса- и 50%—масло турбинное марки ционной камеры гид- Т22 роамортизатора на- 1 1 гнетателем масла или 1 1 1 из чистой посуды 31 Кронштейны Смазка Лптол-24 12 Заправка через от- подвески верстия с пробками. два-три нагнетания плунжерным шприц- прессом со шлангом 32 Подшипники То же 2 Дозаправка 'через натяжных вин- масленки, нагнетать тов направляю- « плунжерным шприцем щих колес до появления свежей смазки под стопор- ным кольцом подшип- ника или войлочным 8 сальником О При ТО 2 Через одно ТО-2 При ТО-2
1 Номер позиции I иа pre. 150 I Наименование сборочной единицы, механизма Наименование смазочных материалов Количество 1 точек смазки 1 Способ нанесения смазочных материалов Периодичность проверки и замены смазки Примечание при температуре для длительного хранения от плюс 5 до минус 45° С от плюс 5 до плюс 45’ С 33 34 35 36 Подшипники направляющих колес Кронштейны направляющих колес Натяжные винты направляющих колес Шаровые опоры амбразур Масло сионное Замените ло МТ-1С трансмис-ТАП-15В. :ль — мас- >п Смазка Л То ж Смесь из применяемого масла и 10% присадки АКОР-1 итол-24 е 2 2 2 4 Заправка (доза- правка) через сливное отверстие (в верхнем положении) нагнетателем масла Слив (замена) через сливиое отверстие (в нижнем положении) Дозаправка через масленки, нагнетать плунжерным шприц-прессом до появления свежей смазки из-под обоих торцов кронштейна Замена с помощью деревянной лопатки Замена смазки деревянной лопаткой при проворачивании шаровой опоры При ТО-1 При ремонте При ТО-2 \ При ТО-1 При ТО-2 При консервации перед заправкой подогреть приготовленную смесь до температуры плюс 60—70’С Для МТ-ЛБ, МТ-ЛБВ, МТ-ЛБВМ Продолжение Номер позиции на рис. 150 Наименование сборочной единицы, механизма Нзимено при тем от плюс 5 до минус 45° С вание смазс 1ературе от плюс 5 до плюс 45° С чных материалов для длительного хранения Количество точек с <азк i Способ нанесения смазочных материалов Периодичность проверки и замены смазки < Примечание 37 38 Механизмы запирания амбразур Тягово-сцепное устройство Смазка Литол-24 4 1 1 То 1 ке 39 Соединитель- > 10 40 ные пальцы тяг и раскосов оборудования для самоокапывание Подшипники > 8 41 крепления гидроамортизаторов Валики кры- > 2 331 шек отопительно-вентиляционной установки Замена смазки с разборкой механизма При ТО-2 Для МТ-ЛБВ, МТ-ЛБ, МТ-ЛБВМ Дозаправка через масленку, пять-шесть нагнетаний плунжерным шприцем Дозаправка через масленки, трн-четыре нагнетания плунжерным шприцем Через 800—1000 км пробега с прицепом При ЕТО Для МТ-ЛБ, tyT-ЛБВ, МТ-ЛБВМ Для транспортеров с оборудованием для самоокапывания Замена с разборкой крепления При ремонте — Замена с разборкой осей крышек То же
w to I Номер ПОЗИЦИИ 1 на рис. ]5э Наименование сборочной единицы, механизма Наименование смазош ых материалов Кол чество точек смазки Способ нанесения смазочных материалов Периодичность про-верк ! и замены с нзк < Примечание при температуре для длительного х анеимя от плюс 5 до минус 45“ С от пл*ос 5 до плюс 45"> С 42 Подшипники натяжного ролика ремня компрессора Смазка Г, итол-24 1 Замена через масленку плунжерным шприцем, нагнетать до появления свежей смазки через сальник иа заднем торце шкива При ТО-1 — 43 Подшипники натяжного ролика ремней вентилятора То «е 1 При сборке в полость между подшип никами заложить смазку деревянной лопаткой При ремонте — 44 1 Масляный бак гидросистемы Масло М-8Ва или М-8Г2 Масло М-10В2 или М-1()Г2 Масло М-8В2 или М-8Г2 1 Дозаправка через заливиую горловину масляного бака гидросистемы до верхней метки на щупе Замена (слив) через один из шлангов с наружной стороны кормовой части При ЕТО Через 35 ч работы оборудования Для транспортеров с оборуюваиием для самоокапывания азз Продолжение Номер позиции I на рис. 150 I Наименование сборочной единицы, механизма Наименование смазочных материалов Количество 1 точек смазки 1 Способ нанесения смазочных материалов Периодичность проверки и замены смазки Примечание при температуре для длительного хранения от плюс 5 ДО M44-HVC 45° С от плюс 5 ДО плюс 45° С 45 46 Подшипники водяного насоса Редуктор вентилятора Масло сиоиное Заменит! ло МТ-16 Смазка Л траисмис-ТАП-15В. ?ль — мас-п 1ТО.1-24 Смесь из применяемого масла и 10% присадки ДКОР-1 1 1 Замена через масленку плунжерным шприцем до появления свежей смазки из контрольного отверстия Дозаправка через масломерное отверстие нагнетателем масла Слив (замена) через сливиое отверстие редуктора с предварительным снятием крышки подмоторного люка Через одно ТО-2 или 250 ч При ТО-2 При ремонте При консервации перед заправкой подогреть приготовленную смесь до температуры 60—70°С
17. ТЕХНИЧЕСКОЕ ОБСЛУЖИВАНИЕ УЗЛОВ И АГРЕГАТОВ ТРАНСПОРТЕРА 17.1. ТЕХНИЧЕСКОЕ ОБСЛУЖИВАНИЕ СИЛОВОП УСТАНОВКИ 17.1.1. ТЕХНИЧЕСКОЕ ОБСЛУЖИВАНИЕ СИСТЕМЫ СМАЗКИ Для обеспечения долговечности и экономичности двигателя необходимо соблюдать следующие правила при его эксплуатации: — не допускать работы двигателя при понижении уровня масла в поддоне ниже метки «Н» на масломерном щупе; — заливать масло из маслораздаточной колонки дозировочным пистолетом; если нет маслораздаточиов колонки, допускается заливать масло через воронку с сеткой из чистой тары; — во время работы двигателя следить за показаниями масляного манометра; — следить за плотностью соединении трубопроводов системы смазки, не допускать течи масла в соединениях; — своевременно проводить техническое обслуживание системы смазки. V. Проверка уровня и заливка масла Для проверки уровня и заливки масла в двигатель следует открыть крышку люка моторного отделения, для чего повернуть ручки зажимов, стержни зажимов, поднять крышку люка и зафиксировать ее в этом положении стопорным "устройством. Затем масломерным щупом, протертым перед замером, проверить уровень масла в поддоне двигателя. Уровень масла проверять не раньше чем через 5 мин после остановки двигателя, установив транспортер на ровной площадке. Если необходимо, долить свежее масло до метки «В» на масломерном щупе.
Масло заливать в двигатель через горловину на крышке головки цилиндра. Перед заливкой протереть горловину. Инструмент — ключи гаечные 19 и 24 мм, отвертка, ключ запора. Слив масла Для слива масла из картера двигателя открыть крышку люка моторного отделения и зафиксировать ее сговорным устройством, снять крышку заливной горловины, отвернуть болты и снять подмоториый люк, затем отвернуть сливную пробку и слить масло. Для удаления из поддона вместе с маслом отложений необходимо сливать масло из прогретого двигателя. Инструмент — ключи гаечные 12 и 36 мм, отвертка. Промывка фильтра грубой очистки масла Порядок промывки фильтра грубой очистки масла: — снять боковую' панель ограждения двигателя; — вывернуть пробку сливного отверстия и слить масло из фильтра в подставленную тару, после чего пробку завернуть; — отвернуть болт колпака фильтра и снять колпак, верхнюю крышку и фильтрующий элемент; — поместить на 3 ч (не менее) фильтрующий элемент в ванну с растворителем (бензином или четыреххлористым углеродом). Внимание! Четыреххлористый углерод ядовит, поэтому при обращении с ним необходимо соблюдать осторожность; — промыть фильтрующий элемент мягкой волосяной щеткой в ванне с растворителем; — поместить фильтрующий элемент в ванну с чистым бензином или четыреххлористым углеродом, прополоскать элемент и затем продуть сжатым воздухом; фильтрующий элемент можно также прокипятить в 10% водном растворе каустической соты, затем промыть в дизельном топливе в продуть сжатым воздухом; время кипячения — от 30 мин до 6 ч в зависимости от степени его загрязнения; — промыть в дизельном топливе колпак фильтра; — собрать фильтр, для -чего надеть па стержень фильтрующий элемент с крышкой, затем колпак н тщательно затянуть болт; в случае повреждения фильтрующей сетки элемента се нужно заменить па новую с размером ячеек 0,14x0,14 мм; сет ку на элементе закрепить путем пайки;
— проверить чистоту деталей перепускного клапана; при наличии закоксовання детали промыть в бензине. После каждых 4000 ч работы двигателя или через 2— 2,5 года эксплуатации заменить фильтрующий элемент фильтра грубой очистки масла. Инструмент — ключи гаечные 19, 24 и 27 мм, отвертка. Промывка центробежного фильтра очистки масла Порядок промывки ротора фильтра: — открыть крышку люка моторного отделения и зафиксировать ее в этом положении стопорным устройством; — для демонтажа ротора фильтра вывернуть болт, соединяющий генератор с планкой, и повернуть генератор вокруг осн в сторону компрессора на 5—10 мм; — обслужить фильтр согласно инструкции по эксплуатации двигателя. После обслуживания фильтра генератор установить на место, ввернуть болт, затянуть и проверить затяжку всех болтов генератора. Инструмент — ключи гаечные 17, 19 и 24 мм, отвертка. 17.1.2. ТЕХНИЧЕСКОЕ ОБСЛУЖИВАНИЕ СИСТЕМЫ ПИТАНИЯ ДВИГАТЕЛЯ ТОПЛИВОМ Своевременное и качественное техническое обслуживание системы питания двигателя топливом обеспечивает его длительную и надежную работу. Чтобы система питания двигателя топливом работала безотказно, необходимо: — строго соблюдать указания по заправке баков топливом, обращая особое внимание на предохранение его от загрязнения; — проверять плотность соединений топливопроводов, обнаруженные течн немедленно устранять; — своевременно и качественно проводить техническое обслуживание системы питания двигателя топливом, строго придерживаясь указании инструкции по эксплуатации двигателя. Проверка количества топлива в топливных баках Для проверки количества топлива в баках необходимо: — установить транспортер на горизонтальную площадку; — установить рукоятку топлнвораспредслнтельпого крана против надписи «ЛЕВ. БАКИ» или «ПРАВ. БАКИ» па табличке крана;
— нажать на колпачок клапана топлнвомера, расположенного справа сзади механика-водителя, и, выждав некоторое время для выравнивания уровней топлива в проверяемой группе баков в трубке топлнвомера, по шкале с надписью «Группа баков» определить количество топлива в группе баков в литрах. Для определения количества топлива во всех баках необходимо пользоваться шкалой топлнвомера с надписью «ВСЕ БАКИ». Рукоятка тонлнвораспределнтелыюго крапа при этом должна быть установлена против надписи ВСЕ ВК.Л. па табличке крана. Слив топлива из топливных баков Для слива топлива пз топливных баков необходимо: — отвернуть болты и снять крышку люка под топливным баком; — завернуть в корпус сливной пробки топливного бака штуцер шланга для заправки топливом, придаваемый в одиночный комплект ЗИП (см. приложение 1); — отвернуть на два-три оборота сливную пробку и слить топливо в подставленную тару; — плотно завернуть сливную пробку и вывернуть штуцер шланга. Для ускорения слива топлива рекомендуется отвернуть пробки заливных горловин. Инструмент — ключ торцовый 12 мм, ключ к пробкам бортовых передач и топливных баков, шланг для заправки топливом. Проверка крепления топливных баков Надежность крепления верхних топливных баков обеспечивается периодической подтяжкой гаек шпилек лент хомутов, а нижних баков — периодической подтяжкой болтов накладок и прижимов крепления баков. Инструмент — ключи гаечные 12, 14 и 17 мм. Промывка топливных баков без снятия их с транспортера Промывать топливные баки без снятия их с транспортера следует в таком порядке: — снять крышки заливных горловин топливных баков; — отвернуть пробки заливных горловин топливных баков, предварительно очистив их от грязи, и вынуть сетчатые фильтры из заливных горловин; — отвернуть болты крепления крышек люков к днищу корпуса и сиять крышки люков под каждой группой топливных баков;
— завернуть штуцер шланга в корпус сливной пробки, отвернуть сливную пробку топливных баков п слить остатки топлива в подставленную тару; — с помощью малогабаритного заправочного агрегата МЗА-З промыть каждую группу баков; вставить раздаточный кран агрегата в заливную горловину промываемой группы баков н в течение 0,5 мни нагнетать топливо в группу баков при максимальной производительности насоса (60 л/мнн); — выждав .некоторое время для обеспечения полного слива топлива из баков, надежно затянуть сливные пробки топливных баков, установить крышки люков под топливными баками й прикрепить их болтами к днищу корпуса транспортера; ’ — заправить топливные баки соответствующим сортом топлива; — установить сетчатые фильтры и ввернуть пробки в заливные горловины; — > установить крышки заливных горловин. Инструмент — ключи торцовые 12 п 32 мм, кчюч к пробкам бортовых передач и топливных баков, шланг для заправки топливом. Снятие топливных баков, промывка их и установка Порядок демонтажа топливных баков: — отвернуть болты крепления крышек люков к днищу корпуса и снять крышки люков под каждой группой топливных баков; — завернуть штуцер со шлангом, который придается в одиночный комплект ЗИП, в корпус сливной пробки топливного бака; — отвернуть на два-три оборота сливпую пробку топливного бака и слить топливо в подставленную тару; — снять сиденья и спинки с нижних топливных баков; — отвернуть пробку и шурупы крепления заливной горловины; — отъединить стяжные ленты крепления верхнего топливного бака; — отъединить трубки подвода топлива и соединительные трубки между баками; — снять верхний бак, сохранив прокладки постелей и хомутов бака; — отъединигь трубки подвода и отвода топлива от нижнего топливного бака; — отъединить три верхних и два нижних прижима нижнего бака (расшплнптовать н отвернуть болты крепления прижимов топливного бака); — снять нижний топливный бак. Залить в каждый топливный бак по 15 20 л топлива и путем взбалтывания промыть топливные баки.
Устанавливаются топливные баки в последовательности, обратной демонтажу баков. Инструмент — ключи гаечные 10, 12, 14, 17, 19, 27 и 32 мм, ключ к пробкам бортовых передач п топливных баков, отвертка, плоскогубцы, шланг для заправьп топливом. Снятие с двигателя топливного насоса высокого давления Для снятия топливного насоса высокого давления с двигателя необходимо выполнить следующие операции: — открыть падмоторный люк и зафиксировать его в этом положении стопорным устройством; — отвернуть болты крепления соединительного патрубка к впускным коллекторам двигателя; — ослабить хомутик крепления соединительного шланга к патрубку воздухоочистителя; — отъединить шланг подвода воздуха к компрессору от соединительного патрубка, ослабив хомутик крепления шланга, и снять соединительный патрубок; — отъединить трубки высокого давления от насоса и форсунок; — отъединить топливные трубкп подвода и отвода топлива от тотивоподкачивающего насоса; — отъединить подводящую и отводящую топливные трубки от топливного насоса высокого давления; — расшплинтовать болты крепления ведущей полумуфты к корпусу муфты опережения впрыска топлива и отвернуть их; — отвернуть болты крепления топливного насоса к блоку двигателя и снять насос. При снятии топливного насоса должна соблюдаться максимальная частота. После отъединения топливопроводов штуцера топливного насоса отверстия трубопроводов должны быть защищены от попадания грязи пробками, колпачками, заглушками или чистой изоляционной лентой. Инструмент — ключи гаечные 12, 14, 17, 19 и 22 мм, отвертка. 17.1.3. ТЕХНИЧЕСКОЕ ОБСЛУЖИВАНИЕ СИСТЕМ ОХЛАЖДЕНИЯ И ПОДОГРЕВА ДВИГАТЕЛЯ Техническое обслуживание системы охлаждения Для обеспечения нормальной работы двигателя необходимо соблюдать следующие требования: перед пуском двигателя проверить количество охлаждающей жидкости в расширительном бачке и в случае необходимости долить ее; охлаждающую жидкость заливать в систему охлаждения че-
Рис. 151. Натяжение ремней генератора н привода редуктора вентилятора: 1 — винт; i, 5 — контргайки; 3, 6 — гайки; 4 — стопорная шайба. 7 — натяжной ролик рез воронку с сеткой по нижнюю кромку расширительного бачка; при ежедневном техническом обслуживании осмотреть моторный отсек и проверить, пет ли течи охлаждающей жидкости. Обнаруженные неисправности устранить; * своевременно проверять натяжение ремней привода вентилятора. При нажатии рукой на середину верхней ветви ремня вентилятора с с усилием 4+0,1 кгс прогиб ремня должен быть 10— 14 мм. При необходимости отрегулировать натяжение ремней. Натяжение ремней регулируется сжатием пружины натяжного ролика. Для натяжения ремней необходимо гайку 6 (рис. 151) завинтить, предварительно расконтрив контргайку 5. В случае выхода из строя одного из ремней привода вентилятора снять оба ремня. Вновь устанавливать ремни следует только комплектами с разницей по длине в комплекте не более 3 мм. Ремни в ЗИП придаются комплектно. Установка новых ремней с ремнями, бывшими в эксплуатации, недопусти ма. Ремни, бывшие в экс плуатации, нужно подбирать в отдельные комплекты с разницей по длине в комплекте не более 3 мм. Для замены ремней привода вентилятора необходимо выполнить следующие работы: — снять панель ограждения двигателя; — расконтрить контргайку 5 и, вращая гайку 6, поставить натяжной ролик в верхнее положение; — снять старые ремни; — установить комплект ремней и отрегулировать натяжение гайкой 6; — законтрить контргайку 5. • Проверку и регулировку ремня привода водяного насоса следует производить в соответствии с инструкцией по эксплуатации двигателя; ЗЮ
своевременно проверять крепление редуктора привода вентилятора, мест соединения трубопроводов, натяжного ролика и состояние ремней; два раза в год, при нсрехо ie на летнюю и зимнюю эксплуатацию, необходимо промывать систему охлаждения для удаления накипи, для чего слить жидкость из системы охлаждения сразу по окончании работы двигателя, открыв кран слива 17 (рис. 6) охлаждающей жидкости; залить в систему охлаждения раствор и промыть се, соблюдая указания инструкции по эксплуатации двигателя. Для уменьшения образования накипи воду в системе охлаждения менять возможно реже; при переходе на зимнюю эксплуатацию для повышения надежности работы двигателя и предохранения системы охлаждения от замерзания для заправки системы охлаждения следует пользоваться антифризом (см. подразд. 13.2). Инструмент — ключ паровоздушного клапана, ключи гаечные 12, 14, 17 и 27 мм, отвертка, щетка стальная, скребки. Техническое обслуживание системы подогрева При использовании системы подогрева двигателя необходимо: — следить, чтобы не было течи топлива, охлаждающей жидкости, а также топлива из дренажного отверстия 18 (рис. 8) топливного насоса и при продувке котла подогревателя и газоходов из дренажной трубки 14 (рис. 7) котла подогревателя Допускается течь топлива из дренажного отверстия 18 (рис. 8) не ботее 1,5 см3/ч; — следить, чтобы не было прорыва газов в местах подсо единения газоотводящих труб 11 (рис. 6) и 21, из-под прокла док кожуха 22 поддона двигателя; — осматривать и подтягивать болты и гайки крепления па сосного агрегата и котла подогревателя; — два-три раза за сезон эксплуатации сливать конденсат к накопившееся топливо из кожуха поддона двигателя через сливное отверстие, отвернув пробку. При подготовке системы подогрева к зимней эксплуатации необходимо: — слить охлаждающую жидкость из системы охлаждения и подогревателя двигателя; — отсоединить трубку 25 (рнс. 6) и электропровода от электромагнитного клапана 26 с форсункой и электронагревателем топлива; — спять электромагнитный клапан с котла подогревателя; — отвернуть корпус 8 (рис 152) фильтра и извлечь фильтр 5; промыть фильтр в бензине или чистом дизельном топливе и про дуть его сжатым воздухом при необходимости фильтр заменить из одиночного комплекта ЗИП,
— установить фильтр 5 на место, обратив особое внимание при сборке на его правильную установку донышком в сторону пружины 7, и завернуть корпус фильтра, предварительно проверив на личие п целоентоегь прокладки 6; Рис. 152. Электромагнитный клапан с форсункой и электронагревателем топлива: 1— электронагреватель топлива, 2 — электромагнит с клапаном; 3 — клапан запорного устройства; 4 — штуцер запорного устройства; 5 — фильтр электромагнитного клапана; 6, 16 — прокладки; 7 — пружина 8 — корпус фильтра. 9 — распылитель; 10 — корпус форсунки; // — проставка; 12, /5 — винты; /3 — фильтр форсунки; 14 — шайба, /7— прокладка распылителя — вывернуть и разобрать форсунку. Прочистить отверстия в распылителе 9, проставке 11, винте 12 и корпусе (применение при этом металлических предметов не допускается) и промыть все детали форсунки в бензине или чистом дизельном топливе и продуть сжатым воздухом; — собрать форсунку в обратной последовательности, обратив особое внимание на правильность установки распылителя, проставки и фильтра форсунки, плотность затяжки их винтами (фильтр должен быть установлен уплотнительной прокладкой в сторону корпуса форсунки), а также целостность преклад-342
ки 17 распылителя. Винты 12 и 15 должны быть затянуты до плотного упора. При необходимости заменить форсунку или ее фильтр из одиночного комплекта ЗИП; — ввернуть форсунку в электромагнитный клапан до плотного упора, обратив особое внимание на целостность прокладки 16; — вывернуть свечу накаливания, предварительно отсоединив электропровод, очистить от нагара и копоти, проверить, не по вреждены ли изолятор и спираль; витки спирали не должны касаться один другого и центрального стержня; при необходимости заменить свечу накаливания из одиночного комплекта ЗИП; — снять воздуховод 13 (рис. 6), соединяющий нагнетатель воздуха насосного агрегата и горелку котла подогревателя; — спять горелку котла подогревателя, отвернув болты крепления, удалить нагар с ее внутренних поверхностен деревянными скребками и волосяными ершами, промыть горелку в бензине или чистом дизельном топливе; — при течи топлива более 1,5 см3/ч из дренажного отверстия 18 (рис. 8) заменить манжету 17, как указано ниже; — при течи охлаждающей жидкости из-под манжеты 4 (определяется по наличию охлаждающей жидкости в нагнетателе воздуха насосного агрегата и горелке котла) снять насосный агрегат вместе с кронштейнами 5 (рис. 6) и 7, отвернув болты крепления, и заменить манжету, как указано ниже; — слить накопившиеся топливо и конденсат из кожуха 22 поддона двигателя через сливное отверстие, отвернув пробку; — при необходимости снять котел 1Ь подогревателя, кожух 22 поддона двигателя, предварительно отсоединив все шланги и газоотводящне трубы, промыть их бензином или чистым дизельным топливом и продуть сжатым воздухом; — установить все сборочные единицы и детали па место в обратной последовательности (кроме электромагнитного клапана с форсункой п электронагревателем топлива), обратив особое внимание па наличие и целостность уплотнительных прокладок; — подсоединить электропровод и трубку 25 к электромагнитному клапану и проверить работу клапана, не устанавливая его на горелку котла подогревателя п не включая свечу накаливания; угол распыла топлива должен быть не менее 60°, распыл топлива должен быть тонким, в виде туманообразного конуса; течь топлива из форсунки при установленном выключателе 2 (рис. 9) электромагнитного клапана в положение ПРОДУВ и работающем электродвигателе насосного агрегата не допускается; при наличии течи электромагнитный клапан разобрать и проверить состояние рабочих поверхностен штуцера 1 (рис. 152) п клапана 3 запорного устройства, полусфе ры; собрать клапан в обратной не • 1едоиатслы1ости;
— проверить работу электронагревателя 1 топлива включением выключателя 6 (рис. 9) на время не более 5 с; при нормальной работе электромагнитного клапана с форсункой и электронагревателем топлива установить его на горелку котла подогревателя; — заправить систему охлаждения и подогрева низкозамерзающей жидкостью, как указано в подразд. 13.2; — пустить подогреватель и проверить его работу; при необходимости отрегулировать топливный насос иа оптимальную подачу, которая характеризуется равномерным гулом горения смеси; появление хлопьев сажи из газоотводящей трубы или перебоев в горении топлива («взрывное горение») не допускается. При течи топлива из дренажного отверстия 18 (рис. 8) более 1,5 см3/ч следует заменить манжету 17 в такой последовательности: — отвернуть болты 9 и снять топливный насос вместе с переходником // с насосного агрегата; — отвернуть четыре винта и снять переходник 11 с муфтой 10 с топливного насоса; — извлечь стопорное кольцо и с помощью крючка манжету 17, а на ее место установить новую из одиночного комплекта ЗИП; — собрать насос в обратной последовательности и установить его на место дренажным отверстием 18 вниз. При попадании охлаждающей жидкости из водяного насоса в нагнетатель воздуха следует заменить манжету 4 в такой последовательности: — снять подводящий патрубок 2, отвернуть гайку крепления рабочего колеса 3, вытащив шплинт из паза гайки; — снять рабочее колесо 3 с помощью плоскогубцев и отвертки; — снять корпус 1 нагнетателя воздуха, отвернув восемь винтов; — извлечь стопорное кольцо и с помощью крючка манжету 4; — установить новую манжету из одиночного комплекта ЗИП и собрать насосный агрегат в обратной последовательности. Регулирование подачи топлива Для регулирования подачи топлива необходимо: — отвернуть накидную гайку 21 и ослабить затяжку контргайки 22 регулировочного винта 20; — при наличии перебоев в горении топлива («взрывное горение») или при продолжительном протреве двигателя увеличить подачу топлива, повернув регулировочный впит 20 по ходу часовой стрелки;
— при наличии хлопьев сажи в отработавших газах подогревателя уменьшить подачу топлива, повернув регулировочный впит 20 против хода часовой стрелки до появления отработавших газов без хлопьев сажи. Напряжение питания электродвигателя подогревателя во время регулирования подачи (расхода) топлива или проверки его работоспособности должно быть 23,5—24 В. Инструмент — ключи гаечные 12, 14, 17 и 19 мм, ключи торцовые 10, 12, 14, 17 п 19 мм, вороток для затяжки стяжных хомутиков, отвертка, плоскогубцы, деревянные скребки, волосяные щетки. 17.1.4 ТЕХНИЧЕСКОЕ ОБСЛУЖИВАНИЕ СИСТЕМЫ ПИТАНИЯ ДВИГАТЕЛЯ ВОЗДУХОМ Для обеспечения нормальной работы системы питания двигателя воздухом необходимо: — следить за плотностью соединений системы, не допуская подсоса неочищенного воздуха в двигатель; — не допускать попадания воды в воздухоочиститель, так как из воздухоочистителя вода может попасть в цилиндры двигателя и вызвать гидравлический удар, сопровождающийся обычно поломкой деталей кривошипно-шатунного механизма двигателя. Техническое обслуживание воздухоочистителя Техническое обслуживание воздухоочистителя заключается в периодической очистке фильтрующих элементов от пыли и пропитке их свежим маслом. Периодичность очистки воздухоочистителя зависит от условий эксплуатации транспортера и должна выдерживаться согласно таблице смазки. Техническое обслуживание воздухоочистителя проводить в таком порядке: — открыть крышку люка моторного отделения и зафиксировать ее в этом положении стопорным*устройством; — отвернуть барашки крепления крышки корпуса воздухоочистителя, снять крышку, расшплинтовать и отвернуть болты крепления стопорных планок, снять планки и вынуть фильтрующие элементы (кассеты) и войлочные прокладки; — нижнюю кассету промыть и пропитать дизельным топливом, дать стечь топливу до прекращения каплепадеппя; — среднюю и верхнюю кассеты промыть дизельным топливом, пропитать маслом трансмиссионным ТАП-15В или маслом МТ 16п, нагретым до температуры не ниже плюс 60°С, и дать ему стечь; при температуре окружающего воздуха плюс
15—20°С продолжительность стекания масла, нагретого до плюс 60°С, должна быть 2 ч, до 80°С—1,5 ч, до 100°С — 0,5 ч; повышение температуры окружающего воздуха ускорит процесс стекания масла. Для стекания масла кассету устанавливать иод углом 45—60°. Категорически запрещается встряхивание кассет для ускорения стекания масла. При необходимости промывки циклопов и бункера воздухоочистителя следует: отвернуть гайки шпиЛек крепления корпуса воздухоочистителя к картеру маховика; ослабить хомутики крепления шлангов к патрубкам корпуса и бункера воздухоочистптея, снять корпус, вынуть войлочную прокладку, а соединительный патрубок впускных коллекторов закрыть деревянной заглушкой; тщательно промыть бункер и циклоны воздухоочистителя чистым дизельным топливом или бензином и просушить; установить корпус воздухоочистителя на место н собрать фильтр в обратной последовательности. Болты крепления стопорных планок зашплинтовать проволокой. Перед установкой войлочных прокладок в корпус и между кассетами смазать их смазкой Литол-24. По окончании технического обслуживания воздухоочистителя закрыть крышку люка моторного отделения. Для увеличения периодичности технического обслуживания воздухоочистителя при эксплуатации (кроме МТ-ЛБВМ) в условиях повышенной запыленности воздуха необходимо устанавливать удлинитель воздухозаборной трубы (см. приложение 1). Инструмент — ключи гаечные 10, 17, 19 и 24 мм, отвертка. 17.2. ТЕХНИЧЕСКОЕ ОБСЛУЖИВАНИЕ ТРАНСМИССИИ И ПРИВОДОВ УПРАВЛЕНИЯ 17.2.1. ТЕХНИЧЕСКОЕ ОБСЛУЖИВАНИЕ СЦЕПЛЕНИЯ Для безотказной работы сцепления и его привода необходимо правильно им пользоваться; при движении не держать ногу па педали; выключать сцепление полностью (выжимая педаль до отказа); включать сцепление плавно, по сначала быстро, а в конце хода медленнее, особенно при трогании транспортера с места и при перек тючеппн передач с высших на низшие; не держать длительное время сцепление выключенным.
17.2.2. ТЕХНИЧЕСКОЕ ОБСЛУЖИВАНИЕ ПРОМЕЖУТОЧНОГО РЕДУКТОРА Техническое обслуживание промежуточного редуктора заключается в своевременной доливке и смене смазки, проверке крепления картера промежуточного редуктора к картеру маховика двигателя. Для проверки уровня масла в промежуточном редукторе, доливки масла в редуктор и смазки муфты выжимного подшипника необходимо открыть крышку люка перед передней панелью ограждения двигателя. Для проверки уровня масла в промежуточном редукторе отвернуть пробку-щуп заливного отверстия и по щупу определить уровень масла. Доливать масло в редуктор следует через это же отверстие. При необходимости слива масла из промежуточного редуктора следует отвернуть болты крепления крышки люка к днищу корпуса, снять крышку люка под промежуточным редуктором и, отвернув пробку сливного отверстия, слить маслом По выполнении перечисленных операций установить крышку люка на место и закрепить на днище корпуса. И и с г р у м е п т — ключи гаечные 12, 14 и 17 мм. 17.2.3. ТЕХНИЧЕСКОЕ ОБСЛУЖИВАНИЕ ЦЕНТРАЛЬНОГО КАРДАННОГО ВАЛА Техническое обслуживание центрального карданного вала заключается в своевременной проверке креплений вилки вала к фланцу, муфты и вала к фланцам со стороны главной передачи и промежуточного редуктора. Для проверки креплений центрального карданного вала необходимо снять крышку кожуха карданного вала и проверить затяжку гаек и болтов крепления. Инструмент — ключи гаечные 12, 19 и 22 мм. 17.2.4. ТЕХНИЧЕСКОЕ ОБСЛУЖИВАНИЕ ГЛАВНОЙ ПЕРЕДАЧИ Обеспечение нормальной работы главной передачи Для обеспечения нормальной работы главной передачи необходимо: — дозаправлять и сменять масло в системе смазки главной передачи (рис. 153) и смазывать подшипники планетарно-фрикционного механизма поворота, строго соблюдая указания таблицы смазки; — следить, чтобы давление масла в системе смазки главной передачи после прогрева масла было при номинальной частоте вращения коленчатого вала двигателя 1,5—4,5 кгс/см2 и не менее 0,5 кгс/см2 при минимальной частоте па холостом ходу; допускается начинать движение при давлении масла 0,5 кгс/см2 па I передаче и пониженной частоте вращения коленчатого вала
двигателя и двигаться в этом режиме до установленного давления масла не менее 1,5 кгс/см2; — не допускать течи масла по местам уплотнений, а также перегрева главной передачи; Рис. 153. Система смазки главной передачи: / — масляный радиатор; 2 — масляный бак; 3 — сливная пробка; 4 — пробка заливной горловины; 5 — масляный насос; 6— сливная пробка главной передачи; 7 — картер главной передачи; 8 — масляный фильтр; 9 — пробка-сапун; 10 — фильтрующий элемент; // — рукоятка; 12 — болт для слива отстоя; 13 — пробка — следить, чтобы уровень масла в баке находился в пределах между нижней и верхней зиговками в трубе заливной горловины; при понижении уровня масла ниже нижней зиговки в трубе заливной горловины пуск системы подогрева двигателя запрещается; — своевременно обслуживать масляный фильтр главной передачи; — проверять крепление главной передачи к корпусу транспортера и бортовых карданов к фланцам со стороны главной и бортовых передач; — своевременно выполнять положенные регулировки; — строго соблюдать правила переключения передач и поль зования механизмами поворота, изложенные в подразд. 14.5
Проверка уровня масла, доливка и смена его в масляном баке и в главной передаче Уровень масла проверять после 5 мни работы двигателя. Для проверки уровня масла в баке и для доливки масла в бак необходимо снять крышку люка, расположенного в передней панели ограждения двигателя за'спинкой сиденья водителя. Отвернуть пробку заливной горловины масляного бака, предварительно очистив ее от грязи, проверить уровень масла в баке и при необходимости долить масло через воронку с сеткой или используя нагнетатель масла. Для проверки уровня масла в баке в заливной горловине бака сделаны две зиговки. Для обеспечения нормальной работы главной передачи и системы подогрева двигателя необходимо, чтобы уровень масла в баке находился в пределах между нижней и верхней зиговками в трубе заливной горловины масляного бака. Снижение уровня масла ниже нижней зиговки не допускается. Для замены масла в масляном баке и главной передаче необходимо снять крышку люка, расположенного в передней панели ограждения двигателя за спинкой сиденья водителя,'открыть крышку люка трансмиссионного отделения и зафиксировать ее в поднятом положении стопорным устройством, отвернуть болты крепления крышек люков к днищу корпуса и снять крышки люков под маслящям баком и главной передачей. Затем отвернуть пробки сливных отверстий масляного бака и главной передачи, а также пробку-сапун главной передачи и слить масло. Масдо из главной передачи и масляного бака следует сливать сразу же по возвращении из рейса пли после прогрева, пока оно не остыло. После слива масла установить на место пробки сливных отверстий н через воронку с сеткой залить масло: в главную передачу— 10 л, в масляный бак — до верхней зиговки в заливной горловине. Установить нй место пробку заливного отверстия масляного бака и пробку-сапун главной передачи, закрыть крышку люка трансмиссионного отделения, установить крышки люков под главной передачей и масляным баком, пустить двигатель, проработать на средней частоте вращения двигателя 5 мин, проверить уровень масла и при необходимости дозаправить. Техническое обслуживание фильтра масляной системы главной передачи Для технического обслуживания фильтра масляной системы главной передачи необходимо поднять крышку люка трансмиссионного отделения и зафиксировать ее в этом положении стопорным устройством.
Ежедневно очищать фильтрующий элемент фильтра, периодически сливать отстой и промывать фильтрующий элемент. Очищать пластины фильтра необходимо ежедневно сразу же по возвращении из рейса поворотом по ходу часовой стрелки рукоятки оси на два-три оборота. Запрещается пользоваться удлинителем для облегчения поворачивания рукоятки осп. Если рукоятка фильтра поворачивается с трудом, то надо спять фильтрующий элемент и промыть его в керосине. Промывать фильтр следует также при каждой смене масла в системе смазки главной передачи. Разбирать фильтрующий элемент фильтра при промывке не следует. При промывке фильтрующего элемента фильтра следует также удалять грязь из гнезда для фильтрующего элемента в картере главной передачи. Для этого необходимо деревянной заглушкой закрыть отверстие для отвода чистого масла из фильтра в масляный бак и чистой тряпкой, смоченной керосином, удалить грязь из гнезда фильтрующего элемента в картере главной передачи. При промывке фильтрующего элемента фильтра отложения следует удалять деревянной лопаткой и тряпкой, допускается применение волосяной щетки. Металлические щетки применять нельзя. Промытый элемент высушить и продуть воздухом. При продувке ои должен пропускать воздух по всей поверхности. Сливать отстой из фильтра рекомендуется при техническом обслуживании № 1 и при каждой смене масла. Для этого сразу же после остановки двигателя повернуть рукоятку фильтра иа два-три оборота по ходу часовой стрелки, а затем слить отстой. Для слива отстоя из фильтра главной передачи необходимо раскшликтовать и вывернуть болт крепления фланца трубы отвода масла из фильтра в масляный бак. Проверка крепления зубчатых муфт карданных валиков Для проверки крепления зубчатых муфт к фланцам карданов главной передачи и фланцам солнечных шестерен бортовых передач необходимо поднять крышку люка трансмисси-оппогб отделения и зафиксировать ее в поднятом положении стопорным устройством. Проверка осуществляется путем периодической подтяжки болтов крепления зубчатых муфт к фланцам карданов главной передачи и к фланцам солнечных шестерен бортовых передач. 350
Проверка крепления главной передачи к корпусу транспортера Для проверки затяжки болтов крепления главной передачи к корпусу необходимо подия и, крышку люка трансмиссионного отделения, закрепить се в поднятом положении стопорным устройством и снять правую панель в отделении управления. Болты крепления главной передачи при необходимости подтянуть. Инструмент—ключи гаечные 12 и 24 мм, комплект гаечных ключей со сменными головками, мод. 2336М-1 (головка сменная 24 мм). Снятие и установка главной передачи Для снятия главной передачи необходимо: — поднять крышку люка трансмиссионного отделения и застопорить ее; — спять удлинитель воздухозаборной трубы, нагнетатель для масла и его постель, канистру и ее постель; — спять воздушные баллоны и бачок для воды стекло-обмыва; — отъединить тягу привода блокировки, тяги мостиков управления, тяги тормозов, панель и аппарат А-1 переговорного устройства; — отъединить центральный карданный вал со стороны главной передачи, снять бортовые карданы; — снять датчик манометра, разъединить трубки масляной системы главной передачи; — снять рычаг управления главной передачей и панель колонки переключения передач; — отвернуть болты крепления главной передачи к корпусу; — зачалить главную передачу и спять ее. Устанавливается главная передача на транспортер в последовательности, обратной снятию. Регулировочные прокладки должны быть сохранены и установлены на свои места при установке главной передачи па место в целях сохранения центровки. При этом после установки карданные валики должны перемещаться по зубчатым муфтам в любом положении за полный оборот. Инструмент — ключи гаечные 12, 14, 17, 19, 22, 24 и 27 мм, ключи торцовые 17, 19, 22 и 32 мм, комплект гаечных ключей со сменными головками, мод. 2336М-1 (головка сменная 24 мм). Оборудование — таль, захваты. Разборка главной передачи Разборка и замена деталей главной передачи осуществляются в условиях ремонтной мастерской.
Порядок разборки: — снять с главной передачи мостики управления с лентами тормозов механизмов поворотов; — ослабить затяжку болтов крепления рычагов па хвостовиках вилок переключения передач, снять стопорные кольца двуплечих рычагов, отвернуть ганки и спять колонку переключения передач; — отъединить трубки системы смазки; — отвернуть гайки и выбить четыре установочных болта, расположенные по углам главной передачи; — отвернуть ганки шпилек и болтов крепления крышки к картеру главной передачи; — снять бортовые фрикционы; — отвернуть болты крепления опоры планетарного механизма поворота; — снять уплотнительные втулки вилок переключения передач; — перевернуть главную передачу сливной пробкой вверх; — отвернуть болты крепления стакана конической шестерни; — обстучать разъем главной передачи по всему периметру; — отделить картер главной передачи от крышки и, покачивая, снять картер; — снять соединительные муфты со шлицев передаточного вала; — отъединить трубки подачи масла к главному и передаточному валам; — извлечь из гнезда крышки ось маслоподвода к главной передаче; — снять главный вал с вилками переключения передач и планетарными механизмами поворота в сборе; — снять передаточный вал с шестернями и вилкой переключения V—VI передач в сборе. Заменить дефектные детали новыми. Сборку главной передачи производить в последовательности, обратной разборке, при этом опоры должны быть установлены на шгпфты. Разукомплектовывать или менять местами регулировочные шайбы и прокладки не допускается. Уплотнительные прокладки, а также плоскость разъема картера и крышки главной передачи перед установкой должны быть смазаны цинковыми густотертыми белилами любой марки. Инструмент — молоток, отвертка, ломик, медная наставка, ключи гаечные 12, 14, 17, 19, 22 и 27 мм. Оборудование — таль, захваты. 17.2.5. ТЕХНИЧЕСКОЕ ОБСЛУЖИВАНИЕ БОРТОВОЙ ПЕРЕДАЧИ 'Техническое обслуживание бортовой передачи заключается в проверке уровня масла, своевременной смене масла, в проверке крепления бортовой передачи к корпусу транспортера, 352
барабана остановочного тормоза к фланцу солнечной шестерни бортовой передачи и крышки уплотнения бортовой передачи со стороны остановочного тормоза к крышке картера бортовой передачи. Масло в бортовой передаче слстует менять сразу же по возвращении из рейса, пока оно не остыло. Для проверки креп тения бортовой передачи к корпусу транспортера необходимо снять гусеницу, а для проверки крепления барабана остановочного тормоза к фланцу солнечной шестерни бортовой передачи и крышки уплотнения бортовой передачи со стороны остановочного тормоза к крышке картера бортовой передачи поднять крышку люка трансмиссионного отделения и зафиксировать ее в поднятом положении стопорным устройством. Порядок снятия и установки бортовых передач Для снятия бортовых передач необходимо: — разъединить гусеницы и освободить ведущие колеса от гусениц, — снять крышки ступиц ведущих колес; — расконтрить и отвернуть ганки крепления ведущих колес, снять прижимные кольца и ведущие колеса; — открыть крышку люка трансмиссионного отделения и застопорить ее; — снять карданные валики, тормозные барабаны, сапуны бортовых передач; — отъединить на левой бортовой передаче трос спидометра; — отвернуть гайки крепления бортовых передач к корпусу и снять бортовые передачи. Устанавливаются бортовые передачи на транспортер в последовательности, обратной снятию. 17.2.6. ТЕХНИЧЕСКОЕ ОБСЛУЖИВАНИЕ ПРИВОДОВ УПРАВЛЕНИЯ, ЭКСПЛУАТАЦИОННЫЕ И МОНТАЖНЫЕ РЕГУЛИРОВКИ Правильная регулировка приводов управления обеспечивает безаварийность движения, уменьшает износ деталей механизмов управления и снижает утомляемость водителя. Регулировку приводов управления агрегатами и механизмами транспортера следует проверять при техническом обслуживании и по мере необходимости восстанавливать заданные параметры. При разборке пли регулировке приводов управления транспортером следует пальцы и отверстия вилок под пальцы очистить от грязи и при установке па место смазать смазкой Лп-тол 24.
Эксплуатационные регулировки Регулировка привода управления д в п г а гелем Отрегулированный привод управления двигателем должен обеспечивать работу двигателя на максимальных и мнннмаль-, пых оборотах, энергичное возвращение педали подачи топлива в исходное положение, легкое и плавное управление регулятором двигателя и останов двигателя рукояткой ручной подачи топлива. В случае увеличения зазора между болтом ограничителя максимальных оборотов и рычажком регулятора более 1,2 мм максимальные обороты двигателя уменьшаются. Для восстановления зазора необходимо ввинтить упорный болт педали или укоротить тягу 8 (рис. 157). Регулировка привода управления сцеплением Регулировка этого привода должна обеспечить полное выключение сцепления при переключении передач и полное его включение в движении. Регулировать свободный и полный ход педали сцепления необходимо в таком порядке: — свободный ход педали — изменением длины тяги 13 (рис. 158) так, чтобы она перемещалась в пределах 6,5—8 мм для обеспечения зазора 3,2—4 мм между выжимным подшипником муфты и опорной втулкой сцепления; — полный ход педали — болтом 3 так, чтобы при выжиме педали до упора в болт тяга 13 перемещалась в пределах 40—42 мм. Регулировка остановочных тормо-зов Правильно отрегулированные остановочные тормоза должны отвечать следующим требованиям: все шарнирные соединения тормозов должны свободно проворачиваться, без заеданий и заклиниваний; зазор между колодками лент и остановочным барабаном должен быть 1,5—2,5 мм; гайки и болты крепления кронштейнов остановочных тормозов должны быть затянуты до плотного упора, а шплинты пальцев разведены; при затянутых лептах тормозов все колодки должны плотно прилегать к поверхности барабанов.
Для проведения регулировки остановочных тормозов необходимо открыть крышку люка трансмиссионного отделения и застопорить ее. Рис. 154. Схема остановочных тормозов: / — регулировочные болты; 2 — регулировочная гайка; 3 — рычаг тормоза Регулировать остановочные тормоза следует в таком порядке: — отпустить контргайки регулировочных болтов 1 (рис. 154) остановочного тормоза; — удерживая рычаг 3 тормоза в крайнем нижнем положении, с помощью регулировочной гайки 2 и регулировочных болтов 1 установить равномерный зазор между тормозным барабаном и колодками тормозной ленты (1,5—2,5 мм); допускается местный зазор не менее 0,5 мм в двух-трех местах; — затянуть контргайки регулировочных болтов / остановочного тормоза до плотного упора. Инструмент—ключи гаечные 14 и 17 мм, щуп.
Рис. 155. Регулировка прппота лепт тормоза механизма поворота (рычаги управления находятся в первом положении): 1 — ведомы fl барабан; 2 — колодка тормозной ленты; 3 — регулировочный болт; 4 — контргайка- 5 — оттяж 1ая пружина; 6 — серьга ленты; 7 — регулировочная гайка; 8 — хвостовик поводковой кор >бки; 9 — регулировочная тяга; /О — рычаг тормоза; И — ролик рычага тормоза; /2 — кулак; 13 — ролик рычага фрикциона; 14 — рычаг фрикциона Регулировка тормозов механизмов поворота Для проведения регулировки тормозов механизмов поворота необходимо открыть крышку люка трансмиссионного отделения и застопорить ее. Для обеспечения равномерного зазора между тормозными барабанами механизмов поворота и колодками лент необходимо: рычаг тормоза 1 (рис 156) переместить в переднее крайнее положение, поставив рычаги управления в исходное положение; регулировочными болтами 3 (рис. 155) обеспечить равномерность зазора (проверяется щупом). .Инструмент — ключи гаечные 14 и 17 мм, щуп.
7-S мм свободный ход ^при регулировке Рис. 156. Схема привода повотковой коробки фрикциона механизма пово- рота: / — поводковая коробка; 2 — регулировочная гайка; 3 шарнирная тяга; 4 — рычаг тормоза; 5 — регулировочная тяга тормоза механизма поворота, 6 — рычаг тормоза механизма поворота; 7 — кулак, 8 — регулировочный болт Регулировка зазора между роликом рычага тормоза механизма поворота и впадиной кулака Для обеспечения нормальной работы приводов управления и безопасности движения необходимо своевременно регулировать зазор между роликом рычага тормоза механизма поворота и впадиной кулака, который должен быть 4,5—5,5 мм (проверяется щупом). В процессе использования транспортера допускается уменьшение зазора до 2 мм (проверяется щупом).
При установке рычага управления в первое положение, если нет зазора между роликом и впадиной кулака мостика управления, транспортер плохо разворачивается, а при увеличенном зазоре между роликом и впадиной кулака мостика управления транспортер резко «уводит» в сторону, наблюдается повышенный износ колодок тормозных лепт механизмов поворота. Для регулировки зазора между роликом рычага тормоза механизма поворота и впадиной кулака необходимо; — открыть крышку люка трансмиссионного отделения и застопорить ее; — установить рычаги управления в первое положение и замерить зазор между роликом 11 (рис. 155) и впадиной кулака 12 правого и левого мостиков управления; — установить рычаги управления в исходное положение и повернуть регулировочную гайку 7 па несколько щелчков (при необходимости); обычно в процессе использования транспортера зазор между роликом 11 и впадиной кулака 12 уменьшается вследствие износа колодок и вытяжки лент тормоза механизма поворота, в этом случае ганку 7 следует навинчивать на серьгу 6\ — установить рычаги управления в первое положение и снова проверить зазор между роликом 11 и впадиной кулака 12. Привод отрегулирован правильно, если щуп толщиной 4,5 мм проходит между роликом и кулаком свободно, а щуп толщиной 5,5 мм не проходит или проходит с трудом. Инструмент — ключи гаечные 14 и 17 мм, щупы — 4,5— 5,5 и 2—3 мм. Регулировка свободного хода поводковой, коробки фрикциона механизма поворота Для обеспечения нормальной работы приводов управления транспортером необходимо своевременно регулировать свободный ход поводковой коробки. Для проведения регулировки свободного хода поводковой коробки необходимо открыть крышку люка трансмиссионного отделения и застопорить ее. Затем установить рычаги управления в переднее крайнее положение; при этом ролики рычагов тормозов механизмов поворота должны находиться в соответствующих лунках на профильной поверхности кулаков. Регулировать свободный ход поводковой коробки механизма поворота необходимо в таком порядке: — проверить необходимость регулировки, для чего шарнирную тягу 3 (рис. 156) фрикциона механизма поворота с хвостовиком поводковой коробки / подать до отказа назад, а затем вперед и по перемещению соединительного пальца замерить величину свободного хода (свободный ход должен быть 7— 9 мм);
— если свободный ход поводковой коробки 1 больше или меньше указанных величин, для правой поводковой коробки отпустить контргайки шарнирной тяги и, вращая тягу, отрегулировать свободный ход (7—9 мм); величину свободного хода левой поводковой коробки регулировать вращением гайки 10 (рис. 39), отпустив контргайки 9 и 11\ ’— проверить правильность регулировки; — затянуть контргайки шарнирной тяги. Инструмент—ключи гаечные 17, 19 и 27 мм, плоскогубцы, линейка, отвертка Монтажные регулировки Регулировка привода управления двигателем * Перст регулировкой привода управления двигателем следует снять панель ограждения двигателя над центральным карданным валом, открыть крышку люка моторного отделения и застопорить ее. Привот управления двигателем регулировать в такой последовательности: а) В положении рычага 14 (рис. 157) регулятора топливного насоса двигателя, соответствующем минимальной частоте вращения холостого хода, когда, штифт рычага 14 упирается в болт 13, изменением длины тяги 11 установить рычаг 10 так, чтобы ось его пальца находилась на расстоянии 39 мм от вертикальной липни, проходящей через ось вращения этого рычага. Соединить тягу 11 с рычагом 10, установив палец отверстием под шплинт влево. Подвести рычаг 17 до упора усиком в рычаг 10. б) Отъединить тягу 12 от рычага 9 и подать ее до отказа назад (в сторону кормы транспортера). Медленно перемещать тягу 12 вперед (в сторону носа транспортера) и в момент увеличения усилия на перемещение тяги соединить ее с рычагом 9, который должен быть подведен к другому усику рычага 17. При необходимости отрегулировать длину тяги 12. Палец устанавливать отверстием под шплинт вправо. После проведенной регулировки положение рычагов должно быть следующим: рычаг 14 штифтом упирается в болт 13, рычаг 10 — в один усик, а рычаг 9 — в другой усик рычага 17, рычаги 9, 17 и 10 находятся в одной плоскости и наклонены вперед па 39 мм. Примечание. На рис. 157 рычаги 9 и 10 услозпо смещены один относительно другого.
в) При положении рычагов 9, 10, 14 и 17, как указано в п. «б», изменением длин тяг 8 и 4 установить рычаг 7 так, чтобы ось пальца его была отклонена па 25 мм вперед ог оси вращения рычага, а педаль 2 так, чтобы конец ее был па расстоянии 246 мм от днища. г) В положении максимальной подачи педаль 2 подачи топлива должна упираться в упорный бол г 1, при этом .зазор между штифтом рычага 14 и болтом 15 ограничения максимальной частоты вращения должен быть не более 1,2 мм. Закончив полную регулировку привода управления двигателем, затянуть контргайки тяг и развести шплинты па соедп нительных пальцах. Инструмент — ключи гаечные 12, 14, 17 и 19 мм, отвертка, плоскогубцы, линейка. Регулировка педалей сцепления и остановочных тормозов Для регулировки .педали сцепления и педали остановочных тормозов следует снять папель ограждения двигателя над центральным карданным валом, открыть и поставить на упор крышку люка трансмиссионного отделения. Для педали сцеплепия предусмотрены четыре регулировки: установка исходного положения; регулировка свободного хода; регулировка полного хода; регулировка усилия сервопружипы. Для правильной установки педали в исходное положение необходимо: — отъединить тяги 16 (рис. 158) и 5 от двуплечего рычага валика педалей; — установить педаль болтом 4 так, чтобы расстояние А было равно 85—90 мм; — подсоединить тяги 16 и 5 к двуплечему рычагу валика педалей, предварительно отрегулировав их; тягу 16 отрегулировать таким образом, чтобы метки, нанесенные на рычаге 14 и корпусе 17 колонки, совпадали; тягу 5 отрегулировать так, чтобы расстояние В было равно 18—22 мм в сторону кормы машины. Допускается несовпадение меток не более 1 мм. Тягу 10 отрегулировать так, чтобы размер Г был равен 38— 42 мм. Свободный ход педали следует регулировать изменением длины тяги 13 так, чтобы педаль перемещалась в пределах 6,5—8 мм для обеспечения зазора 3,2—4 мм между выжимным подшипником муфты и опорной втулкой сцепления. Полный ход педали регулировать болтом 3 так, чтобы при выжиме педали до упора в 6o.it тяга 13 перемешалась в про делах 40 42 мм.
Сервопружипу 11 регулировать так, чтобы под действием усилия пружины педаль после снятия ноги самостоятельно возвращалась в исходное положение. Рис. 158. Схема привода сцепления и ножного привода остановочных тормозов: / — тяга тормозного крана; 2 — валик педали; 3, 4 — упорные болты; 5 — тяга педали; 6~ переходный рычаг; 7, 12 — двуплечие рычаги; 8 — рычаг педали; 9 —. регулировочная гайка; 10 — короткая тяга сцепления; 11 — сервопружина. 13 — тяга сцепления; /4 —рычаг блокировки; 15 — кронштейн сервопружины; 16— тяга блокировки; 17—корпус колонки Регулировке подлежат положение кронштейна 15 сервопружины и усилие сервопружииы //. Предварительно кронштейн 15 сервопружииы нужно установить так, чтобы при выборе свободного хода педали длинное плечо двуплечего рычага 7 и стержень сервопружииы составляли одну прямую. Если после этого педаль будет зависать в положении выбранного свободного хода, то кронштейн 15 сервопружины сместить в сторону от носа транспортера от его предварительного положения до исключения зависания педали. Усилие сервопружииы 11 следует регулировать в таком порядке: — выжать педаль до упора в болт 3 п сжать сервопружп-ну 11 с помощью ганки 9 так, чтобы педаль удерживалась пружиной в этом положении;
— отпустить сервопружппу на несколько оборотов гайки, т. е. до тех пор, пока педаль не будет плавно возвращаться в исходное положение. Для педали остановочных тормозов предусмотрены две регулировки: установка исходного положения; регулировка полного хода. Исходное положение педали остановочного тормоза после отъединения тяги 1 устанавливается аналогично исходному положению педали сцепления. Расстояние А для педали остановочных тормозов составляет 72—78 мм. Полный ход педали остановочного тормоза регулируется болтом 3 так, чтобы при выжиме педали до упора в болт тяга 1 перемещалась в пределах 35—43 мм. После- снятия ноги педаль должна возвращаться в исходное положение. Регулировка привода остановочных тормозов Для регулировки привода остановочных тормозов необходимо: — открыть крышку люка трансмиссионного отделения и застопорить ее; — отрегулировать положение вилки 4 (рис. 159), свинчивая ее или навинчи- Рис. 159. Схема привода остановочных тормозов: 1 — рычаг тормоза: 2 — вилка тяги рычага управления; 3, 5 — пальцы; 4— вилка; 6, 7 — рычаги со скосами; А — торец вая на шток тормозной камеры так, чтобы палец 5 упирался в верхний торец прорези вилки; при этом рычаг 1 остановочного тормоза должен находиться в крайнем нижнем положении; — поставить рычаги управления в первое положение, при правильной регулировке рычаг 6 должен касаться своим верхним скосом соответствующего скоса рычага 7. по всей плоскости, а палец 3 рычага должен упираться в торец А прорези вилки 2
Правильность регулировок приводов управления транспортером проверяется пробегом. Регулировка фрикционов механизма поворота Для регулировки фрикционов механизма поворота необходимо открыть крышку люка трансмиссионного отделения и застопорить ее. I Z Рис. 1G0. Фрикцион механизма поворота: / — нажимной диск; 2— палец; 3 — отжимной диск; 4— вал фрикциона; 5 - поводковая коробка; 6 — ведущий барабан; 7. 10 — замковые шайбы; 8, 9 — гайки; 11, 12. 13 — регулировочные прокладки При эксплуатации главной передачи в результате износа дисков фрикционов механизма поворота уменьшается свободный ход поводковой коробки и его уже невозможно восстановить за счет укорачивания тяги поводковой коробки, поэтому возникает необходимость в регулировке фрикционов механизма поворота. Фрикционы механизма поворота следует регулировать в таком порядке: — отогнуть замковую шайбу 7 (рпс. 160), отвернуть гайку 8 п спять ведущий барабан 6;
— отогнуть лапки замковых шайб 10 п отвернуть шесть гаек 9 на пальцах отжимного диска 3; — спять нажимной диск /; — спять с каждого пальца 2 hccko.ii.ko регулировочных прокладок 11, 12 п 13 (суммарная толщина снятых с каждого пальца прокладок должна быть одинаковой); — надеть нажимной диск 1 па пал цы 2 п закрепить его; — проверить свободный ход поводковой коробки 5, который должен быть 14—18 мм; — надеть ведущий барабан 6 иа хвостовик вала 4 фрикциона главной передачи п закрепить его; — присоединить тягу поводковой коробки к хвостовику поводковой коробки. Инструмент — ключи гаечные 12, 17, 19 и 46 мм, плоскогубцы, отвертка, линейка. Регулировка привода управления главной передачей В' процессе эксплуатации главной передачи (в результате износа соединительных пальцев и отверстий в вилках и рычагах) увеличиваются зазоры в соединениях. Это вызывает неполное включение муфт главной передачи при включенном положении рычага переключения. Признаком неполного включения передач является самопроизвольное выключение передачи при включенном положении рычага и включенной блокировке рычага переключения передач. При регулировке привода любой из передач необходимо выполнить следующие работы: — установить рычаг 2 (рис. 161) переключения передач в нейтральное положение; — расшплинтовать необходимые соединительные пальцы 7; — заменить соединительный палец у рычага соответствующей регулируемой передачи стержнем 11 выставки рычагов и поводков, придаваемым в одиночный комплект ЗИП; — проверить положение заостренного конца стержня выставки рычагов и поводков относительно углубления с отметкой «Н» (нейтральное положение) на крышке картера главной передачи; — ввинчивая пли вывинчивая регулировочную вилку 5, подобрать длину регулируемой тяги так, чтобы заостренный конец стержня выставки рычагов и поводков входил в углубление с отметкой «Н», а для I и II передач и передачи заднего хода регулировать длиной тяг 4. При регулировке приводов III—VI передач необходимо выполнить дополнительные работы: — проверить положение стержня выставки рычагов и поводков относительно рисок включенного положения передач на 365
крышке картера главной передачи при включенном положении рычага переключения передач; — в случае несовпадения заостренного конца стержня выставки рычагов п поводков с рисками па картере главной передачи и при самовыключении передач ввинчиванием резьбовых Рис. 161. Схема регулирования привота управления главной передачей: / — колонка; 2 — рычаг переключения; 3 — поводки; 4 — регулировочные тяги; 5 — регулировочные вилки; 6 — рычаги I—II передач и передачи заднего хода; 7 — соединительные пальцы; 8 — рычаг HI—IV передач; 5 —рычаг V—VI передач; 10 — резьбовые наконечники рычагов; 11— стержень выставки рычагов п поводков наконечников 10 рычагов добиться полного включения муфт регулируемых передач и совпадения рисок с заостренным концом стержня выставки рычагов и поводков. Выполнив регулировку привода, следует окончательно проверить правильность ее, после чего заменить стержень выставки поводков и рычагов соединительным пальцем, который должен свободно заходить в проход соединительных пальцев в отверстия вилок и рычагов от усилия руки при нейтральном и включенном положениях рычага переключения. Окончательно работа привода проверяется в движении, при этом должно обеспечиваться: легкое, с равномерным усилием, переключение передач; свободное, без заеданий в прорезях поводков и колонки, перемещение рычага переключения передач. Эта регулировка должна выполняться высококвалифицированными специалистами. И и стр у м е и т — ключи гаечные 19 и 24 мм, плоскогубцы, стержень выставки рычагов и поводков.
Регулировка рычагов управления Для правильной установки рычагов 3 (рис. 162) управления в переднее крайнее положение необходимо: — отъединить тягу / от промежуточного рычага; — установить регулировочные болты 2 так, чтобы при упоре в них выступов рычагов 3 управления рукоятки рычагов отстояли от балки на расстоянии 90—100 мм; при этом взаимное смещение положения рукояток рычагов 3 управления допускается не более чем на 3 мм; — отрегулировать длину тяги / и соединить ее с проме-' жуточиым рычагом; при этом ролики рычагов тормозов механизма поворота должны находиться в соответствующих лунках па профильной поверхности кулаков (см. 4.2.9). Инструмент — ключи гаечные 14, 17 и 19 мм, плоскогубцы, линейка. Порядок установки соединительных пальцев приводов управления Рис. 162. Схема регулирования рычагов управления: / — переходная тяга; 2— регулировочный болт; 3 — рычаг управления При установке рычагов управления, педали сцепления, рычага кронштейнов остановочных тормозов и других деталей приводов соединительные (стопорные) пальцы следует устанавливать, как показано на рис. 163. Соединительные пальцы 3 нужно устанавливать со стороны скосов па торцах валиков, Па валике 2 каждый соединительный палец необходимо устанавливать со стороны скоса па ближайшем из торцов валика. Установка пальцев 3 с другой стороны не допускается,
Скос на торце валика Рис. 163. Схема установки соединительных пальцев: 1 — рычаг; 2 — валик; 3 — соединительны Л палец 17.3. ТЕХНИЧЕСКОЕ ОБСЛУЖИВАНИЕ ХОДОВОЙ ЧАСТИ При эксплуатации транспортеров необходимо следить за состоянием сборочных единиц и деталей ходовой части и не допускать попадания топ тиа и смазочных материалов на резиновые бандажи опорных катков. 17.3.1. ТЕХНИЧЕСКОЕ ОБСЛУЖИВАНИЕ ГУСЕНИЦ Надежная -и длительная работа гусеницы обеспечивается своевременным и качественным техническим обслуживанием. В эксплуатации необходимо следить за состоянием звеньев и пальцев гусеницы, заменяя при необходимости изношенные сборочные единицы и детали. Замене подлежат: пальцы с изломами по телу; звенья при поломках (отрыв проушин, цевок), трещинах, сквозном износе проушин (при этом гусеница с закрытым шарниром должна содержать не менее 104 звеньев, с открытым — ие мепее 08). При поломке направляющих гребней звенья гусениц переставлять так, чтобы поломанные гребни ие располагались рядом— один за другим. При необходимости удаляются в первую очередь звенья со сквозным износом проушин, с обломанными гребнями или раскрытым— у гусеницы с закрытым шарниром — шарниром. Заменять дефектные звенья гусеницы с открытым шарниром новыми, не бывшими в эксплуатанин, не рекомендуется, так 368
как вследствие разности шага новых и бывших в эксплуатации возможно нарушение зацепления. При утопаппн горца пальца гусеницы с за> рытым шарниром за торец цевки звена (рас. 41) менее чем пи 3 мм клн более чем на 7 мм пальцы подпрессовать, обеспечив размер в пределах 4—6 мм. Поднрессовывать приспособлением (рис. 185) пли ударами кувалдой через наставку по пальцу. Гусеницы подлежат замене: .с закрытым шарниром, если содержат менее 104 звеньев, с открытым шарниром, если содержат менее 98 звеньев. Последние заменяются в комтекте с венцами ведущих колес, при этом они берутся из группового комплекта ЗИП Заменять пли удалять звено гусеницы следует па участке между ведущим колесом и первым опорным катком в нижней ветви. Гусеницы целесообразно разъединять и соединять в одном и том же месте. Допускается использование старого, ранее выпрессоваппого пальца гусеницы с закрытым шарниром со срезами резиновых колец по всему периметру шириной не более 6 мм и глубиной не более 1,5 мм. При снятии и надевании гусеницы следует поддерживать крайнее звено так, чтобы не повредить кожух гпдроамортпза-тора. При набегании (распоре) гусеницы надо прекратить движение. Спереди подложить бревно, наехать па него первым и вторым опорными катками для ослабления натяжения гусеницы, ослабить гусеницу дополнительно натяжным устройством, направить гусеницу по зубьям, съехать с бревна и вновь натянуть ее до нормы Для транспортеров па гусеницах с закрытым шарниром в случае достижения предельного износа зубьев венцов ведущих колес 10—12 мм (когда останется не менее 2 мм ширины окантовки зуба) заменить их из группового комплекта ЗИП. 17.3.2 РЕГУЛИРОВАНИЕ НАТЯЖЕНИЯ ГУСЕНИЦ Правильное натяжение гусеницы определяется но величине провисания верхней ее ветви, которая должна лежать па четырех опорных катках, не касаясь первого и шестого опорных катков, при этом расстояние от первого опорного катка до беговой дорожки гусеницы должно составлять 25—55 мм. Ослаб ленне -натяжения гусениц может привести к сбрасыванию пли набеганию гусеницы на ведущее колесо. Проверять и регулировать натяжение гусениц необходимо следующим образом: - поставить транспорт ср па ровную площадку; ' 36J
— затормозить одну из гусениц, поставив рычаг управления во второе положение; — выключить сцепление, пустить двигатель, включить передачу заднего хода и на малой частоте вращения плавным включением сцепления выбрать провисание гусеницы на участке между первым опорным катком и ведущим колесом незаторможенной стороны гусеницы; по расположению верхней ветви гусеницы определить правильность ее натяжения. Если гусеница натянута недостаточно, следует открыть крышку люка кормы, снять стопор натяжного винта и ключом вращать винт по ходу часовой стрелки до нормального натяжения гусеницы. Для ослабления натяжения нужно винт вращать в противоположную сторону, при этом для облегчения подачи направляющего колеса вперед допускаются легкие удары кувалдой по гусенице в зоне направляющего колеса. Если винт натяжного устройства завинчен до отказа, а гусеница еще не натянута, необходимо удалить одно звено. • 17.3.3. НАДЕВАНИЕ ГУСЕНИЦЫ Чтобы надеть гусеницу, когда другая надета, нужно: — разостлать гусеницу проушинами звеньев вперед по ходу транспортера (шестью — с открытым шарниром и тремя — с закрытым шарниром); — своим ходом (с помощью второй гусеницы) наехать на разостланную гусеницу так, чтобы впереди переднего катка осталось два-три трака; — надеть верхнюю ветвь гусеницы на направляющее колесо, опорные катки и ведущее ко песо вручную ити используя капроновый шнур; при надевании верхней ветви гусеницы на ведущее колесо или при снятии с него обязательно поддерживать крайнее звено гусеницы, чтобы не повредить кожух гидроамортизатора; — поставить направляющее колесо в крайнее переднее положение, вращая винт натяжного устройства против хода часовой стрелки; допускаются легкие удары кувалдой по направляющему колесу для облегчения его продвижения; — выключить сцепление, пустить двигатель, включить I передачу, затормозить соединенную гусеницу, поставив рычаг управления во второе положение, и плавным включением сцепления на малой частоте вращения двигателя натянуть верхнюю ветвь несоедипеппой гусеницы и в таком положении затормозить ее; — соединить пальцем концы гусеницы и отрегулировать ее натяжение Порядок надевания гусеницы с помощью капроновою шнура приведен в приложении 1,
17.3.4. ПЕРЕСТАНОВКА ВЕДУЩИХ КОЛЕС При износе зубьев венцов ведущих колес 10—12 мм (когда останется не менее 2 мм ширины окантовки зуба) рекомендуется поменять местами ведущие колеса: левое поставить па правую сторону, правое — на левую. После такой перестановки зубья венцов будут работать неизношеннымп сторонами. Если же износ па рабочей или нерабочей стороне профиля зуба равномерный, то перестановку можно не проводить. Для перестановки ведущих колес необходимо: — разъединить гусеницы; — отвернуть болты крепления крышек ступиц ведущих колес и снять крышки с прокладками; — расшплинтовать и отвернуть гайки шпилек крепления ведущих колес на водилах бортовых передач, снять прижимные кольца, ведущие колеса и поменять их местами. Примечания; 1. При перестановке ведущих колес необходимо упорные кольца оставить в комплекте с торцовыми уплотнениями, чтобы не нарушить взаимную приработку. 2. При сборке нанести на рабочие поверхности упорного кольца и нажимного кольца торцового уплотнения бортовых передач слой смазки толщиной 0,5—1 мм (проверять визуально). Смазка должна быть следующего состава по весу: смазка Литол-24 — 30%, масло трансмиссионное ТАП-15В или масло МТ-16п — 70%. Смесь перед употреблением тщательно перемешать до получения однородной массы; — установить на место прижимные кольца, закрепить ведущие колеса на водилах бортовых передач, надежно затянув гайкн п зашплинтовав их; — закрепить болтами крышки ступиц ведущих колес, установив под крышки прокладки; — надеть гусеницы, соединить концы их пальцами и отрегулировать натяжение. Эксплуатация ведущих колес после перестановки допускается до износа рабочих поверхностей зубьев па глубину 10— 12 мм (когда останется не менее 2 мм ширины окантовки зуба). 17.3.5. ЗАМЕНА ВЕНЦОВ ВЕДУЩИХ КОЛЕС Для замены венцов ведущих колес необходимо снять ведущие колеса. Устанавливать вепцы на ступицу ведущих колес необходимо таким образом, чтобы зубья каждого из венцов (наружного и внутреннего) располагались один против другого. Относительное смещение допускается не более чем на 3 мм. Проверять правильность установки венцов ведущих колес следует угольником или отвесом на горизонтальной плите.
Для удобства сборки ведущего колеса па одном из зубьев каждого венца имеется бонка (метка) При сборке ведущих колес зубья наружного и внутреннего венцов с бойками расположить один против другого. 17.3.6. ЗАМЕНА ПОЛОМАННОГО ТОРСИОННОГО ВАЛА Дтя замены поломанного юрснонного вала необходимо: — поддомкратить борт и ш наехать катком на яму, предварительно сияв гусеницу, Рис. 164. Подвеска: /—торсионный пал; 2, 8, 9 —болты; 3 — регулировочные прокладки, 4—прокладка; 5 — гай! а балансира 6 — уплотнительное кольцо, 1 — планка; 10 балансир — вывернуть ганку 5 (рис. 164) балансира и снять прокладку 4 и регулировочные прокладки <3; — вывинтить болт 2 из большой головки торсионного вала 1 и спять регулировочные прокладки 3\ — установить приспособление 8.60.022 со стороны большой головки торсионного вала н вынуть поломанную часть (способ применения приспособления см. в приложении 1); — отвернуть болты 8 и 9, снять ограничительную планку 7 с противоположной стороны борта и уплотнительное кольцо 6; — установить приспособление 8.60.022 со стороны малой головки торсионного вала 1 и извлечь вторую обломанную часть (способ применения приспособления см. в приложении 1); — установить новый торсионный вал, пользуясь приспособлением 8.60.022 (приложение 1); — выставить каток по высоте (см. 13.3.7);
— установив конец малой головки торсионного вала заподлицо с торцом кронштейна, вставить уплотнительное кольцо 6 и закрепить ограничительную планку 7 болтами 8 и 9; — установить на место регулировочные прокладки 3 (в том же количестве), болт 2, прокладку 4 п ганку 5 балансира. Для получения надежного уплотнения по месту сопряжения гайки 5 балансира и прокладки необходимо обеспечить зазор Г между торцом гайки 5 балансира и регулировочной прокладкой 3, равный 0,5—1 мм. Для этого при сборке узла/1 необходимо замерить размеры Б и В. Размер Б должен быть больше размера В. Если эти размеры равны или размер В больше размера Б, следует удалить одну регулировочную прокладку 3 и надежно затянуть гайку 5 балансира. 17.3.7. ВЫСТАВКА ОПОРНЫХ КАТКОВ ПО КОЛЕЕ После замены торсионных валов следует проверять выставку катков по колее. Все катки должны быть Рис. 165. Схема выставки катков по колес: / — ведущее колесо; 2— опорный каток; 3 — струна (нить); 4 — направляющее колесо выставлены в одну линию посре- дине беговой дорожки гусеницы. Для проверки выставки катков протянуть гладкую струпу (нить) 3 (рис. 165) таким образом, чтобы один конец ее касался внутренней плоскости наружного зубчатого венца ведущего колеса 1, а другой отстоял от наружного торца направляющего колеса 4 па 80,5—81,5 мм. Расстояние от струны 3 до реборд всех опорных катков 2 должно быть 78,5-81,5 мм. Чтобы отрегулировать установку катков по колее, необходимо:
поднять домкратом борт транспортера так, чтобы катки не касались беговой дорожки гусеницы; вывинтить ганку 5 (рис. 16-1) балансира, спять прокладку 4 и регулировочные прокладки 3\ вывинтить болты 2 из головки торсионного вала 1 и снять регулировочные прокладки 3; ударами по верхней головке рычага добиться правильного положения катков (78,5—81,5 мм); подобрать необходимую толщину регулировочных прокладок 3 и установить на место эти прокладки, болт 2, снова регулировочные прокладки 3, прокладку 4 и гайку 5 балансира, обеспечив при этом зазор Г, равный 0,5—1 мм. 17.3.8. ВЫСТАВКА ОПОРНЫХ КАТКОВ ПО ВЫСОТЕ Выставка опорного катка по высоте производится после замены торсионного вала или балансира. Выставку катков по высоте необходимо производить в таком порядке: Рис. 166. Схема выставки катков по высоте: 1— линейка; 2— верхняя головка балансира опорного катка; 3— струна; 4 — опорный каток; 5 — стакан уплотнения — снять гусеницу; — с помощью домкратов, поставленных под передние и задние кронштейны подвески, поднять транспортер; — натянуть струпу 3 (рис. 166) так, чтобы опа легла на верхние головкп 2 балансиров опорных катков 4, и установить
каток так, чтобы расстояние от струны до стакана уплотнения было 220—224 мм; указанное расстояние проверяется линей кой /, которая должна быть установлена так, как показано на рис. 166; для транспортера МТ-ЛБВ (МТ-ЛБВМ) применяется дифференцированная выставка опорных катков по высоте; расстояние от струны до стакана уплотнения приведено в прило женин 7; — установить торсионный вал на место, не меняя положения опорного катка (см. 17.3.6); при несовпадении шлицев провернуть торсионный вал по ходу часовой стрелки или против нее; в крайнем случае опустить или поднять опорный каток в допустимых пределах до совпадения шлицев; при выставке первого п шестого опорных катков отъединить гидроамортизаторы от балансиров. 17.3.9. ТЕХНИЧЕСКОЕ ОБСЛУЖИВАНИЕ ГИДРОАМОРТИЗАТОРОВ Техническое обслуживание гндроамортизаторов необходимо выполнять в помещении, исключающем возможность попадания ныли, грязи и воды. При всех видах технического обслуживания необходимо проверять крепление гидроамортизаторов и пет ли течи из гидро-амортизаторов. На наружных поверхностях деталей корпуса гпдроаморти-затора допускается образование масляной пленки без капле-паденпя. При обнаружении течи из гидроамортизатора необходимо: — снять гвдроамортнзатор с транспортера, очистить от грязи и протереть насухо, — слить амортизаторную жидкость; — разобрать гптроамортизатор и устранить неисправность; — проверить действие пружины компенсационного клапана (пет ли усадки пружины, поломки ее и т. п.); — промыть все детали в бензине; — после сборки заправить гидроамортизатор свежей жидкостью. Для слива жидкости из гидроамортизатора и заправки его свежей необходимо: — вытянуть шток в крайнее положение; — установить гпдроамортнзатор штоком вниз; — отвинтить пробку 16 (рис. 167), вынуть пружину, компенсационный клапан и слить отработанную жидкость; — через отверстие для компенсационного клапана залить 900 см3 смеси согласно таблице смазки; — после заправки вставить компенсационный клапан, пружину и завинтить пробку 16 па гпдроамортпзаторе для резьбовых соединений до упора (выступание пли западание пробки 16 относительно торца корпуса гидроамортизатора допускается не более чем па 1,5 мм).
17.3.10. СНЯТИЕ И УСТАНОВКА ГИДРОАМОРТИЗАТОРА Для замены амортизаторной жидкости пли устранения дефекта в гндроамортизаторах необходимо спять гпчроамортп-затор Демонтировать амортизатор необходимо в тако т последовательности- — ослабить натяжение гусеницы и снять ее; — поддомкратить пли установить транспортер так, чтобы балансиры передних к задних опорных катков переместились вниз па величину, обеспечивающую снятие пальца 10 (рис. 167); — расшплинтовать и отвинтить корончатую ганку //; — снять шайбу 13 и уплотнительное кольцо 9; — выбить палец 10 из проушины в сторону борта транспортера; — снять втулку 14; — расшплинтовать и отвинтить крышку 7; — расшплинтовать и отвинтить корончатою гайку б; — снять шайбу 5; — вывести гидроамортизатор 17 из проушины балансира опорного катка, переместив его вверх, и спять его с кронштейна 1; — снять шайбы 3 и 4. Перед установкой гидроамортизатора на транспортер необходимо посадочные места под подшипники и уплотнительные кольца тщательно промыть и вытереть насухо, подшипники в проушинах амортизатора смазать смазкой Литол-24. Установку гидроамортизатора начинать с крепления верхней проушины. Проверить, имеется ли на кронштейне 1 (рис. 167) уплотнительное кольцо 2, если нет, установить кольцо на место. Установить на кронштейн / шайбы 3 и 4. Шайбу 4 устанавливать фаской к радиусу кронштейна / Установить гндроамортизатор 17 проушиной штода на кронштейн 1 так, чтобы компенсационная камера 18 находилась вверху. При необходимости отвернуть болты крепления кожуха гидроамортизатора к проушине штока и повернуть его так, чтобы овальный вырез в кожухе был направлен в сторону рычага опорного катка, а затем закрепить кожух гидроамортпза-тора болтами. Установить на место шайбу 5, завинтить корончатую гайку 6 и зашплинтовать ее шплинтом 4X25 мм. Завинтить до упора крышку 7 и зашплинтовать ее проволокой 0 1,6 мм и длиной 120 мм. Завести гидроамортизатор 17 в проушину балансира опорного катка; установить па место палец 10, втулку 11, уплотнительное кольцо 9 и шайбу 13; завинтить до упора корончатую гайку // и зашплинтовать ее шплинтом 4X25 мм. Соединить гусеницу и отрегулировать ее натяжение.
17.4. ТЕХНИЧЕСКОЕ ОБСЛУЖИВАНИЕ ЭЛЕКТРООБОРУДОВАНИЯ 17 4 1 ОСНОВНЫЕ ТРЕБОВАНИЯ Техническое обслуживание системы электрооборудования заключается в поддержании приборов в чистоте^ в периодической проверке их крепления и крепления к их зажимам проводов, в соблюдении правил по уходу, изложенных в настоящей Ин струкции. Для обеспечения нормальной работы всей системы электрооборудования необходимо выполнять следующие правила: следить, чтобы изоляция проводов и провода были целыми; следить за исправностью предохранителей и лампочек; своевременно подтягивать контактные соединения. Особенно это касается клемм аккумуляторных батарей, проводов на «массу», к стартеру, к генератору и реле-регулятору; следить, чтобы стыки защитных лент генератора, стартера и электродвигателя подогревателя не приходились на окно корпуса после снятия и установки ленты на место. Инструмент — ключи гаечные 8, 10, 12, 14, 17 и 22 мм, отвертка, нагрузочная вилка, ареометр, стеклянная трубка. 17.4.2. ТЕХНИЧЕСКОЕ ОБСЛУЖИВАНИЕ АККУМУЛЯТОРНЫХ БАТАРЕЙ Установка аккумуляторных батарей на транспортерах допускает их техническое обслуживание без проведения каких-либо предварительных работ по обеспечению доступа к ним. Для проверки состояния аккумуляторных батарей нужно сиять крышки, удалить грязь, влагу и электролит с крышек, пробок н из-под межэлемснтпых перемычек. Отвернуть пробки заливных отверстий банок и проверить состояние крышек, мастики, клемм и межэлсментиых перемычек. Очистить от грязи вентиляционные отверстия пробок, устра нить обнаруженные неисправности. Проверять уровень электролита в каждой банке с помощью стеклянной трубки с внутренним диаметром 3—5 мм, длиной 100—150 мм и двумя метками, нанесенными на расстоянии 10 и 15 мм от ее конца. Для замера опустить трубку в заливное отверстие банки до упора в предохранительный щиток, закрыть ее верхнее отверстие пальцем и вынуть из банки Уровень электролита в трубке должен находиться между верхней п нижней метками. Вылить электролит в ту же банку, из которой он был взят. При необходимости дозаправить дистиллированной водой до требуемого уровня в банках. Доливать в аккумуляторы электролит запрещается, за исключением тех случаев, когда точно известно, что понижение уровня произошло за счет выплескивания электролита. Доли-378
вать в этом случае нужно электролит той же плотности, что и в банках аккумуляторных батарей. Степень заряженности аккумуляторной батареи определяется по плотности электролита, а ее пригодность к работе — нагрузочной вилкой. Плотность электролита замеряется ареометром с учетом температурных поправок, приведенных в табл. 1. Таблица 1 Температура электролита, °C Плюс 0 Минус 60 45 30 15 15 30 45 Поправка к показанию ареометра 0,03 0,02 0,01 0,00 0,01 0,02 0,03 0,04 По плотности электролита нужно определить степень разря-женностн аккумуляторных батарей с учетом исходной (в конце первого заряда) плотности электролита и температуры окружающей среды. Плотность электролита, приведенная к плюс 15°С, и степень заряженности аккумуляторных батарей приведены в табл. 2. Таблица 2 Состояние аккумуляторной батареи Плотность электролита, приведенная к плюс 15° С Полностью заряжена 1,31 1,29 1,27 1,25 Разряжена на 25% 1,27 1,25 1,24 1,21 Разряжена на 50% 1,23 1,21 1,19 1,17 Исходная плотность электролита, приведенная к плюс 15°С. и плотность электролита при различных температурах приведены в сответствующих таблицах «Правил ухода и содержания в эксплуатации стартерных свинцово-кислотных аккумуляторных батарей 6СТЭН-140М, 6МСТ-140, 12СТ-70М, 12СТ-70» издания 1981 г. Батарею, разряженную на 25% зимой пли на 50% летом, следует снять с транспортера и сдать на подзаряд. При храпении транспортера рекомендуется при температуре ниже минус 20—25°С аккумуляторные батареи снять с транспортера и хранить в помещениях с температурой до минус 20— —25°С.
В процессе выполнения технического обслуживания (особенно при снятии и установке) необходимо тщательно оберегать аккумуляторные батареи от короткого замыкания и механических повреждений. 17.4.3. ТЕХНИЧЕСКОЕ ОБСЛУЖИВАНИЕ ГЕНЕРАТОРА И РЕЛЕ РЕГУЛЯТОРА При техническом обслуживании генератора и реле-регулятора необходимо выполнить следующие работы: — проверить крепление генератора, крепление проводов к генератору, реЛе-регулятору и аккумуляторным батареям; — для проверки состояния крепления деталей, закрытых экраном, и очистки их от пыли и грязи разрешается в период гарантийного срока снять защитную ленту; пыль и грязь удалить с помощью кисти (при необходимости смоченной бензином), после чего детали обдуть сжатым воздухом. Запрещается: п рименение твердых предметов для очистки выпрямителей; пуск и работа двигателя при отъединенных проводах от клеммы « + » генератора и регулятора, в противном случае возникнет повышенное напряжение на выпрямителе генератора, что повлечет выход из строя диодов выпрямителя и самого генератора; с оединение, даже кратковременное, клемм генератора и регулятора с «массой» в целях проверки на искру; — очистить наружную поверхность реле-регулятора от пыли и грязи; — вскрывать п разбирать генератор и реле-регулятор, а также регулировать реле-регулятор только в ремонтных мастерских п только квалифицированным персоналом. Для замены ремней привода генератора необходимо: — снять заднюю панель ограждения двигателя; — расстопорнть и отвернуть гайку 3 (рис. 151) оси натяжного ролика; — отпустить контргайку 2 и винтом 1 ослабить натяжение ремней; — спять ремии; — установить новые ремии и отрегулировать их натяжение до нормы впитом /; устанавливать ремни следует только комплектами с разницей по длине в комплекте не более 2 мм; — застопорить винт /, завернув до плотного упора контргайку 2 и гайку 3 осн натяжного ролика; — застопорить гайку 3 стопорной шайбой 4; — проверить натяжение ремней. Инструмент — ключи гаечные 17, 19 и 32 мм, молоток, зубило,отвертка, линейка.
17 4 4 ТЕХНИЧЕСКОЕ ОБСЛУЖИВАНИЕ СТАРТЕРА Техническое обслуживание стартера следует выполнять в со ответствии с инструкцией по эксплуатации двигателя. В случае возникновения неисправное ген снимать стартер следует в таком порядке; — спять крышку полмоторпого люка, левую переднюю панель, заднюю панель, воздухоочиститель (воздухоочиститель снимается для большего удобства демонтажа, ко необязательно) ; — слить охлаждающую жидкость из системы охлаждения двигателя; — отъединить и снять патрубок водяного пасоса, разъединить стяжные ленты стартера через подмоторпый люк и отъединить электропроводку; иоддерживая снизу стартер во избежание повреждения трубопроводов, подать его назад к водяному насосу двигателя и извлечь стартер через задний проем ограждения двигателя. Устанавливать стартер на место в последовательности, обратной демонтажу. 17.4.5. ТЕХНИЧЕСКОЕ ОБСЛУЖИВАНИЕ -СВЕЧИ НАКАЛИВАНИЯ ПОДОГРЕВАТЕЛЯ И ОТОПИТЕЛЯ В зимнее время, когда пользуются системой подогрева двигателя н отопителем, необходимо через каждые 100—150 пусков очищать свечи накаливания от нагара и промывать их в бензине. После очистки проверить состояние ее спирали. Витки спирали накаливания не должны касаться один другого и центрального стержня. 17.4.6. ТЕХНИЧЕСКОЕ ОБСЛУЖИВАНИЕ ПРИБОРОВ ОСВЕЩЕНИЯ, КОНТРОЛЬНЫХ И ДРУГИХ ПРИБОРОВ Техническое обслуживание приборов освещения заключается в поддержании их в чистоте, проверке их крепления, наблюдении за состоянием проводов и надежностью их соединения, а также в проверке установки фар, регулировке их, проверке состояния н действия осветительных приборов. Перегоревшие лампочки необходимо заменять исправными. Оптический элемент, устанав шваемый в фарах ФГ-122Н, герметичен. Оптический элемент является основным узлом фары, п поэтому особенно важно тщательным у-.о юм поддерживать его Удовлетворительное состояние. При смене перегоревшей лампы следует обращать особое внимание на восстановление герметичности оптического элемента. Заменять лампу необходимо в таком порядке: — вывернуть винт 14 (рис. 168) и сиять наружный ободок 5;
Рис. 168. Фара: / — крышка светомаскировочной насадкн-. 2 —лампа; 3 — светомаскировочная насадка; 4 — ободок светомаскировочной иасадки; 5 — наружный ободок; S — втулка; 7 — прокладка; 8—кожух; 9 — держатель кожуха; /0 —корпус; 11, 13, 14 — винты; 12 — регулировочный винт; 15 — оптический элемент
— отвернуть три винта 11 крепления светомаскировочнон насадкн 3 и оптического элемента 15 (при этом регулировочные винты 12 не вывертывать); — провернуть насадку 3 с ободком и сиять ее; — провернуть оптический элемент 15 и извлечь его из корпуса 10 фары; — отвернуть держатель 9 кожуха и снять кожух 8 с контактами; прокладку 7 извлекать из посадочного гнезда не рекомендуется; извлечь лампу 2; — вставить во втулку 6 новую лампу; убедившись в наличии резиновой прокладки 7 и в отсутствии на прокладке каких-либо посторонних предметов, вставить кожух 8 с контактами; завернуть держатель 9 кожуха с усилием, достаточным для обеспечения заданной герметичности оптического элемента; — вставить оптический элемент в корпус фары, установить светомаскировочную'насадку с ободком, завернуть винты 11, поставить наружный ободок 5 и завернуть винт 14. Порядок технического обслуживания троса спидометра: — отвернуть болты, крепящие тормозной барабан с левой солнечной шестерней; — снять пломбы; — сиять гибкий вал спидометра, отвернув накидные гайки; — снять замковую шайбу со стороны привода спидометра и извлечь трос из оболочки; — смазать гибкий вал согласно таблице смазки; ~ собрать гибкий вал спидометра в последовательности, обратной разборке, и опломбировать. После выполнения работ, связанных с демонтажем щитка приборов водителя, и закрепления щитка необходимо вытянуть гибкий вал привода спидометра в трансмиссионное отделение. 17.4.7. РЕГУЛИРОВАНИЕ УСТАНОВКИ ФАР Регулирование установки фар ФГ-122Н При необходимости в регулировании установки фар следует установить транспортер (без груза на грузовой платформе) на горизонтальной площадке на расстоянии 6 м от стены, окрашенной в белый цвет, или от экрана, установленного на той же площадке перпендикулярно к продольной оси транспортера, так, чтобы средняя вертикальная линия на экране совпала с осью транспортера. На экране или стене должны быть нанесены три вертикальные и одна горизонтальная липни. Расстояние между вертикальными линиями должно быть 1139 мм, расстояние от уровня площадки до горизонтальной линии — 762 мм. Регулировать установку фар следует в таком порядке: — закрыть крышки 1 (рис. 168) светомаскировочных наса-
док 3 фар, отвернуть впиты 14 и спять наружные ободки 5 фар; — включись дальний свег фар при режиме частичного затемнения; — поочередно закрывая фары куском светонепроницаемой материи, вращением регулировочных винтов 12 отрегулировать установку фар так, чтобы самая яркая точка светового пятна правой или левой фары лежала соответственно па правой или левой вертикальной линии, а тень от козырька, г. е. резкая граница между освещенной и темной полосами, проходила по высоте горизонтальной липни на экране; — установить на место наружные ободки фар и закрепить их; — открыть крышки светомаскировочных пасадок фар. - Регулировка установки фары Ф Г-125 Регулировку фары ФГ-125 необходимо выполнять в ночное время при отсутствии постороннего освещения в такой последовательности: — установить транспортер па ровной горизонтальной площадке длиной 60—80 м; — установить любой предмет на расстоянии 40 м по продольной оси транспортера; — отпустить гайку крепления фары на кронштейне настолько, чтобы фара поворачивалась от руки с усилием; — включить прибор ТВП-2Б и фару; — наблюдая за предметом на дороге через прибор, поворачивая и наклоняя фару, совместить центр светового пятна фары, спроектированного на дорогу, с основанием претмега; — не нарушая Выверенного положения фары, затянуть гайку ее крепления; — после затяжки гайки еще раз проверить правильность регулировки фары. 17.4.8. ТЕХНИЧЕСКОЕ ОБСЛУЖИВАНИЕ СМОТРОВЫХ ПРИБОРОВ И ЭЛЕКТРООБОГРЕВНЫХ СТЕКОЛ При эксплуатации смотровых приборов и электрообогрев-Иых стекол необходимо: следить за jix чистотой; предохранять от ударов твердыми предметами и других механических повреждений; на стоянках закрывать крышки лобовых электрообогрев-ных стекол; в случае загрязнения очищать их поверхности чистой мягкой матерней, смоченной водой или спиртом, после чего вытереть насухо; внутренняя поверхность шахт приборов наблюдений 54.36.5сбБМ и уплоиштелн приборов должны быть смазаны 331
смазкой Литол 24. Смазку менять при сезонном техническом обслуживании в случае необходимости и если прибор вынимался из шахты; при хранении машины укрывать брезентом, тщаю.тьно очистив внутреннюю сторону брезента от песка и пыли; в случае обледенения стекол и смотровых приборов очистить их ото льда включением электрообогрева. При переходе на зимние условия эксплуатации необходимо: — провершь надежность подсоединения проводов к клеммам; — включить поочередно обогрев и убедиться в работе элек-трообогрева на ощупь рукой с внешней стороны; — в случае необходимости подтянуть болты крепления лобовых стекол, момент затяжки 0,6—0,8 кгс-м. Запрещается включать электрообогрев стекол со следующими неисправностями: с отливами токопроводящей пленки в электрообогревной зоне; с искрением электрообогревательного элемента; с трещинами пли заколами внешнего или внутреннего стекла. 17.4.9. ЗАМЕНА ЭЛЕКТРООБОГРЕВНЫХ СТЕКОЛ При замене электрообогревных стекол необходимо: — выключить выключатель 6aiapen; отъединить провода подключения электрообогрева; — отвернуть болты / (рис. 169) крепления сгекла, снять стекло; — снять резиновое уплотнение 2 стекла, если оно имеет повреждения; — при необходимости очистить привалочную поверхность А крепления стекла и отрихтовагь таким образом, чтобы неплоскосгность ее не превышала 1,5 мм; — приклеить резиновое уплотнение 2 (клей 88-НП); — совместить отверстия обечайки 3 с отверстиями соответствующих бонок 4 на корпусе и наживить болты / с шайбами; — произвести окончательную затяжку болтов е усилием, соответствующим моменту затяжки 0,6—0,8 ном на рис. 170; — поливом воды проверить герметичность установки стекла; в случае просачивания воды через уплотнение снять стекло и Рис. 169. Установка элсктро-обогревных стскол: 1 — болт; 2 — резиновое уплотнение; 3 — обечайка; 4 — бонка кгс-м, в порядке, указан-
дополнительно отрихтовать приваленную поверхность А установки стекла; производить затяжку болтов с усилием, соответствующим моменту затяжки более 0,6—0,8 кге м, нс допускается; — подсоединить провода подключения элекгрообигрева; Рис. 170. Порядок затяжки болтов крепления лобовых стекол. Знаком «+» условно показаны болты — проверить работу электрообогрева. Предупреждение. 1. Включать электрообогрев стекол и смотровых приборов на стоянках только для устранения обледенения или при проверке, а в движении —при необходимости. 2. Электрообогрев эффективно начинает работать только через 5—6 мин, поэтому включать его надо заблаговременно. 17.4.10. ТЕХНИЧЕСКОЕ ОБСЛУЖИВАНИЕ ПРИБОРА ДТНМП-100-125 При техническом обслуживании транспортера не допускать попадания воды и грязи во входное отверстие подводящей магистрали прибора ДТНМП-100-125. При нарушении герметичности подводящей магистрали в месте подсоединения трубки 4 (рис. 171) к штуцеру прибора необходимо подтянуть проволоку 7, а в месте подсоединения трубки 4 к штуцеру — проволоку 2, между прокладкой 3 и корпусом транспортера или штуцером 1 следует отпустить проволоку 2, снять трубку 4 со штуцера /, подтянуть штуцер 1 до обеспечения герметичности соединения, надеть трубку 4 на штуцер 1 и затянуть проволоку 2. Установка стрелки на «0» производится специальным ключом из одиночного комплекта ЗИП. Для этого необходимо отвернуть гайку 8 и повернуть гайку 9 до совпадения стрелки с нулевым делением. Следует помнить, что при корректировке «нуля» нарушается герметичность корпуса прибора, поэтому при затяжке ганки 8 386
необходимо тщательно следить ьа сохранностью и плотным прилеганием прокладки 10 к корпусу. Рис. 171. Установка прибора ДТНМП 100 125: 1 — штуцер; 2. 7 — проволока; 3, 10 — прокладки- 4— трубка; 5 — кронштейн; 6 — прибор ДТНМП-100-125; 8, 9 - гайки 17.4.11. ТЕХНИЧЕСКОЕ ОБСЛУЖИВАНИЕ ПНЕВМАТИЧЕСКОЙ , СИСТЕМЫ Техническое обслуживание пневматической системы заключается в наблюдении за постоянством рабочего давления в магистрали, герметичностью соединений трубопроводов, исправностью отдельных приборов. Для обеспечения надежной работы системы необходимо соблюдать следующие правила: а) перед началом движения проверить давление в пневматической системе. Если давление ниже 5 кгс/см2, повысить давление в системе при работе двигателя па холостом ходу; б) во время движения манометр должен показывать давление 6—7,9 кгс/см2. Давление в системе должно возрастать от
О до 6—7,9 кгс/см2 в течение не более 5 мин при максимальной частоте вращения коленчатого вала двигателя; в) в случае торможения с неработающим двигателем запас воздуха в баллонах при начальном давлении 6—7,9 кгс/см2 может обеспечить три полных торможения. Во избежание полного расходования воздуха при частых торможениях категорически запрещается выключать двигатель па длительных спусках; г) периодически проверять герметичность пиевмосистемы. Быстрое снижение давления при остановке двигателя свидетельствует об утечке воздуха из системы. При неработающем двигателе и поминальном давлении (6— 7,9 кгс/см2) падение давления в системе не должно превышать 0,3 кгс/см2 от номинального его значения: в течение 30 мин при отпущенной педали тормоза; в течение 15 мин при нажатой педали тормоза, открытом ввертном кранике бака смыва и закрытых краниках подачи воды на стекла. При падении давления, превышающем допустимое, необходимо определить место утечки (сильной утечки воздуха — на слух, а слабой утечки — с помощью мыльного раствора, которым смазывают места, вызывающие подозрения) и устранить неисправность; д) ежедневно по окончании работы, когда в баллонах воздух находится под давлением, открыть спускной кран и слить конденсат; е) при ТО-2 проверять герметичность спускного крана и всех соединений воздушных баллонов, а также проверять и подтягивать крепления баллонов; Я<) при ТО-2 проверять герметичность тормозных камер с помощью мыльной воды (пены); з) при сборке крана смазывать рабочие поверхности жидким маслом; и) при необходимости отключения тормозной магистрали' прицепа сначала закрыть разобщительный кран, повернув рукоятку перпендикулярно к корпусу крана. После отъединения пневмосистемы прицепа закрыть крышку соединительной головки для предотвращения попадания пыли; к) разобщительный кран открывать после подсоединения пневматической системы прицепа, повернув рукоятку вдоль корпуса крана. Для замены ремня компрессора необходимо: — снять заднюю панель ограждения двигателя, открыть крышку люка моторного отделения и застопорить ее; — снять ремни привода генератора (см. 17.4.2); — заменить ремень привода компрессора и отрегулировать его натяжение (см инструкцию по эксплуатации двигателя); — установить ремни привода генератора и отрегулировать их натяжек не;
— установить панель ограждения двигателя и закрыть крышку люка моторного отделения. Инструмент — ключи гаечные 17, 19 и 32 мм, ключ запора, молоток, зубило, линейка. 17.5. ТЕХНИЧЕСКОЕ ОБСЛУЖИВАНИЕ ОБОРУДОВАНИЯ 17.5.1. ТЕХНИЧЕСКОЕ ОБСЛУЖИВАНИЕ УСТРОЙСТВА ДЛЯ СМЫВА ГРЯЗИ С ЛОБОВЫХ СТЕКОЛ И ПОДГОТОВКА ЕГО К РАБОТЕ Рис. 172. Устройство для смыва грязи с лобовых стекол: / — бачок; 2—пробка заливной горловины; 3 — ввертной кран; 4 — краны; 5 — лобовое стекло; 6, 7. 8 — трубопроводы Устройство для смыва грязи с лобовых стекол кабины рекомендуется использовать при эксплуатации транспортера по загрязненным дорогам, когда лобовые стекла забрызгиваются грязью. Необходимо подготовить устройство к работе: продуть сжатым воздухом из пневмосистемы бачок / (рис. 172) и трубопроводы 6, 1 и 8, для чего при работающем двигателе открыть последовательно ввертной кран 3 и краны 4; закрыть краны 3 и 4, отвернуть пробку 2 заливной горловины и заполнить бачок водой (для заправки бачка ис-пЪпьзЬвать чистую воду и заливать ее в бачок через воронку с сеткой); плотно завернуть пробку 2 заливной горловины и открыть ввертной кран 3. Вода на стекла подается при частичном или полностью открытом кране 4. Конструкция крана 4 позволяет регулировать подачу воды на лобовые стекла от капельной до струйной раздельно на каждое лобовое стекло. Для смыва грязи со стекол одновременно с подачей воды на них включить в работу стеклоочистители. При повторной заправке бачка водой (после ее использования) необходимо соблюдать порядок операций, указанный выше. При эксплуатации транспортера в условиях, когда не требуется обмыв стекол (в холодное время года при температуре окружающего воздуха ниже 0°С при движении по сухим дорогам), воду из бачка 1 удалить сжатым воздухом из пневмати
ческой системы, для чего открыть последовательно ввертной кран 3 и краны 4. После выпуска воды закрыть плотно краны 3 и 4. 17.5.2. ТЕХНИЧЕСКОЕ ОБСЛУЖИВАНИЕ ТЯГОВО-СЦЕПНОГО УСТРОЙСТВА Для надежной работы тягово-сцепного устройства необходимо: — проверять его состояние и крепление при всех видах технического обслуживания; — при буксировании прицепа не допускать резких рывков; — после движения в тяжелых дорожных условиях удалять пыль и грязь с сопрягаемых поверхностей; — смазывать согласно таблице смазки. 17.5.3. ТЕХНИЧЕСКОЕ ОБСЛУЖИВАНИЕ ОТОПИТЕЛЬНО-ВЕНТИЛЯЦИОННОИ УСТАНОВКИ Z 1. Для обеспечения нормальной работы отопителя через каждые 100 ч работы или по мере надобности следует: — продуть теплообменник сжатым воздухом под давлением 4—6 атм через втулку свечи накаливания 5 (рис. 76); — проверить состояние спирали свечи накаливания и зазоры между витками; при извлечении свечи накаливания убедиться, что экран снят вместе с ней, так как возможно пригорание экрана к втулке; в случае если экран остался во втулке (витки спирали свечи открыты), его надо извлечь проволочным стальным крючком, нагар удалить мягкой щеткой, установить нормальный зазор между витками спирали (не менее 0,8 мм), установить съемный экран на свечу и, если нужно, подгибкой отрегулировать равномерный зазор по окружности между экраном и спиралью; при установке свечи из ЗИП также проверить зазор между экраном и спиралью; в условиях интенсивной эксплуатации (50 ч в неделю) техническое обслуживание свечи выполнять не реже одного раза в семь дней; — проверить состояние контрольной спирали, устранить провисание и проверить зазоры между витками и надежность контактов спирали; минимальные зазоры между витками, а также зазор между витками и корпусом должны быть 2 мм; — очистить от грязи фильтр-отстойник, топливопроводы, дренажную трубку. 2. В случае появления дымления из выпускной трубы или течи топлива через впускной патрубок, при заметном снижении теплопропзводительностп установку разобрать, очистить от нагара и грязи распылитель, камеру сгорания, теплообменник, трубопроводы и топливопроводы. Проверить состояние щеток электродвигателе, коллектора, фрикционной муфты привода насоса.
3. Через 500 ч работы или по мере необходимости топливный насос разобрать, промыть его н керосине, продуть сжатым воздухом п смазать червячную пару и подшипники смазкой Лито.I 24. Для исключения поломок тросов привода крышек выпускного и всасывающего патрубков отопителя введена регулировка узла открытия их. Рис. 173. Схема регулирования угла открытия крышки отопитепя: / — крышка; 2— регулировочный болт; 3 — лист крыши корпуса Крышка 1 (рис. 173) должна открываться так, чтобы расстояние от листа 3 крыши до верхней точки торца крышки было 64—78 мм и свободный ход не менее 3 мм. Если угол открытия крышки мал, то регулировочный болт 2 вывернуть, а если велик— завернуть. 17.5.4. ТЕХНИЧЕСКОЕ ОБСЛУЖИВАНИЕ СИСТЕМЫ ' ВОДОВЫБРОСА Техническое обслуживание системы водовыброса заключается в промывке ее в случае загрязнения. Необходимость промывки системы водовыброса можно определить по загрязненности переднего заборника водооткачивающего насоса. Для этого следует снять защитный кожух тяги сцепления и тяги подачи топлива и проверить передний заборник водооткачивающего насоса. Промывать систему водовыброса следует, пропуская в течение 1—2 мин сильную струю воды в направлении, обратном нормальной работе системы, т. е. через выходящие патрубки водооткачивающего насоса. Привод этого насоса в данном случае должен быть выключен.
17.5 5. ПРОВЕРКА КОРПУСА НА ГЕРМЕТИЧНОСТЬ Целью проверки является определение степени герметизации корпуса от окружающей среды. Перед началом проверки необходимо убедиться в том, что все люки, кингстоны, бортовые лючки плотно закрыты, места крепления смотровых приборов надежно уплотнены, а также в герметизации мест прохода через корпус проводов. При проверке корпуса на Герметичность по избыточному давлению следует открыть заслонку внутри воздухозаборной трубы воздухоочистителя. Порядок проверки корпуса па герметичность: — пустить двигатель; — включить фильтр поглотитель; — открыть крышку забора воздуха; — включить нагнетатель выключателем на щитке приборов водителя; — если избыточное давление ниже 20 кге/м2, устранить утечки воздуха путем восстановления уплотнений люков, кингстонов и т. д. (места утечек можно определить с помощью дыма). После устранения утечек воздуха необходимо повторить проверку корпуса на герметичность. Для обеспечения оптимального обмена воздуха и исключения повреждения прибора ДТНМП-100-125 чрезмерным избыточным давлением, создаваемым ФВУ, необходимо поддерживать избыточное давление в следующих пределах: в режиме вентиляции — 0—80 кге/м2; в режиме фильтрации — 20—80 кге/м2. Указанные величины избыточного давления поддерживаются открытием или закрытием вентиляционного клапана на башне установки ТКБ-01-1, разгерметизацией или герметизацией корпуса. 17.5.6. ТЕХНИЧЕСКОЕ ОБСЛУЖИВАНИЕ ФВУ И ФИЛЬТРА-ПОГЛОТИТЕЛЯ ФПТ-200М После прохождения транспортера через зону ОВ, РП и БА необходимо провести обслуживание ФВУ и фильтра-поглотителя ФПТ-200М. В процессе обслуживания провести обработку ФВУ (согласно рекомендациям специальной инструкции). Фильтр-поглотитель ФПТ-200М следует заменить новым в случаях: дегазации и дезинфекции системы ФВУ внутри транспортера; после пятикратного пребывания в зоне ФОБ1 (СОВ) и однократного пребывания в зоне НОВ;
по истечении гарантийной наработки транспортера или фильтра; в случае возникновения в процессе хранения и замены вмятин глубиной более 8 мм или пробоин корпуса. В' процессе хранения фильтра вне транспортера его входное и выходное отверстия должны быть закрыты заглушками. При хранении фильтра на транспортере рукоятка 21 (рис. 79) поворачивается вправо до упора. Категорически запрещается отворачивать болты внутри узла фланца входного отверстия на крышке и гайку па дне фильтра. Фильтр ФПТ-200М следует заменять в следующем порядке: — отпустить и сдвинуть хомуты 4 и 22 с заборной трубы и шланга выброса; - t — снять шланг с трубки выброса пыли; — отъединить вставку 19 и провод «массы» 20\ — ослабить натяжение лент 1 и снять их; — снять ФВУ; — отъединить провод «массы» 2 в заборной трубе ФВУ; — вывернуть шесть болтов 17 на выходном фланце ФПТ-200М; — разъединить стяжную ленту 11 и извлечь шнур /б; — снять верхнюю выгородку /5; — вывернуть шесть болтов 12 на входном фланце ФПТ-200М; — разъединить стяжные ленты 13 и сиять ФПТ-200М. Устанавливать фильтр ФПТ-200М следует в последовательности, обратной снятию. Перед установкой фильтр следует протереть от пыли, влаги и проверить внешним осмотром. Фильтры ФПТ-200М, имеющие пересыпание шихты, сквозное ржавление, пробоины и вмятины на поверхности корпуса глубиной более 8 мм, к монтажу не допускаются. Обнаруженные нарушения лакокрасочного покрытия, ржавчина и порча маркировки устраняются в ходе осмотра. Забракованные фильтры уничтожаются установленным порядком. Устанавливая фильтр на транспортер, не следует забывать снять заглушки с входного и выходного отверстий. При монтаже нельзя подвергать фильтр ударам и другим механическим воздействиям, приводящим к нарушению корпуса; необходимо предохранять фильтр от попадания в него капсльно-жндкой влаги, масел, топлива и др. При установке шнура рекомендуется применять специальное приспособление, придаваемое в групповой комплект ЗИП. Все операции по замене фильтра ФПТ-200М производить в индивидуальных средствах защиты вне машины при аксплуатации транспортера в зараженной зоне. Инструмент — ключи 14, 17, 19 и 22 мм, плоскогубцы.
17.6 . ТЕХНИЧЕСКОЕ ОБСЛУЖИВАНИЕ ОБОРУДОВАНИЯ ДЛЯ САМООКАПЫВАНИЯ 1 7.6.1. СНЯТИЕ И УСТАНОВКА ГИДРОНАСОСА Для снятия гидронасоса необходимо: — снять переднюю панель ограждения двигателя; — отъединить подводящие и отводящие маслопроводы от гидронасоса и заглушить их; — отвернуть гайки шпилек крепления гидронасоса с переходным фланцем; — постукивая слегка по корпусу гидронасоса, извлечь его, заглушив масляные каналы. Устанавливают гидронасос в последовательности, обратной снятию. После установки гидронасоса следует проверить в баке уровень масла. Уровень масла должен быть по верхнюю метку на щупе, при необходимости дозаправить его. 1 7.6.2. СНЯТИЕ И УСТАНОВКА ОТВАЛА Для снятия отвала необходимо выполнить следующие работы: — снять стяжки, удерживающие отвал в верхнем положении; — пустить двигатель; — включить-пасос-редуктор и гидронасос; — установить рычаг распределителя в положение «Опускание» и плавно опустить отвал на грунт; — снять пружинные шплинты, выбить верхние пальцы (выполняя эту операцию, необходимо соблюдать технику безопасности при падении отвала); — выбить нижние (предохранительные) пальцы (снятые пальцы установить в щеки отвала и вставить пружинные шплинты); — установить отвал на правый борт транспортера и закрепить его; — поднять навесную систему в крайнее верхнее положение и закрепить стяжками. Устанавливают отвал в последовательности, обратной снятию. 17.7 . ТЕХНИЧЕСКОЕ ОБСЛУЖИВАНИЕ БАШЕННОЙ УСТАНОВКИ ТКБ 01-1 Техническое обслуживание установки ТКБ-01-1 заключается в содержании ее в чистоте, в периодической проверке надежности подсоединения электропроводов к зажимам, проверке крепления погона, люльки и хомута с прицелом. ЗУ! *
При каждом монтаже пулемета на установку следует удалять старою смазку с направляющих иолькн и каретки и наносить новую согласно таблице смазки. В случае разборки (при ремонте) установки погон и шарики смазываются смазкой Ли-тол-24. Техническое обслуживание пулемета выполняется согласно Наставлению по стрелковому делу. 17.8 . ТЕХНИЧЕСКОЕ ОБСЛУЖИВАНИЕ УСТАНОВКИ ПУЛЕМЕТА НСВТ-12,7 Техническое обслуживание установки пулемета заключается в содержании ее в чистоте, в периодической проверке надежности подсоединения электропроводов, крепления пулемета и прибора наведения. При каждом монтаже пулемета на установку следует удалять старую смазку с направляющих люльки и наносить новую смазку Лптол-24. После двух-трех лет эксплуатации или хранения на открытых площадках или под навесом, а также при ТО-2 транспортера или после пяти лет хранения в хранилищах смазать шарики и беговые дорожки погона установки смазкой Лнтол-24, как указано в 16.1.5. 17.9 . РАСКОНСЕРВАЦИЯ ПУЛЕМЕТА Для предохранения от коррозии пулемет консервируется изготовителем. Поэтому для приведения пулемета к работе необходимо его расконсервировать в следующем порядке: — промыть пулемет керосином или дизельным топливом; — разобрать пулемет и тщательно промыть детали керосином или дизельным топливом; мелкие детали поместить в ванну с керосином или дизельным топливом в специальной корзине с сеткой; — тщательно протереть все детали насухо, смазать их, собрать пулемет и смазать его маслом.
18. УКАЗАНИЯ ПО ИСПОЛЬЗОВАНИЮ ОДИНОЧНОГО И ГРУППОВОГО комплектов ЗАПАСНЫХ ЧАСТЕЙ, ИНСТРУМЕНТА И ПРИНАДЛЕЖНОСТЕЙ Одиночный комплект ЗИП предназначен для выполнения работ по техническому обслуживанию и устранению водителем характерных эксплуатационных неисправностей машин, выявленных в пути, при контрольных осмотрах и техническом обслуживании. Одиночный комплект размещается на транспортере с учетом его сохранности при транспортировании. Комплектность и размещение ЗИП указаны в ведомостях укладки одиночного комплекта ЗИП, придаваемого каждому транспортеру. Групповой комплект ЗИП предназначен для своевременного устранения эксплуатационных неисправностей с заменой деталей, узлов и агрегатов машины в ремонтных мастерских. Специальный инструмент и приспособления группового комплекта ЗИП используются также в процессе выполнения технического обслуживания транспортера. Групповой комплект придается к группе машин, поставляемых заказчику. •Применение и порядок использования специальных приспособлений, придаваемых в одиночный и групповой комплекты ЗИП, приведены в приложении 1.
19. ПРАВИЛА ХРАНЕНИЯ Хранение — это один из видов эксплуатации транспортера, при котором он не используется в течение промежутка времени, оговоренного технической документацией, а его исправность поддерживается за счет выполнения специального комплекса мероприятий по защите узлов, систем и приборов от воздействия внешней среды (консервация, герметизация, хранение под брезентом, в закрытых помещениях и т. п.). Следует помнить, что надежное хранение транспортера в значительной степени зависит от качества его консервации и способа хранения. Постановке на консервацию подлежат все транспортеры, использование которых не планируется на ближайшие три месяца (в особых климатических условиях — более одного месяца). Хранение может быть кратковременным (на срок до одного года) и длительным (более одного года). Топливные баки должны быть заполнены до уровня не более 130 мм от верхней кромки заливной горловины (замерять линейкой). На транспортере МТ-ЛБВМ пулемет должен быть снят с установки и закреплен в кормовом отделении. Объем работ по консервации и хранению, их организация и последовательность, применяемые консервационные материалы и порядок опробования транспортера определены Руководством «Хранение автомобильной техники и имущества в Советской Армии и Военно-Морском Флоте» (Военнздат, 1979). Кроме того, рекомендуется пользоваться изданием «Легкий многоцелевой гусеничный транспортер-тягач МТ-ЛБ (МТ-Л). Инструкция по техническому обслуживанию» (Военнздат, 1976) и инструкцией по эксплуатации двигателя, придаваемой к транспортеру. Смазочные материалы, применяемые при хранении транс» портера, указаны в таблице смазки настоящего издания, а способы консервации приведены ниже.
19 1. ОБЩИЕ ПОДГОТОВИТЕЛЬНЫЕ Р\БОТЫ Перед постановкой ipanciiopicpa па хранение необходимо: — смыть с транспортера пыль и грязь; после мойки удалить С его внутренних поверхностен влагу протиркой и обдувом сжатым воздухом; — пустить двигатель па 10—15 мин; — остановить двигатель и для устранения перетекания масла (для разрыва струн масла) отвернуть пробку 13 (рис. 153) трубы, подводящей масло нз бака в главную передачу, и спустя не менее 2 мин завернуть ее (проделывать при каждом пуске двигателя во время храпения); — выполнить техническое обслуживание аккумуляторных батарей в соответствии с 17.4.2; — все места, имеющие следы коррозии, зачистить наждачной бумагой или металлической щеткой с последующей протиркой ветошью, смоченной в бензине; — нарушенный слой окраски сборочных единиц и корпуса машины загрунтовать и подкрасить. 19.2. КРАТКОВРЕМЕННОЕ ХРАНЕНИЕ При постановке па кратковременное хранение необходимо: — выполнить общие подготовительные работы (подразд. 19.1); — выполнить очередное техническое обслуживание ТО-1 или ТО-2; — смазать остальные сборочные единицы согласно таблице смазки; — заправить систему охлаждения двигателя: летом — водой с трехкомпонентпой присадкой (по 30 г^нитрита натрия, тринатрийфосфата и двухромовокислого калия); зимой — низкозамерзающей охлаждающей жидкостью (антифризом) с той же присадкой; — на все неокрашенные внешние поверхности сборочных единиц нанести топкий слой смазки ПВК, нагретой до плюс 80— 100°С; — закрыть все люки, лючки, крышки па корпусе транспортера и загерметизировать их (в том числе и воздухозаборник воздухоочистителя) прорезиненной тканью № 18 и замазкой ЗЗкЗУ; — укрыть транспортер штатным брезентом. 19.3. ДЛИТЕЛЬНОЕ ХРАНЕНИЕ При постановке на длительное хранение необходимо; — выполнить общие подготовительные работы (подразд. 19.1);
— выполнить техническое обслуживание ТО-2 с учетом работ сезонного технического обслуживания; — смазать и законсервировать сборочные единицы (кроме двигателя) согласно таблице смазки; — на транспортере МТ-ЛБВМ смазать беговые дорожки и шарики погона установки пулемета, как указано в 16.1.5; — законсервировать двигатель, учитывая указания таблицы смазки, одним из трех способов. 1-й способ — с выполнением внутренней и наружной консервации двигателя, топливного насоса и компрессора (основной способ длительного хранения). При выполнении консервации указанным способом допускается проворачивание коленчатого вала двигателя стартером: при консервации полостей высокого давления топливного насоса системы питания — в течение 120—150 с; при консервации цилиндра — в течение 20—30 с. Продолжительность непрерывной работы стартера должна быть примерно 5 с с перерывами между включениями 1—2 мин. Для сохранения аккумуляторных батарей транспортера рекомендуется проворачивать коленчатый вал двигателя от равноценного внешнего источника постоянного тока или стартером в течение не более 20 с. Перед проворачиванием коленчатого вала стартером в целях исключения пуска двигателя необходимо снять форсунки из гнезд в головке цилиндров, соединить их с трубопроводами высокого давления и заполнить сливную магистраль форсунок кон-сервационной смесью топлива. При установке форсунок после консервации на место необходимо предотвратить вытекание консервационной смеси топлива из трубопроводов высокого давления и форсунок. При консервации двигателя и топливного насоса указанным способом необходимо строго выполнять рекомендации инструкции по эксплуатации двигателя в части снятия и установки форсунок и топливных трубок высокого давления. В противном случае может появиться течь топлива. 2-й способ — без внутренней консервации двигателя, топливного насоса и компрессора, но с обязательным пуском двигателя через каждые три месяца храпения и последующей наружной герметизацией. Порядок выполнения работ при втором способе хранения следующий: — снять наружную герметизацию двигателя и его систем (если транспортер находится на храпении); — заправить систему охлаждения охлаждающей жидкостью, соответствующей сезону эксплуатации, проверить наличие масла и топлива в соответствующих системах; — пустить и прогреть двигатель до температуры охлаждающей жидкости в спсгеме не ниже плюс 70эС, после чего пора-
ботать 10—15 мин в режиме холостого хода при 1600— 2000 об/мин коленчатого вала двигателя; — слить охлаждающую жидкость п выполнить работы по герметизации и наружной консервации двшателя, топливного насоса и компрессора. 3-й способ — с обязательным ну'ском двигателя через каждые шесть месяцев хранения, частичной его внутренней консервацией и последующей наружной герметизацией. Порядок выполнения работ при третьем способе хранения следующий: — снять наружную герменнацшо двигателя и его систем (если транспортер находится па хранении); — залить рабоче-консервацНопное масло в поддон двигателя, топливный насос высокого давления и регулятор частоты вращения; — заправить систему охлаждения пассивирующим раствором; для приготовления раствора нужно отвешенное количество кальцинированной соды 300 г и двухромовокислою калия 30 г растворить в 3 л воды, нагретой до плюс 40—50°С, содержимое вылить в емкость с 57 л воды, добавить глицерина 1,7— 1,8 кг и тщательно перемешать; — пустить двигатель и прогреть его до температуры не ниже плюс 70сС, поработать 1600—2000 об/мин в течение 10— 15 мин; — слить рабочс-копсервациопнос масло и пассивирующий раствор; — просушить систему охлаждения продувкой сжатым воздухом, пропущенным через влагомаслоотделптель, до тех-пор, пока через открытый кран на правой водяной трубе двигателя и сливной кран системы охлаждения не пойдет воздух без капель пассивирующего раствора; — заполнить сливную магистраль форсунок консервацион-пой смесью топлива. При длительном хранении (до пяти лет) переконсервацию двигателя выполнять через каждые 30 месяцев. При этом нужно проверять состояние резинотехнических изделий и электрооборудования. При необходимости заменить дефектные сбороч-~ные единицы и детали, а также шланги, имеющие признаки старения. После консервации двигателя одним из трех указанных способов следует выполнить следующие работы: — на все неокрашенные внешние поверхности сборочных единиц нанести тонкий слой смазки ПВК, подогретой до плюс, 80—100сС; — спять аккумуляторные батареи и сдать их на склад для хранения; — закрыть все люки, лючки, крышки на корпусе транспор-400
тера п загерметизировать их (в т£м числе и воздухозаборник воздухоочистителя) тканью № 18 и замазкой ЗЗкЗУ; — укрыть транспортер штатным брезентом. 19.4. СНЯТИЕ С ХРАНЕНИЯ При снятии с храпения необходимо: — снять с транспортера брезент и вскрыть необходимые люки, лючки, крышки и воздухозаборник воздухоочистителя; — снять консервационпую смазку с внешних неокрашенных поверхностей сборочных единиц; — заправить (проверить и дозаправить) систему охлаждения двигателя; — проверить, нет лн течи топлива, масла, охлаждающей жидкости; — установить аккумуляторные батареи; — пустить двигатель, проработать 15 мин и повторно проверить, нет ли течи топлива, масла, охлаждающей жидкости, а также утечки воздуха из пневмосистемы; — провести пробег транспортера на 8—10 км. Обнаруженные неисправности устранить. Следует также помнить, что на время транспортирования от завода-изготовителя к потребителю транспортер подвергнут кратковременной консервации. Поэтому он должен быть введен в эксплуатацию не более чем через три месяца со дня отгрузки потребителю. Дата пуска двигателя и консервации транспортера в эксплуатирующей организации записывается в паспорт. 19.5. ХРАНЕНИЕ ОБОРУДОВАНИЯ ДЛЯ САМООКАПЫВАНИЯ Под консервацией оборудования понимается содержания технически исправного, полностью укомплектованного и специально подготовленного оборудования в состоянии, обеспечивающем его сохранность и приведение в готовность в кратчайший срок. Консервация включает комплекс мероприятий по защите от коррозии и иной порчи деталей оборудования и транспортера в целом. 19.5.1. ПОДГОТОВКА ОБОРУДОВАНИЯ ДЛЯ САМООКАПЫВАНИЯ К ХРАНЕНИЮ Подготовка оборудования к хранению проводится одновременно с подготовкой к хранению транспортера. Подготовку оборудования к консервации следует начинать с тщательного проведения уборочно-моечных работ. Наружные поверхности агрегатов оборудования следует насухо протереть,
руднодоступпых мест влагу удалить сжатым воздухом. Все неокрашенные поверхности оборудования смазать топким слоем смазки ПВК, а штоки гидроцилиидров дополнительно обмотать упаковочной антикоррозионной бумагой, а затем парафинированной. Бумагу закрепить шпагатом. Участки, оголившиеся от краски, обезжирить и покрасить. 19.52. СНЯТИЕ ОБОРУДОВАНИЯ ДЛЯ САМООКАПЫВАНИЯ С ХРАНЕНИЯ Снимать оборудование с хранения следует одновременно со снятием с хранения транспоргера. При снятии оборудования с хранения и подготовке к работе необходимо выполнить следующие работы: — очистить поверхности узлов и деталей оборудования от консервациониых смазок; — проверить состояние шлангов и маслопроводов оборудования, при необходимости заменить новыми; — проверить уровень масла в баке, при необходимости долить до требуемого уровня; — включить насос-редуктор, гидронасос, поставить рычаг распределителя в нейтральное положение, пустить двигатель и проверить, нет ли течи масла по соединениям маслопроводов; — проверить работу оборудования.
20. ТРАНСПОРТИРОВАНИЕ При транспортировании транспортеров следует руководствоваться настоящим разделом, Временными техническими условиями размещения и крепления боевой и другой техники на железнодорожном подвижном составе для перевозки в составе воинских эшелонов и транспортов (1976 г.), Наставлением по перевозкам железнодорожным и водным транспортом (1961 г.), действующими техническими условиями и инструкциями по воздушному транспортированию. Транспортеры вписываются в очертание габарита железных дорог СССР и в габарит 02-ВМ подвижного состава по ГОСТ 9238 - 83. 20.1. ПОДГОТОВКА К ТРАНСПОРТИРОВАНИЮ Специальной подготовки-для перевода транспортера из походного положения в положение для транспортирования пе требуется. До погрузки на транспортное средство следует выполнить ежедневное техническое обслуживание. При перевозке железнодорожным, автомобильным и водным транспортом топливные баки должны быть заправлены до уровня не более 130 мм от верхней кромки заливной горловины (замерять линейкой). При транспортировании воздушным транспортом заправка каждой группы топливных баков должна быть не более 75% их вместимости. При неисправности транспортера, особенно тормозов, при подтекании топлива, масла, специальных жидкостей и электролита перевозка воздушным транспортом категорически запрещена. Перед погрузкой на транспортное средство следует снять штыри антенны радиостанции и закрыть антенный ввод заглушкой. Башенную установку следует застопорить в горизонтальной и вертикальной плоскостях. При укрытии транспортера брезентом ствол пулемета должен быть установлен в сторону кормы.
На транспортере МТ'-ЛБВМ рекомендуется пулемет снять с установки и закрепить его внутри корпуса (транспортное положенно) на продольной балке в кормовом отделении. На транспортере с оборудованием для самоокапывания необходимо установить отвал па правом борту (транспортное положение) и закрепить. При перевозке морским транспортом более одного месяца следует выполнить работы, предусмотренные при постановке транспортера на кратковременное храпение (см. разд. 19). При перевозке воздушным транспортом необходимо отключить подвеску, установив приспособление для ее отключения (приложение 1). Транспортное средство под перевозку транспортеров должно быть очищено от грязи и посторонних предметов, а в зимнее время — от льда и снега. Настпл не должен иметь повреждения. Перед погрузкой борта железнодорожных платформ следует опустить. Продольные борта в опущенном положении следует закрепить к скобам платформы мягкой (отожженной) проволокой или имеющимися у платформы запорами. 20.2. УКАЗАНИЯ МЕР БЕЗОПАСНОСТИ 1. Открывая борта железнодорожной платформы, нужно находиться у ее конца, чтобы при падении борт не ударил открывающего. 2. При погрузке (разгрузке) своим ходом в транспортере может находиться только механик-водитель. При погрузке с помощью подъемно-транспортных средств люди на транспортере не должны находиться. 3. Погрузка (разгрузка) своим ходом допускается только на I передаче при минимально необходимой частоте вращения коленчатого вала двигателя. Не разрешается резко изменять подачу топлива и направление движения транспортера. 4. Погрузка (разгрузка) выполняется по команде руководителя, который должен постоянно находиться в поле зрения водителя и видеть положение гусениц. 5. В ночное время место погрузки (разгрузки) должно быть освещено. 6. При погрузке (разгрузке) подъемно-транспортными средствами к чалке (застройке) транспортеров допускаются лица, прошедшие специальную подготовку и имеющие соответствующее удостоверение. Под грузом и стрелами работающих механизмов находиться категорически запрещается. 7. При въезде по трапу на трайлер нельзя выполнять повороты. В случае несовпадения оси транспортера с осью трайлера необходимо повторить въезд.
При транспортировании автомобильным транспортом В транспортере и на трайлере не должно быть людей. 8. Скорость движения автомобильного транспорта с погруженными транспортерами определяется технической характеристикой транспорта, дорожными условиями и условиями безопасности движения. 9. Категорически запрещается погрузка, разгрузка и перевозка транспортеров на электрифицированных линиях железных дорог с установленными штырями антенны радиостанции. 10. Во время транспортирования всеми видами транспорта необходимо следить за состоянием крепежа и надежностью крепления транспортеров. При ослаблении растяжек их необходимо подтянуть. “ I 20.3. ПОРЯДОК ПОГРУЗКИ И РАЗГРУЗКИ Погрузка на железнодорожную платформу допускается: путем въезда своим ходом с погрузочно-разгрузочных площадок, со сборно-разборной металлической аппарели или других инженерных сооружений, обеспечивающих грузоподъемность и въезд на платформу. Если въезд ведется с продольного борта, то число платформ на погрузочной площадке должно быть на одну платформу больше, чем требуется для перевозки транспортеров; с помощью крана грузоподъемностью не менее массы транспортера. При этом фиксация чалочных средств должна быть надежной, исключающей сползание или расцепление с крюками, а также порчу деталей и окраски транспортера. Зачаливать следует спереди за буксирные крюки, а сзади — за тягово-сцепное устройство пли задние буксирные крюки. Допускается зачаливать за кронштейны направляющих колес. Транспортеры следует устанавливать симметрично к продольной оси платформы. Допускается разность замеров между торцом платформы и торцами звеньев гусеницы у передних и задних опорных катков с правой и левой сторон не более 10 мм, а для транспортеров с несимметричной гусеницей — не более 20 мм. На четырехосную железнодорожную платформу (рис. 174) следует устанавливать два транспортера так, чтобы расстояние между ними было 300—400 мм. • На двухосную платформу следует устанавливать один транспортер так, чтобы поперечная ось платформы и опорной поверхности гусениц транспортера совпали. Установка транспортеров над сцепкой железнодорожных платформ не допускается. Погрузка (выгрузка) транспортеров при перевозке автомобильным транспортом выполняется, как правило, своим ходом с аппарелей или трапов, являющихся принадлежностью трайлера.
Трайлеры целесообразно применять грузоподъемностью не менее массы транспортера и габаритами, позволяющими разместить и закрепить транспортер Перед погрузкой (разгрузкой) трайлер должен быть соединен с транспортером и заторможен. Для равномерного распределения массы транспортера па трайлере и устойчивости автопоезда транспортер нужно располагать вдоль платформы трайлера па одинаковом расстоянии от его бортов. Погрузка (выгрузка) транспортеров при перевозке водным транспортом (речным или морским) выполняется береговыми и плавучими крапами, судовыми стрелами, лебедками, тягачами с причалов, своим ходом и т. п. Зачаливать (тропить) при погрузке крапами и стрелами следует так же, как и при погрузке па железнодорожную платформу. При размещении на палубе транспортер не должен выходить за габариты судна и должен размещаться вдоль его. После завершения погрузки и крепления следует: — включить I передачу; — заглушить двигатель, рукоятку ручного привода подачи топлива установить в положение, соответствующее останову двигателя; — затормозить транспортер, установив рычаги управления во второе фиксированное положение (па горный тормоз), и включить I передачу; на рычаги управления прикрепить табличку «Изделие поставлено на тормоз и включена I передача»; — выключить выключатель аккумуляторных батарей и выключатели всех потребителей электроэнергии; — перекрыть топливораспределительпый кран, установив рукоятку крапа в положение ВСЕ ВЫКЛ.; — открыть крышку лючка в кожухе вентилятора, установив-защелку 34 (рис. 3) привода* крышки в сторону носа транспортера; — в осенне-зимний период слить воду из системы охлаждения двигателя; в весенний период эксплуатации у транспортеров, направляемых в .северные районы страны с отрицательными температурами окружающего воздуха, воду также слить, а на щиток приборов механика-водителя прикрепить табличку ВОДА СЛИТА; — в осенне-зимний и весенний периоды эксплуатации слить воду из системы обмыва смотровых стекол и конденсат из пиевмосистемы; — после окончательной установки и крепления на транспортном средстве транспортера закрыть на нем крышки смотровых стекол и амбразур, крышки всех люков и лючков; — опломбировать крышки люков моторного, трансмиссионного и кормового отделений, люков командира и механика-во-
дптсля, крышки заливных горловин топливных баков (прило женпе 8). После окончательного крепления транспортеров на железнодорожной платформе поднять и закрепить ее торцовые борта. 20.4. КРЕПЛЕНИЕ НА ЖЕЛЕЗНОДОРОЖНОЙ ПЛАТФОРМЕ После установки на железнодорожной платформе каждый транспортер рекомендуется крепить одним из предлагаемых способов. Первый способ. При первом способе каждый транспортер крепится: — четырьмя проволочными растяжками 3 (рис. 174), в каждой из которой должно быть не менее шести нитей стальной проволоки 0 6 мм; количество нитей определяется в наиболее слабом месте — в сечении между местами закрепления; — четырьмя упорными брусками (рис. 175), которые прибиваются к полу платформы двумя строительными скобами 3 (рис. 176) или восемью гвоздями 0 6 мм, длиной не менее 200 мм; размеры строительных скоб: стержень 08—12 мм, длина 250—300 мм, длина рога 70—80 мм; < — двенадцатью строительными скобами 2 со стержнем 0 12 мм длиной 250—300 мм и длиной рога 70—80 мм. Проволока для растяжек должна быть мягкой, термически обработанной (отожженной), горячекатаной, круглой, без надрывов и трещин, скручиваний и других изъянов. Допускается заменять каждые две нити 0 6 мм тремя нитями 0 5 мм или пятью нитями проволоки 0 4 мм. Повторное использование проволоки для крепления транспортеров не допускается. Упорные бруски должны быть из здоровой древесины хвойных п лиственных пород, за исключением осины, ольхи, липы и’ сухостойного дерева. В упорных брусках из твердых лиственных пород (дуб, граб н др.) для гвоздей 0 6 мм следует просверлить отверстия 0 5 мм. Гвозди для крепления упорных брусков должны быть длиной на 50—60 мм больше толщины бруса и пробивать доски платформы. Гвозди забиваются вертикально на расстоянии не менее 90 мм ог торцов бруска, досок платформы или друг от друга в направлении вдоль волокон и не менее 30 мм от краев брусков, досок платформы или друг от друга в поперечном — по отношению к волокнам — направтении. Для крепления транспортера следует: I. Уложить упорные бруски / (рис. 176) со стороны носа и кормы транспортера вплотную к гусенице длинной стороной поперек платформы и прибить каждый брусок двумя строительными скобами 3 или восемью гвоздями 0 6 мм. Скобы заби-
1575 , 1575 Pitc. 174. Установка н крепление транспортеров-тягачей на четырехосной железнодорожной платформе: 1 — скоба; 2 — поперечный упорный брус; 3 — растило
ваются симметрично продольной оси гусеницы, расстояние между скобами должно быть 150 -200 мм. 2. Закрепить транспортер ог поперечных перемещений двенадцатью строительными скобами 2 со стержнем 0 12 мм. Скобы забиваются группами — по три в каждой — в пол платформы с внутренней стороны гусеницы и перпендикулярно к ним, против крайних опорных катков. Рис. 175. Упорные бруски. Размеры бруска, мм, пе менее: толщина а—100; ширина 6—180; длина *»—• 355 Расстояние между скобами в группе должно быть 150— 200 мм, зазор между торцами звеньев гусеницы и скобами 10— 15 мм. Ближний к гусенице рог забивать па половину, а дальний — полностью. Рис. 176. Крепление упорного бруска и установка строительных скоб при креплении транспортера-тягача: 1 — упорный брусок; 1 — строительные скобы со стержнем 0 12 мм; 3 — строительные скобы со стержнем 0 8—(2 мм 3. Расчалить транспортер, прикрепив растяжки спереди к его буксирным крюкам, а сзади — к кронштейнам направляющих колес и соответствующим торцовым и боковым стоечным скобам, увязочным устройствам и кронштейнам платформы (рис. 174). Крепить растяжки к другим деталям платформы, в том числе к увязочным кольцам на боковых балках, запрещается.
Растяжки ставят так, чтобы одновременно угол между растяжкой н полом платформы и угол между растяжкой и продольной осью по превышал 45°. Сами растяжки не должны касаться ocipwx металлических деталей платформы и транспортера. Их нити должны иметь одинаковую длину и одинаковое натяжение. Концы проволоки следует заправить вовнутрь растяжек. Допускается крепить растяжки к задним буксирным крюкам. 4. Натянуть ломиком растяжки, скручивая нити проволоки до состояния прочного крепления транспортера. Для облегчения крепления упорных брусков и установки строительных скоб допускается перемещение транспортера по платформе. При этом не допускаются повреждение брусков и скоб, нарушение их установки. В целях предохранения брусков и скоб от повреждений можно использовать предохранительные бруски. Второй способ. При втором способе крепления каждьц! транспортер крепится; — четырьмя проволочными растяжками; — четырьмя упорными брусками, которые прибиваются к полу платформы, как в первом способе; — двумя продольными упорными брусками размером не менее 100X100x2000 мм, каждый из которых прибивается к полу платформы восемью гвоздями диаметром 6 мм и длиной 200 мм. Гвозди крепления должны располагаться равномерно по длине бруса в шахматном порядке и пробивать брус и доски пола платформы, то есть толщина бруса при длине гвоздя 200 мм должна быть не более 150 мм. Требования к упорным брускам, растяжкам и расположению гвоздей при креплении брусьев такие же, как и при первом способе. Для крепления транспортера следует: 1. Установить и закрепить поперечные бруски / (рис. 176) аналогично первому способу. 2. Закрепить транспортер от поперечного перемещения с помощью двух продольных брусков, которые устанавливаются вплотную к внутренним торцам гусеницы симметрично центра ее опорной поверхности п прибиваются к полу платформы восемью гвоздями каждый. Допускаются местные зазоры между торцами пальцев гусеницы и бруском не более 10 мм. 3. Закрепить транспортер с помощью проволочных растяжек аналогично первому способу. 20.5. КРЕПЛЕНИЕ НА ТРАЙЛЕРЕ Для крепления транспортера на трайлере следует использовать проволочные, цепные и тросовые растяжки. Транспортер расчаливается четырьмя растяжками, закреп-410
ляемыми к его буксирным крюкам, кронштейнам направляющих колес и швартовым петлям или скобам трайлера. Дополнительно можно использовать кронштейны подвески транспортера. 20.6. КРЕПЛЕНИЕ НА ПАЛУБЕ СУДНА При перевозке водным транспортом транспортер крепится с помощью деревянных распорок, упорных брусьев для подклинивания гусениц, а также проволочными, тросовыми и цепными растяжками, закрепляемыми за киехты, рым-болты и другие принадлежности судна. Места крепления растяжек на транспортере те же, что и при транспортировании на железнодорожной платформе. Упорные бруски и распорки крепятся к пастилу палубы судна строительными скобами, применяемыми при перевозке на железнодорожной платформе. 20.7. УКРЫТИЕ ТРАНСПОРТЕРА БРЕЗЕНТОМ Для защиты от атмосферных осадков, солнечных лучей, пыли, грязи транспортер укрывается брезентом. Перед укрытием следует опустить и закрепить в нижнем положении кормовые решетки или грязевые щитки, снять зеркало заднего вида и опустить его кронштейн. При увязке брезента веревка должна проходить под растяжками крепления транспортера па транспортном средстве. Последовательность укрытия и увязки: укрыть транспортер брезентом так, чтобы края брезента свисали равномерно; на транспортере с тягово-сцепным устройством следует веревку сложить пополам и в месте перегиба завязать ее на этом устройстве, предварительно обтянутом брезентом. Задний правый угол брезента подобрать, правый конец веревки протянуть через ближайшее к устройству кольцо задней стороны брезента и два положенных друг на друга кольца подобранного угла, после чего завязать узел, скрепляющий образованную полость; затем веревку протянуть через сложенные попарно кольца правого угла и кольца задней стороны брезента; на модификациях транспортера МТ-ЛБ, не имеющих тягово-сцепное устройство, веревку сложить пополам и в месте перегиба завязать узел. Задний правый угол брезента подобрать, правый конец веревки протянуть через ближайшие к продольной оси транспортера кольцо задней стороны брезента и два положенных друг па. друга кольца подобранного угла, после чего завязать узел, скрепляющий образованную задним
правым углом полость. Затем веревку протянуть через сложенные попарно кольца правого угла и кольца задней стороны брезента; правый конец веревки протянуть вправо по ходу транспортера к носовой части, не минуя ни одного кольца брезента. Подобрать правый передний угол брезента и протянуть правый конец веревки через ближайшие два положенных друг па друга кольца подобранного угла Затем протянуть веревку через вольна передней стороны брезента по направлению к продольной оси транспортера. На середине носовой части завязать узел, скрепляющий образованную полость; аналогично проделать то же с левым концом веревки; развязать узлы, скрепляющие образованные полости в кормовой и носовой части, и подтянуть веревки по всему периметру. На середине носовой части завязать узел. Узел опломбировать, концы веревки уложить в полость брезента; закрепить боковые стороны брезента с интервалом через одно кольцо проволокой 03 мм, длиной 150—250 мм за гусеницу, продевая проволоку через кольца брезента и отверстия в звеньях гусеницы. Укрывочный брезент должен быть надежно закреплен на транспортере, полы конвертов не должны выдергиваться от усилия руки. При укрытии брезентом комплексов модификаций 32, 35 и 49 следует дополнительно руководствоваться соответствующей эксплуатационной документацией. Укрытие и увязка транспортера брезентом показаны на ’ рис 177
Рис, 177. Укрытие транспортера-тягача брезентом
ПРИЛОЖЕНИЯ ПРИЛОЖЕНИЕ 1 УКАЗАНИЯ ПО ПРИМЕНЕНИЮ СПЕЦИАЛЬНЫХ ПРИСПОСОБЛЕНИИ Для монтажа и демонтажа торсионных валов, опорных катков и направляющих колес применяется приспособление 8.60.022 (рис. 178). Приспособление прикладывается в групповой комплект ЗИП. Рис. 178. Приспособление для монтажа и демонтажа торсионных налов, опорных катков и направляющих колес: 1 — винт; 2 — вороток; J — нажимная гайка; 4 — наставка; 5 — малая наставка, 6 — траверса; 7 — шайба; 8 — втулка Установка торсионных валов с помощью приспособления 8.60.022 Торсионные валы устанавливаются с помощью винта 1 (рис. 179) и воротка 2 приспособления. Устанавливать их в таком порядке: завинтить винт / с помощью воротка 2 в торец большой головки торсионного вала до упора; протянуть вал малой головкой вперед через шлицевое отверстие в осн рычага до упора в кронштейн на противоположном болту;
придерживая вал с помощью винта и направляя шлицы малой головки в шлицевое отверстие кронштейна, ударами молотка дослать вал до упора. Примечание. Гайку 3 рекомендуется не снимать с винта. Демонтаж торсионных валов со стороны большой головки с помощью приспособления 8.60.022 Торсионные валы со стороны большой головки демонтируются с помощью винта 1 (рис. 180), воротка 2, гайки 3 и наставки 4 приспособления. Рис. 179. Установка торсионного вала: 1 — виит; 2 — вороток; 3 — нажимная гайка Рис. 180. Демонтаж торсионного вала со стороны большой головки: I — винт; 2 — вороток; 3 — нажимная гайка, 4 — наставка Для демонтажа торсионного вала необходимо: — вывинтить гайку балансира; — вынуть регулировочные прокладки; — вывинтить болты из большой и малой головок торсиона; — вынуть регулировочные прокладки со стороны большой головки; — завинтить винт / в торец большой головки торсионного вала до упора, уперев наставку 4 в торец рычага; — вращая гайку 3 с помощью воротка 2, вытянуть шлицевые головки вала из кронштейна и оси рычага; — вынуть ват из корпуса.
Дш.онтаж торсионного вала со стороны малой головки (при поломке вала) с помощью приспособления 8.60 022 Торспоппый вал со стороны малой головки (при поломке вала) демонтируется с помощью винта 1 (рпс. 181), воротка 2, гайки 3 и втулки 4 приспособления. Рис. 181. Демонтаж торсионного вала со стороны малой головки (при поломке вала): / — винт;. 2 — вороток; 3 — нажнмиая гайка; 4 — втулка Чтобы извлечь поломанную часть торсионного вала, необходимо: — вывинтить болт из малой головки торсиопа; — снять стопорную планку и уплотнительные кольца; — завинтить винт 1 до упора в торец вала, уперев втулку 4 в кронштейн; — вращая гайку 3 воротком 2, извлечь обломок вала из шлицевого гнезда. Примечание. При замене торсионного вала шестого опорного катка необходимо на правую сторону ставить левый торсионный вал, а на левую — правый. Напрессовка опорных катков и направляющих колес с помощью приспособления 8.60022 Опорные катки и направляющие колеса напрессовываются с помощью винта / (рпс. 182), воротка 2, гайки 3, наставок 4 и 5 и шайбы 6 приспособления. Для напрессовкн опорного кагка или направляющего колеса на ось необходимо: — навинтить па винт 1 гайку 3, малую наставку 5 и шайбу б; — установить наставку 4 иа винт /;
— установить каток (направляющее колесо) в сборе на ось; — навинтить малую иасгавку 5 на резьбовой конец оси кат- ка (или коленчатой оси); Рис. 182. Напрессовка опорного катка и направляющего колеса: / — винт; 2 — вороток; 3 — нажимная гайка; 4 — наставка; 5 — мвлая наставка; 6 — шайба Рис 183. Демонтаж опорного катка и направляющ! го колеса: I — винт; 2 — вороток; 3 — гайка; 4 — траверса; 5 — шайба — завинтить винт 1 до упора шайбы 6 в фаску центрового отверстия оси балансира (или коленчатой оси); — упереть наставку-4 в торец внутреннего кольца подшипника; — вращая гайку 3 воротком 2, напрессовать каток (направляющее колесо) на посадочные шейки до упора. Демонтаж опорных катков и направляющих колес с помощью приспособления 8.60.022 Опорные катки и направляющие колеса демонтируются с помощью винта 1 (рис. 183), воротка 2, траверсы 4 и шайбы 5 приспособления. Чтобы снять опорный каток или направляющее колесо с посадочных мест, необходимо: — отвинтить болты, снять колпак, расшплинтовать и отвинтить гайку; — установить траверсу 4 и шайбу 5 на винт /; — установить траверсу 4, закрепив ее болтами крепления крышки, на опорный каток направляющего колеса;
— завинтить винт / до упора шайбы 5 в фаску центрового отверстия оси балансира (или коленчатой оси); — вращая винт / с помощью воротка 2, снять каток (направляющее колесо) с посадочных мест, при этом необходимо поддержать каток (направляющее колесо) на весу, чтобы не забилась резьба на оси; гайку 3 рекомендуется не снимать с винта. Замена пальцев гусеницы с открытым шарниром Для выбивания пальцев из гусеницы необходимо: — поставить машину так, чтобы заменяемый палец находился между ведущим колесом и первым опорным катком или между направляющим колесом и шестым опорным катком; Рис. 184. Замена пальцев гусеницы. Приспособление для замены пальцев гусеницы с открытым шарниром: / — выколотка; 2 — стержень для выбивания пальцев гусеницы; 3 — рукоятка к стержню; 4 — наставка для расклепки пальцев гусеницы — ослабить натяжение гусеницы; — приставить выколотку 1 (рис. 184) к расклепанному концу пальца и, ударяя по ней кувалдой, забить расклепанную часть пальца в проушину на 15—20 мм; — к забитому в проушину пальцу приставить стержень 2, поддерживая его рукояткой 3, и ударами кувалды по головке стержня выбить палец из проушин траков, после чего вынуть стержень; — новые пальцы, вставленные в гусеницу, расклепать до диаметра 17—19 мм, а для гусеницы с несимметричными звеньями— до 20—22 мм с помощью наставки 4 и молотка, поддерживая палец со стороны головки кувалдой; указанные приспособления и молоток прикладываются в одиночный комплект ЗИП. Замена звеньев и пальцев гусеницы с закрытым шарниром В гусеницах с закрытым шарниром пальцы следует заменять в следующем порядке: — поставить машину так, чтобы заменяемый палец находился между крайним опорным катком и ведущим или направляющим колесом;
СП ф я гз Е / — трак; 2— палец; 3 — приспособление для стягивания траков по шагу; 4 — фиксатор шага гусеницы; 5 — наставка; 6 — болт; 7 — лом; 8— приспособление для выпрессовкн пальцев гусепн» цы; 9 — технологический палец; 10 — крестовина
— ослабить натяжение гусеницы; — надеть на проушины приспособление 3 (рис. 185) с двух сторон, стянуть звенья до нормального шага и проверить шаг с обеих сторон фиксатором 4\. — не снимая приспособления 3, установить приспособление 8 с помощью пальцев на те же траки и вращением крестовины 10 с помощью наставки 5 и лома 7 выпрессовать палец; при этом необходимо стопорить винт или крестовину от проворачивания. Рекомендуется проворачивать крестовину, удерживая винт; — снять приспособление 8; — очистить от грязи отверстия проушины; — вместо выпрессованного пальца вставить технологический палец 9; — новый обрезиненный палец тщательно смазать смазкой Литол-24, затем ударами кувалды осторожно забить его в проушины, выбив при этом технологический палец; допускается установка старого, ранее выпрессованного пальца со срезами резиновых колец по всему периметру шириной не более 6 мм и глубиной не более 1,5 мм; расстояние между торцами пальца и проушины должно быть 4—6 мм. Приспособления для выпрессовки пальца придаются в одиночный комплект ЗИП. При надевании гусеницы траки должны лежать на земле тремя проушинами вперед. Надевание гусеницы с помощью шнура Для облегчения надевания гусеницы каждому транспортеру МТ-ЛБВ и МТ-ЛБВМ, а также в групповой комплект ЗИП модификации 35 придается капроновый шнур. Перед снятием гусеницы для замены ее нужно отпустить натяжное устройство и установить направляющее колесо в переднее крайнее положение, при этом допускаются легкие удары кувалдой по гусенице в районе направляющего колеса. Чтобы надеть одну из гусениц, когда другая надета, необходимо: — расстелить гусеницу; — своим ходом (с помощью второй гусеницы) наехать на разостланную гусеницу так, чтобы впереди переднего катка осталось два-три звена; — на конце шнура сделать петлю и завязать узел, затем надеть его на среднюю проушину заднего звена гусеницы и закрепить, вставив палец в отверстия проушин (рис. 186); — другим концом шнура сделать полтора витка на ступице ведущего колеса; — выключить сцепление, пустить двигатель, включить I передачу, затормозить соединенную гусеницу, поставив рычаг управления во второе положение, и плавным включением сцеп-420
ления на минимально устойчивой частоте вращения коленчатого вала двигателя подтянуть шнуром гусеницу- к ведущему колесу; свободный конец шнура при этом держать в руках в натянутом положении; Рис. 186. Надевание гусеницы с помощью шнура} 1 — беседочный узел; 2 — капроновый шнур; 3 — палец — по мере надевания гусеницы освобождающийся шнур выбирать руками, не ослабляя его натяжения; когда три-четыре звена верхней ветви надеваемой гусеницы войдут в зацепление с зубьями ведущего колеса, затормозить его. и остановить двигатель;
— вынуть палец, отъединить петлю шнура, снять шнур со ступицы ведущего колеса; — выключить сцепление, пустить двигатель и плавным включением сцепления на минимально устойчивой частоте вращения двигателя подтянуть конец верхней ветви гусеницы к крайнему звену нижней ветви, затормозить надеваемую гусеницу и остановить двигатель; — соединить пальцем концы гусеницы и отрегулировать ее натяжение. Самовытаскивание застрявшего транспортера с помощью приспособления для самовытаскивания и бревна Для вывода застрявшего транспортера из заболоченной местности в одиночный комплект ЗИП придается приспособление для самовытаскивания. Рис. 187. Приспособление для самовытаскивания транспортера-тягача: I — приспособление; i — бревно любой породы дерева (0 250—350 мм. длина не менее 2900 мм) Приспособление состоит из троса, который с помощью переходных деталей и болтов крепится к тракам гусениц. Для самовытаскивания застрявшего транспортера необходимо прикрепить приспособление 1 (рис. 187) к тракам гусениц болтами и гайками, затем продеть в петли тросов бревно 2. Привести транспортер в движение и двигаться до выхода бревна из болота с противоположной стороны машины. Если надо продолжить самовытаскивание, следует снять бревно и приспособление (допускается снимать пальцы, не снимая основания приспособления), а затем установить их на гусеницы с противоположной стороны.
Как правило, самовытаскивание производится передним ходом, но при необходимости может производиться и на заднем ходу, в этом случае приспособление крепится ближе к направляющему колесу. В целях предохранения кормовых решеток или задних грязевых щитков необходимо их поднять и закрепить. Заправка смазкой опорных катков и направляющих колес с помощью нагнетателя масла Масло в опорные катки и направляющие колеса заправляется нагнетателем 4 (рис. 188). Нагнетатель прикладывается в одиночный комплект ЗИП. Рис. 188. Заправка маслом опорных катков и направляющих колес: / — заливная пробка нагнетателя; 2 «—заливное (сливное) отверстие катка; 3 контрольное отверстие катка; 4 — нагнетатель масла Для заправки опорных катков и направляющих колес смазкой необходимо: — вывернуть пробки заливного и контрольного отверстий; — вставить наконечник нагнетателя масла в заливное отверстие катка (направляющего колеса); — отвернуть заливную пробку нагнетателя масла на один-два оборота и нагнетать масло до появления его из контрольного отверстия. Нагнетатель масла применяется также для заправки масла в бортовые передачи, редуктор вентилятора, промежуточный редуктор и дозаправки системы смазки главной передачи.
Слив топлива из топливных баков с помощью шланга для заправки топливом При сливе топлива из топливных баков необходимо: — отвинтить болты, снять крышку 3 (рис. 189) лючка и прокладку 1 на днище корпуса под баком; Рис. 189. Установка ключа н шланга для слива топлива из топливных баков: / — прокладка; 2—болт; 3 — крышка лючка; 4 — пробка сливного отверстия; 5 — ключ; 6 —* штуцер шланга — завинтить штуцер 6 шланга в резьбовое отверстие корпуса пробки топливного бака; — установить ключ 5, как показано на рис. 189, и отвинтить на два-три оборота пробку 4. После слива топлива пробку завинтить. Шланг со штуцером 6 и ключ 5 прикладываются в одиночный комплект ЗИП. Установка гидродинамических щитков на транспортер Гидродинамические щитки — передний 2 (рис. 190), боковой 3 и дополнительный 7 — устанавливаются на передние подкрылки 5 транспортера, предварительно снимаются передние грязевые щитки. Передний щиток 2 крепится с помощью крючка 1 к корпусу и двумя прижимами 4 к кронштейну переднего подкрылка 5. Боковой щиток <3 крепится к подкрылку 5 одним прижимом 4.
Передним концом дополнительный щиток 7 вводится в паз бокового щитка 3, а па переднем подкрылке 5 дополнительный щиток 7 крепится двумя прижимами 4 Положение прижимов 4 фиксируется ограничителями 6. Рис. 190. Установка гидродинамических щитков: 1 — крточпк: 2 — передний щиток: 3 — боковой .щиток; 4 — прижим. 5 — подкрылок; б — ограничитель; 7 — дополнительный щиток Гидродинамические щитки придаются в одиночный комплект ЗИП В транспортном положении гидродинамические щитки устанавливаются на крыше корпуса транспортера и крепятся ремнями. Установка удлинителя воздухозаборной трубы воздухоочистителя Удлинитель воздухозаборной трубы устанавливается при преодолении водной преграды на плаву, в особо пыльных условиях и при движении по лесисто-болотистой местности для предохранения от попадания в воздухоочиститель воды, листьев, хвои и сильно запыленного воздуха. На транспортере МТ-ЛБВМ удлинитель устанавливается только при преодолении водной преграды на плаву. Удлинитель 1 (рис. 191) воздухозаборной трубы устанавливается на крышке 6 люка моторного отделения и крепится к бойке «3 защитного колпачка 4 винтом 2 Нижний торец трубы уплотняется резиновой прокладкой 5.
В походном положении удлинитель воздухозаборной трубы воздухоочистителя укладывается в трансмиссионном отделении. Удлинитель воздухозаборной трубы воздухоочистителя придается в одиночный комплект ЗИП. Рис. 191. Установка удлинителя воздухозаборной трубы воздухоочистителя: 1 — удлинитель воздухозаборной трубы; 2 — винт; 3 — бойке; 4 — защитный колпачок; 5 — прокладка; 6 — крышка люка моторного отделения; 7 — сетка Установка ограждения жалюзи радиатора Для предотвращения попадания воды в полость вентилятора через жалюзи радиатора, а также в систему выпуска отработавших газов при преодолении водных преград на транспортерах устанавливается ограждение жалюзи радиатора. Ограждение 4 (рис. 192) устанавливается над жалюзи 5 радиатора и крышками 6 шахты системы выпуска отработавших газов и крепится к рамке жалюзи 9 транспортера прижимами 1 и 8, гайками 2, болтами 3, штифтами 7 и шайбами 10 и 11. Болты 3 приварены к рамке жалюзи. В транспортном положении ограждение устанавливается на крыше транспортера и крепится ремнями к корпусу. Ограждение придается в одиночный комплект ЗИП. Малогабаритный заправочный агрегат МЗА-З Малогабаритный заправочный агрегат МЗА-З предназначен для заправки (дозаправки) транспортера фильтрованным топливом и маслом из бочек. При необходимости агрегат может быть использован как средство для частичной дезактивации и мойки машин водой. Производительность агрегата, л/мин: на дизельном топливе: с раздаточным краном РК-25....................... 60 без раздаточного крана ........................ 75 на масле МТ-16п; при температуре плюс 5°С....................... 2,5 при температуре плюс 60°С...................... 45
Л 8 — прижимы; тора; 6 — крышка Рис. 192. Установка ограждения радиатора: 2”гайка; 3~ б0ЛТ: 4 —ограждение радиатора; 5 — жалюзи шахты системы выпуска отработавших газов 7 — штшЬты < ка жалюзи; 10, // — шайбы ф а радна-— рам-
В комплект МЗА-З входят насос / с электродвигателем (рис. 193), раздаточный шланг 3 длиной 5,4 м, раздаточный кран 2 и электрокабель 4 длиной 8 м. Кроме того, к агрегату прикладываю гея два удлинителя 5. Рис. 193. Малогабаритный заправочный агрегат МЗА-З: / — насос с электродвигателем; 2 — раздаточный кран; 3 — раздаточный шлапг; 4— электрокабель: 5 — удлинители; 6 — емкость с топливом или маслом Агрегат МЗА-З придается в групповой комплект ЗИП. Чтобы заправить транспортер топливом или маслом с помощью агрегата МЗА-З, необходимо: — вынуть насос в сборе с электродвигателем из ящика и в зависимости от типа тары установить удлинители; — отвинтить заглушку штуцера насоса и опустить всасывающую трубу в емкость с топливом и привернуть шланг <3; чтобы избежать операции предварительной заливки насоса закачиваемой жидкостью, необходимо начинать заправку транспортера сначала из полной бочки; для насоса, заполненного жидкостью, уровень топлива или масла в бочке не имеет значения;
Рис. 194. Установка приспособления для отключения подвески: 1 — палец; 2 — корпус; 3 — кронштейн; 4 — вннт; 5 — вороток устанавливается на палец / креп-проушнне балансира опорного кат- — проверить, чтобы выключатель агрегата находился в выключенном положении, и подключить агрегат к штепсельной розетке ШР-51; — снять с носка раздаточного крана предохранительный колпачок и вставить кран в заливную горловину топливных баков; — нажать на рукоятку крана (рукоятку крана можно застопорить в открытом положении защелкой); — включить выключатель агрегата; — по окончании заправки закрыть кран, надеть на его конец колпачок и выключить агрегат; — через обратный клапан слить топливо или масло из насоса, отвинтить раздаточный шланг и, слив из него остатки топлива или масла, закрыть пробками штуцера насоса и шланга; — протереть агрегат ветошью и уложить в ящик. При заправке транспортера дизельным топливом с температурой ниже минус 20°С или маслом с помощью агрегата МЗА-З необходимо предварительно заменить топливный фильтр масляным. Запрещается заправлять агрегатом масло с температурой ниже плюс 5°С. Перекачка агрегатом воды для мойки (дезактивации) транспортера без фильтрации запрещается (при перекачке воды устанавливать масляный фильтр). Установка приспособления для отключения подвески Приспособление для отключения подвески устанавливается на переднюю и заднюю пару опорных катков (данное приспособление прикладывается в групповой комплект ЗИП и применяется при авиатранспортировании). Кронштейн «3 (рис. 194) ления гидроамортизатора к ка, а винт 4 подводится под днище корпуса 2 транспортера. 429
С помощью воротка 5 ввертывается винт 4 в кронштейн 3 до упора его в корпус 2 Указанная установка приспособления обеспечивает отключение подвески. Установка приспособления для очистки направляющего колеса При эксплуатации транспортера по грязным или заснеженным дорогам для очистки направляющего колеса применяется специальное приспособление (рис. 195). Рис. 195. Установка приспособления для очистки направляющего колеса: 1 — опорный каток: 2 — фланец; 3 — болт; 4 — приспособление; 5 — направляющее колесо Приспособление 4 устанавливается на головки балансиров шестых опорных катков 1 и крепится тремя болтами к фланцу 2, который приварен к балансиру. Для облегчения установки приспособления 4 направляющее колесо 5 подается в крайнее положение в сторону кормы. Порядок подключения комплекта ДК-4К (ДК-4) Комплекты ДК-4К и ДК-4, предназначенные для дезактивации, дегазации и дезинфекции транспортера и другой техники, подключаются к системе выпуска отработавших газов двигателя с помощью трубы комплекта, которая придается в групповой ЗИП. Труба 9 (рис. 196) комплекта состоит из трубы с муфтой для крепления трубы к ниппелю 14 (рис. 17) системы выпуска отработавших газов, ниппеля для установки крышки с клапаном 2 (рис. 196) и газоотборником /, газоотборнпка 10. Газоотборник 10 предназначен для подключения эжектора комплекта ДК-4 и при работе с комплектом ДК-4К должен быть закрыт заглушкой 11. Начало срабатывания клапана 2 рассчитано на достижение в системе выпуска отработавших газов давления (0,9± ±0,1) кгс/см2 при средней частоте вращения коленчатого вала двигателя 1400—1600 об/мин и характеризуется небольшим пропусканием через клапан отработавших газов.
Состав, устройство и принцип работы, а также порядок проведения работ по дегазации (дезактивации, дезинфекции) и техническом обслуживании комплекта приведены в эксплуатационной документации, прикладываемой к комплекту ДК-4К (ДК-4). Вид / Рис. 196. Схема подключения комплекта ДК-4К: I, 10 — газоотборннкн; 2 — предохранительный клапан; 3 — жидкостный рукав; 4 — га» аожндкостный рукав; 5 —щетка; б — емкость; 7 — решетка; 8 — выпускная труба; 9 — труба комплекта; 11 — заглушка; 12 — эжектор Для подключения комплекта ДК-4К необходимо: — расконсервировать комплект и трубу комплекта; — прогреть двигатель, как указано в 13.4.2, и остановить; — расшплинтовать палец крепления решетки шахты системы выпуска отработавших газов и поднять ее; — установить трубу 9 комплекта на выпускной трубе <9; — установить крышку с клапаном 2 и газоотборником 1 на трубу с комплектом; — установить на газоотборник 1 эжектор комплекта ДК-4К и подготовить комплект ДК-4К к работе в зависимости от метода обработки, как указано в эксплуатационной документации на комплект; — пустить двигатель, предварительно открыв предохранительный клапан 2;
— когда двигатель будет работать на устойчивой частоте вращения коленчатого вДла двигателя при нормальном тепловом режиме, следует закрыть клапан 2 и довести частоту вращения с помощью ручного управления иодачей топлива до зна- Рис. 197. Схема подключения комплекта ДК-4: 1 — газоотборник; 1 — предохранительный клапан; S —жидкостный рукав; 4— газожидкостный рукав; 5 —щетка; 6 —емкость; 7 —решетка, в—выпускная труба; 9 — труба • комплекта /I — эжектор чения, которое должно характеризоваться небольшим пропуском отработавших газов через предохранительный клапан 2. При обработке транспортера газожидкостным методом емкость с жидкостью рекомендуется устанавливать на левый подкрылок. При подключении комплекта ДК-4 крышка с предохранительным клапаном 2 устанавливается па ниппель трубы комплекта, а эжектор—на газоотборник 10, как указано на рис. 197. На рис. 196 и 197 показано подключение комплектов при газожидкостном методе обработки.
ТАБЛИЦА РЕГУЛИРОВОЧНЫХ ПАРАМЕТРОВ Параметр проверка Зазор между клапаном и коромыслом толкателя (в холодном состоянии)............................... Зазор между штифтом рычага регулятора и торцом болта ограничения минимальной частоты вращения ............................................ Значение, мм 0,25-0,30 0-1,2 Свободный ход педали сцепления (по перемещению тяги сцепления)................................. 6,5—8 Полный ход педали сцепления (по перемещению тяги сцепления)................................... 40—42 Зазор между колодками лент и барабанами остановочных тормозов............................... 1,5—2,5 Зазор между кулаком мостика управления и роликом рычага тормоза при затянутом тормозе механизма поворота ...................................... Свободный ход поводков выключения фрикционов механизмов поворота при подключенной тяге. . . , 4,5-5,5 7-9
ВМЕСТИМОСТЬ ЗАПРАВОЧНЫХ ЕМКОСТЕЙ ТРАНСПОРТЕРОВ МТ-ЛБ, МТ-ЛБВ, МТ-ЛБВМ И МОДИФИКАЦИЙ 35, 32 И 49 Заправочная емкость Топливная система . , .г.;. Система смазки двигателя . . ................... Система охлаждения двигателя...................... Бачок топливной системы подогрева и обогрева . . . Система смазки главной передачи .................. Бортовая передача (две) ....................«, . , Ступицы направляющих колес (две).................. Ступицы опорных катков (двенадцать) .............. Гидроамортизатор (четыре)......................... Промежуточный редуктор............................ Редуктор вентилятора ............................. Муфта опережения впрыска.......................... Оборудование для самоокапывания .................. Вместимость, л 520* 28 55 3 21 1,3 каждая 0,5 » 0,55 » 0,9 » 0.6 0,25—0,3 0,14 40 * Для модификаций 32 н 49 — 475 л.
ПЕРЕЧЕНЬ МАТЕРИАЛОВ, ПРИМЕНЯЕМЫХ ПРИ ЭКСПЛУАТАЦИИ И РЕМОНТЕ ТРАНСПОРТЕРА Наименование материала Номер ГОСТ ТУ Бензин автомобильный неэтилированный любой марки..............- Бумага парафинированная, марки БП-5-ЗБ........................ Бумага противокоррозионная, марки МБГИ-8-40 . ........... Герметизатор для резьбовых соединений ......................... Глицерин дистиллированный, любого сорта ...................... Глицерин сырой любого сорта ... Замазка ЗЗк-ЗУ................ Калий двухромовокислый..........т Клей Ks 88 НП . ............... Масло МТ-16п........... Масла трансмиссионные ТАП15В и ТСп-10 ...................... Масло трансформаторное селективной очистки...............:. . . Масло турбинное Т22............. Масла М-8В2, М-8Г2, М-10В2, М-10Г2................... . . Низкозамерзающая жидкость марки 40 н 65 .................... Нитрит натрия технический . . . . Полнэтиленполиампн технический марки А ....................... Присадка АКОР-1 ......... Смазка 158.................... Смазка Лнтол-24.........- . . . . Смазка пушечная (ПВК).......... Смазка ЦИАТИМ-221.............. Смола ЭД-20.................... Сода кальцинированная техническая, любого сорта.............. Ткань 18 ...................... Трилон Б технический ........... Тринатрийфосфат ............... Эмаль белого цвета ПФ-115. . . . Эмаль ХВ-518 защитная.......... 2084—77 — . 9569—79 — 16295-82 — — 6-10-1048—73 С824-76 6823—77 19536—74 2652—78 или — 4220—75 — 38 105540-73 6360—83 38 001117—80 23652—79 — 10121—76 32—74 — 8581—78 — 159-52 —. 19906—74 — — 6-02-594-80 15171—78 — -— 38 101320—77 21150—75 —. 19537-83 — 9433-80 10587-76 — 5100—73 — 105916-80 — 6-01-634—71 201—76 — 6465—76 — — 6-10-966—75 Примечание. Материалы, применяемые при эксплуатации и ремон- те двигателя, см. в инструкции по эксплуатации двигателя
СПРАВОЧНАЯ ТАБЛИЦА МОМЕНТОВ ЗАГЯЖЕК ОСНОВНЫХ РЕЗЬБОВЫХ СОЕДИНЕНИИ Проверяемое соединение Момент затяжки, кгсм Гайка крепления шкива привода генератора ........... Болты крепления венцов ведущих колес................. Гайки крепления бортовых передач к корпусу . . . . Болты крепления кронштейнов снегоочистителей . . . Болты крепления кронштейнов гидроамортнзаторов .. Болты крепления зубчатых муфт бортовых карданов Гайки крепления ведущих колес на хвостовиках водил Болты центрального карданного вала................... Болты крепления лобовых стекол...................... Болты крепления компрессора к блоку цилиндров при затяжке в два приема: первый.......................................... второй........................................... Гайки крепления головки компрессора при затяжке в два приема: первый, менее.................................... второй .......................................... Болты крепления генератора .......................... 18—26 14-25 14—16 14-16 14-16 10—12 2—3 14-16 0,6—0,8 0,5-1 3—3,5 . 1.2 1.2—1,7 5,5-6
МЕТОД ИСПРАВЛЕНИЯ ДЕФЕКТОВ ЭПОКСИДНЫМ КЛЕЕМ При ремонте деталей, изготовленных из стеклопластика, и ненагруженных металлических деталей используются эпоксидный клей и стеклоткань. Текущий ремонт деталей выполняется заклеиванием трещин, отверстий или наложением заплат. Эпоксидный клей обладает следующими свойствами: высокой адгезией к пластмассам, металлам, стеклу, дереву, резине и другим материалам; не требует применения высоких температур и давлений при склеивании. Отвердение клея происходит без усадки, выделения летучих веществ и образования пористости, что исключает появление внутренних напряжений и снижение прочности швов; клеевые соединения ие подвергаются коррозии и устойчивы к действию различных видов горючего, масел и растворителей; клеевые соединения водонепроницаемы и выдерживают длительное воздействие как низких, так и высоких (до 120°С) температур; способ соединения деталей эпоксидным клеем прост и надежен, не требует специального оборудования и приспособлений. Рекомендуется применять эпоксидный клей на основе смолы ЭД-20 и полиэтиленполиамина (отвердителя) марки А. Ремонт с помощью эпоксидного клея можно выполнять при температурах окружающего воздуха не ниже плюс 15°С. До склеивания поверхность необходимо подготовить. Подготовка поверхности заключается в очистке ее от грязи, зачистке напильником или наждачной шкуркой, обезжиривании растворителем или бензином с последующей просушкой сухим сжатым воздухом или просушкой на воздухе. Для заклейки небольших поверхностных трещин и мелких отверстий нанести слой клея на ремонтируемую поверхность, перекрывая трещину (отверстие) со всех сторон на 15—20 мм. Hanoi пть клей нужно деревянной лопаткой. При заклейке сквозных трещин на неответственных, ненагру-женных деталях необходимо разделать края трещины и заклеить ее эпоксидным клеем, армированным стекловолокном. При необходимости заделать трещину иа нагруженной, несущей детали рекомендуется приклейка дополнительных слоев (накладок) из стекловолокна. Для этого нужно зачистить вокруг трещины ноле необходимой величины так, чтобы накладка перекрывала трещину на 50—70 мм со всех сторон, и нанести слой эпоксидного клея без армирующего материала. Пропитать клеем накладку из стеклоткани и наложить ее на деталь. В' зависимости от толщины ремонтируемой детали (панели) можно последовательно наложить два-три слоя стеклоткани.
Каждый последующий слой должен по размерам накладки быть больше предыдущего, перекрывая его на 15—20 мм. Если ремонт производится по вертикальной панели, можно сверху наклеить слой плотной бумаги для предотвращения стекания клея. После полного отвердения нанесенных материалов (8—10 ч) нужно зачистить наклеенный слой снаружи напильником и шкуркой, после чего покрасить отремонтированные места. При сквозных отверстиях большого размера можно заделать их с помощью стекловолокна и эпоксидного клея, предварительно разделав края отверстия. При работе с эпоксидными клеями и их компонентами следует соблюдать осторожность. Смола и отвердитель ядовиты, частицы стекловолокна вызывают раздражение, попадая на кожу или в дыхательные пути. Работать следует в перчатках, оберегать кожу, глаза и органы дыхания. При работе в помещении должна быть обеспечена хорошая вентиляция. По окончании работы необходимо тщательно вымыть руки горячей водой с мылом. Места на коже, которые соприкасались с клееем, нужно смыть 3% раствором уксусной или лимонной кислоты. Для приготовления клея в мерный сосуд отвешивается необходимое количество смолы ЭД-20 и вводится в нее '/?—'/в весовая часть полиэтиленполиамина (отвердителя) от веса смолы. Отвердитель тщательно размешивается в смоле деревянной палочкой. Предупреждение. 1. Склеивать непосредственно после приготовления рабочих композиций. 2. Эпоксидная смола и отвердитель могут храниться раздельно до трех лет. После введения отвердителя клей пригоден к работе в течение 20—30 мин. ПРИЛОЖЕНИЕ 7 ТАБЛИЦА ДИФФЕРЕНЦИРОВАННОЙ ВЫСТАВКИ ОПОРНЫХ КАТКОВ ПО ВЫСОТЕ ТРАНСПОРТЕРА МТ-ЛБВ (МТ-ЛБВМ) Катки, начиная с носа транспортера 1 2 3 4 5 6 Расстояние от струны до стакана уплотнения, ММ . 266—270 256-260 246—250 234-238 222—226 210—214
СХЕМЫ ПЛОМБИРОВАНИЯ ТРАНСПОРТЕРА МТ-ЛБ Рис. Схема пломбирования: /—крышка люка трансмиссионного отделения; 2— винт крепления кожуха усилителя аппарата А-1; 3 — винт подрегулирования максимальной мощности; 4 — винт крепления боковой крышки корпуса ТНВД; 5 — втулка винта ограничения мощности на обкаточный период; 6 — винт ограничения мощности двигателя; 7, 13 — крышки десантных люков; 8, // — заливные горловины топливных баков; 9, /0 — кормовые двери; 12 — ящики с сумками, пеналом и одиночным ЗИП транспортера; 14 — крышка моторного люка; 15 — внит крепления смотрового люка ТНВД; 16 — болт ограничения максимального скоростного режима; /7 — крышки люков отделения управления; 18, 19—гибкий вал спидометра ПРИЛОЖЕНИЕ 9 РАБОТА ГЛАВНОЙ ПЕРЕДАЧИ движении:- 3, 15 — эпициклн- Рис. I. Схема зацепления шестерен при прямолинейном /. 18 — бортовые передачи: 2, 16 — ведомые шестерни фрикционов; ___ ческие шестерни; 4— планетарные ряды механизмов поворота; 5 — ведомая шестерня заднего шестерня 10 — главный шестерня заднего хода; 7 — ведомая переключения; 9 — неподвижная муфта; ____________ ___ .. _____ .. шестерня IV передачи; 12 — ведущая шестерня Ill передачи; 13 — ведомая шестерня VI передачи; 14 — ведомая ше-' стерня V передачи; 17, 30 — солнечные шестерни планетарных механизмов поворота; 19, 33 — фрикционы механизмов поворота; 20. 37 — тормоза механизмов поворота; 21, 3/— ведущие шестерни фрикционов; 22 — ведущая шестерня V передачи; 23 — ведущая шестерня VI передачи; 24 — ведомая шестерня III передачи. 25 — передаточный вал, 26 — ведущая шестерня IV передачи; 27 — первичный вал; 28 — ведущая шестерил П передачи; 29 — ведущая шестерня заднего хода хода; II 6 — промежуточная передачи; 8 — муфта вал; 11 — ведомая
а) Сопротивление движению гусениц одиноком Рис. II. Положение центра поворота в зависимости от соотношения моментов сопротивления на ведущих колесах
ТРАНСПОРТЕР МТ-ЛБ, ПОДГОТОВЛЕННЫЙ К ПЛАВУ Рис. Общий вид транспортера-тягача, подготовленного к плаву: /— подшипник выключения фрикциона механизма поворота; 2 — крышка лючка в кожухе вентилятора; 3 — водооткачнвающий насос; 4 — кингстоны; 5 — крышки кормовых люков; 6 — крышка люка механика-водителя; 7 — удлинитель воздухозаборной трубы; 8 — крышка люка моторного отделения; 9 — крышки десантных люков; 10 — крышки воздухозаборных и выпускных патрубков отопителя; // — крышка заливной горловины топливных баков; 12 — ограждение радиатора; 13 — крышка амбразуры; 14 — кормовая решетка; 15, 17, 25 — пробки; 16 — гидродинамический щиток; 18, 24 — водозаборники; 19 — крышки люков для слива топлива из топливных баков; 20 — крышка люка под двигателем; 21 — крышка люка под масляным баком главной передачи; 22 — крышка люка под промежуточным редуктором; 23 — крышка люка под главной передачей; 26 — волиоотражательный щит; 27 — крышка люка трансмиссионного отделения; 28 — крышка вентиляционного лючка трансмиссионного отделения; 29 — водовыбрасывающне патрубки; 30 — дополнительный гидродинамический щиток; 3/— крышка люка коман- дира
ОСОБЕННОСТИ ДЕМОНТАЖА МАСЛЯНОГО И ВОДЯНОГО РАДИАТОРОВ В ПОЛЕВЫХ УСЛОВИЯХ Расстопорить верхние и нижние упоры масляного радиатора и ввернуть их в бонки (ключи гаечные 17X19, 8X10 и плоскогубцы). Отвернуть гайки крепления стяжных лент радиаторов и снять ленты. • С помощью ломика для поворота коленчатого вала двигателя подать масляный радиатор вверх или вниз, отвернуть гайки трубопроводов масляного радиатора и снять масляный радиатор. Отсоединить гайки крепления трубопроводов к патрубкам водяного радиатора (со стороны кормового отделения использовать штатный ключ 8.61.077, удлинив его торцовым ключом 19x22 с воротком 236-390.1588). Отсоединить остальные трубопроводы от водяного радиатора и снять его.
Введение........................................................... 3 Техническое описание I. Общее описание транспортеров . . ............................ 2. Назначение и общее описание легкого многоцелевого гусеничного транспортера МТ-ЛБ ............................................... 3. Тактико-техническая характеристика транспортера МТ-ЛБ . . . 4. Устройство и работа составных частей транспортера МТ-ЛБ . • 4.1. Силовая установка ....................................... 4.1.1. Двигатель . . , . .-.........’....................... 4.1.2. Система охлаждения................................... 4.1.3. Система подогрева ................................... 4.1.4. Система питания топливом ............................ 4.1.5. Система питания воздухом ............................ 4.1.6. Система выпуска отработавших газов................... 4.2. Трансмиссия.............................................. 4.2.1. Сцепление............................................ 4.2.2. Промежуточный редуктор............................... 4.2.3. Центральный карданный вал............................ 4.2.4. Главная передача....................................... 4.2.5. Карданные валики . .................................. 4.2.6. Бортовая передача.................................... 4.2.7. Остановочные тормоза................................. 4.2.8. Тормоз механизма поворота............................ 4.2 9. Привод управления остановочными тормозами и планетарно-фрикционными механизмами поворота.......................; 4.3. Ходовая часть . . . ................................-. . . 4.3.1. Гусеничный движитель................................. 4.3.2. Подвеска..............-............................ 4.4. Корпус..................................................• 4.5. Электрооборудование...................................... 4.5.1. Источники электрической энергии...................... 4.5.2. Потребители электрической энергии.................... 4.5.3. контрольно-измерительные приборы..................... 4.6. Переговорное устройство и установка радиостанции......... 4.7. Смотровые приборы........................................ 4.7.1. Приборы ТНПО-170А ................................... 4.7.2. Прибор ТВН-2Б.................................... 4.7.3. Дозиметрический прибор............................... 4.8. Пиевмосистема.............-.............................. 4.9. Оборудование ............................................ 4.9.1. Тягово-сцепное устройство............................ 4.9.2. Система обогрева..................................... 4.9.3. Фнльтровёнтийяцйонная установка (ФВУ)................ 4.9.4. Оборудование для плава , ............................ 5 6 8 21 23 32 35 41 48 49 54 56 73 74 76 79 80 86 91 96 101 102 109 114 121 124 125 136 137 142 144
4.9.5. Водооткачивающий насос ................................. 146 4.9.6. Огнетушитель . ................................... 147 4 10. Башенная установка ТКБ 01 1 ............. — 4.10.1 Назначение установки ...................................... — 4.10.2 . Технические данные....................................... — 4.10.3 . Устройство установки................................ 148 4.11. Одиночный комплект запасных частей, инструмента и принадлежностей (ЗИП)................................................ 159 , 4.12. Маркирование и пломбирование................................. — 5. Легкий многоцелевой снегоболотоходный гусеничный транспортер МТ-ЛБВ........................'............................... 163 51. Назначение и общее описание.................................. — 5.2. Основные данные технической характеристики................. 164 5.3. Устройство составных частей транспортера .................... — 6. Легкий многоцелевой гусеничный транспортер МТ Л Б с оборудованием для самоокапывания......................................... 169 6.1. Назначение и общее описание.................................. — 6.2. Техническая характеристика................................. 170 6 3 Состав оборудования....................................... 172 6.3.1. Устройство навесного оборудования......................... — 6.3.2. Устройство гидропривода . 174 6.4. Электрооборудование (дополнительное) ...................... ]84 6.5. Работа гидропривода ......................................... — 7. Модификация 32................................................ 188 7.1. Основные данные тактико-технической характеристики ... — 7.2. Особенности конструкции............................... 189 8. Модификация 35 ................................................. 191 81 Основные данные тактико-технической характеристики .... 8. 2. Особенности конструкции . 192 9. Модификация 49........................................... 195 9.1. Основные данные тактико-технической характеристики .... — 9.2. Особенности конструкции...................................... 196 10. Легкий многоцелевой снегоболотоходный гусеничный транспортер МТ-ЛБВМ.................................................. 198 101. Основные данные тактико-технической характеристики ... — 10 2. Особенности конструкции.................................... 200 10.3. Устройство и работа установки пулемета НСВТ-12,7 .... — 10.3.1. Колпак........................................ . . 201 10.3.2. Погон................................................. 202 10.3.3. Люлька................................................ 204 10.3.4. Прибор наведения ПЗУ-5 . 205 10.3.5. Подъемный механизм . . .................. — 10 3.6. Поворотный механизм . . 207 10.3.7. Уравновешивающий механизм 211 10.3.8. Механизм взвода.......................................... — 10.3.9. Патронная коробка...................................... — 10.3.10. Гильзозвеньесборник................................... 212 10.3.11. Электрооборудование установки .......................... — 10.3.12. Стопор установки...................................... 215 10.4. Сиденье оператора........................................... — 105. Размещение пулемета и патронных коробок внутри корпуса транспортера.............................................. . . — Инструкция по эксплуатации 11. Общие указания............................................... 219 12. Указания мер безопасности при эксплуатации транспортера и при пользовании подогревателем . ...................................... 220 13 Подготовка транспортера к работе ............................. 222 13 1. Заправка топливом........................................ — 13 2. Заправка охлаждающей жидкостью............................ 223
13.3. Заправка маслом............................................. 225 13.4. Пуск двигателя ............................................. 226 13 4.1. Пуск двигателя без предварительного подогрева .... — 13.4 2. Прогрев двигателя и контроль за его работой после пуска 228 13.4.3. Пуск двигателя с помощью системы подогрева............ — 13.5. Остановка двигателя ........................................ 229 13.6. Обкатка нового (или вышедшего из капитального ремонта) транспортера ..................................................... 230 14. Правила вождения транспортера .................................. 232 14.1 Трогание с места............................................... — 14.2 . Остановка ................................................... — 14.3 Остановка н трогание с места па подъеме...................... 233 14.4 . Движение на разных передачах................................. — 14.5 . Переключение передач......................................... — 14.6 . Наблюдение за работой двигателя, механизмов и приборов при движении...................................................... 235 14 7 Повороты..................................................... — 14.8 Подъезд к прицепу, буксировка прицепа и отъезд от него 237 14 8 1. Подъезд к прицепу......................................... — 14 8.2. Буксировка прицепа........................................ — 14.8.3 . Отъезд от прицепа...................................... 238 14.9. Буксировка транспортера....................................... — 14.10. Преодоление препятствий ................................... 239 14.11. Преодоление подъемов и'спусков............................... — 14.12. Вождение по лесисто-болотистой местности................... 241 14.13. Преодоление водных преград................................. 242 14.13.1. Указания мер безопасности при преодолении водных преград......................................................... — 14.13.2. Выбор места для преодоления водной преграды .... 243 14.13.3. Подготовка к преодолению водной преграды............ — 14.13.4. Вход в воду........................................ 245 14.13.5. Вождение на плаву................................... — 14.13.6. Преодоление препятствий при движении на плаву . . . 246 14.13.7. Преодоление брода................................... — 14.13 8. Выход из воды.................................. 247 14.14 Особенности вождения зимой.................................. 248 14.14.1. Движение по снегу......................................... — 14.14.2. Движение в гололедицу..................................... — 14.14.3. Движение по льду........................................ 250 14.14.4. Движение в туман и снегопад............................... — 14.15. Движение в колонне......................................... 251 14.16 Эксплуатация транспортера с оборудованием для самоокапывания ............................................................ — 14.16 1. Указания мер безопасности................................ — 14.16.2. Подготовка оборудования для самоокапывания к работе 252 14.16.3. Работа оборудования для самоокапывания.................. 253 14.16.4. Особенности работы ночью................................ 255 14.16.5. Передвижение и транспортирование транспортера с оборудованием для самоокапывания .................................... — 14 17 Эксплуатация башенной установки ТКБ-01-1 ..................... — 14.17. 1. Постановка пулемета на установку......................... — 14.17. 2. Постановка прицела на установку........................ 256 14.17. 3. Заряжание пулемета на установке.......................... — 14.17. 4. Разряжание пулемета на установке....................... 257 14.17. 5. Снятие с установки хомута с прицелом..................... — 14.17. 6. Снятие пулемета с установки.............................. — 14 17.7. Указания мер безопасности.............................. 258 14 17 8. Проверка работы установки и приведение ее к нормальной работе ..................................................... 259
14.17. 9. Методика проверки исполнителя . -......... 14.18 . Эксплуатация установки пулемета НСВТ-12,7............. 14.18.1 . Указания мер безопасности.......................... 14.18.2 . Подготовка установки к работе..................... 14.18.3 . Порядок перевода установки в походное положение . . 14.18.4 . Порядок перевода установки в рабочее положение . . . 14.18.5 . Порядок работы на установке........................ 14.18.6 . Проверка работы установки и приведение ее к нормальной работе , . . 1 ...................... 14.19 . Эксплуатация отопительно-вентиляционной установки . . . 14.20 . Эксплуатация фильтровентиляционной установки (ФВУ) . . 14.20.1 . Режим вентиляции.......... . ................... 14.20.2 . Режим фильтрации.................................. 15. Характерные неисправности и методы их устранения............ 16. Техническое обслуживание.................................... 16.1. Виды и периодичность технического обслуживания.......... 16.1.1. Контрольный осмотр перед выходом из парка........... 16.1.2. Контрольный осмотр в пути........................... 16.1.3. Ежедневное техническое обслуживание................. 16.1.4. Техническое обслуживание № 1 ......................1 16.1.5. Техническое обслуживание № 2........................ 16.1.6. Сезонное техническое обслуживание................... 16.2. Указания по смазке механизмов транспортера.............. 16.3. Таблица смазки , , .>................................... 17. Техническое обслуживание узлов и агрегатов транспортера . . • 17.1. Техническое обслуживание силовой установки.............. 17.1.1. Техническое обслуживание системы смазки............। 17.1.2. Техническое обслуживание системы питания двигателя топливом ....................... ......................... 17.1.3 . Техническое обслуживание систем охлаждения и подогрева двигателя................... .г. . . ................ 17.1.4. Техническое обслуживание системы питания двигателя воздухом ................................................... 17.2 . Техническое обслуживание трансмиссии и приводов управления 17.2.1 . Техническое обслуживание сцепления................... 17.2.2 . Техническое обслуживание промежуточного редуктора . . । 17.2.3 . Техническое обслуживание центрального карданного вала 17.2.4 . Техническое обслуживание главной передачи......... 17.2.5 . Техническое обслуживание бортовой передачи.......j 17.2.6 . Техническое обслуживание приводов управления, эксплуатационные и монтажные регулировки.........................> 17.3 . Техническое обслуживание ходовой части...............> 17.3.1 . Техническое обслуживание гусениц................... 17.3.2 . Регулирование натяжения гусениц...................। 17.3.3 . Надевание гусеницы............................... , 17.3.4 . Перестановка ведущих колес , ....................., 17.3.5 . Замена венцов ведущих колес.......................> 17.3.6 J Замена поломанного торсионного вала................ 17.3.7 . Выставка опорных катков по колее................... 17.3.8 . Выставка опорных катков по высоте.................. 17.3.9 . Техническое обслуживание гидроамортизаторов........ 17.3.10 . Снятие и установка гидроамортизатора.............• 17.4 . Техническое обслуживание электрооборудования............. 17.4.1 . Основные требования . . .> 17.4.2 . Техническое обслуживание аккумуляторных батарей . . .) 17.4.3 . Техническое обслуживание генератора н реле-регулятора 17.4.4 . Техническое обслуживание стартера . .j. .............. 17.4.5 . Техническое обслуживание свечи накаливания подогревателя и отопителя.............................................. 262 263 265 266 269 270 271 272 291 293 296 297 305 308 312 317 321 334 336 339 345 346 347 352 353 368 369 370 371 372 373 374 375 377 378 380 381
17.4.6 . Техническое обслуживание приборов освещения, контрольных и других приборов . -..................................... 381 17.4.7 Регулирование установки фар ........................... 383 17.4.8 . Техническое обслуживание смотровых приборов и элект-рообогревных стекол......................................... 381 17.4 9 Замена электрообогревных стекол........................ 385 17.4.10 . Техническое обслуживание прибора ДТНМП-100-125 . . 38G 17.4.11 . Техническое обслуживание пневматической системы . . 387 17.5 . Техническое обслуживание оборудования................... 389 17.5.1 . Техническое обслуживание устройства для смыва грязи с лобовых стекол и подготовка его к работе........................ — 17.5.2 . Техническое обслуживание тягово-сцепного устройства . . 390 17.5.3 . Техническое обслуживание отопительно-вентиляционной установки ........................................................ — 17.5.4 . Техническое обслуживание системы водовыброса .... 391 17.5.5 . Проверка корпуса на герметичность.................... 392 17.5.6 Техническое обслуживание ФВУ и фильтра-поглотителя ФПТ-200М........................................................ — 17.6 . Техническое обслуживание оборудования для самоокапывания 394 17.6.1 . Снятие и установка гидронасоса......................... — 17.6.2 . Снятие и установка отвала.............................. — 17.7 . Техническое обслуживание башенной установки ТКБ 01 1 . . — 17.8 . Техническое обслуживание установки пулемета НСВТ-12,7 . . 395 17.9 . Расконсервация пулемета................................... — 18. Указания по использованию одиночного и группового комплектов запасных частей, инструмента и принадлежностей...................... 396 19 Правила хранения .............................................. 397 19.1. Общие подготовительные работы ............................ 398 19.2. Кратковременное хранение.................................... — 19.3. Длительное хранение......................................... — 19.4. Снятие с хранения......................................... 401 19.5. Хранение оборудования для самоокапывания.................... — 19.5.1. Подготовка оборудования для самоокапывания к хранению — 19.5.2. Снятие оборудования для самоокапывания с хранения . . . 402 20. Транспортирование............................................ 403 20.1. Подготовка к транспортированию.............................. — 20.2. Указания мер безопасности ................................ 404 20.3. Порядок погрузки и разгрузки.............................. 405 20.4. Крепление на железнодорожной платформе.................... 407 20.5. Крепление на трайлере .................................... 410 20.6. Крепление на палубе судна................................. 411 20.7. Укрытие транспортера брезентом ............................. — Приложения: 1. Указания по применению специальных приспособлений ..... 414 2. Таблица регулировочных параметров .......................... 433 3. Вместимость заправочных емкостей транспортеров МТ-ЛБ, МТ-ЛБВ, МТ-ЛБВМ и модификаций 35, 32 и 49 ..................... 434 4. Перечень материалов, применяемых при эксплуатации и ремонте транспортера................................................. 435 5. Справочная таблица моментов затяжек основных резьбовых соединений .......................................-............... 436 6. Метод исправления дефектов эпоксидным клеем................. 437 7. Таблица дифференцированной выставки опорных катков по вы- соте транспортера МТ-ЛБВ (МТ-ЛБВМ) .......................... 438 8. Схема пломбирования транспортера МТ-ЛБ...................... 439 9. Работа главной передачи....................................... — 10. Транспортер МТ-ЛБ, подготовленный к плаву.................. 441 II. Особенности демонтажа масляного и водяного радиаторов в полевых условиях................................................ 442
е/7 Cel Л4 02 75 ОТ _25 ,Л5 лёг опт А Ш4 ШЗ Возбукдег Шб ш (Э2}Ш (оп)ш? 0У-Ш2 Л2 Л5 S < Рис. 5 CI. С2 и СЗ— конденсаторы КБП-С-125/50В-40А-0.21 Отделение трансмиссии ВТ '(оу)ш1 ОУ-ШТ КнМ . СЭ1 НПЗ TH ПОЗ-ШТ ТНПОЗ 1 X >Т 3 С U11 5 тнпог шт 1 “т^ 1 PTCT-W3 . РТС1-Ш4 тнпог-шт -ртст-шт 7НЛСЛ-Ш1 Масла ИП5 1 I АА,ААА2\, 1 у? Уё Ш2 Масло ТЛ. Ипг ВЗВ4В5 РТС? РТСТ-Ш] ТНП01 /к 2 С * 1 ст 1 1 шт 44 32 1 1 1 . • Ту Воздух ч ____________________________________ генераторе Л1 Освещение Л2 \Придеров В2 лз Л7 Ст Проиои фильтр rS но Л> тя _ Р1 ± Пр1 Л6 ЛлТ 125 ЛБ 59
Рис, 50. Принципиальная схема электрооборудования транспортера-тягача МТ-ЛБ: хаторы КБП-С-125/50В-40А-0.22 МКФ ± 20%ХЛ; С4 и С5—кондеи- (ОД)ШЗ — вставка ШР20У5НШ10; ОД-ШЗ—колодка .. г. !•<-, ае________________D1 ______________ Ю-» HIDOnmUnifi. О V-1111 ------------------------- кПЛЛЛкЯ IIIР20П К4НIIIS- ШР20ПК5НШЮ: (ОУ) 1П1-встав- IO.V) Ш2 — вставка ШР20П4НШ8:
на МТ-ЛБ: : ОД-ШЗ — колодка ШР20ПК5НШ10: (ОУ)Ш1 — встав- [Ка ШРЗДПКШШВ. (ОУ)Ш2—вставка ШР20П4НШ8;
электрооборудования транспортера-тягача МТ-ЛБ- (ОД)ШЗ — вставка ШР20У5НШ10; ОД ШЗ — колодка ШР20ПК5НШ10; (0У)Ш1 — вставка ШР20П4НШ8- ОУ-Ш1 — колодка ШР20ПК4НШ8; (ОУ)Ш2 — вставка ШР20П4НШ8; ОУ-Ш2 — колодка ШРГ20П4ЭШ8. ОУ-ШЗ - колодка ШР20П2ЭГ6; (ЩК) Ш1-вставка ШР28У7НШ9; (ЩО) Ш1 — вставка ШР28У7НШ9; ЩП-Ш1 — колодка ШР55П31ЭГЗ; Ш.К — щнток командира В1 и В2 — автоматы защиты сети АЗС-10, ВЗ — выключатель В-45М, Л1 — лампа А24-3; Пр! — предохранитель ПЦ-30-5. ЦП — колодка ШРГ28П7ЭШ9. Ш2 — розетка штепсельная ШР-51, ЩО — щнток отопителя: R1 — спираль контрольная ОВ65-2000. R2 — сопротивленне добавочное, В1 — выключатель ВН-45М; В2 — переключатель П300, Л —лампа СМ28-4.8, Р — реле перегрева РС404, Св —фонарь контрольной лампы ПД20-Л, Ш! — колодка ШРГ28П7ЭШ9; ЩП — щнток приборов водителя: В1 — переключатель однополюсный ПП-45М, В2, В6—автоматы защиты сети АЗС-2, ВЗ — автомат защиты сети АЗС-50. В4. В5, В9 —автоматы защиты сети АЗС-10. В7 — автомат защиты сети АЗС-5. В8 — переключатель света П38, В10 — переключатель указателей поаорота П118, Д|, Д2 — кремниевые диоды 2Д201-А, ИП1 и ИП5 — манометры ТЭМ-15, ИП2 —манометр ЭДМУ-6Н, ИПЗ — вольтамперметр ВЛ-340. ИП4 — термометр ТУЭ48-Т, ИП6 — спидометр СП135, Л1, Л2, ЛЗ ... Л8 — лампа А24-1, Пр 1—предохранитель ПЦ-30-5, Пр2 ... Прб — предохранитель термобнметаллическнй типа ПР310 на 10 А, Р1 — прерыватель указателей поворота РС401Б, Ш1 — вставка ШР32П12НШ1; Ш2 ... Шб — штепсель прямой ШПЛМ-3. Ш7 — штепсельная розетка ШР-51. Ш8—вставка ШР55П31НГЗ, R1 — резистор ПЭВР-50-27 Ом±Ю%; ЩПг — щнток подогревателя: В1 — выключатель ВК-317-А2. В2 — переключатель П-46А, ВЗ — выключатель ВК-46А. Пр1 — блок защиты сети БЗ-20 с плавкой вставкой ПВ-2А, Пр2 — предохранитель Пр-2Б. П — панель 4-клем-мная, СК — спираль контрольная в сборе, R1 — панель сопротивлений; Кн1 — кнопочный выключатель; Э1 —датчик манометра ЭДМУ-6 Н, Э2, ЭЗ — датчики манометра ТЭМ 15; Э4 — приемник термометра П-1; (Э1) Ш — вставка. (Э2)Ш — вставка; (ЭЗ)Ш — вставка; (Э4)Ш — вставка: ЭМК — электромагнитный клапан Рис. 50. Принципиальная схема Cl, С2 и СЗ — конденсаторы КБП С-125/50В-40А-0.22 МКФ * 21>%ХЛ; С4 н С5 — конденсаторы МБГО-2-160-4 И; Б1 и Ь2 — батареи аккумуляторные; В1 — включатель стоп-сигнала; В2 — переключатель П 53; ВЗ, В4 н В6 — выключатели В-45М В5 — выключатель «Промой фильтр»; Вт — вентилятор; Ml — электродвигатель МЭ205; Г — генератор Г290В-0; Г-Ш1 —вставка ШР20У5НШ10; Зв —сигнал звуковой безрупорный С314Г: КнМ — выключатель батарей ВБ 404; М — электродвигатель МЭ-252; НТ — нагреватель топлива; ОУ — отопительно-вентиляционная установка ОВ-65Г; М — электродвигатель МЭ-65В, П — соединительная панель ПС2-А2, СН —свеча накаливания СР65, Э1 — датчик горения РС66В; Э2 — датчик перегрева РС66; П1. П2 и П5 —панели соединительные ПС2-А2; ПЗ — панель соединительная на 3 клеммы 5 50.071; П4, П8. П9 — панели соединительные ПС4-А2; П7 — панель соединительная 1.50.044; ПЛ! и ПЛ2—плафоны ПК201; Л6 и Л7 — лампы А24-21-2; ПК — щеткодержатель; Р1 — контактор ТКСЮ1ДОД; РР — реле-регулятор РР-390-Б; РТС1 — регулятор температуры стекол РТС-27-ЗА; РТС1-Ш1, РТС1-Ш2, PTCI-ШЗ—розетки 2РМ18КПН7Г1В1; Р1С1-Ш4 — розетка 2РМ14КПН4Г1В1; СЛ1, СЛ2 — стеклоочистители электрические СЛ231Б; СН—свеча накаливания СН-65-00-00; Ст —стартер; СЭ1—стекло электрообогревное 6.000; СЭ2 — стекло элек-трообогрсвное 6.000-01; ТКБ-01-1 — электрооборудование установок ТКБ-01-1; ТНП01 ... ТНПОЗ — смотровые приборы ТНЛО-170А; ТНП01-Ш1, ТНП02-Ш1, ТНП03-Ш1 — розетки 2РМ18КПЭ7Г1В1; Ф1 — фильтр Ф-1; Ф2 — фильтр Ф-5; ФЗ — фильтр радиопомех ФР-81-Ф; ФВУ — установка ФВУ ФВУ-Ш1 — вставка ШР16П1НШЗ, М — электродвигатель ЭД-20; Фр1 и Фр2 — фары ФГ122Н: Л1 и Л2 — лампы А24-60 + 40. ФрЗ —фара поворотная ФГ-lliH ЛЗ —лампа А24 60 -I-40; Св1, Св2 — светильники ГСТ 64-ЖЛ; СвЗ .. Свб — светильники ГСТ 64 КЛ, Л4, Л5. Л8 ... ЛИ — лампы TH2B-I0, Ш1 —розетка внешнего запуска, Ш2 — розетка штепсельная ШР-5Г. ШЗ — розетка штепсельная ПС-300; Шн - шунт ША-340; ;О1)Ш1 - вставка ШР20П4НШ8; ОД Ш1 — колодка ШРГ20П4ЭШ8, (ОД)Ш2 - вставка ШР28У7НШ9; ОД-Ш2 - колодка ШРГ28ПК7НШ9;
Предложите, как улучшить StudyLib
(Для жалоб на нарушения авторских прав, используйте
другую форму
)
Ваш е-мэйл
Заполните, если хотите получить ответ
Оцените наш проект
1
2
3
4
5







